青岛垚鑫智能科技有限公司
宣传

位置:中冶有色 >

有色技术频道 >

> 火法冶金技术

分类:
全部
矿山技术
冶金技术
材料制备及加工技术
环境保护技术
分析检测技术
 
全部
火法冶金技术
湿法冶金技术
电冶金技术
真空冶金技术
地区:
全部
北京
天津
上海
重庆
河北
山西
辽宁
吉林
黑龙江
江苏
浙江
安徽
福建
江西
山东
河南
湖北
湖南
广东
海南
四川
贵州
云南
陕西
甘肃
青海
内蒙
广西
西藏
宁夏
新疆
其他
其他
展开
 
全部

有色金属火法冶金技术理论与应用

免费发布技术信息>>
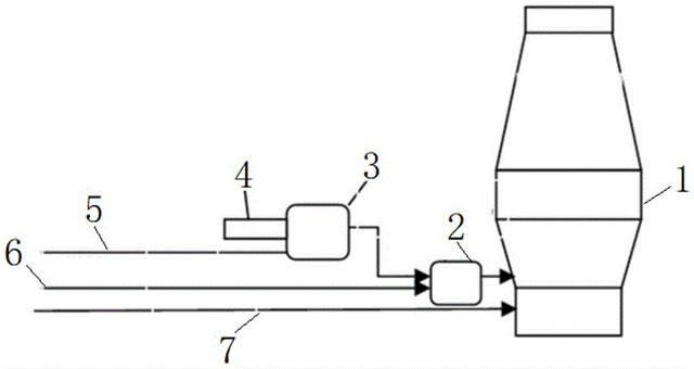
基于熔池炼镁的原料进料装置及方法

一种基于熔池炼镁的原料进料装置及方法,涉及镁冶炼技术领域。本发明提供一种基于熔池炼镁的原料进料装置,包括一级进料系统、二级进料系统、关风系统和文丘里射流系统。本发明通过设置关风器引入关风系统,有效的控制了物料的连续下料速度,进一步缩短了生产周期。本发明还对文丘里管的材质进行了调整,极大的增强了文丘里管的使用寿命。采用本发明的原料进料装置进行进料时,原料进入熔池反应前在进料仓内得到了充分的混合,避免了物料混合不充分引发的还原不完全的情况

标签:
镁冶炼技术 镁冶炼
辽宁 - 沈阳 来源:东北大学 2025-10-13
降低钒铁合金冶炼中杂质和铝耗的方法

本发明提供了一种降低钒铁冶炼中杂质和铝耗的方法,包括以下步骤:A)将粗筛出的粒子钢倒入水中进行物理分选,得到粒径≤2.5mm第一筛分料、第粒径>2.5mm且≤25mm二筛分料和粒径>25mm第三筛分料;B)将第一筛分料进行摇床分选,得到提质粒子钢粉和钒渣;将第二筛分料进行跳汰机分选,得到提质粒子钢粒和钒渣;将第三筛分料进行高压水喷淋清洗,获得提质粒子钢块和钒渣;C)将提质粒子钢粉、提质粒子钢粒和提质粒子钢块干燥后与钒铁冶炼原料按配比混合,进行冶炼,得到钒铁合金。

标签:
钒铁合金 冶炼技术
四川 - 攀枝花 来源:攀钢集团攀枝花钢铁研究院有限公司 2025-09-30
从含铂族金属催化剂中回收铂族金属的方法

本发明提供了一种从含铂族金属催化剂中回收铂族金属的方法,可以包括以下步骤:将含铂族金属催化剂与活性金属混合,加热后得R‑M金属间化合物,其中,R为Li、Na、Ca和Mg中的至少一种,M为Ir、Pt、Pd和Rh中的至少一种;将R‑M金属间化合物氧化,得氧化后的金属间化合物;将氧化后的金属间化合物置于电解质溶液中,施加电压进行电解,在阴极得到铂族金属。本发明通过合金化‑氧化‑一步电解即可从催化剂中回收铂族金属,流程短,操作简便,效率高。

标签:
含铂族金属催化剂 铂族金属
云南 - 昆明 来源:昆明理工大学 2025-09-26
铜铬金属粉饼及制备方法、铬锆铜合金及熔炼方法

本发明涉及合金技术领域,特别涉及一种铜铬金属粉饼及制备方法、铬锆铜合金及熔炼方法。铜铬金属粉饼,包括铬粉与铜粉,铬粉与铜粉经混合、压块后得到所述铜铬金属粉饼。铜铬金属粉饼的制备方法,将铬粉与铜粉投入混合机中,控制转速为12~16 rpm,混合15‑20 min,得到混合粉体;将混合粉体置于压块机中进行压块,控制压强为220~250bar,混合粉体的初始高度为140~150 mm,压块后高度为50~55 mm。

标签:
铜铬金属粉饼 铬锆铜合金
山东 - 烟台 来源:烟台万隆真空冶金股份有限公司 2025-09-26
具有均匀加热功能的蓄热式台车炉

本发明公开了一种具有均匀加热功能的蓄热式台车炉,涉及蓄热式台车炉技术领域,本发明包括蓄热炉,所述蓄热炉内壁正反面分别设置有倒L形滑轨,所述蓄热炉内壁前后分别固定安装有电阻加热板,所述蓄热炉右侧固定安装有闸门组件,所述蓄热炉的两个倒L形滑轨外壁滑动安装有载物车,所述蓄热炉顶面中间贯穿且固定安装有弧壳,所述弧壳底面固定有回形板,所述回形板内壁底部固定安装有弹性丝网,所述蓄热炉顶面左边固定有U形架。

标签:
蓄热式台车炉 台车炉
福建 - 三明 来源:永安市鼎丰碳素科技有限公司 2025-09-18
台车炉气体供给装置及其使用方法

本发明公开了一种台车炉气体供给装置及其使用方法,涉及热处理技术领域,包括安装框架,所述安装框架内安装设置有气体供给泵,所述气体供给泵底端设置有出气口,所述气体供给泵外壁设置有压力调节器,所述气体供给泵上还连接有气体流量计,所述安装框架上安装设置有移动机构,所述移动机构上连接有清洁固定机构,所述清洁固定机构套设在气体供给泵的外壁,所述移动机构在安装框架上滑动连接,所述移动机构带动清洁固定机构对气体供给泵外壁刮除清洁,所述移动机构带动清洁固定机构对气体供给泵进行固定;

标签:
台车炉 台车炉气体供给装置
江苏 - 镇江 来源:江苏恒力炉业有限公司 2025-09-18
蓄热式台车炉矩形化分布式挡火墙

本实用新型涉及炉窑工艺领域,公开了一种蓄热式台车炉矩形化分布式挡火墙,包括台车,所述台车的底端设置有移动板,所述台车的顶端设置有挡火组件,挡火组件包括挡火墙一,所述挡火墙一固定安装在台车的顶端,所述挡火墙一设置有多组,所述挡火墙一分别设置在台车的四角处,台车的顶端固定安装有挡火墙二,台车的底端设置有缓冲组件,缓冲组件包括缓冲板。

标签:
蓄热式台车炉 台车炉
辽宁 - 鞍山 来源:鞍钢股份有限公司 2025-09-18
分层式台车
分层式台车 610     
 0

本实用新型公开了一种分层式台车及台车炉,包括台车本体,所述台车本体的两侧设置有导向杆,位于所述导向杆处设置有两组分层支架,两组所述分层支架之间设置有多组衔接架杆;其中,所述分层支架通过导向杆架设在台车本体两侧。本实用新型通过设置的分层支架,增设一层装载空间,可以在相同的炉体空间内装载多一层的工件,从而大幅度提高空间利用率。分层式台车允许同时处理两个工件层,相比于传统的单层台车,可以显著提高单位时间内处理的工件数量,从而提升生产效率。

标签:
分层式台车 台车
江苏 - 镇江 来源:江苏恒力炉业有限公司 2025-09-18
台车炉炉衬安装结构及台车炉

本实用新型公开了一种台车炉炉衬安装结构及台车炉,包括用于装在台车炉炉衬的安装架板,所述安装架板底部通过固定螺栓连接至台车炉内壁,位于所述安装架板的顶部设置有炉衬固定组件,其中,所述炉衬固定组件用于将台车炉炉衬连接至安装架板内。本实用新型通过设置的炉衬固定组件,特别是固定螺杆和固定螺套的配合使用,可以实现炉衬的快速安装和拆卸,提高维护效率。固定螺套通过旋把可以在固定螺杆的外周转动移动,实现对炉衬的均匀压合固定,确保炉衬与安装架板之间的紧密配合,提高密封性和结构稳定性。

标签:
台车炉 台车炉炉衬
江苏 - 镇江 来源:江苏恒力炉业有限公司 2025-09-18
回转窑烘干装置
回转窑烘干装置 627     
 0

本申请涉及回转窑余热利用技术领域,尤其是涉及一种回转窑烘干装置,通过设置第一破碎机构和第二破碎机构,能够对矿料进行双重破碎,第一破碎机构中的破碎辊及其上的破碎齿可以对较大块的矿料进行初步破碎,例如在处理矿石原料时,能将较大的矿石块破碎成较小的颗粒,第二破碎机构中的挤压板和碾齿,通过两个挤压板的相对滑动,对经过初步破碎的矿料进一步挤压破碎,有效减小矿料的粒度,提高矿料的破碎效果,为后续的烘干过程提供更好的物料条件,使物料能够更充分地与热量接触,加快烘干速度,提高烘干效率。

标签:
回转窑烘干装置 回转窑
河南 - 郑州 来源:河南宏科重工机械设备有限公司 2025-09-15
侧吹炉炉体钢结构装置

本发明公开了一种侧吹炉炉体钢结构装置,属于火法冶金炉窑设备领域。侧吹炉炉体钢结构通过螺栓组固定在底架上,该装置采用捆绑式构造,多对立柱对称分布,每对立柱及相邻立柱顶部之间设置有横梁。立柱中部的立柱牛腿和中段梁承担炉顶重力,避免水套变形,拉杆吊架支撑炉缸上部拉杆防止其弯曲。立柱间距依炉缸壳体尺寸呈不均匀分布,炉缸横向顶紧弹簧受力点在立柱上,简化结构并有效约束炉缸横向变形,端面拉杆板和侧拉杆板分别稳固相应水套。本装置结构简洁、受力稳定,提升了侧吹炉运行性能与便利性。

标签:
侧吹炉
甘肃 - 金昌 来源:金川镍钴研究设计院有限责任公司, 金川集团股份有限公司 2025-08-28
火法冶金资源化利用熔盐氯化渣的方法

本发明公开了一种火法冶金资源化利用熔盐氯化渣的方法,属于钛冶金固体废弃物回收利用技术领域,包括以下步骤:(1)熔盐氯化渣出炉后加入添加剂,在反应器内保温并分层,获得上层净化后的熔融氯化钠、下层相转化渣;(2)将上层净化后的熔融氯化钠排出,冷却后循环进入熔盐氯化炉;(3)下层相转化渣经熔融还原,获得锰铁合金、还原渣;(4)将还原渣经浸出‑富集‑草酸沉淀‑焙烧处理,获得稀土富集产品。

标签:
火法冶金技术 熔盐氯化渣
湖南 - 长沙 来源:中南大学 2025-08-28
高效短流程去除砷冰铜杂质并回收铜富集砷的方法

本申请提供一种高效短流程去除砷冰铜杂质并回收铜富集砷的方法,涉及冶金技术领域。包括步骤S1.准备物料;S2.将砷冰铜持续投入转炉中,并配以石英砂,在投入底料后,通入天然气和氧气进行加热熔炼,待物料完全融化后,通入富氧空气,进行除渣及除砷;S3.除渣完毕后,加入石灰石除砷,砷含量降至2%左右,接着将铜液放出完成冶炼;本发明提供的处理方法,工艺流程短,处理高效,将高砷冰铜进行针对性回收,使其中铅、锑、砷、铜等分类回收后再利用

标签:
冶金技术
河南 - 郑州 来源:济源市万洋冶炼(集团)有限公司 2025-08-28
有色金属锭水冷浇铸系统水冷控制系统及其控制方法

本发明涉及有色冶金浇铸设备技术领域,具体涉及一种有色金属锭水冷浇铸系统水冷控制系统及其控制方法。本发明包括方形结构的模具本体,所述模具本体内设置有敞口的模腔,在模腔的外部设置有中空夹层;在模具本体的下端设有模具冷却水进水口和模具冷却水出水口,形成闭合的冷却水循环通道;模具本体内冷却水的进出均由控制器控制。一种有色金属锭水冷浇铸系统水冷控制系统的控制方法,通过技术创新采用金属空心浇铸模具,并在浇铸模具的模腔内设置冷却水循环冷却,通过对冷却水流量温度控制实现金属铸锭温度控制

标签:
有色冶金浇铸设备 有色金属锭
云南 - 昆明 来源:中国机械总院集团云南分院有限公司 2025-08-15
粗铋回收有价金属的方法

本申请是关于一种粗铋回收有价金属的方法,属于冶金工程技术领域。该方法包括以下步骤:(1)将原料粗铋进行一次真空炉真空蒸馏;其中原料粗铋的化学成分(wt%)如下:Sb2‑3%、Pb19~22%、Cu2~4%、Bi50~60%、As0.5~1.0%,Ag6.8~8.2%;得到挥发物铋合金和残留物铜银合金;(2)将残留物铜银合金进行二次真空炉真空蒸馏,得到银合金和铜合金;其中,二次真空炉真空蒸馏的工艺条件为:450℃保温10‑15min,500℃保温10‑15min,550℃保温15‑20min,720℃保温20‑25min,780℃保温4‑6h。

标签:
粗铋回收有价金属 冶金工程技术
云南 - 曲靖 来源:云南驰宏资源综合利用有限公司 2025-08-08
具有快速冷却效果的中频感应熔炼炉

本实用新型涉及熔炼炉技术领域,公开一种具有快速冷却效果的中频感应熔炼炉,包括炉壳本体,炉壳本体的顶壁的中间位置固定有竖直的圆形的撑套,撑套的内圈活动设有炉胆本体,炉胆本体的顶端固定有导流圈,导流圈的底端与撑套的顶端接触,撑套的一侧的顶部开设有矩形的顶槽,导流圈的底端固定有插块,插块活动设于顶槽的内部,插块远离炉胆本体的侧壁上开设有侧槽,撑套的侧壁上开设有侧孔,侧孔与侧槽连通,炉壳本体的外顶壁的一侧滑动连接有水平的移套;

标签:
中频感应熔炼炉 熔炼炉
江苏 - 泰州 来源:泰州市宏康电气有限公司 2025-08-05
熔炼铝的安全型熔炼炉

本实用新型公开了一种熔炼铝的安全型熔炼炉,包括炉体,所述炉体底部设有浇筑结构,且炉体外壁安装有连通浇筑结构的输气管,并且输气管端部连接于送料结构,所述送料结构端部连接有盖板,且盖板安装于炉体顶部,所述盖板顶部安装有驱动电机,且驱动电机输出端连接有搅拌转轴。该熔炼铝的安全型熔炼炉,对输料筒内部输送的物料预先加热,给物料升温,从而便于物料后续的快速液化,提高了物料液化浇筑的工作效率,同时对浇筑时泄露浪费的高温气体进行二次利用。

标签:
熔炼炉 熔炼铝
安徽 - 马鞍山 来源:顺博合金安徽有限公司 2025-08-05
熔铜炉专用耐高温起重机

本发明属于起重机技术领域,且公开了一种熔铜炉专用耐高温起重机,包括支撑架体、机身、主臂、副臂和吊具,机身设置在支撑架体的顶部,主臂设置在机身的顶部,副臂设置在主臂的一侧,吊具设置在副臂的底部,机身的一侧设置有伸缩架体,伸缩架体的底部固定安装有加固板,通过设置的螺纹杆、增固杆、调节块、微型电机、调节板、副臂、提示盘和荧光带的配合,启动微型电机后,将带动着与其输出轴传动连接的螺纹杆同步转动,解决了起重机在狭小空间内不够灵活的问题

标签:
熔铜炉 耐高温起重机
江苏 - 无锡 来源:金欧起重机有限公司 2025-08-01
利用侧吹炉处理铜阳极泥的工艺

本发明提供了一种利用侧吹炉处理铜阳极泥的工艺,属于冶金技术领域,解决了火法冶炼处理阳极泥的方法存在贵金属损失较大的问题,本发明包括以下步骤:将铜阳极泥和98%浓硫酸按照1:3‑1:5质量比混合进行浆化,待浆化2‑3h置于600‑800℃焙烧炉内脱硒,进而采用稀硫酸浸出焙烧渣中的铜,脱铜渣经微波干燥‑压砖可成侧吹熔炼的原料;

标签:
侧吹炉 铜阳极泥
甘肃 - 金昌 来源:金川集团铜贵股份有限公司 2025-07-31
处理高镍铜精矿的冶炼工艺及装置

本发明公开了一种处理高镍铜精矿的冶炼工艺及装置,所述冶炼工艺包含熔炼、吹炼、阳极精炼和渣贫化四个阶段。熔炼阶段:将高镍铜精矿加入熔炼炉进行熔炼,产出高镍冰铜、烟气和熔炼渣;吹炼阶段:将熔炼阶段产出的高镍冰铜送入吹炼炉进行吹炼,采用新的钙硅渣型,产出粗铜、烟气和吹炼渣;粗铜直接流入阳极炉进行阳极精炼产出阳极板;吹炼渣流入贫化炉进行贫化产出高品位镍锍。本发明解决了当前工业生产中不能规模化处理高镍铜精矿的问题。

标签:
高镍铜精矿冶炼 铜精矿冶炼
山东 - 聊城 来源:阳谷祥光铜业有限公司 2025-07-31
锂渣综合回收钽铌锡的方法

本发明涉及锂渣的综合回收方法,具体涉及从锂渣中回收钽铌锡稀有金属元素的方法,属于锂渣回收技术领域。本发明解决的技术问题是提供一种回收率高的锂渣综合回收钽铌锡的方法。该方法首先对锂渣进行制浆、分级和抛尾,再针对不同粒级进行重选、磨矿、磁选步骤得到钽铌锡精矿,不仅能大幅度降低选矿成本,提高分选效率,还能减少微细粒级钽铌锡矿物在尾矿中的损失,提高钽铌锡的回收率。对分级抛尾后的精矿根据粒度不同采用不同床面差异化摇床重选,可以大幅度提高钽铌锡精矿品位和回收率,降低摇床重选尾矿中细粒级钽铌锡矿物的损失率。

标签:
锂渣回收技术 锂渣回收
四川 - 遂宁 来源:天齐锂业股份有限公司 2025-07-24
熔铝炉节能燃烧及余热回收系统

本发明涉及熔铝炉领域,其公开了一种熔铝炉节能燃烧及余热回收系统,包括炉体、燃烧机构以及余热回收利用机构,炉体内设置有将炉腔分隔为互不连通的上熔炼腔室与下炉底腔室的底板,上熔炼腔室内设置有导烟板,导烟板包括上弧板,上弧板的上表面设置有与上熔炼腔室的上腔壁固定的凸板,炉体的侧面设置有位于上弧板上方且分别位于凸板两侧的第一烟气出口与第二烟气出口,炉体的侧面设置有与下炉底腔室连通且分别靠近下炉底腔室两端的第一烟气入口与第二烟气入口

标签:
熔铝炉
广东 - 清远 来源:清远市精旺环保设备有限公司 2025-07-01
铝锭熔化装置
铝锭熔化装置 517     
 0

本发明涉及熔铝炉技术领域,具体涉及一种铝锭熔化装置,包括燃气系统、熔化系统;燃气系统包括第一气瓶,第一气瓶内具有压缩的天然气;熔化系统包括熔化炉,熔化炉具有熔化空间,熔化空间对应的熔化炉侧壁上设置有多个第一燃烧口;铝锭熔化装置工作时,将熔化空间的铝锭快速加热至第一温度,达到第一温度时铝锭处于未熔化状态,达到第一温度后使未燃烧的压缩天然气直接通过第一燃烧口吹向铝锭,造成铝锭冷却开裂或者氧化层开裂,冷却预定时间后将表面开裂的铝锭加热到熔化;

标签:
铝锭熔化装置 熔铝炉技术
福建 - 三明 来源:将乐三晶新材料有限公司 2025-07-01
废铝自适应进料控制装置

本发明涉及熔铝炉配套装置技术领域,具体地说,涉及一种废铝自适应进料控制装置。其包括保温箱和输送组件,保温箱内部设有熔炉,保温箱顶部设有废料进口,废料进口下方设有电动滑轨,电动滑轨表面设有定量组件,传输带输送的废铝通过废料进口进入定量组件内进行定量进料,熔炉顶部设有密封组件,本发明通过密封板沿垂直方向下移时,密封板带动弧形板下移,废铝下料时对弧形板表面施加冲击力,弧形板底部设有的滑杆滑动在柱筒内壁并对压缩弹簧进行挤压,从而对废铝下落的冲击力进行缓冲

标签:
熔铝炉配套装置 废铝自适应进料控制装置
安徽 - 池州 来源:池州市安能金属科技有限公司 2025-07-01
自动化大型锌锅捞渣机

本发明涉及金属冶炼加工领域,尤其涉及一种自动化大型锌锅捞渣机,包括有外滤盆、内滤盆和滤板等。本发明的一种自动化大型锌锅捞渣机,主要由互为伸缩结构的外滤盆和内滤盆与可分离的滤板组成装载容器,滤板底部设有紧贴锌锅底部将锌渣刮除的横向刮片,横向刮片在旋转过程中也将配合搅拌片在锌液中搅动出小型的漩涡,实现将刮除的锌渣连续收集到装载容器中,另外横向刮片上还设有竖向直刮片,对锌锅底部角落残留的锌渣进行刮除处理,提高了对锌锅底部残留锌渣的刮除效果。

标签:
大型锌锅捞渣机 锌锅捞渣机
山西 - 临汾 来源:山西正大制管有限公司 2025-06-27
冶金炉的窑炉体膨胀自动监测装置

本发明公开了一种冶金炉的窑炉体膨胀自动监测装置,属于火法冶金炉窑设备领域,解决了现有冶金炉的生产中需要人工测量,无法实时捕捉炉体膨胀数据,影响冶金生产的问题。本发明包括滑动变阻器,滑动变阻器固定在外壳内,滑动变阻器上设有滑动拨片,滑动拨片的一侧设有连接杆,连接杆与冶金炉炉壳相抵,滑动拨片的另一侧设有复位杆,复位杆连接有弹簧,弹簧另一端通过弹簧座连接在外壳的内壁,滑动变阻器上的两个接线口分别与电源的正负极相接。

标签:
窑炉体膨胀自动监测装置 冶金炉
甘肃 - 金昌 来源:金川镍钴研究设计院有限责任公司, 金川集团股份有限公司 2025-06-26
富集红土镍矿中镍和钴的方法

本发明提供了一种富集红土镍矿中镍和钴的方法,属于火法冶金技术领域。本发明提供的方法包括以下步骤:将红土镍矿粉末、NiFe2O4晶种和碱性调节剂混合,进行磁化焙烧,得到矿相重构产物;将所述矿相重构产物依次进行研磨和磁选,得到镍钴精矿。本发明以红土镍矿为原料,并添加碱性调节剂和NiFe2O4晶种,在磁化焙烧的过程中,促进尖晶石型铁氧体颗粒的形成与长大,得到富含镍钴的矿相重构产物;对富含镍钴的矿相重构产物进行研磨,下一步进行磁选,得到含镍钴的磁性组分,即为镍钴精矿,实现了镍钴元素的高效预富集。

标签:
火法冶金技术 富集红土镍矿
山西 - 太原 来源:山西大学 2025-06-26
复杂金精矿多元素综合回收的方法

本发明属于冶金技术领域,涉及复杂金精矿多元素综合回收的方法,包括如下步骤:S1将复杂金精矿和辅料在富氧空气气氛中进行底吹熔炼获得冰铜、底渣和烟气;S2将冰铜和辅料在空气气氛中进行顶吹吹炼获得粗铜、烟气和吹炼渣;S3将粗铜与碳酸盐在空气气氛下进行精炼,结束后,通入六氟化硫气体在空气气氛下进行反应,反应结束后通入甲烷气体在惰性气氛下进行还原,获得铜阳极板。

标签:
金精矿回收
山东 - 烟台 来源:山东恒邦冶炼股份有限公司 2025-06-23
一步法冶炼辉铜矿得到粗铜的方法

本发明公开了一种一步法冶炼辉铜矿得到粗铜的方法,包括以下步骤:将辉铜矿、熔剂和还原剂加入冶炼炉中,在助燃气体条件下充分反应得到冶炼炉粗铜和熔炼渣;将待贫化渣、燃料、熔剂、硫化剂和还原剂加入渣贫化炉中,在助燃气体条件下充分反应得到铜铁合金和贫化渣;将所述铜铁合金、燃料、熔剂加入深吹炉中,在助燃气体条件下充分反应得到深吹炉粗铜和吹炼渣。本发明采用一步法直接冶炼辉铜矿得到粗铜,产出的冶炼渣进行渣贫化过程,降低了冶炼成本、提高了冶炼效率,保障了铜的回收率。

标签:
辉铜矿冶炼 辉铜矿
北京 - 北京 来源:中国恩菲工程技术有限公司, 中国有色工程有限公司 2025-06-23
焙烧炉炉底密封方法
焙烧炉炉底密封方法 507     
 0

本发明公开了一种焙烧炉炉底密封方法,属于焙烧炉密封技术领域。包括以下步骤:在布风板的花板安装完成后,炉床周边花板与钢壳密封钢板留有缝隙,通过反向满焊密封钢板,而后在托砖钢板下部用刚玉质高强耐磨可塑料塞实,填充凝固后在托砖钢板侧边向下焊接密封钢板,最后完成风帽浇注层。这样做既解决了安全生产过程中带来的炉床穿透导致漏风现象,又提高了焙烧炉炉床面积。本发明采用钢壳分阶段整体密封方法,利用可塑料填充后进行四周钢板压条密封焊接处理,有效避免了焙烧炉正常生产期间因鼓风导致炉床击穿漏风而引起的床能率减少问题。

标签:
焙烧炉 焙烧炉密封技术
甘肃 - 陇南 来源:甘肃厂坝有色金属有限责任公司, 白银有色集团股份有限公司 2025-06-13
上一页 1 2 3 4 5 ... 334 下一页
共334页    到第

中冶有色为您提供最新的有色金属火法冶金技术理论与应用信息,涵盖发明专利、权利要求、说明书、技术领域、背景技术、实用新型内容及具体实施方式等有色技术内容。打造最具专业性的有色金属技术理论与应用平台!

全国热门有色金属设备推荐
展开更多 +
全国热门有色金属技术推荐
展开更多 +

 

江西省隆恩特环保设备有限公司
宣传

报名参会
更多+

2025年10月15日 ~ 17日
2025年10月17日 ~ 19日
2025年10月31日 ~ 11月02日
2025年11月07日 ~ 09日

报告下载

有色专家
更多+

中南大学
副校长
昆明理工大学
副校长
中南大学
中国工程院院士
中南大学
中国工程院院士
赣州江钨钨合金有限公司
副总经理
赤泥综合利用研究报告2025
推广

热门技术
更多+

推荐企业
更多+

福建省金龙稀土股份有限公司
宣传

发布

在线客服

公众号

电话

顶部
咨询电话:
010-88793500-807