有色金属是现代工业体系的基石,是支撑战略性新兴产业和国防科技发展的关键基础材料。从能源转型所需的铜、锂、钴,到高端制造离不开的铝、钛、稀土,其供应安全与产业竞争力直接关系国家经济安全与工业化进程。当前,全球有色金属产业正经历一场深刻而复杂的系统性变革:一方面,“双碳”目标引领的绿色革命对产业链的能耗、排放与材料性能提出了前所未有的高标准;另一方面,地缘政治格局演变使得矿产资源,尤其是关键金属资源的战略属性日益凸显,全球供应链在效率与安全之间寻求再平衡。
2026年05月13日 ~ 15日
湖北 - 武汉
2026年04月24日 ~ 26日
湖北 - 武汉
2026年04月17日 ~ 19日
四川 - 绵阳
2026年04月17日 ~ 19日
内蒙 - 呼和浩特
2026年04月10日 ~ 12日
福建 - 厦门
2026年03月27日 ~ 29日
河南 - 郑州
我国科学家突破MXene制备瓶颈:绿色低成本方法问世,助力下一代电池技术发展
在储能、电磁屏蔽及催化等领域备受瞩目的新型二维材料MXene,其制备技术近日迎来里程碑式突破。3月11日,从天津大学传来消息,该校化工学院杨全红教授领衔的Nanoyang团队,联合国内外多家科研机构,成功开发出一种全新的荷正电MXene材料体系,并实现了该材料的绿色、高效、低成本制备。相关研究成果于当日在国际顶级学术期刊《自然-合成》(Nature Synthesis)上正式发表。

固态电池技术革命:美加联合研发新型电解质,电动汽车续航突破965公里
长久以来,电动汽车的普及受限于传统锂离子电池的能量密度瓶颈、充电效率低下以及安全隐患等问题,令广大车主和行业观察者倍感困扰。然而,近期一项由美国和加拿大研究团队联合开发的固态电池技术,或将彻底颠覆这一现状,为新能源汽车行业带来划时代的变革。
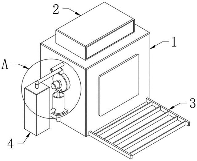
本发明公开了一种选矿用矿石高效筛分装置,属于选矿设备技术领域。装置包括框架、固定于顶部的漏斗及内部的筛板,还包括振动机构和清洁机构。振动机构通过电机一驱动带动轮和滚动轴,配合转动杆牵引传动轴在固定块限位下做偏心运动,经由摆动组件将动能传递给筛板使其产生高频振动。清洁机构利用电机二驱动齿轮与齿条板啮合传动,通过固定条及滑块带动板刷沿固定杆做往复直线运动,贴合筛面进行清扫。
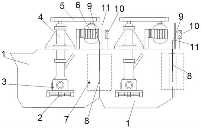
本申请涉及矿选设备技术领域,具体公开了一种脉冲连续式离心选矿机,选矿机包括底座、分选筒机构、螺旋机构、驱动机构以及脉冲机构,分选筒机构包括与底座连接的外筒及与外筒连接的内筒,内筒设于外筒内并沿轴向两端设置有精矿排出口及尾矿排出口;螺旋机构设于分选筒机构内,包括沿着分选筒机构中轴线贯穿设置的转轴,套设于转轴上的转盘及一端与转盘固定连接的螺旋刮料件;