青岛垚鑫智能科技有限公司
宣传

位置:中冶有色 >

有色技术频道 >

> 合金材料技术

分类:
全部
矿山技术
冶金技术
材料制备及加工技术
环境保护技术
分析检测技术
 
全部
功能材料技术
复合材料技术
新能源材料技术
合金材料技术
加工技术
地区:
全部
北京
天津
上海
重庆
河北
山西
辽宁
吉林
黑龙江
江苏
浙江
安徽
福建
江西
山东
河南
湖北
湖南
广东
海南
四川
贵州
云南
陕西
甘肃
青海
内蒙
广西
西藏
宁夏
新疆
其他
其他
展开
 
全部
福州
厦门
漳州
泉州
三明
莆田
南平
龙岩
宁德

福建有色金属合金材料技术理论与应用

免费发布技术信息>>
氮化铝覆铝陶瓷基板生产工艺

氮化铝陶瓷基板作为一种新型陶瓷基板,具有导热效率高、较低的介电常数和介质能耗,可靠的绝缘性能,优良的力学性能,无毒耐高温,耐化学腐蚀的特点;随着微电子设备的迅猛发展,高导热氮化铝基板广泛应用于通讯期间,高亮度LED,电力电子器件等行业,是一种性能优秀的电子陶瓷材料。

标签:
氮化铝 陶瓷基板 陶瓷基板生产工艺
福建 - 泉州 来源:福建臻璟新材料科技有限公司 2024-12-09
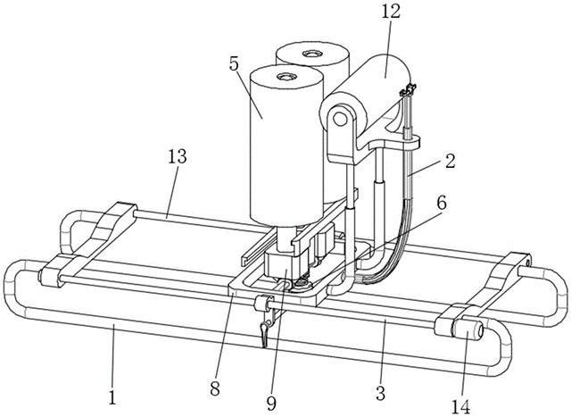
铜箔折弯成型机构
铜箔折弯成型机构 635     
 0

本实用新型提供了一种铜箔折弯成型机构,包括用于对产品进行装载定位的产品定位组件、用于对产品铜箔需折弯位置进行压紧限位的铜箔限位组件、用于带动铜箔末端沿所述铜箔限位组件进行折弯的折弯组件以及用于对铜箔折弯位置进行整形并压实的成型固化组件,所述铜箔限位组件与所述折弯组件设置于所述产品定位组件两侧,所述成型固化组件均架设于所述产品定位组件上方。本实用新型能够代替人工对铜箔进行弯折,有效降低劳动强度、提高生产效率,并且能够保证弯折到位,提高产品质量。

标签:
铜箔 铜箔折弯成型机构
福建 - 厦门 来源:厦门攸信信息技术有限公司 2024-01-10
用于锌粉加工的多级破碎装置

本实用新型公开了一种用于锌粉加工的多级破碎装置,包括固定箱,所述固定箱上端安装有锥形进料斗,所述固定箱下端开有出料口,所述固定箱内安装有筛选导料机构,所述固定箱内安装有破碎机构;所述筛选导料机构包括安装在固定箱内的多个倾斜筛选架,所述倾斜筛选架之间设有倾斜导料板,所述破碎机构包括安装在固定箱内的多个破碎箱,所述破碎箱内安装有两个可转动的破碎辊,所述破碎箱下端安装有倾斜导料通道。本实用新型的有益效果是,通过倾斜筛选架可先将锌粉进行筛选,将其大小相当的锌粉筛选出来后,在将其分别投入不同的破碎箱内进行破碎,一些不需要进行破碎的锌粉可直接通过出料口排出,进而无需对其进行破碎,提高了工作效率。

标签:
破碎装置 锌粉加工
福建 - 龙岩 来源:福建宏贯路桥防腐科技股份有限公司 2024-01-05
铝合金薄板焊接装置及焊接方法

本发明涉及一种焊接设备和焊接工艺,尤其是一种铝合金薄板焊接装置和焊接方法,该焊接装置包括机架、工作台、行走电机和/或手轮、焊枪夹具和气管夹具、焊枪、出气管、气动载荷组件。本发明提供的焊接方法采用上述焊接装置实现。通过设置启动载荷组件和出气管,通过对熔池后方处于极低强度的高温冷凝焊缝金属区域施加高速气动载荷,利用气动载荷的机械动能使熔池后方的冷凝金属产生应变能,使该区域的金属产生拉伸性质的塑性应变,以补偿热源加热时产生的压缩塑性应变,缩小两者残余应变的差值,达到减小焊接残余应力的效果,且由于出气管不与工件进行机械接触,不易造成表面损伤。

标签:
铝合金 铝合金薄板 焊接装置
福建 - 泉州 来源:华侨大学 2023-12-26
新型铝合金型材磨砂装置

本实用新型公开了一种新型铝合金型材磨砂装置,涉及磨砂装置技术领域。包括振动机构,振动机构底部固定连接有磨砂机构,振动机构顶部安装有压控机构,振动机构能够驱动磨砂机构进行振动,磨砂机构包括振动板,振动板顶部两侧分别固定连接有连接片,连接片与振动机构固定连接,连接片底部设置有附着板,附着板顶部固定连接有多个螺柱。本实用新型通过设置的振动机构能够利用内部的双头振动气缸驱动磨砂机构进行振动,磨砂机构通过贴附在附着板上的粘贴砂纸能够小范围的机械能磨砂作业,从而能够小范围的对型材进行针对性打磨,在面对加工不当导致的小范围型材毛边未处理问题时,能够避免型材返工影响整体的生产进度。

标签:
铝合金型材 磨砂装置
福建 - 泉州 来源:福建省闽发铝业股份有限公司 2023-12-13
适用于硬质合金制备的粉末机

本实用新型公开了一种适用于硬质合金制备的粉末机,包括支架,在支架之间设有横梁,在横梁下方对应设有中空腔体结构的反应塔,反应塔的底部与振动弹簧对应连接,反应塔的顶部与振动轴对应连接,振动轴由振动电机对应驱动,第一级筛选网位于振动球磨室与筛选室之间,第二级筛选网位于筛选室与混合室之间,在混合室内对应设有成型剂分布器,成型剂分布器与成型剂进料管对应连通,混合室的底部为圆心处向下凹陷的结构,在混合室底部的圆心处对应设有出料口。本实用新型一种适用于硬质合金制备的粉末机可以在一台设备内对混合料进行粉碎和投加成型剂,减小了设备购置成本,提高了生产效率。

标签:
硬质合金制备 粉末机
福建 - 厦门 来源:厦门力沃自动化设备有限公司 2023-12-11
低压铸造过程中铝合金的变质处理方法与流程

本发明涉及一种铝及铝合金低压铸造方法,属于铝及铝合金铸造技术领域,具体为一种低压铸造过程中铝合金的变质处理方法。背景技术铝是有色金属中最常用的金属,而铝合金由于其密度小、比强度高、导电导热性能优越等一系列优点被广泛应用在交通运输、机械及航空航天等领域。铝合金变质剂分为单一变质剂和复合变质剂。Sr变质剂具有变质效果好、维持时间长和操作简单无污染等优点,因而较其它变质剂发展迅速。但同时,Sr元素的化学性质活泼,容易氧化,随着熔体保温时间的延长,Sr元素将不断被氧化烧损,且Sr元素的存在增加了熔体的吸

标签:
铝合金 铝合金低压铸造
福建 - 漳州 来源:鹰普航空零部件(无锡)有限公司 2023-09-21
TB6钛合金铸锭均匀化处理方法与流程

一种tb钛合金铸锭均匀化处理方法技术领域.本发明属于钛合金材料制备技术领域,具体涉及一种tb钛合金铸锭均匀化处理方法。背景技术.tb钛合金(ti-v-fe-al)是为适应损伤容限设计方法的需要,于世纪年代后期发展的一种高强高韧近β型钛合金。该合金具有一系列的优点,例如比强度高、断裂韧性好、各向异性小、淬透截面大、锻造温度低、抗应力腐蚀能力强等。tb钛合金主要用于制造飞机横梁、滑轨、接头、起落架和隔框等。.影响国内tb合金大规格应用的主要原因之一就是在该合金大规格锻

标签:
钛合金 钛合金材料
福建 - 漳州 来源:中国航发北京航空材料研究院 2023-09-21
高熵合金复合材料及其制备方法与应用

.本申请属于复合材料技术领域,更具体地说,是涉及高熵合金复合材料及其制备方法与应用。背景技术.随着现代工业的快速发展,对金属原材料的要求也越来越高,传统的合金材料研发进入瓶颈,虽然能通过改善或引进新型加工工艺,或者添加后续热处理等手段进一步提高其性能,但从原材料本身出发可以进行的改进却很有限。.高熵合金作为金属材料领域中的一种新兴前沿材料,区别于传统合金,通常由多种金属元素按照等摩尔比或近摩尔比混合在一起。由于其特有的高熵效应,迟滞扩散效应,晶格畸变效应和鸡尾酒效应,使得这类材料通常具有高

标签:
高熵合金复合材料 高熵合金
福建 - 漳州 来源:哈尔滨工业大学(深圳) 2023-09-21
铝回收方法与流程
铝回收方法与流程 1319     
 0

本发明涉及铝回收方法,更具体地,涉及在纸的机械分离和清洁过程之后,对存在于无菌纸板箱包装和软包装中的铝进行再循环。本发明还涉及通过增材制造(例如3d印刷)从部件生产中的铝粉中回收铝。现有技术如本领域所熟知的,层压有铝箔的多层包装在减少公司的碳排放方面具有巨大的益处,因为它减少了包装的重量并增加了对食品的保护,以免受到诸如光、湿气和氧气等介质的影响。目前,生产多层层压材料的工业所面临的挑战是处于后消费时代,既要进行逆向物流又要再循环包装。在这些包装中,有例如由纸、聚乙烯和铝构成的无菌纸板箱包装(如

标签:
铝回收 合金材料
福建 - 福州 来源:巴西利亚铝业公司 2023-09-21
纳米金属颗粒及其制备方法与流程

本发明涉及一种纳米金属颗粒,具体涉及具有窄颗粒尺寸分布的纳米金属颗粒。本发明还涉及这种纳米金属颗粒的制备方法。背景技术当前,纳米材料的研究非常活跃。作为纳米材料中的一种重要类型,纳米金属颗粒由于具有小尺寸效应、表面效应、量子尺寸效应和宏观量子隧道效应而显示出与大尺寸材料不同的热、光、电、磁、催化等性能,因而在超导、微电子、生物、催化领域中都具有广泛的应用。通常,纳米金属颗粒是指,粒径(即直径或当量直径)在1至1000nm之间的金属颗粒。除了粒径以外,颗粒尺寸分布宽度也是表征纳米金属颗粒的重要参数

标签:
纳米金属 纳米金属颗粒
福建 - 漳州 来源:王东; 2023-09-21
多尺度结构合金材料、制备方法及其用途与流程

本发明属于合金材料制备技术领域,特别涉及一种多尺度结构合金材料、制备方法及其用途。背景技术随着国家科学技术的发展与进步,制备出更高强韧性的合金材料以满足更苛刻条件下的应用,一直以来都是研究者们追求的目标。而合金材料的强韧化途径经过几十年的沉积与传承,已逐渐向多样化的加工处理技术发展。按照材料微观结构决定宏观性能的经典理论,科研工作者的最终目标均是通过精确控制合金材料的微观结构(相组成、晶粒尺度、分布位置及具体形态),来有效优化其综合性能,尤其是机械性能,以达到合金材料强韧化的最终目的。近年来,超

标签:
合金材料 合金材料制备
福建 - 漳州 来源:广州铁路职业技术学院(广州铁路机械学校) 2023-09-21
双向电解铁镍合金分离提取铁、镍的方法

.本发明涉及一种双向电解铁镍合金分离提取铁、镍的方法,属于合金回收技术领域。背景技术.镍铁合金属于多种纯金属合金,产地不同成分也不相同,通常含铁、镍、铬、锰、铜等金属,因此如何对其进行高值化利用是非常重要的。但由于此类合金不易粉碎,常规湿法冶金处理比较困难,通常需要加压酸浸等方式才能进行有效提取,过程较为繁琐,同时由于镍易钝化,需要采用氧化性较强的硝酸和氯气等才能溶解,导致过程中产生大量有毒气体污染环境;高温熔炼又需要高温,条件比较苛刻。.若采用传统的电化学法对铁镍合金进行氧化溶出,会有大

标签:
电解铁镍合金 镍合金
福建 - 福州 来源:中国科学院青海盐湖研究所 2023-09-21
镍钛金属间化合物轴承材料及其制备方法与应用

.本发明涉及粉末冶金技术领域,具体而言,涉及一种镍钛金属间化合物轴承材料及其制备方法与应用。背景技术.镍钛合金(niti)是一种镍含量大约为wt.%和钛含量大约为wt.%的镍钛金属间化合物,相较于轴承钢(如不锈钢c),niti的弹性模量更低(约为不锈钢c一半),且具有更高的超弹性(≥%),因此,该材料在航空航天领域被视为极具潜力的高性能轴承材料。.目前,niti轴承主要采用铸造法和预合金粉末冶金方法制备。上述铸造法所得的niti材料内部易存在夹杂物

标签:
镍钛金属 轴承材料
福建 - 漳州 来源:广东省科学院新材料研究所 2023-09-21
钛合金激光增材修复与表面渗氮复合处理工艺的制作方法

.本发明涉及激光金属材料加工领域,尤其涉及一种钛合金激光增材修复与表面渗氮复合处理工艺。背景技术.钛及钛合金具有密度低、比强度高、抗蚀性能和耐高温性能优越等特点,被广泛应用于航空航天、核工业及生物医疗等领域关键部件的制造。然而,钛合金部件表面硬度较低、耐磨性能较差,对粘着磨损和微动磨损非常敏感。钛合金部件在服役过程中易产生磨损、裂纹、疲劳等,导致零件失效,造成经济损失。激光增材修复技术以高能束激光为热源,具有热量输入低、稀释小、热影响区小及变形小等特点,可实现钛合金部件的快速再制造。.通常

标签:
钛合金 激光增材修复
福建 - 漳州 来源:长沙理工大学 2023-09-21
钢/铝双金属增/等材复合制造方法与流程

本发明涉及增材制造技术领域,特别涉及一种3d打印与铸造相结合的增材制造方法,具体是一种钢/铝双金属增/等材复合制造方法。背景技术双金属复合材料是将两种或者两种以上物理、化学等方面不同的金属结合制备出的材料,具有良好的综合力学性能。例如:钢具有强度高、耐磨等优点;铝具有质量轻、耐腐蚀等优点;钢/铝双金属复合材料结合钢、铝优良的力学性能已经广泛应用于汽车制造、机械加工、航空航天等领域。钢/铝双金属复合材料通常是利用固-液复合铸造制备。传统上是将铝液浇注在钢基体上,但是钢、铝之间互溶度低,界面处容易产

标签:
增材制造 钢铝双金属
福建 - 漳州 来源:中北大学 2023-09-21
带铝或铝合金预镀层的预镀层钢板、制造方法及热冲压成形构件与流程

本申请涉及带铝或铝合金预镀层的预镀层钢板、制造方法及热冲压成形构件。背景技术热冲压钢在汽车材料中的应用比例逐年递增,相应地,汽车行业对热冲压钢的强度和韧性的要求也越来越高。材料韧性的一种常用测试方法是静态三点弯曲试验(即vda弯曲实验,vda238-100标准),通过检测钢板达到最大弯曲载荷时的弯曲角(以下简称vda弯曲角)的大小来评价钢板的韧性,反映材料抵抗弯曲变形失效的能力。同时,表征材料强度的一种常用测试方法是室温拉伸试验(gb/t228.1标准),抗拉强度反映了材料的抵抗拉伸变形失效的能

标签:
预镀层钢板 铝合金
福建 - 漳州 来源:育材堂(苏州)材料科技有限公司 2023-09-21
钛硅合金材料及其制备方法与流程

本发明涉及一种钛合金材料及其制备方法,尤其涉及一种钛硅合金及其制备方法,属于冶金技术领域。背景技术我国的钛资源非常丰富,蕴藏量居世界前列。钛白粉生产已有相当规模,但钛硅材料制备研究的比较少,钛硅合金的研究具有较大的实际意义。高熔点的金属间化合物,具有低的密度、良好的抗氧化性,因而受到广泛的重视。TiSi2是一种重要的硅化物,具有较好的高温稳定性、较高的高温强度和良好的抗氧化能力,有希望成为1200℃以上使用的结构材料。由于其电阻和热阻均较低,TiSi2也有希望应用于电气连接和扩散阻挡层,目前已被

标签:
钛硅合金材料 合金材料
福建 - 漳州 来源:攀枝花学院 2023-09-21
铜粉及其制备方法和用该铜粉制得的毛细芯与流程

本发明属于液冷传热组件领域,具体涉及一种铜粉及其制备方法和用该铜粉制得的毛细芯。背景技术随着电子电气领域的快速发展,电子元件的工作效率大幅提升,集成度也显著增加,随之带来热密度大幅增加。如果电子元件的热量不能及时传导出去,将会严重影响其工作寿命和稳定性。现在公认最先进的导热技术是液冷散热技术。液冷传热组件的结构:封闭真空腔体内壁有一层毛细芯,且装有运动流体,液体在吸热区受热挥发为气体,流向冷凝区,气体遇冷发生冷凝,并在毛细力的作用下回流到吸热区,这样热量被循环不断地传导出去。液冷传热组件中冷凝液

标签:
铜粉 铜合金
福建 - 漳州 来源:江苏集萃先进金属材料研究所有限公司 2023-09-21
高强度高塑性变形镁合金材料及制备方法与流程

本发明涉及一种镁合金,特别涉及一种高强度高塑性变形镁合金材料及制备方法。背景技术镁合金是最轻的金属结构材料之一,具有高的比强度和比刚度,出色的尺寸稳定性和优良的减震性。同时,相比塑料,其回收性更胜一筹,无环境污染,被誉为“21世纪重要的绿色工程金属结构材料”。近年来,随着能源资源日趋紧张,镁合金有望在汽车、电子、电器、航天航空领域获得广泛应用。低强度是限制镁合金广泛应用的关键,普通镁合金(目前商用高强镁合金材料Mg-Zn-Zr合金,其典型的合金牌号如ZK60,该合金抗拉强度只有340MPa)的绝

标签:
镁合金材料 镁合金
福建 - 漳州 来源:重庆大学 2023-09-21
高效的钒氮合金生产工艺的制作方法

.本发明涉及钢铁冶金中添加剂生产领域,具体涉及到钒氮合金的生产技术。背景技术.现有钒氮合金的工业化大生产中,以钒的氧化物为原料,主要是vo作为原料,采用碳热还原氮化得到,钒氮合金生产的主流工艺见附图。.在立窑或推板窑里发生碳热还原反应和氮化反应,其碳热还原反应式为。vo(s)c(s)=vc(s)co(g)?↑co(g)?↑氮化反应式为。vc(s)n(g)=vn(s)c生成钒氮合金的总反应式

标签:
钒氮合金 合金材料
福建 - 漳州 来源:王兆兵 2023-09-21
金属粉末与金属板带复合轧制复合板带的生产线的制作方法

本实用新型涉及复合板带轧制技术领域,具体涉及一种金属粉末与金属板带复合轧制复合板带的生产线。背景技术随着现代科学技术和现代工业的不断发展,单一金属或合金很难完全满足其对材料综合性能的需求。选取两种或两种以上的金属材料采用不同工艺制成的复合板材能够满足特殊环境下的综合性能要求。金属基复合板集不同金属的物理、化学、力学特征于一体,具有单一金属材料无可比拟的综合性能,同时兼备价格优势,因而得到了广泛的应用。复合板(带)的工业生产工艺主要有:铸造复合、爆炸复合和轧制复合,金属复合板的工艺方法有很多种,各

标签:
金属粉末 金属板带 复合板带
福建 - 漳州 来源:鞍钢重型机械有限责任公司 2023-09-21
新型高性能钼合金及其制备方法

.本发明涉及金属材料技术领域,尤其涉及一种新型高性能钼合金及其制备方法。背景技术.钼合金是一类具有战略意义且不可再生的稀有的难熔合金,其具有高熔点、良好的导热性、低的膨胀系数、极好的抗热震性能以及耐热疲劳性能。因而钼合金及其合金在航空航天,核工业、机械、冶金等领域有着广阔的应用前景。同时由于我国的钼储量,产量以及消费量均居全球第一,因而如何高效的利用钼及其合金制备高性能产品具有重要的战略意义,受到国内外的广泛关注。.目前,由于钼及钼合金通常具有高密度、较低的再结晶温度、高的韧脆转变温度、显

标签:
钼合金 金属材料
福建 - 漳州 来源:深圳大学 2023-09-21
压铸用铝合金以及对其进行热处理的方法与流程

本发明涉及可适用于压铸的铝合金组合物及对其进行热处理的方法。具体而言,铝合金组合物可包括通过热处理形成的Mg-Zn基强化相沉淀,因此其可具有大大改善的强度。背景技术由于易于铸造、与其他金属高效地形成合金、在空气中显示出高耐腐蚀性并具有高导电导热性,铝在工业中已得到广泛应用。具体而言,铝主要被用于减轻车辆重量并提高燃料效率,且通过将铝与其他金属混合而以铝合金的形式提供,因为与其他金属例如铁相比,铝本身的强度可能不足。通过压铸制造铝合金,其是一种精密的铸造工艺,其中将熔融金属注入具有空腔的模具中,由

标签:
铝合金 铝合金组合物
福建 - 漳州 来源:现代自动车株式会社 2023-09-21
高致密度、成分可控的高硅铝合金材料及制备方法与流程

.本发明涉及合金加工技术领域,尤其涉及一种高致密度、成分可控的高硅铝合金材料及制备方法。背景技术.高硅铝合金材料具有热膨胀系数低、导热性好、硬度高、比强度高、耐磨性好、比重小等诸多突出优点,在汽车、电子、航空、航天等领域具有广泛应用,尤其是在电子封装材料和汽车发动机活塞材料等领域,具有广泛的应用潜力。目前常用的几种制备高硅铝合金材料的工艺存在以下问题:()采用熔炼铸造的方法制备高硅铝合金材料会使组织中产生粗大的板片状初晶硅和针状的共晶硅,严重割裂了基体,尖端处还会产生应力集中,降低了强度、

标签:
高硅铝合金 铝合金材料
福建 - 漳州 来源:辽宁中科博研科技有限公司 2023-09-21
铝合金PVD结构、铝合金装饰件及电子设备的制作方法

铝合金pvd结构、铝合金装饰件及电子设备【技术领域】.本实用新型涉及表面处理技术领域,具体的涉及一种铝合金pvd结构、铝合金装饰件及电子设备。【背景技术】.电池盖是一种安装在手机背面的手机外观配件,主要起保护、装饰等功能,因此一般电池盖上装有铝合金装饰件,以提升美观度。目前,随着柔性屏和折叠技术的发展,折叠手机成为未来趋势,折叠手机设有用于折叠的转轴,转轴的表面通常为不锈钢或者液态金属并进行pvd镀膜(pvd,即物理气相沉积技术,表示在真空条件下,采用物理方法,将材料蒸发成气态原子、分子或部

标签:
铝合金 铝合金pvd结构
福建 - 漳州 来源:闻泰通讯股份有限公司 2023-09-21
硫化亚锡/金纳米颗粒复合物及其制备方法和应用与流程

本发明涉及的是一种硫化亚锡诱导生长金纳米颗粒的自组装方法,属于纳米材料制备领域。背景技术硫化亚锡是性能优良的P型半导体,在很多领域具有广泛的应用,可用作晶体管、传感器、太阳能电池、开关、电池电极等。不同于诸如石墨烯等零隙半导体的是,硫化亚锡有带隙,且为间接带隙,并且其带隙和原子层数有重要的联系,层数越薄带隙越大。也不同于过度金属二维材料如二硫化钼,硫化亚锡从块体到单层都是间接带隙。但目前硫化亚锡和金纳米颗粒的复合物制备方法还鲜有报道。金纳米颗粒的合成一般采用溶液化学还原的方法,如用乙二醇或是硼氢

标签:
硫化亚锡 金纳米颗粒
福建 - 漳州 来源:南京邮电大学 2023-09-21
高耐蚀高强韧FeCrNi系多主元合金及其制备方法与流程

本发明属于合金材料技术领域,具体涉及一种高耐蚀高强韧fecrni系多主元合金及其制备方法。背景技术高强韧、高耐腐蚀性能及良好加工性能材料是工程结构材料的主要发展方向,在航空航天、海洋、汽车和石油等领域有广泛的应用前景。目前常见的有钛合金、奥氏体不锈钢等。钛合金具有高强韧、耐腐蚀性能好、密度低等特点,目前在航空航天、海洋等高端领域应用较多,然而因其活性高,熔炼、塑性加工等都非常困难,导致其价格昂贵,限制了大规模应用。奥氏体不锈钢(如304、316钢等)具有良好的耐腐蚀性能、优异的加工性能及相对较低

标签:
合金材料 多主元合金
福建 - 漳州 来源:中南大学 2023-09-21
长寿命铜锰合金靶材的加工方法与流程

本发明属于靶材制造技术领域,特别涉及一种长寿命铜锰合金靶材的加工方法。背景技术溅射靶材是半导体集成电路制备过程中重要的原材料之一,靶材的材质主要包括Al、Cu、Ti、WTi、NiV、NiPt等,主要用于集成电路中接触、通孔、互连线、阻挡层、封装等物理气相沉积薄膜的制备。溅射过程中,用加速的离子轰击靶材表面,使表面的原子沉积在基底表面。为了降低集成电路制造成本,最简单有效的方法是提高靶材寿命,常规提高靶材寿命的方法为增加溅射区域厚度。专利CN204097558U、CN201793723U、CN20

标签:
铜锰合金靶材 靶材制造 靶材
福建 - 漳州 来源:有研亿金新材料有限公司; 2023-09-20
可量产化的电解铬片脱气工艺的制作方法

本发明属于有色金属高温冶炼领域,特别涉及一种可以量产化的电解铬片脱气的生产工艺。解决了国内没有量产化高纯铬片的问题。背景技术高纯金属铬是指主成分铬大于99.95%,杂质含量低,特别是氧、碳、氮、硫含量低的铬。其中,氧小于0.04%,碳小于0.025%,氮小于0.003%,S小于0.002%。高纯金属铬主要用作超级合金添加剂-生产飞机涡轮机的叶片,电气的触头、半导体、芯片溅射靶材等领域。其中高端半导体、芯片、精密电子产品、汽车活塞环以及光学材料镀膜的铬靶,是由高纯脱气铬片/粒破碎后,热等静压成型。

标签:
有色金属高温冶炼 电解铬片 高纯金属铬
福建 - 漳州 来源:北京兴荣源科技有限公司 2023-09-20
上一页 1 2 3 下一页
共3页    到第

中冶有色为您提供最新的福建有色金属合金材料技术理论与应用信息,涵盖发明专利、权利要求、说明书、技术领域、背景技术、实用新型内容及具体实施方式等有色技术内容。打造最具专业性的有色金属技术理论与应用平台!

全国热门有色金属设备推荐
展开更多 +
全国热门有色金属技术推荐
展开更多 +

 

江西省隆恩特环保设备有限公司
宣传

报名参会
更多+

2025年10月15日 ~ 17日
2025年10月17日 ~ 19日
2025年10月31日 ~ 11月02日
2025年11月07日 ~ 09日

报告下载

有色专家
更多+

东北大学
院长/教授
国家钨与稀土产品质量检验检测中心
主任
西北有色金属研究院、中国工程院
院士
中科院过程工程研究所循环经济技术中心
主任
中南大学
教授
赤泥综合利用研究报告2025
推广

热门技术
更多+

推荐企业
更多+

福建省金龙稀土股份有限公司
宣传

发布

在线客服

公众号

电话

顶部
咨询电话:
010-88793500-807