青岛垚鑫智能科技有限公司
宣传

位置:北方有色 >

有色技术频道 >

> 合金材料技术

分类:
全部
矿山技术
冶金技术
材料制备及加工技术
环境保护技术
分析检测技术
 
全部
功能材料技术
复合材料技术
新能源材料技术
合金材料技术
加工技术
地区:
全部
北京
天津
上海
重庆
河北
山西
辽宁
吉林
黑龙江
江苏
浙江
安徽
福建
江西
山东
河南
湖北
湖南
广东
海南
四川
贵州
云南
陕西
甘肃
青海
内蒙
广西
西藏
宁夏
新疆
其他
其他
展开
 
全部

有色金属合金材料技术理论与应用

免费发布技术信息>>
含钛活性钎料带材及其制备方法

本发明属于金属连接材料技术领域,具体涉及一种含钛活性钎料带材及其制备方法。本发明旨在解决现有含钛活性钎料因内在脆性大,在制备薄规格带材时易发生开裂、表面氧化、尺寸精度低的技术问题。含钛活性钎料带材按质量百分比计,包括:Ti 1.5~5%,Sn 0~5%,Ni 0~1%,Cu 20~30%,余量为Ag。其制备方法包括:1)高真空熔炼;2)均匀化退火;3)“多道次、小压下率”塑性加工与中间退火;4)成品轧制与退火。

标签:
金属连接材料 含钛活性钎料
陕西 - 西安 来源:西安瑞鑫科金属材料有限责任公司 2026-03-05
用于铝带焊接机的裁切机构

本实用新型公开了一种用于铝带焊接机的裁切机构,包括柜体、压板组件、焊接组件,压板组件设置于柜体上,焊接组件设置于压板组件的上方。压板组件的中部设置裁切机构,裁切机构由升降组件、切刀组件和稳定组件组成。其中,升降组件包括剪切机构架、剪切刀架和升降气缸,剪切机构架与柜体连接,剪切刀架与剪切机构架活动连接,升降气缸驱动剪切刀架升降。切刀组件包括两条剪切上刀和两条剪切下刀,分别设置于剪切刀架和剪切机构架上。

标签:
铝带焊接机 裁切机构
四川 - 成都 来源:成都联士科技有限公司 2026-03-04
铝带分切机用上料结构

本实用新型涉及铝带加工技术领域,提供一种铝带分切机用上料结构,包括工作台和内置腔,所述工作台顶部的一侧开设有内置腔,所述内置腔的内部设置有上料机构,所述工作台的顶端设置有限位结构。本实用新型通过设置有限位结构,通过螺纹杆两端的螺纹方向相反,螺纹杆会带动其两端的移动座反向移动,移动座会在滑杆的外侧移动,在滑杆的作用下,避免移动座跟随螺纹杆发生转动,移动后的移动座会带动活动板移动,当铝带在输送带的顶端移动时,铝带会带动导向辊在活动槽的内部转动

标签:
铝带分切机 上料结构
江苏 - 镇江 来源:镇江源龙铝业有限责任公司 2026-03-04
基于硅钼棒的光纤拉锥装置和方法

本发明公开了一种基于硅钼棒的光纤拉锥装置和方法。该装置包括两侧的高精度电动位移台、三维调整架和光纤夹具,通过光纤夹具水平固定待拉锥光纤,待拉锥光纤下方设置有碳纤维板炉腔,碳纤维板炉腔中设置有硅钼棒,硅钼棒连接大功率电源,碳纤维板炉腔固定在电动升降台上,电脑终端通过运动平台控制器与左侧高精度电动位移台、右侧高精度电动位移台以及电动升降台连接,电脑终端同时连接CCD相机,CCD相机连接显微目镜,显微目镜的下方设置有光纤切割系统。本发明有效解决了传统光纤拉锥装置成本高,使用危险气体存在安全隐患等问题

标签:
硅钼棒 光纤拉锥装置
江苏 - 南京 来源:南京邮电大学, 中国科学院南京天文光学技术研究所 2026-03-04
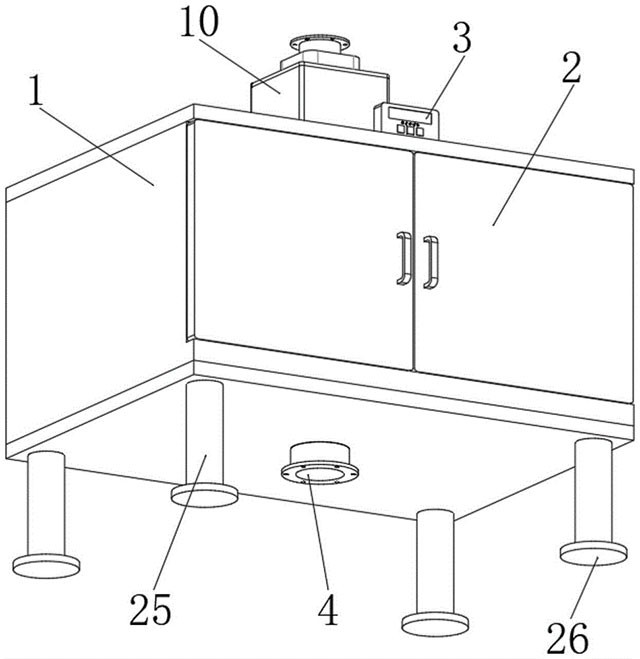
用于锌锭的表面清洁处理装置

本实用新型涉及锌锭表面处理技术领域,且公开了一种用于锌锭的表面清洁处理装置,解决了锌锭用表面清洁处理装置在使用的过程中,无法达到自动处理效果的问题,其包括处理箱,处理箱的外侧对称安装有箱门,处理箱的内部设置有放置板,且放置板的内部均匀贯穿开设有通孔,放置板的两端中部均固定安装有伸缩固定杆,且两根伸缩固定杆互相靠近的一端均固定安装有固定条板,放置板的顶部四角边均固定安装有调节伸缩杆,且四根调节伸缩杆的顶部均与处理箱的内部顶端固定连接,处理箱的内部顶端中部安装有清洁处理组件;

标签:
锌锭 锌锭表面清洁处理装置
天津 - 天津 来源:天津市宏宸金属材料有限公司 2026-03-02
提升铸造铝合金中锌元素均匀性的方法及装置

本发明涉及铝合金熔炼净化设备技术领域,公开一种提升铸造铝合金中锌元素均匀性的方法及装置,其基本构思为:1)将锌锭浸没入铝合金熔炼产线流槽的铝水中5mm‑10mm;2)根据设定的参数自动调节锌锭的高度使锌锭保持在最佳的升降位置,进而实现锌元素在铸造铝合金中的均匀分布。本发明还提供一种提升铸造铝合金中锌元素均匀性的装置,包括底座和安装在底座上的电子称重装置、伺服电机、上下升降装置、铝水液位测量装置、控制器和锌锭,上下升降装置可升降地安装在底座上并在伺服电机的驱动下进行升降

标签:
铝合金 锌元素
广东 - 佛山 来源:广东齐力澳美高新材料股份有限公司 2026-03-02
耐腐蚀压铸铝合金及其制备方法和阳极氧化方法

本发明公开了一种耐腐蚀压铸铝合金及其制备方法和阳极氧化方法,所述铝合金的材料组成包括:Si≤0.3wt%;Fe≤1.0wt%;Cu≤0.5wt%;Mn1.5‑2.0wt%;Mg0.1‑0.3wt%;Zn2.5‑4.5wt%;Ti0.05‑0.15wt%;Cr0.5‑1.5wt%;Co2.5‑3.5wt%;余量为Al和杂质,杂质总含量小于等于0.25wt%;所述铝合金的抗拉强度≥200MPa,屈服强度≥110MPa,延伸率≥10%;

标签:
压铸铝合金 铝合金制备
广东 - 佛山 来源:广东正沅材料科技有限公司 2026-03-02
带钢镀锌锅溢流式锌液补充装置

一种带钢镀锌锅溢流式锌液补充装置,属于带钢加工设备技术领域,包括用于盛纳锌液并进行热浸镀锌的镀锌锅和用于将锌锭熔化成高温锌液的熔锌炉,熔锌炉的底部高于镀锌锅的底部,所述熔锌炉底部设有出液口,所述镀锌锅和熔锌炉之间设有位于出液口下方的导流通道,且导流通道沿锌液流向向下倾斜延伸,所述镀锌锅的外部设有缓冲室,缓冲室与镀锌锅之间通过开设在镀锌锅上的通槽连通,通槽底壁和缓冲室底壁均低于镀锌锅内锌液液面,导流通道的底端搭设在缓冲室顶端,使熔锌炉内的锌液经导流通道流入缓冲室,然后通过通槽进入镀锌锅内。

标签:
带钢加工设备 带钢镀锌锅
宁夏 - 石嘴山 来源:宁夏建龙龙祥钢铁有限公司 2026-03-02
高钙石灰破碎机
高钙石灰破碎机 175     
 0

本实用新型公开了一种高钙石灰破碎机,涉及石灰石破碎机技术领域,包括破碎台,所述破碎台的两端分别固定安装有支撑架,所述破碎台一侧的中部固定安装有破碎仓,所述破碎仓的内部转动连接有破碎辊,所述破碎辊的一端传动连接有驱动电机。本实用新型中,泵机将水泵入到进水管的内部,水雾从出水喷头的一端喷出,对飘浮在粉尘封闭仓内壁的粉尘进行除尘操作,避免粉尘结块污染作业现场的环境,同时设置在破碎仓与降尘组件之间的防护滤网能够将破损过程中产生的碎石隔离在破碎仓的内部

标签:
高钙石灰破碎机 破碎机
山东 - 济南 来源:山东鲁顺冶金材料有限公司 2026-02-28
稀土钕基粉末冶金材料的制备装置

本实用新型公开了一种稀土钕基粉末冶金材料的制备装置,涉及稀土钕基粉末制备技术领域,包括主体架,所述主体架的内壁设置有混合组件,通过设置的混合组件,使得电机的输出端转动带动转动柱转动,转动柱转动带动从而带动混合桶,混合桶转动从而对混合桶内部的稀土钕基粉末原料与其他添加剂进行倒复混合,从而避免不同粒径的原料与添加剂出现大颗粒沉降、轻细颗粒上浮分层现象,当混合桶转动时通过齿轮盘和圆锥齿轮相互配合使用从而带动活动柱和打散架转动,活动柱和打散架转动从而便于在混合桶将内部原料倒复混合的同时进行打散

标签:
稀土钕基粉末冶金材料 稀土钕基粉末制备
山东 - 青岛 来源:青岛蓝海新材料科技有限公司 2026-02-28
锰合金添加剂开发粉碎装置

本实用新型公开了一种锰合金添加剂开发粉碎装置,包括两级粉碎设备、出口管一、出口管二,第一级粉碎设备破碎后的锰合金颗粒通过导流板输送至第二级粉碎设备,第二级粉碎设备粉碎后的锰合金颗粒通过导流板输送至存储罐内,两级粉碎设备破碎后的颗粒通过导流板筛分后、经过支撑板输送至传送带上回收,实现分级粉碎和废弃颗粒筛分回收,实现粉碎后的锰合金添加剂颗粒度均匀。进行粉尘处理过滤,粉尘过滤箱优选‌复合纤维滤筒除尘器,以实现较高的过滤效率和较好的耐磨损性。

标签:
锰合金添加剂 粉碎装置
江苏 - 徐州 来源:徐州市永晟冶金材料有限公司 2026-02-28
锡金属铸锭装置及方法

本发明涉及有色金属冶炼技术领域,尤其涉及一种锡金属铸锭装置及方法。包括精炼锅和中转桶,精炼锅的侧面连通有第一放液管,第一放液管上设有第一放液阀,第一放液管伸入中转桶中,中转桶的侧面连通有第二放液管,第二放液管上设有第二放液阀,保护气体储气罐的侧面连接有出气管,出气管上设有出气阀,出气管连通至第一放液管,第一放液管上还设有压力表,铸锭装置还包括铸锭模组,所述第二放液管的出液端朝向铸锭模组的铸锭槽中,所述第一放液管与中转桶上均设有加热设备。

标签:
锡金属铸锭 锡金属冶炼 锡加工
河南 - 济源 来源:河南豫光金铅股份有限公司 2026-02-26
轻量化高强度铝型材管挤压成型装置

本实用新型属于铝型材管技术领域,尤其为一种轻量化高强度铝型材管挤压成型装置,包括底座、模具与冷却筒,所述底座的顶部固定连接有左板与右板,所述左板上设置有挤压机构,所述右板内固定套设有加热筒,所述加热筒内设置有加热导向机构,所述模具的外侧固定套设有两个左固定环与右固定环,所述左固定环通过螺杆固定连接在加热筒的外侧。本实用新型结构设计合理,通过循环冷却机构,不仅可对挤出的铝管进行高效冷却定型,提高加工的效率,同时可对下一个铝棒进行预热使用,避免热量的浪费,冷却定型后,可对铝管进行切割作业,提高装置的

标签:
铝型材管技术 铝型材管 铝型材管加工
江苏 - 苏州 来源:常熟欧亚浩金属材料科技有限公司 2026-02-26
铝板打孔装置
铝板打孔装置 172     
 0

本实用新型公开了一种铝板打孔装置,属于铝板加工技术领域;包括工作台,设置在所述工作台顶面的放置腔,转动设置在所述放置腔内的转盘,驱动所述转盘进行转动的驱动组件,以及设置在所述工作台顶端的打孔组件和限位组件;所述转盘包括环形框,设置在所述环形框中部的连接盘,以及设置在所述环形框和所述连接盘之间的多根放置杆;所述限位组件包括设置在所述工作台顶端且靠近转盘的至少两根第一竖杆,设置在每根所述第一竖杆顶端的连接部,设置在所述连接部底端的第一液压杆,以及设置在所述第一液压杆伸缩端的压板。

标签:
铝板打孔装置 铝板加工技术
四川 - 雅安 来源:四川鑫凯铭泰金属材料有限公司 2026-02-26
超声喷丸强化激光定向沉积IN718合金的制备方法

本发明涉及金属材料表面工程与增材制造技术领域,具体涉及一种超声喷丸强化激光定向沉积IN718合金的制备方法。本发明通过基体预处理、DED制备、表面精处理、超声喷丸处理步骤,在IN 718合金表层诱导产生梯度纳米结构,同步提升其显微硬度、耐磨性、耐腐蚀性及抗磨损‑腐蚀协同性能的复合制造方法。在利用激光定向能量沉积技术实现构件近净成形的同时,通过后续的超声喷丸处理在材料表层引入高位错密度、高值残余压应力并显著细化晶粒,达到调控微观组织、消除缺陷的效果,最终实现构件表面力学性能与耐环境损伤能力的综合提升。

标签:
金属材料表面工程 IN718合金制备
山东 - 济南 来源:山东科技大学 2026-02-26
通过异质材料焊接提高纯钛盘圆轧制成材率的方法及纯钛盘圆

本发明公开了一种通过异质材料焊接提高纯钛盘圆轧制成材率的方法及纯钛盘圆,方法包括:步骤S101:提供纯钛坯料作为轧制主体,不同于纯钛坯料的异质材料坯料作为焊接咬入端;步骤S102:对纯钛坯料与异质材料坯料进行对接焊接;步骤S103:焊接结束后进行热处理:对焊接后的坯料进行保温及梯度冷却处理;步骤S104:对处理后的坯料进行轧制:异质材料焊接端先进行咬入、轧制,当异质材料焊接端轧制完成后才进行后续轧制过程,得到纯钛盘圆;步骤S105:轧后卷取,直接对轧制完成的盘圆进行卷取,焊接区经轧制延伸后融入轧制主体。

标签:
纯钛盘圆 纯钛盘圆轧制
四川 - 成都 来源:成都先进金属材料产业技术研究院股份有限公司 2026-02-26
用于大型铜合金件自动焊接的预热装置及焊接方法

本发明涉及一种用于大型铜合金件自动焊接的预热装置及焊接方法,预热装置包括包括机器人、机械臂、激光预热头、MIG焊枪和激光器,机械臂安装在机器人上,机械臂的端部安装有激光预热头和MIG焊枪,激光预热头通过传输光纤光路与激光器连接,激光预热头输出的方形光斑聚焦于待焊区域,并在待焊区域上形成圆形的预热区域,MIG焊枪在待焊区域上形成电弧作用点,电弧作用点位于预热区域内。激光预热头输出的方形光斑在待焊区域形成均匀的预热区域,使焊接区域达到理想的预设温度,显著改善焊缝的熔合性能,减少气孔和变形的发生概率。

标签:
预热装置 铜合金件加工
山东 - 烟台 来源:烟台万隆真空冶金股份有限公司 2026-02-24
具有超塑性的钛合金薄壁管的制备方法

本发明涉及钛合金管材制造技术领域,具体公开了一种具有超塑性的钛合金薄壁管的制备方法,包括以下步骤:S110,在真空退火炉中对钛合金棒料在相变点以下进行退火处理;S120,对退火后的棒料进行往复挤压处理;S130,将往复挤压处理后的棒料经过正挤压成管坯;S140,对管坯进行超塑性胀形处理;S150,超塑性胀形结束后,停止保温,继续吹入惰性保护气进行冷却降温至室温;以及S160,对超塑性胀形后薄壁管进行去应力退火,得到具有超塑性的钛合金成品管。

标签:
钛合金薄壁管 钛合金制备
四川 - 成都 来源:成都先进金属材料产业技术研究院股份有限公司 2026-02-10
复杂型面钛及钛合金薄壁弯曲型材的制备方法

本发明公开了一种复杂型面钛及钛合金薄壁弯曲型材的制备方法,包括如下步骤:S1、对钛及钛合金铸锭进行多火次锻造,并进行分切和机加工,得到待挤压锭坯;S2、对S1中得到的待挤压锭坯进行润滑、加热和挤压,得到挤压型坯。本发明将热挤压与热拉弯相结合,先采用锻造结合热挤压方式制备得到复杂截面的挤压型坯,然后采用热拉弯结合后续校形、消应力热处理的工艺,制备得到满足数控机床上机要求的弯曲型材,最后通过数控机床进行机加工制备得到薄壁弯曲型材最终产品,大大提高了材料利用率、降低了机加工工时以及加工成本

标签:
钛合金薄壁弯曲型材 钛合金加工
陕西 - 西安 来源:西安西部新锆科技股份有限公司 2026-02-10
炼铝阳极用石油焦的生产工艺

本发明属于石油焦的生产技术领域,尤其为一种炼铝阳极用石油焦的生产工艺,包括包括以下步骤:原料智能分析阶段:采用先进的人工智能算法结合高精度光谱分析技术,对多种来源的生石油焦进行硫、钙、钠、钒等关键杂质元素的深度剖析,实现原料成分的精准识别与分类;动态配比优化阶段:基于原料分析结果,运用机器学习模型动态调整石油焦混合比例,本发明通过引入先进的人工智能算法、高精度光谱分析技术以及机器学习模型,本发明实现了对原料成分的精准识别与动态配比优化;

标签:
铝阳极 石油焦
青海 - 西宁 来源:青海百晟炭素有限公司 2026-02-10
细晶且均匀化的白铜管及其制备方法

本发明涉及白铜管材制备技术领域,特别涉及一种细晶且均匀化的白铜管及其制备方法。所述细晶且均匀化的白铜管的制备方法,包括以下步骤:(1)工装模具预热;(2)原材料准备;(3)真空熔炼;(4)浇注;(5)锻造:将步骤(4)得到的B10白铜铸锭进行墩粗、扩孔、拔长,锻造总变形量为75‑85%;(6)旋压:进行三道次旋压,三道次旋压的变形量分别为25‑35%、25‑35%和15‑25%,总变形量为52‑68%,三道次旋压的给进比为1‑1.5mm/r;(7)热处理。

标签:
白铜管制备 白铜管
山东 - 烟台 来源:烟台万隆真空冶金股份有限公司 2026-02-06
高Mn型Mn-Cu基高性能合金及其制备方法

本发明涉及金属功能材料技术领域,尤其涉及一种高Mn型Mn‑Cu基高性能合金及其制备方法。所述高Mn型Mn‑Cu基高性能合金的制备方法,包括以下步骤:先将原料混合并在稀有气体环境中熔炼,再将溶液浇铸成锭,然后对铸锭进行锻造处理,最后所得锻件进行固溶、时效热处理,制得。本发明制备获得的Mn‑Cu基合金兼备优异的力学性能和阻尼性能,抗拉强度大于550MPa,屈服强度大于320MPa,延展率大于31%,在温度低于120℃时,阻尼的损耗因子大于0.02,有着较宽的温度平台,保持了良好的阻尼性能,相对于现有的Mn‑Cu基合金有一定的提升。

标签:
Mn-Cu基高性能合金 合金材料技术
山东 - 烟台 来源:烟台万隆真空冶金股份有限公司 2026-02-06
高强高塑性亚稳β钛合金及其制备方法

本发明公开一种高强高塑性亚稳β钛合金及其制备方法,涉及金属材料及先进制造技术领域。本发明高强高塑性亚稳β钛合金的制备方法为:按比例称取各元素原料,将称取的各元素原料经真空熔炼得到合金铸锭,将合金铸锭经锻造、机加工,制备得到电极棒,将电极棒制成球形粉体,将球形粉体筛分,得到合金粉体;将合金粉体进行成型处理得到坯料;将坯料经热处理得到高强高塑性亚稳β钛合金。

标签:
钛合金 钛合金制备
浙江 - 杭州 来源:天目山实验室 2026-02-04
Fe基纳米晶合金材料及其制备方法和应用

本发明涉及一种Fe基纳米晶合金材料及其制备方法和应用,属于纳米晶合金材料技术领域。本发明提供了一种Fe基纳米晶合金材料,所述Fe基纳米晶合金材料的原子百分比表达式为Fex xGdy yBz z,其中,x为Fe元素对应的原子含量,82≤x≤87;y为Gd元素对应的原子含量,0.5≤y≤3;z为B元素对应的原子含量,12≤z≤16;且x+y+z=100。

标签:
Fe基纳米晶合金材料 纳米晶合金材料 纳米材料制备
广东 - 广州 来源:广东电网有限责任公司电力科学研究院 2026-02-04
利用稀土元素优化组织结构的镁合金制备工艺

本发明属于合金材料制备技术领域,具体涉及一种利用稀土元素优化组织结构的镁合金制备工艺,该工艺通过合金熔炼与成分调配、熔体精炼与保护、铸造成形与凝固控制、均匀化固溶处理、热变形加工和时效处理的步骤制备通过稀土元素优化组织结构的镁合金,进而通过精细调控稀土种类、含量及其协同效应,并结合特定参数进行处理,在镁合金基体中构筑出热力学稳定性高、分布均匀且形貌可控的多尺度强化相,并实现晶粒的精细化与晶界的有效钉扎。

标签:
镁合金制备工艺 镁合金制备
山西 - 运城 来源:山西银光华盛镁业股份有限公司 2026-02-04
钛合金螺丝双辉等离子低温碳氮共渗方法

本发明公开了一种钛合金螺丝双辉等离子低温碳氮共渗方法,涉及金属材料表面处理技术领域,其技术方案要点是:对于该安全防护方法具体包括如下:S1.螺丝表面清理:清理钛合金螺丝、石墨桶表面的油污、颗粒杂质、氧化层,将清理后的螺丝、石墨桶置于炉内;排除空气、通入氮气:排除炉体内的空气后,向炉内通入氩气和氮气至炉内气压达到设定值,加入H2调节气氛活性;

标签:
钛合金 钛合金制备 钛合金技术
江苏 - 泰州 来源:泰州市集萃金属新材料科技有限公司 2026-02-04
镍钛合金电化学抛光液及其制备方法

本发明涉及电化学抛光液技术领域,具体为一种镍钛合金电化学抛光液及其制备方法,镍钛合金电化学抛光液按质量份计包括以下组分:氨基磺酸20~25份,柠檬酸10~15份,氟化氢铵2.5~3.5份,氟硼酸钠0.5~1.2份,钼钒复合钝化剂0.8~1.5份,羟基乙叉二膦酸1.5~2.5份,聚天冬氨酸0.2~0.4份,非离子表面活性剂0.1~0.3份,亲水性有机溶剂15~20份,去离子水35~45份。

标签:
镍钛合金 电化学抛光液
江苏 - 苏州 来源:利博(常熟)合金材料有限公司 2026-02-04
快速获得破碎晶界网篮组织的钛合金热加工工艺

本发明属于钛合金材料热加工领域,具体涉及到一种快速获得破碎晶界网篮组织的钛合金热加工工艺。先后在β相单相区和两相区两个特征温度区间完成热处理,之后在两相区进行变形,具体如下:首先钛合金材料在β相变点以上50~100℃热处理,然后降温至β相变点以下50℃~100℃热处理,在该温度进行变形,变形量范围为20%~80%,快速获得不连续晶界α组织及破碎晶界α相。本发明方法实用性强,操作简便,晶界析出相可以快速得到充分破碎,具有较好的经济效益和推广价值。

标签:
钛合金热加工 钛合金
辽宁 - 沈阳 来源:中国科学院金属研究所 2026-02-04
高强韧Nb-B-V合金及其制备方法

本发明公开了一种高强韧Nb‑B‑V合金及其制备方法,方法包括:1、分别称取93.7~97.4wt.%的Nb颗粒、0.3~1.0wt.%的NbB2粉末和2.0~6.0wt.%的V块,混合,得到混合料;2、将混合料和Ti块分别放入真空电弧炉的两个水冷铜坩埚内,对真空电弧炉内抽真空并通入氩气;3、先熔炼真空电弧炉内的Ti块,再熔炼混合料,得到银白色饼状样品A;4、将样品A转移至已预热的马弗炉,在430~480℃下,保温5~10 min,得到样品B;5、将样品B轧制数次,制成薄板,每次轧制结束后,均在430~480℃下,保温1~2 min,得到样品C;

标签:
Nb‑B‑V合金 合金材料制备
陕西 - 西安 来源:西安交通大学 2026-02-03
制备高纯砷的装置
制备高纯砷的装置 234     
 0

本实用新型涉及一种制备高纯砷的装置,包括电极反应槽,所述电极反应槽包括槽内设置的阳极板、阴极板,以及与阳极板和阴极板电连接的电源,所述电极反应槽靠近阳极板的侧壁上从上往下依次开设有氧气排口和亚砷酸进口,所述电极反应槽靠近阴极板的侧壁上方开设有砷化氢排口;所述砷化氢排口处连接有管式加热器,所述管式加热器的出口连接有冷凝收集罐,所述冷凝收集罐的出口连接有过氧化氢洗涤器。

标签:
高纯砷 高纯砷制备
云南 - 昆明 来源:云南铜业科技发展股份有限公司 2026-01-29
上一页 1 2 3 4 5 ... 29 下一页
共29页    到第

北方有色为您提供最新的有色金属合金材料技术理论与应用信息,涵盖发明专利、权利要求、说明书、技术领域、背景技术、实用新型内容及具体实施方式等有色技术内容。打造最具专业性的有色金属技术理论与应用平台!

全国热门有色金属设备推荐
展开更多 +
全国热门有色金属技术推荐
展开更多 +

 

江西省隆恩特环保设备有限公司
宣传

报名参会
更多+

报告下载

有色专家
更多+

华东理工大学
主任/教授
矿冶科技集团有限公司
中国工程院院士
矿冶科技集团
中国工程院院士
中铝检测科技(郑州)有限公司/国家轻金属质量检验检测中心
正高级工程师
南京理工大学、中国科学院
院士
赤泥综合利用研究报告2025
推广

热门技术
更多+

推荐企业
更多+

福建省金龙稀土股份有限公司
宣传

发布

在线客服

公众号

电话

顶部
咨询电话:
010-88793500-807