青岛垚鑫智能科技有限公司
宣传

位置:中冶有色 >

有色技术频道 >

分类:
全部
矿山技术
冶金技术
材料制备及加工技术
环境保护技术
分析检测技术
地区:
全部
北京
天津
上海
重庆
河北
山西
辽宁
吉林
黑龙江
江苏
浙江
安徽
福建
江西
山东
河南
湖北
湖南
广东
海南
四川
贵州
云南
陕西
甘肃
青海
内蒙
广西
西藏
宁夏
新疆
其他
其他
展开
 
全部
南京
无锡
徐州
常州
苏州
南通
连云港
淮安
盐城
扬州
镇江
泰州
宿迁

江苏有色金属理论与应用

免费发布技术信息>>
基于强化学习的多目标复杂交通场景下自动驾驶解决方法

本发明公开一种基于强化学习的多目标复杂交通场景下自动驾驶解决方法,该方法可以使用一套强化学习自动驾驶建模方法处理所有交通场景,具有较好的通用性。强化学习综合建模基于传统强化学习框架,使用环境感知信息及结合人类知识提取的特征量作为观测空间。模型训练基于时变训练策略,提高训练速度和策略应用的泛化性。为对其形式安全性作进一步保障,还提出了基于长短时记忆(LSTM)网络的危险动作识别器与基于人类知识体的规则约束器,从环境中采样并训练危险动作识别器,使车辆具备识别危险动作与危险场景的能力,并针对特定情形设计规则约束对输出动作加以限制,可以大大提高安全性,减少碰撞次数,以保障车辆的行驶安全。

标签:
化学分析
江苏 - 南京 来源:中冶有色网 2023-03-19
用于有机化学原料的农药中间体烘干装置

本实用新型属于农药领域,具体的说是一种用于有机化学原料的农药中间体烘干装置,包括烘箱,所述烘箱的上方固定连接有固定螺丝,所述固定螺丝的下方平行设置有合页,所述合页的右侧固定连接有开合门,所述开合门的内部固定连接有玻璃检查板,所述玻璃检查板的右侧平行设置有拉手,所述拉手的下方平行设置有转轴,所述转轴的右侧活动连接有卡扣,所述卡扣的下方平行设置有机箱,所述机箱的内部活动连接有检修门;通过合页、玻璃检查板、开合门、托盘、固定机构、放置板、外壳和烘板之间的配合工作让设备的整体原材更换全面性更好,通过托盘与放置板之间的可拆卸结构可以让设备在更换烘干原材时可以更好的通过更换托盘进行原材的全面更换。

标签:
化学分析
江苏 - 盐城 来源:中冶有色网 2023-03-19
化学实验室酸碱废液分离装置

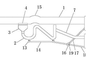
本实用新型公开了一种化学实验室酸碱废液分离装置,包括一排废主管,所述排废主管的底端部固定连接有一排废支管,所述排废支管的一侧壁固定连接有第一连管,所述第一连管远离排废支管的一端固定连接有盛放斗,所述盛放斗的内腔设置有漏网板,所述盛放斗的顶部卡接有可拆卸的料塞。本实用新型涉及化学实验器材技术领域,该化学实验室酸碱废液分离装置,通过利用化学反应和机械装置使废液分离自动化,在定期添加药品的条件下可多次使用。相比普通的废液收集装置,本发明无需在倾倒废液前测量pH,程序简单,可以大大降低因废液错误倾倒导致的风险。

标签:
化学分析
江苏 - 南京 来源:中冶有色网 2023-03-19
基于多智能体强化学习的车联网频谱共享方法

本发明公开了一种基于多智能体强化学习的车联网频谱共享方法,包括建立车联网系统模型,基于马尔科夫决策过程建立强化学习中观测空间、行为空间、奖励设定的基础模型,然后将系统模型中的车辆链路视为智能体,利用强化学习SAC(Soft Actor‑critic)思想设计频谱共享方法。本发明的设计方案能够以合作的方式实现车联网中车辆与车辆(Vehicle‑to‑Vehicle,V2V)链路和车联与路旁基础设施(Vehicle‑to‑Roadside Infrastructure,V2I)链路的频谱共享,保证最大化V2I链路的信道容量和性能和V2V链路载荷的成功传输概率性能。

标签:
化学分析
江苏 - 南京 来源:中冶有色网 2023-03-19
基于改进A*算法和深度强化学习的无人车路径规划方法

本发明属于无人车导航技术领域,具体涉及一种基于改进A*算法和深度强化学习的无人车路径规划方法,旨在充分发挥全局路径规划全局最优和局部规划实时避障的优势,以及改进A*算法的快速实时性和深度强化学习算法的复杂环境适应性,快速规划出无人车从起始点到目标点的无碰撞最优路径。本发明的规划方法包括:根据环境信息,建立初始化栅格代价地图;利用改进的A*算法规划全局路径;基于全局路径和激光雷达传感器性能,设计滑动窗口,将窗口探测的信息作为网络的状态输入;基于深度强化学习方法,采用Actor‑Critic架构,设计局部规划网络,本发明将知识和数据方法相结合,能够快速规划得到最优路径,使得无人车拥有更高的自主性。

标签:
化学分析
江苏 - 泰州 来源:中冶有色网 2023-03-19
基于嵌合体序列设计和分子信标的荧光检测金黄色葡萄球菌的方法

一种基于嵌合体序列设计和分子信标的荧光检测金黄色葡萄球菌的方法,属于分析化学、食品安全和发酵分析及环境污染检测领域。本发明首先设计了一条以发夹结构存在并包含金黄色葡萄球菌适配体的嵌合体序列,有金黄色葡萄球菌存在时,嵌合体与之结合打开发夹结构;将Nb.bpu10I切刻内切酶和Bsm DNA聚合酶加入到反应体系中,Bsm DNA聚合酶通过强链置换反应合成完全互补的双链;利用荧光信号与金黄色葡萄球菌的数量间的线性关系可计算样品中的金黄色葡萄球菌含量。本发明放大了荧光信号,使该传感器检测范围扩大,提高检测灵敏度。该方法相比于检测金黄色葡萄球菌的传统方法,特异性强,灵敏度高。

标签:
化学分析
江苏 - 无锡 来源:中冶有色网 2023-03-19
化学镀镍废水处理设备

本实用新型公开了一种化学镀镍废水处理设备,属于废水处理设备技术领域,包括调节箱、进水管、沉淀罐和输送管,所述调节箱顶部表面镶嵌连接有进水管,所述调节箱一侧安装有沉淀罐,且沉淀罐顶部一侧通过输送管与调节箱输出端相连,所述进水管内腔两侧壁均安装有限位块,所述限位块顶部表面拆卸有过滤网板,所述调节箱顶部表面另一侧插接有PH测量计。本实用新型通过过滤网板,可对流入至调节箱中的废水进行过滤处理,并且PH测量计又能监测出废水中的酸碱度,通过进药管,可加入药剂,并且通过电机和搅拌桨相互配合,进而能够加速废水中的镍离子进行化学反应沉淀,通过控制机构,既能起到定时控制功能,又能起到提醒作用。

标签:
化学分析
江苏 - 盐城 来源:中冶有色网 2023-03-19
三维纸基电化学传感器件其制备方法与应用

本发明公开了一种三维纸基电化学传感器件的制备方法,包括以下步骤:步骤一:提供纤维纸、上层塑封膜以及下层塑封膜,上层塑封膜上具有与纤维纸形状一致的开孔;步骤二:将纤维纸夹设在上层塑封膜与下层塑封膜之间,使开孔与纤维纸保持中心对齐;对夹有纤维纸的塑封膜进行封装,使得纤维纸被塑封膜固定住;步骤三:将导电浆料印制在封装好的塑封膜上得到电极;步骤四:将印制好的电极烘干、消毒处理后,在电极的工作区域上修饰(Fe,Mn)3(PO4)2/N‑CNRs纳米材料,得到三维纸基电化学传感器件。本发明还公开了由所述方法制备的三维纸基电化学传感器件及其应用。本发明的三维纸基电化学传感器件,可实现对三维培养细胞释放小分子的原位、实时、高灵敏度监测。

标签:
化学分析
江苏 - 苏州 来源:中冶有色网 2023-03-19
化学指示卡识别判读系统

本发明公开了一种化学指示卡识别判读系统,其特征在于包括:图像采集单元,通过探头获取化学指示卡的信息;按键单元,用于开关设备及激活和隐藏菜单、调节设备参数;信号处理单元,通过主板芯片对探头采集的信息进行处理,为信号(图形)输出到显示屏做准备;图像处理单元,根据指示卡上提供的信息,通过算法判定当前指示卡的结果;显示单元,用于显示输出化学指示卡的实时图像、显示按键的菜单操作、显示判定结果。存储单元,根据预设的频率自动存储当前指示卡的图像和判定结果。本发明实现了对化学指示卡结果的客观、准确、实时判断,体积小、重量轻、具有一体性、可视化交互界面、操作便捷,为医院监测灭菌工作提供了便捷的工具。

标签:
化学分析
江苏 - 南京 来源:中冶有色网 2023-03-19
水质化学需氧量的标准加热消解器

本发明涉及一种水质化学需氧量的标准加热消解器,包括用于装水样的样品容量瓶、置于容量瓶下底部的加热装置及置于容量瓶上口部的冷凝管;其特征在于:所述的冷凝管的上端部设有封闭的箱体,该箱体的侧壁对向设有鼓风机和抽风机,所述的冷凝管(2)的上口部设有水套。去掉了自来水冷却系统,用风冷和水套冷却,故可作成独立的仪器,适用于野外、室外的COD测试。

标签:
化学分析
江苏 - 苏州 来源:中冶有色网 2023-03-19
基于深度强化学习的馈线-台区两阶段电压优化方法

本发明涉及电压控制技术领域,公开了一种深度强化学习的馈线‑台区两阶段电压优化方法,包括考虑电压越限风险的馈线电压优化:在10kv馈线系统以τ为时间尺度进行概率最优潮流计算,得到将馈线电压的安全运行风险降至最低的馈线设备调控策略以及馈线节点电压期望值;基于馈线节点电压期望值和400V台区量测信息,将400V台区电压优化过程建立为马尔科夫决策过程MDP模型,在τ时间间隔内,以t,t<τ为时间间隔,利用强化学习中的深度Q网络DQN对其进行求解,控制非全观测台区的DG资源实现台区内节点的电压优化。与现有技术相比,本发明通过调节馈线系统的可控设备,将馈线电压风险控制在较低水,将台区电压波动维持在安全范围内,以保持整个系统的安全运行。

标签:
化学分析
江苏 - 淮安 来源:中冶有色网 2023-03-19
用于化学反应罐/混合罐的无源无线声表面波传感器

本实用新型公开了一种用于化学反应罐/混合罐的无源无线声表面波传感器,包括外壳、PCB板、声表面波传感器芯片和天线;所述PCB板与外壳的一端端部固定连接,PCB板的一端伸入外壳的内孔中;所述声表面波传感器芯片固定在PCB板伸入外壳的内孔中的一端上,天线与PCB板的另一端连接;所述天线通过设置在PCB板上的微带线与声表面波传感器芯电气连接;所述声表面波传感器芯片上设有至少一个叉指换能器和对应的反射栅。本实用新型能够安全、可靠地实现在线、实时监测化学反应罐/混合罐罐内的各项数据,本实用新型在使用时不会带入其他杂质,保证了罐体内化学品等的纯净,安全系数高,工作寿命长。

标签:
化学分析
江苏 - 常州 来源:中冶有色网 2023-03-19
基于深度强化学习的信息聚合短波选频方法

本发明公开了一种基于深度强化学习的信息聚合短波选频方法。该方法为:将高动态的短波环境下的选频问题,转化为高动态短波通信环境下的信道增益、用户间的互扰和环境中的干扰三个子问题;对于高动态短波通信环境下的信道增益问题,把短波信道情况输入神经网络,对短波下一个时刻的信道增益进行预测,并将输出记为G;对于用户间的互扰和环境中的干扰问题,通过深度强化学习网络训练得到下一个时刻选择每一个信道的通信干扰情况,并将输出记为R;把训练的到的G与R输入到信息聚合深度强化学习网络,通过数据的不断训练,深度强化学习网络得到下一个时刻信道选择的最优解,指导下一个时刻选频。本发明提升了复杂环境下的短波通信能力。

标签:
化学分析
江苏 - 南京 来源:中冶有色网 2023-03-19
腐蚀电化学实验用简易复合电极

本发明是一腐蚀电化学实验用的简易复合电极,包括:参比电极槽由固定塞、溶液槽、参比电极、外盐桥构成,溶液槽和外盐桥中都注满了参比电极相对应的溶液,外盐桥固定在固定塞中,参比电极插入外盐桥中;盐桥一端插入参比电极槽中,另一端引出电极槽外,将参比电极的电位输出到电解槽中;辅助电极固定在盐桥的侧面,辅助电极的大表面的角度根据工作电极测试表面的角度位置可调节的。本复合电极将两个电极功效合一,可提高实验效率,结构稳定性强,功效多样,应用广泛,可开展多种类工作电极的腐蚀电化学测试。

标签:
化学分析
江苏 - 南京 来源:中冶有色网 2023-03-19
基于强化学习的无人驾驶汽车多车道行驶的决策方法

本发明公开了一种基于强化学习的无人驾驶汽车多车道行驶的决策方法,首先建立强化学习训练模型,利用强化学习算法收益函数对神经网络参数进行更新、修正从而建立基于强化学习‑BP神经网络算法的决策系统。无人驾驶汽车在多车道行驶过程中,传感器采集周围车辆信息,上述决策系统给出执行动作并预测车辆行驶状态,由收益函数判断车辆行驶危险度,决策多车道工况下车辆当前时刻的最优驾驶行为。本发明能提升无人驾驶汽车多车道高速行驶的效率与安全性,实现在高不确定性、动态环境下的无人驾驶汽车高效、安全的驾驶决策。

标签:
化学分析
江苏 - 南京 来源:中冶有色网 2023-03-19
血小板衍生生长因子的检测方法

本案涉及血小板衍生生长因子的检测方法,采用电化学的方法,在金电极表面修饰序列一,然后适配体一通过与序列一的互补配对也结合至电极表面;然后浸入包含待测样和适配体二的溶液中,样本中的血小板衍生生长因子(PDGF?BB)会与适配体一及适配体二结合,进而将适配体一从电极表面取代下来,此时电极表面的序列一暴露出的黏性末端将触发杂交链式反应,其产物进一步吸附电活性物质六铵合钌,产生明显的电化学响应;通过电化学工作站读出差分脉冲伏安信息,经分析,其与PDGF?BB浓度在一定的浓度范围内存在线性关系,检测限为0.3pg/mL,满足实际应用所需要的PDGF?BB浓度水平。

标签:
化学分析
江苏 - 苏州 来源:中冶有色网 2023-03-19
有动力化学除油沉淀器

本实用新型属于污水处理应用技术领域,具体公开了有动力化学除油沉淀器,由密封沉淀过滤组件,及与密封沉淀过滤组件相配合使用的进水搅拌组件组成。本实用新型的有动力化学除油沉淀器的有益效果在于:1、解决现有过滤设备污水处理效率低、品质差的问题,对含油污水进行沉淀预处理作业,实现含油污水快速、高质的过滤处理;2、其设计合理,便于清洁、检修维护操作,使用寿命长,节约了污水处理成本,实用性强。

标签:
化学分析
江苏 - 无锡 来源:中冶有色网 2023-03-19
化学气相沉积炉漏气快速处理辅助装置

本实用新型涉及化学气相沉积技术领域,提供一种化学气相沉积炉漏气快速处理辅助装置,包括炉体、第一保护壳和第二保护壳,炉体的外部设置有第一保护壳,第一保护壳的外部设置有拆装结构,第一保护壳的顶端设置有出气管,第一保护壳的底端设置有第二保护壳,第二保护壳的底端设置有抽气管,第二保护壳底端的中间位置处设置有注气管,第一保护壳与第二保护壳的内部设置有防护结构。本实用新型通过设置有拆装结构,将锁紧螺栓从通孔内部拆下,然后分离对接槽与对接块之间的卡合,便可完成对于第一保护壳和第二保护壳的拆卸,对第一保护壳和第二保护壳的便捷拆下,方便了工作人员对于炉体的检修。

标签:
化学分析
江苏 - 南通 来源:中冶有色网 2023-03-19
用于化学品生产过程中的存放装置

本实用新型公开了一种用于化学品生产过程中的存放装置,包括第一存放罐、排压管、气体收集装置、显示屏、密封盖、第二存放罐、稳定架、挂接块、底座、螺旋密封环、排气口、内罐、排气孔、伸缩杆、橡胶推盘、泄气口和测距底盘。本实用新型的有益效果是:由于很多化学品在存放时容易易分解、潮解等,从而释放出气体,通过将两个存放罐连接在一起,并通过排压管由气体收集装置将两个存放罐连通,既能够将存放罐内部化学品分解而释放的气体收集,又能够有效防止存放罐长期密封使用罐体内部释放的气体过多导致罐体压强过大带来的安全隐患。通过在气体收集装置内部设置可伸缩的橡胶推盘,从而保证收集的气体的纯净度,便于直接回收使用。

标签:
化学分析
江苏 - 苏州 来源:中冶有色网 2023-03-19
高温金属有机化学气相淀积反应器

本发明公开了一种高温金属有机化学气相淀积反应器,包括壳体、反应室、送样室、真空装置、尾气处理装置以及操作控制装置,其特征在于:所述反应室为上底面小于下底面的锥桶形结构,包括多边形锥台式衬底托及套于衬底托外侧的内罩,所述内罩的倾角大于衬底托倾角3°~5°,形成反应气体通道,反应气体自下经气体通道由反应室顶部的出气口排出;沿衬底托的外缘斜面布置有复数个衬底铺设位,所述内罩上设有与监测点配合的光学窗口,供操作控制装置实时监控。本发明通过锥桶形结构的反应室,使送气方向与浮热方向基本一致,减少涡流产生,防止预反应的发生,提高了外延材料的质量和均匀性。

标签:
化学分析
江苏 - 苏州 来源:中冶有色网 2023-03-19
基于深度强化学习的无人矿卡循迹控制系统及方法

本发明提供了一种基于深度强化学习的无人矿卡循迹控制系统及方法,在学习阶段下,通过仿真平台接收环境状态信息、控制动作信息模拟无人矿卡的循迹过程,采集无人矿卡在预设路线上各个时刻的状态,将各个时刻的状态作为输入量,各个时刻控制动作信息作为输出量进行深度强化学习训练,得到算法内核;在应用阶段下,获取无人矿卡当前时刻的状态和下一时刻的目标状态至算法内核;基于算法内核预测出当前时刻的控制动作信息。本发明能够实现无人矿卡运动轨迹的精确控制,可在不同工况、不同工作环境和状态下按照深度强化学习训练出来的算法进行自动循迹,具有高度智能化、自我学习、自我适应的特性;提高了矿卡循迹控制的效率,且可以减少燃油消耗量。

标签:
化学分析
江苏 - 徐州 来源:中冶有色网 2023-03-19
多环芳烃-镉污染土壤的化学强化植物修复方法

多环芳烃-镉复合污染土壤的化学强化植物修复方法,属于土壤污染治理领域。其步骤为:(A)测量土壤中镉和多环芳烃菲和芘的含量,进行柳树的插种;(B)柳树插种四个月后加入由乳酸乙酯与乙二胺四乙酸组成的化学强化剂。柳树为金丝垂柳J1011,其种植密度分别为每5、50和6mg/kg土壤中菲、芘和镉每平方米种植4~6株。本发明避免了植株矮小、生长速度慢、地上部生物量小等植物修复的缺陷;降低了植物提取修复土壤中重金属镉的环境风险;这些化学强化剂的加入在提高单独用有机配体作为螯合萃取剂修复重金属的修复效率,同时也增强了对土壤中有机污染物多环芳烃的修复效果,实现了土壤中镉和多环芳烃复合污染的同时修复。

标签:
化学分析
江苏 - 南京 来源:中冶有色网 2023-03-19
基于强化学习的蝠鲼式仿生鱼控制方法、装置及存储介质

本发明公开了一种基于强化学习的蝠鲼式仿生鱼控制方法、装置及存储介质,所述仿生鱼控制方法通过强化学习算法控制蝠鲼式仿生鱼实现仿生鱼的自主游动至目标点的任务,以观测仿生鱼当前运动状态作为强化学习算法的输入,输出方向与速度系数来控制仿生鱼的游动方向和速度,相对于控制关节运动角度的方法本发明提高了训练效率、控制效率和鲁棒性。除此之外本发明以GPS/INS作为定位导航系统,相较于通过拍摄仿生鱼位姿的定位方法更具有实用性。

标签:
化学分析
江苏 - 镇江 来源:中冶有色网 2023-03-19
结合路径规划和强化学习的导航避障控制方法、系统及模型

本发明公开了一种结合路径规划和强化学习的导航避障控制方法、系统及模型,将驾驶任务分为静态的路径规划和动态的最优轨迹跟踪,实现基于规则的路径规划算法与深度强化学习的结合,可以有效地解决复杂道路场景(如无信号灯路口左转)下的车辆控制难的问题。本发明与现有的PID+LQR控制策略相比,不需要人为地对参数进行不断调整。与模型预测控制(MPC)控制方法相比,不过分依赖被控对象的模型精度,同时求解过程的复杂性大大降低,提高了车载的实时计算效率。本发明与端到端的强化学习相比,结合了车辆的运动学模型,具有可解释性,同时也大大提高了车辆导航过程中的安全性。

标签:
化学分析
江苏 - 镇江 来源:中冶有色网 2023-03-19
基于强化学习的涡扇发动机直接推力智能控制方法

本发明公开了一种基于强化学习的涡扇发动机直接推力智能控制方法,包括以下步骤:步骤1),选取策略和评价网络结构和参数,设计考虑关键安全参数保护的直接推力制器形式和强化学习环境的奖励形式;步骤2),基于连续型策略梯度强化学习算法,利用部件级模型搭建环境进行探索,通过探索获得的经验训练智能体策略网络和评价网络;步骤3),测试智能体在全包线范围内的控制性能表现,优化网络结构和参数。本发明解决了涡扇发动机间接推力控制动态性能差、保守性高、推力控制不精确等问题,通过本发明设计的奖励激励智能体在全包线范围内搜寻动态性能最优的直接推力控制器,并且保证发动机关键安全参数在控制过程中不超限。

标签:
化学分析
江苏 - 南京 来源:中冶有色网 2023-03-19
运用PCR-DHPLC检测沙门氏菌的方法

一种运用PCR-DHPLC检测沙门氏菌的方法,属于生物分析化学技术领域。本发明运用PCR-DHPLC检测沙门氏菌,包括沙门氏菌培养,磁性纳米粒子的制备,沙门氏菌基因组DNA的提取,沙门氏菌特异性引物的选择,PCR扩增,PCR产物的DHPLC检测。本发明以DHPLC检测PCR产物代替传统的琼脂糖电泳,简化了反应的条件,提高了检测的灵敏度,且操作更加简便,达到了高通量的目的;PCR-DHPLC检测方法与传统微生物检验方法以及PCR-凝胶电泳法相比,具有敏感性高、特异性强、快速、准确、结果分析简单,对待样品要求不高,可进行大通量检测等优点。

标签:
化学分析
江苏 - 无锡 来源:中冶有色网 2023-03-19
应用于大型固体危废voc处理的干式化学吸附塔

本实用新型属于危废废气处理应用技术领域,具体公开了应用于大型固体危废voc处理的干式化学吸附塔,由底部支撑组件,及与底部支撑组件相配合使用的吸附组件组成。本实用新型的应用于大型固体危废voc处理的干式化学吸附塔的有益效果在于:工艺组合其设计结构合理,相配合使用的底部支撑组件和吸附组件等结构,可对工业生产中固体废料产生VOC气体进行高效、高质和安全吸附处理,也便于检修及维护,同时使用寿命长,实用性强。

标签:
化学分析
江苏 - 无锡 来源:中冶有色网 2023-03-19
化学助剂调配装置
化学助剂调配装置 737     
 0

本实用新型涉调配装置技术领域,具体公开了一种化学助剂调配装置,包括调配台、安装板和横杆,调配台划分为调配室和储存室,调配室内部内镶设有计量秤,计量秤顶部设有调配罐,调配室顶部两侧边设有滑轨,滑轨滑动连接滑块,滑块顶部固定连接滑动杆,滑动杆滑动连接滑动套筒,横杆两端分别连接滑动套筒,横杆一侧连接支撑板,支撑板顶部设有微型电机,微型电机的输出轴一端连接转轴,转轴外壁间隔设有若干搅拌叶,安装板平行设置于储存室顶部;本实用新型整体体积小,便于携带、搬运,利用装置进行化学助剂调配时可以整洁摆放调配器件,精准测量添加的化学助剂,且可以自动化对调配罐内部的化学助剂进行搅拌处理,省时省力,加快调配效率。

标签:
化学分析
江苏 - 苏州 来源:中冶有色网 2023-03-19
压力蒸汽灭菌器内化学指示卡收纳盒

本实用新型公开了一种压力蒸汽灭菌器内化学指示卡收纳盒,包括盒体,所述盒体顶部铰接盒盖,所述盒体内设有卡槽,所述卡槽下方设有隔板,隔板为镂空结构,隔板与盒底构成空腔,空腔设有投放口,空腔内填放干燥颗粒,盒体的背面嵌入磁铁;本实用新型提出的化学指示卡收纳盒,一方面可以在不影响化学指示卡监测灭菌效果的前提下,较好地保护化学指示卡免于被蒸汽浸湿,方便收集记录;另一方面,收纳盒的挂钩可以使收纳盒挂在灭菌器内盛放物品的框上,方便取出,也可以通过磁铁或胶贴贴在高压灭菌器上。

标签:
化学分析
江苏 - 连云港 来源:中冶有色网 2023-03-19
无机化学品管道内穿软管施工方法

本发明公开了一种无机化学品管道内穿软管施工方法,包括透明PVC管道支架制作安装、透明PVC弯头热风煨制、透明PVC管道安装、透明PVC管道压力测试、透明PVC管道与设备连接、PFA软管穿管安装、PFA软管的压力测试、PFA软管与设备端或阀门箱内阀门的连接等步骤。本发明将管路内、外管的施工工序有机的组合,确保施工高效、有序,也能保证施工质量,降低了施工成本同时保障了管道系统的安全。适用于电子工业厂房的集成电路制造、液晶显示板制造等行业,生产工艺中使用有机化学品输送且内管为PFA软管的管路系统的施工。

标签:
化学分析
江苏 - 南通 来源:中冶有色网 2023-03-19
上一页 494 495 496 497 498 ... 500 ... 2000 ... 4837 下一页
共4837页    到第

中冶有色为您提供最新的江苏有色金属理论与应用信息,涵盖发明专利、权利要求、说明书、技术领域、背景技术、实用新型内容及具体实施方式等有色技术内容。打造最具专业性的有色金属技术理论与应用平台!

全国热门有色金属设备推荐
展开更多 +
全国热门有色金属技术推荐
展开更多 +

 

江西省隆恩特环保设备有限公司
宣传

报名参会
更多+

报告下载

有色专家
更多+

华东理工大学
主任/教授
太原理工大学
院长/教授
中南大学
常务副校长
南方科技大学
外籍院士
武汉理工大学
外籍院士/教授
赤泥综合利用研究报告2025
推广

热门技术
更多+

推荐企业
更多+

福建省金龙稀土股份有限公司
宣传

发布

在线客服

公众号

电话

顶部
咨询电话:
010-88793500-807