青岛垚鑫智能科技有限公司
宣传

位置:中冶有色 >

有色技术频道 >

分类:
全部
矿山技术
冶金技术
材料制备及加工技术
环境保护技术
分析检测技术
地区:
全部
北京
天津
上海
重庆
河北
山西
辽宁
吉林
黑龙江
江苏
浙江
安徽
福建
江西
山东
河南
湖北
湖南
广东
海南
四川
贵州
云南
陕西
甘肃
青海
内蒙
广西
西藏
宁夏
新疆
其他
其他
展开
 
全部
广州
韶关
深圳
珠海
汕头
佛山
江门
湛江
茂名
肇庆
惠州
梅州
汕尾
河源
阳江
清远
东莞
中山
潮州
揭阳
云浮

广东有色金属理论与应用

免费发布技术信息>>
低速小汽车用锂电池连接装置

本实用新型公开了一种低速小汽车用锂电池连接装置,包括连接壳、连接板、第一固定框、减震阻尼板和导热铜排,所述连接壳底部固定在连接板上,所述连接板左右两侧对称设置有安装孔,所述连接壳后端面从左到右依次设置有进水管和出水管,所述锂电池上端面设置有第一固定框,所述第一固定框四角处固定有转轴,所述锂电池左右侧面以及锂电池后端面均设置有第二固定框,所述第一固定框内侧面设置有减震阻尼板,所述减震阻尼板通过弹簧与第一固定框相连,所述连接壳内壁固定有导热铜排。本实用新型通过设置连接壳、连接板、第一固定框、减震阻尼板和导热铜排,解决了传统的锂电池安装固定连接不稳定,锂电池工作温度不能合理调节的问题。

标签:
加工技术
广东 - 深圳 来源:中冶有色网 2023-03-18
锂电池烘烤夹紧结构
锂电池烘烤夹紧结构 724     
 0

本实用新型公开了一种锂电池烘烤夹紧结构,涉及锂电池生产技术领域。本实用新型包括箱体,箱体一侧通过铰链铰接有开合门,箱体内部等距固定有装夹结构;装夹结构包括固定框架,固定框架内表面等距固定有支撑板;支撑板下表面等距固定有支撑杆,支撑板下表面开设有斜槽,支撑板一表面等距固定有固定柱,固定柱一端均固定有固定板;支撑杆一端通过销轴转动连接有第一夹紧板,第一夹紧板顶部与斜槽之间的位置固定有第一弹簧。本实用新型通过装夹结构的使用,解决了现有锂电池烘烤时水分散失,其表面尺寸大小会发生改变,而现有装夹装置在锂电池烘烤过程中无法根据锂电池尺寸大小变化进行动态调节的问题。

标签:
加工技术
广东 - 广州 来源:中冶有色网 2023-03-18
用于蓝牙音箱的锂电池充放电保护电路

本实用新型公开一种用于蓝牙音箱的锂电池充放电保护电路,包括:锂电池组、充电管理单元和保护单元,所述锂电池组包括串联设置的两节锂电池,所述充电管理单元和所述保护单元均与所述锂电池组电性连接,所述充电管理单元包括一充电管理芯片,型号为CHK8108,所述保护单元包括一保护芯片和一MOS芯片,所述保护芯片的型号为HY2120,所述MOS芯片的型号为8205。本实用新型通过在由CHK8108芯片组成的充放电管理单元中再增加一路由HY2120芯片组成的保护电路单元,使得就算前路的CHK8108电路失效,后一路的保护电路还能够保护电池的安全,可以有效增加电池寿命,降低电路的故障率,使得电路更加安全。

标签:
加工技术
广东 - 深圳 来源:中冶有色网 2023-03-18
废旧磷酸铁锂正极极片煅烧装置

本实用新型提供废旧磷酸铁锂正极极片煅烧装置,包括:箱体、转动板、固定板、窑炉、驱动机构和调节机构,所述箱体的表面转动连接有转动板,所述转动板的表面对称固定连接有固定板,两个所述固定板之间转动连接有窑炉,此装置在箱体的表面可安装有控制器,第一电机、双头电机和阀门均与控制器通过导线连接,控制器有电脑程序精准控制,第一电机启动,第一齿轮转动,使窑炉转动,进而带动磷酸铁锂正极极片翻转,对磷酸铁锂正极极片进行煅烧,当需要增大转速的时候,启动双头电机,蜗杆转动,使转动板转动,对窑炉进行角度调节,使得磷酸铁锂正极极片煅烧装置使用时,能够在增大转速的同时,保证磷酸铁锂正极极片的煅烧质量。

标签:
加工技术
广东 - 深圳 来源:中冶有色网 2023-03-18
锂电池干燥线
锂电池干燥线 1152     
 0

本实用新型公开了一种锂电池干燥线,包括:烘烤装置,烘烤装置包括多个并列设置的烘烤箱,烘烤箱内设有夹具;托盘转移装置,设于烘烤装置一侧,托盘转移装置包括托盘输出线;电池转移装置,电池转移装置包括移动轨道和若干搬运小车,搬运小车上设有夹具工位和托盘工位,夹具工位上设有夹具推拉组件,夹具工位和托盘工位两者的上方设有搬运组件,夹具推拉组件与夹具可拆卸连接;上料装置;下料装置。本实用新型所述的锂电池干燥线中,锂电池的移动以托盘为载体,缩短了夹具离开烘烤箱的时间,降低了夹具脱离烘烤箱过程中的热量损耗,进而缩短了夹具温度回升至烘烤箱内温度的时间,缩减锂电池烘干的时间,提高锂电池的烘干效率。

标签:
加工技术
广东 - 东莞 来源:中冶有色网 2023-03-18
复合导电集流体、电极片及锂离子电池

本实用新型提供了一种复合导电集流体,应用于电极片,包括至少一层浸润层和金属材料层,浸润层与金属材料层的涂覆面连接,电极片也与金属材料层的涂覆面连接,浸润层夹设于金属材料层与电极片之间,浸润层的端部延伸至金属材料层的侧边缘,浸润层用于浸润电解液和储存电解液。为锂离子电池的电解液浸润提供了电解液浸润路径和浸润通道,解决锂离子电池的极片电解液的浸润困难和生产成本高的问题;所述浸润层浸润电解液容易,电解液可以从所述浸润层的端部渗透,使得锂离子电池的正负极在充放电时候有充足的电解液,提高了锂离子电池的使用寿命。本实用新型还提供了一种包括所述复合导电集流体的电极片和包括所述电极片的锂离子电池。

标签:
加工技术
广东 - 深圳 来源:中冶有色网 2023-03-18
锂离子电池展示架
锂离子电池展示架 969     
 0

本实用新型属于展示设备技术领域,尤其为一种锂离子电池展示架,包括支撑杆、展示框和锂离子电池主体,所述锂离子电池主体的内壁固定连接有隔板,所述展示框的侧壁开设有通槽,所述通槽的内部竖向固定连接有立固杆,所述立固杆的外围套设有弹簧,所述立固杆的外围滑动连接有滑动块,两块所述滑动块之间固定连接有挤压板。本实用新型通过设置挤压板、防滑橡胶条和滑动块,使得锂离子电池主体在与展示框放置完毕后,整体能够得到更好的固定,从而避免展示的过程中产生掉落,更好的保护了锂离子电池主体;再通过设置活动套、U型块和旋转杆,使得展示框在展示的期间能够更好的进行角度的调节,从而达到更好的展示效果。

标签:
加工技术
广东 - 东莞 来源:中冶有色网 2023-03-18
锂电池保护板用贴片机
锂电池保护板用贴片机 1088     
 0

本实用新型公开了一种锂电池保护板用贴片机,涉及锂电池保护板领域,针对目前市面上使用的贴片机在对锂电池保护板进行元器件贴片工作时,由于锂电池保护板的尺寸不一,因此再将其运输至贴片机内部时需要不断进行尺寸调节的问题,现提出如下方案,其包括贴片机本体,所述贴片机本体的一侧设置有护板本体,所述护板本体的两侧对称设置有横块,且所述横块的内部设置有用于对护板本体进行除尘的清洁机构,所述清洁机构为转动式吹风除尘结构,所述护板本体与横块垂直的两侧对称设置有竖块。该锂电池保护板用贴片机通过伸缩杆与复位弹簧相结合,将横块、竖块以及直角块连接,从而可根据护板本体的尺寸进行自由调节。

标签:
加工技术
广东 - 惠州 来源:中冶有色网 2023-03-18
锂电池组状态监控装置

一种锂电池组状态监控装置,MCU电路与AD转换电路连接,MCU电路与均衡电路及过电压/过放电保护电路连接,均衡电路及过电压/过放电保护电路与锂电池组连接,锂电池组连接检测电路,所述检测电路包括电压检测电路、温度检测电路和电流检测电路,所述电流检测电路与锂电池组之间连接有短路保护电路,所述电压检测电路、温度检测电路和电流检测电路连接AD转换电路。其优点是能实时地对锂电池组的电压、温度、电流等参数进行监控,判断是否出现过压、过放电或短路现象,以决定是否启动相应的保护措施。

标签:
加工技术
广东 - 深圳 来源:中冶有色网 2023-03-18
锂电池内部短路测试设备

一种锂电池内部短路测试设备,包括箱体、固定夹具、挤压装置、热流循环装置以及控制器,通过控制器控制固定夹具、挤压装置以及热流循环装置工作;所述的固定夹具包括底座和固定盖;所述的底座内设有加热器,通过加热器调节固定夹具内的锂电池的温度;所述的挤压装置分别设置在固定夹具的上方和下方,通过固定夹具上方的挤压装置和固定夹具下方的挤压装置联合作用对固定夹具内的锂电池进行测试测试。本实用新型实用性强,测试精度高,有效的避免锂电池的温度与实际温度之间存在温差引起的测试数据不精准,从而影响对锂电池安全性能的测试和评估;降低温度差,提高测试效果,节约能耗;避免进入箱体内的热能相对集中,影响测试效果。

标签:
加工技术
广东 - 惠州 来源:中冶有色网 2023-03-18
防磁锂电池
防磁锂电池 717     
 0

本实用新型涉及锂电池技术领域,尤其为一种防磁锂电池,包括锂电池包装壳体,所述锂电池包装壳体包括上包装外壳和下包装外壳,该装置在上包装外壳和下包装外壳内部均设置防磁材料防护层,可实现锂度电池包装壳体内部的线路板和电池芯初步的防磁效果,在线路板和电池芯之间的多个走线管上均安装多个夹持块安装座,在夹持安装座上贯穿设置上下两个夹持块,并在每个夹持块上均活动连接与推拉杆活动连接的连接杆,通过推拉杆的移动,可实现通过连接杆带动上下两个夹持块的相反方向移动,进而可实现对磁环的夹持,达到磁环在走线管上的便捷式安装,通过多个磁环的作用可进一步增强对线路板和电池芯的防磁效果。

标签:
加工技术
广东 - 深圳 来源:中冶有色网 2023-03-18
智能锂离子电池电源控制器

本实用新型公开了一种智能锂离子电池电源控制器,包括PCB板、LED数字显示器、第一DC电源插座、第二DC电源插座、第一开关、第二开关、PPTC保护器、MCU、二极管、焊锡块、三极管和电容。本实用新型的有益效果是:该种智能锂离子电池充电控制器能对多节锂离子电池进行安全可靠充电、放电控制,且提供状态标示接口,便于外部扩展应用,本专利是一种恒流、恒压的锂离子电池电源控制器,具有过充电、过放电、过流保护、短路保护、电量显示、4种输出电压(7.2V、6.0V、5.0V、3.3V),满足对各种电压使用要求、双DC电源插座,使锂离子电池在各种应用时更加安全可靠。广泛应用于多用途移动电源上使用。

标签:
加工技术
广东 - 东莞 来源:中冶有色网 2023-03-18
锂离子动力电池组
锂离子动力电池组 1031     
 0

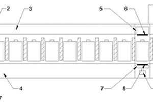
本实用新型公开一种锂离子动力电池组,包括盖板、外壳和若干个锂电池,所述外壳前端开口,所述盖板封装于所述外壳前端开口处;所述外壳内设有至少两层电池插槽,所述锂电池安装于所述电池插槽内,相邻两层电池插槽之间设有冷却管,所述外壳的一侧设有连通所述冷却管的冷却液进口和冷却液出口,所述外壳上还设有连接所有所述锂电池的正、负电极。本设计的锂离子动力电池组结构简单,生产制作方便,并具备良好的密封性、稳定性和散热性,经久耐用。

标签:
加工技术
广东 - 广州 来源:中冶有色网 2023-03-18
高性能的聚合物锂离子动力电池组

本实用新型提供了一种高性能的聚合物锂离子动力电池组,其包括电池箱、设置于所述电池箱中的多个聚合物锂离子电芯和设置于所述电池箱外部的电池组正极与电池组负极,所述单元格的一端设置有第一连接孔和第二连接孔;所述聚合物锂离子电芯,设置于所述单元格中,所述聚合物锂离子电芯的一端设置有第一针状极耳和第二针状极耳,所述第一针状极耳插入所述第一连接孔中,所述第二针状极耳插入所述第一连接孔中。本实用新型的锂电池具有可提供大电流供电且便于维护。

标签:
加工技术
广东 - 深圳 来源:中冶有色网 2023-03-18
三元快充锂电池
三元快充锂电池 899     
 0

本实用新型涉及锂电池技术领域,特别是关于一种三元快充锂电池。包括电池本体和方型外壳,所述电池本体设于方型外壳内,所述方型外壳内壁设有凹槽,所述凹槽呈螺旋状环绕于方型外壳内壁,并沿方型外壳深度方向延伸;所述方型外壳顶端与凹槽之间开设有第一散热孔,所述方型外壳底端与凹槽之间开设有第二散热孔,所述第一散热孔和第二散热孔使得凹槽与外界相连通;所述锂电池还包括防摔装置,所述防摔装置固定设于所述方型外壳外壁。本实用新型在锂电池充电或者使用的时候能使其自行冷却降温,并且防摔装置提高了其耐摔性能,增加了锂电池的稳定性。

标签:
加工技术
广东 - 惠州 来源:中冶有色网 2023-03-18
具备多功能保护及精准电量计量的多串锂电池管理系统

本实用新型公开了一种具备多功能保护及精准电量计量的多串锂电池管理系统,包括锂电池组、供电电路、电量监测电路、电池保护电路、充电过流保护电路和电流检测电阻;锂电池组至少包括N(N≥5且为整数)串电池;供电电路用于为电量监测电路、充电过流保护电路供电;电量监测电路用于监测电池组剩余电量,外部主机与之通信读取锂电池组的信息;电池保护电路用于实时监测每个单体电池的信息,通过控制充、放电MOS管的导通和关闭实现故障条件的保护;充电过流保护电路用于触发电池保护电路的保护状态,进而控制充、放电MOS完成保护动作。本系统为大于4串的锂离子电池应用提供全面、可靠、高精度的保护及精准的电量计量解决方案。

标签:
加工技术
广东 - 深圳 来源:中冶有色网 2023-03-18
锂电池气袋结构
锂电池气袋结构 1159     
 0

本实用新型公开了一种锂电池气袋结构,属于锂电池技术领域,具体技术方案如下:一种锂电池气袋结构,所述气袋上设置有若干个条状凹坑,所述若干个条状凹坑均相互平行且垂直于电芯本体,所述条状凹坑的开口方向朝向气袋的内部或外部;本实用新型所记载的锂电池气袋结构,提高了锂电池气袋的刚性,有效避免了在生产过程中气袋的折弯,提高了生产效率和产品良率。

标签:
加工技术
广东 - 珠海 来源:中冶有色网 2023-03-18
便于拆装的锂电池组保护结构

本实用新型公开了一种便于拆装的锂电池组保护结构,包括:保护壳体、与保护盖体、电池保护板和锂电池组;保护壳体设置有限位框,锂电池组设置在限位框内,保护壳体相对的两侧壁上对称设置有安装板,安装板上设置有弹性定位件;电池保护板的两端均开设有与弹性定位件适配的槽口,电池保护板设置在安装板上,保护壳体开口处凸设有凸条,保护盖体的边沿设置有与凸条适配的凹槽,保护盖体对应安装板的位置设置有弹性定位板;保护壳体上设置有扣合位,保护盖体上设置有扣合件。本实用新型技术方案旨在提出一种电池保护板和锂电池组的拆装都较为方便快捷,而且适用于多种尺寸的电池保护板的的锂电池组保护结构。

标签:
加工技术
广东 - 深圳 来源:中冶有色网 2023-03-18
锂电池外壳的装配治具

本申请公开一种锂电池外壳的装配治具,包括底座以及与底座对应设置的顶盖组件;底座的顶面设置有定位槽,顶面上还设置有多个用于对待装配的锂电池外壳的外侧面进行定位的凸起,多个凸起围绕定位槽设置;顶盖组件包括顶盖本体,顶盖本体的周向上设置有对待装配的锂电池外壳的内侧面进行定位的定位面,顶盖本体上还设置有卡爪,卡爪与定位面之间形成用于卡持待装配的锂电池外壳的侧板顶部的卡槽。本申请提供的装配治具便于壳体的各部件精准定位,降低锂电池外壳装配不良率;减少装配工序,可手持操作,降低操作难度和装配成本,提高操作效率;结构小巧、重量轻,便于存放和搬运。

标签:
加工技术
广东 - 深圳 来源:中冶有色网 2023-03-18
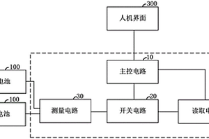
锂电池设备参数采集电路及系统

一种锂电池设备参数采集电路及系统,包括测量电路、开关电路、读取电路及主控电路。其测量电路与至少两个锂电池连接,一一测量各个锂电池的工作电流和工作电压,并将相应的电压测量值和电流测量值输出至开关电路;开关电路具有至少两路电压测量通道和两路电流测量通道,依序选通各路电压测量通道和电流测量通道,以驱动测量电路进行工作,并传输各个电压测量值和电流测量值至读取电路,由读取电路进行显示并反馈至主控电路,主控电路进行存储。通过上述的锂电池设备参数采集电路及系统,单次可测得多个锂电池的电压测量值和电流测量值,方便进快捷,检测效率高,耗时短,并且避免人工多次检测而导致出错率高的问题。

标签:
加工技术
广东 - 东莞 来源:中冶有色网 2023-03-18
弹性钢片结构及锂离子电池组

本实用新型公开并提供了一种弹性钢片结构及锂离子电池组,解决钢片不易组装,易刺破电芯的问题。弹性钢片结构包括钢片,钢片正面或者背面的左右两端均设置有弹性连接片,弹性连接片的上端与钢片连接,弹性连接片的下端向内弯折90°至180°。锂离子电池组包括框体和设置在框体内的锂离子电池,框体的前后连通且均设置有弹性钢片结构,框体的左右两边的外侧均设有卡槽,框体的左右两边的外侧还均设有导向斜面,且导向斜面位于卡槽的两侧,弹性钢片结构套在框体的前面或后面,弹性连接片下端的弯折部滑过导向斜面后卡扣在卡槽开口处,从而两片弹性钢片结构将锂离子电池限制在内框内。本实用新型应用于锂离子电池组的技术领域。

标签:
加工技术
广东 - 珠海 来源:中冶有色网 2023-03-18
结构稳定的锂电池盒
结构稳定的锂电池盒 878     
 0

本实用新型公开了一种结构稳定的锂电池盒,包括盒体,所述盒体的内侧壁两侧均开设有第一滑槽,两个所述第一滑槽的内侧壁均滑动连接有两个第一滑块,四个所述第一滑块相邻的一侧分别固定连接有第一板体和第二板体,所述第一板体的一侧对称固定连接有两个螺纹杆,两个所述螺纹杆的一端均贯穿所述第二板体,两个所述螺纹杆的外侧壁均螺纹连接有套筒,在本装置使用的过程中,通过第一滑槽、第一滑块、第一板体和螺纹杆等部件的设置,便于对不同大小的锂电池调节适配,对不同规格的锂电池固定更加稳定,同时在盒体受到撞击时,通过阻尼垫和弹簧等部件的设置,减缓锂电池受到的震动,利于锂电池的存放使用。

标签:
加工技术
广东 - 深圳 来源:中冶有色网 2023-03-18
锂电池短路测试机构
锂电池短路测试机构 949     
 0

本实用新型公开了一种锂电池短路测试机构,通过设置框架,在框架的下方设置一号气缸,然后再在一号气缸的活塞杆的末端设置活动板,然后再在活动板靠近传送带的一侧设置负极连接片,再在传动带的另一侧与负极连接片相对应的位置设置正极连接片,使负极连接片和正极连接片均通过导线连接电池短路综合测试仪,能够通过电池短路综合测试仪对经过的锂电池进行检测,能够检测出锂电池是否出现短路现象;通过设置二号气缸,当检测到锂电池出现短路现象时,能够通过二号气缸工作,使推板将锂电池推动到不合格产品箱内,起到剔除不合格产品的作用;然后再设置合格产品箱,能够通过传送带传送,将合格产品输送到合格产品箱内。

标签:
加工技术
广东 - 惠州 来源:中冶有色网 2023-03-18
镍钴铝酸锂复合正极材料及其制备方法

本发明涉及一种镍钴铝酸锂复合正极材料及其制备方法,所述的镍钴铝酸锂复合正极材料包括以下组分:a)镍钴铝酸锂正极材料;b)金属氧化物;c)碳源;本发明通过在镍钴铝酸锂正极材料的表面依次复合金属氧化物和碳,即可得到所述的镍钴铝酸锂复合正极材料。本发明的复合材料能够明显提高正极材料的循环性能和倍率性能,可用于动力型电池。

标签:
加工技术
广东 - 韶关 来源:中冶有色网 2023-03-18
低噪音锂基脂及制备方法

本发明提供了一种低噪音锂基脂及制备方法,包括一种低噪音锂基脂,包括如下质量百分比含量的组分:作为基础油的酯类油30%~60%,十二羟基硬脂酸10%~14%,氢氧化锂1.5%~2.5%,二烷基二苯胺0.5%~1%,余量为环烷基油,所述环烷基油的粘度为20~120mm2/s,所述酯类油的粘度为10~150mm2/s。本发明还提供了一种低噪音锂基脂的制备方法,通过该方法制备的高速低噪音锂基脂,该低噪音脂具有良好的减摩降噪性能,完全可以替代国外的产品。

标签:
加工技术
广东 - 东莞 来源:中冶有色网 2023-03-18
包含多个不间断电源的锂电池组储能系统

本发明提出了一种包含多个不间断电源的锂电池组储能系统,包括多个不间断电源UPS、电池管理系统BMS、锂电池组和控制电路,所述锂电池组通过电池管理系统BMS分别与多个不间断电源UPS并联,所述多个不间断电源UPS与电池管理系统BMS之间设有控制电路;所述控制电路包括多个并联的控制单元,所述控制单元的一端与一不间断电源UPS电路连接,另一端接入电池管理系统BMS,所述电池管理系统BMS通过控制控制电路使锂电池组充电或放电。本发明可多个不间断电源UPS共用一个锂电池组,利于节约成本,且UPS之间没有形成环流,不易损坏UPS器件。

标签:
加工技术
广东 - 广州 来源:中冶有色网 2023-03-18
锂电池卷芯平压短路测试设备

本发明公开一种锂电池卷芯平压短路测试设备,包括固定架、平压装置及测试装置,所述平压组件包括平压固定板、升降驱动器及平压板体,所述平压固定板设置于所述固定架上,所述升降驱动器设置于所述平压固定板上,所述平压板体设置于所述升降驱动器的输出端,所述升降驱动器用于驱动所述平压固定板沿竖直方向做升降移动;所述测试组件包括固定长条、正极测试片及负极测试片,所述固定长条设置于所述平压板体上,所述正极测试片和所述负极测试片分别设置于所述固定长条上。本发明通过设置平压装置和测试装置,既可以方便对锂电池卷芯进行整平操作,提高锂电池卷芯的平整性,又可以实现对锂电池极耳的测试,防止锂电池卷芯出现漏测的情况。

标签:
加工技术
广东 - 惠州 来源:中冶有色网 2023-03-18
判断电芯析锂的方法及系统

本发明公开了一种判断电芯析锂的方法及系统,其中方法包括:检测单体电芯的膨胀力和SOH值;分别分析所述膨胀力和SOH值的变化趋势;当所述单体电芯的膨胀力和SOH值的变化趋势同时出现异常时,确定所述单体电芯析锂。系统包括:用于检测单体电芯的膨胀力和SOH值的第一检测单元、第二检测单元;用于分别分析所述膨胀力和SOH值的变化趋势并确定析锂现象的分析确定单元。本发明提供的判断电芯析锂的方法及系统,通过分析电芯膨胀力和SOH值变化趋势以及时准确地判断电芯是否产生析锂反应,从而确保了电池的使用安全,一定程度上降低安全事故的发生率。

标签:
加工技术
广东 - 东莞 来源:中冶有色网 2023-03-18
长寿命的锂离子二次电池的快速充电方法

本发明提供了一种长寿命的锂离子二次电池的快速充电方法。所述方法在预设电压下对锂离子二次电池进行恒压充电至预设电流;(2)在预设电流下对锂离子二次电池进行恒流充电和静置,重复多次,直至锂离子二次电池的电压达到截止电压,在截止电压下进行恒压充电,直至达到截止电流。通过在恒流充电过程中引入了静置过程,一方面降低了电池内部极化,降低了负极接近析锂电位的时间,提升了电池使用过程的循环和安全性;另一方面,还可以降低电池内部热积聚,使得电池充电温升降低,内部副反应发生率降低,电池循环性能提升。而且由于静置时间较短,实际充电时间并无明显延长,客户体验度没有降低。

标签:
加工技术
广东 - 珠海 来源:中冶有色网 2023-03-18
超低温锂离子电池正极浆料配料的方法

本发明公开了一种超低温锂离子电池正极浆料配料的方法,涉及锂离子电池技术领域。其技术要点是:一种超低温锂离子电池正极浆料配料的方法,包括以下步骤:(a)将正极活性物质和多壁碳纳米管混合,放入球磨机中进行球磨,然后将球磨后的混合物置于真空干燥箱中进行干燥,冷却后充分研磨,得到正极活性材料;(b)将粘结剂溶于部分溶剂中,再加入导电剂、分散剂和正极活性材料,混合均匀,得到基料;(c)将剩下的溶剂全部加入到基料中,混合均匀,得到超低温锂离子电池正极浆料,通过采用LiFePO2来代替部分LiCoPO4,然后掺杂一定量的多壁纳米碳管,使得制成的正极浆料运用到锂离子电池中后,大大提高了电池的循环使用寿命。

标签:
加工技术
广东 - 深圳 来源:中冶有色网 2023-03-18
上一页 2002 2003 2004 2005 2006 ... 3373 下一页
共3373页    到第

中冶有色为您提供最新的广东有色金属理论与应用信息,涵盖发明专利、权利要求、说明书、技术领域、背景技术、实用新型内容及具体实施方式等有色技术内容。打造最具专业性的有色金属技术理论与应用平台!

全国热门有色金属设备推荐
展开更多 +
全国热门有色金属技术推荐
展开更多 +

 

江西省隆恩特环保设备有限公司
宣传

报名参会
更多+

报告下载

有色专家
更多+

中国科学院赣江创新研究院
院长
中南大学
副校长
长春黄金研究院有限公司
总经理
洛阳有色矿业集团有限公司
生产技术部经理
赣州江钨钨合金有限公司
工程师
赤泥综合利用研究报告2025
推广

热门技术
更多+

推荐企业
更多+

福建省金龙稀土股份有限公司
宣传

发布

在线客服

公众号

电话

顶部
咨询电话:
010-88793500-807