青岛垚鑫智能科技有限公司
宣传

位置:北方有色 >

有色技术频道 >

分类:
全部
矿山技术
冶金技术
材料制备及加工技术
环境保护技术
分析检测技术
地区:
全部
北京
天津
上海
重庆
河北
山西
辽宁
吉林
黑龙江
江苏
浙江
安徽
福建
江西
山东
河南
湖北
湖南
广东
海南
四川
贵州
云南
陕西
甘肃
青海
内蒙
广西
西藏
宁夏
新疆
其他
其他
展开
 
全部
石家庄
唐山
秦皇岛
邯郸
邢台
保定
张家口
承德
沧州
廊坊
衡水

河北有色金属理论与应用

免费发布技术信息>>
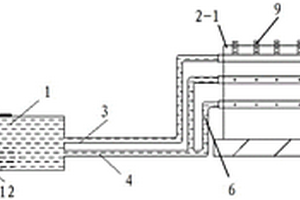
通过减量秤进行高炉炉前铁水增硅的装置

本实用新型涉及一种通过减量秤进行高炉炉前铁水增硅的装置,属于冶金炼铁设备技术领域。技术方案是:受料斗(1)通过钢结构框架固定设置在高炉炉前出铁场撇渣器后的支铁沟旁,受料斗(1)的上部方形框架下方匹配设有减量秤传感器(2),振打电机(4)设置在受料斗(1)下部漏斗形容器侧面,受料斗(1)的下料口下方设有螺旋给料机(5);螺旋给料机(5)通过连接件(6)分别与压缩空气管道(7)和下料管(8)相连通。本实用新型能够在不增加高炉燃料比的条件下提高铁水含硅量,从而达到生产球墨铸铁铁水的目的;具有硅粉收得率高和命中率高,操作维护简便,成本低,安全性高等特点。

标签:
电冶金技术
河北 - 唐山 来源:北方有色网 2023-03-18
压力循环脱气设备
压力循环脱气设备 767     
 0

本实用新型涉及冶金工程炼钢与精炼技术领域,尤其是一种压力循环脱气设备,包括炉身,所述炉身呈圆柱形,所述炉身的一侧设有泄气装置,所述炉身的下端设有两根钢水循环用的上升管和下降管,所述炉身上设有裙盖,所述上升管和下降管穿过裙盖延伸至钢包的内部,所述钢包位于炉身的正下方,所述钢包路口外径和裙盖外径一致,所述裙盖的外侧边缘通过压力密封锁和钢包锁定,免去了常规RH各级真空泵的抽真空等工序,投资与能耗大幅减少;压力循环脱气设备可以增大气泡在透气砖出口平面到炉身熔池表面之间钢水内的上升行程,在钢液内停留的时间长,压力循环脱气设备裙盖可隔绝空气和保温,降低热损失。

标签:
电冶金技术
河北 - 唐山 来源:北方有色网 2023-03-18
高炉炉内清灰成像装置

本实用新型提供了一种高炉炉内清灰成像装置,属于冶金工业监控设备技术领域,包括内保护套管、与内保护套管的通过螺纹连接的外保护套管;内保护套管的顶部设有与摄像探头连接的接线盒,内保护套管的底部设有用于保护摄像探头的探头前罩,以及在探头前罩上均布的刮刀片,设置氮气吹扫孔,起到了清扫和冷却探头的作用,外保护套管的底部通过安全球阀与用于固定摄像探头的摄像底板固定连接。通过将外保护套管延长、在内保护套管与外保护套管之间通过螺纹连接,在外保护套管上加装旋转手柄,解决了炉内底板清灰不利、成像装置难以观测到炉内图像的技术问题。

标签:
电冶金技术
河北 - 承德 来源:北方有色网 2023-03-18
钢包热修系统
钢包热修系统 1249     
 0

本实用新型属于冶金设备领域,具体涉及一种钢包热修系统。所述钢包热修系统包括运行轨道和能够沿所述运行轨道进行移动的钢包热修平台,所述运行轨道由钢水跨所在的第一工位延伸至与其相邻的第二工位,所述第二工位为位于转炉平台下方的预设的钢包热修专用工位。热修位置由钢水跨所在的的第一工位移动到转炉平台下方的钢包热修专用的第二工位,从而改变热修人员的工作环境,提高热修人员的安全性。

标签:
电冶金技术
河北 - 唐山 来源:北方有色网 2023-03-18
可倾斜浇铸的钢锭模
可倾斜浇铸的钢锭模 950     
 0

本实用新型涉及一种可倾斜浇铸的钢锭模,属于冶金行业炼钢生产设备技术领域。技术方案是:上钢锭模壳(3)与下钢锭模壳(4)固定在一起构成钢锭模,前支撑架(7)和后支撑架(8)分别固定在支撑底座(9)上,钢锭模倾斜固定在前支撑架(7)和后支撑架(8)上,钢锭模与水平面之间设有夹角,上钢锭模盲板(3)固定在钢锭模较高的一端,下钢锭模盲板(4)固定在钢锭模较低的一端,钢锭模较高的一端设有浇铸冒口(5),钢锭模上设置多个吊环(11)。本实用新型的有益效果是:可在有限的高度空间,浇铸单根截面尺寸较小、长度较长的钢锭,降低生产成本,提高了产品成材率。

标签:
电冶金技术
河北 - 石家庄 来源:北方有色网 2023-03-18
大包长水口烘烤装置
大包长水口烘烤装置 825     
 0

本实用新型涉及一种大包长水口烘烤装置,属于冶金行业炼钢设备技术领域。技术方案是:烘烤金属外壳(4)固定在支撑架(7)上,烘烤金属外壳(4)的内壁上设有金属管A(5)和金属管B(9),所述金属管A(5)的下端与煤气输送软管(8)连接,金属管A(5)的上端与耐火岩棉管(3)的一端连接,耐火岩棉管(3)的另一端与金属管B(9)的上端连接,金属管B(9)的下端为封闭结构,金属管A(5)和金属管B(9)上分别设有多个朝向烘烤金属外壳(4)中心线的铜质烧嘴(6)。本实用新型的有益效果是:减少了连铸第一炉开浇过程中钢水与大包长水口之间的温度差,避免了大包长水口骤然遇热而发生炸裂,避免了钢水二次氧化。

标签:
电冶金技术
河北 - 承德 来源:北方有色网 2023-03-18
转炉氧枪插入口密封装置

本实用新型涉及一种转炉氧枪插入口密封装置,属于冶金行业转炉炼钢设备技术领域。技术方案是:氮封盘(8)包含内壁(81)和外壳(82),内壁(81)和外壳(82)之间构成一个封闭的储气室(7),所述氮封盘(8)的内壁(81)为与氧枪枪体(1)相配合的圆筒,氧枪枪体(1)穿过圆筒,氮封盘(8)的内壁(81)与氧枪枪体(1)之间设有多块上下布置的隔板(3),相邻两块隔板(3)之间的内壁(81)上均设有氮气出气孔(9),所述外壳(82)上部的外形为圆柱形状,外壳(82)下部的外形为圆锥台形状,外壳(82)上设有氮气进气孔(6)。本实用新型的有益效果是:提高转炉氧枪插入口的密封效果,阻止炉内烟气外溢。

标签:
电冶金技术
河北 - 唐山 来源:北方有色网 2023-03-18
可逆冷轧机的送料装置
可逆冷轧机的送料装置 1104     
 0

本实用新型涉及一种可逆冷轧机的送料装置,属于冶金行业可逆冷轧机设备技术领域。技术方案是:包含液压马达(1)、夹送辊(2)、转向辊(3)、连接板(6)和轧机牌坊,转向辊(3)和连接板(6)分别固定在轧机牌坊上,夹送辊(2)压在转向辊(3)上,液压马达(1)通过齿轮与夹送辊(2)传动连接,所述液压马达(1)固定在连接板(6)上,夹送辊(2)位于连接板(6)的下方。本实用新型的有益效果是:在冷轧机轧制过程中,不受原料板型的影响,方便轧机穿带,减少穿带时间,提高轧机的作业率。降低生产成本,提高轧机轧制质量。

标签:
电冶金技术
河北 - 衡水 来源:北方有色网 2023-03-18
转炉顶渣改质剂均匀加入装置

本实用新型涉及一种转炉顶渣改质剂均匀加入装置,属于冶金行业转炉炼钢设备技术领域。技术方案是:包含压缩空气软管一(1)、压缩空气软管二(2)、承接料斗(3)、连接管(4)、旋转溜槽溜槽管(5)和压缩空气调节阀(6)。连接管的一端与承接料斗连接,其另一端与旋转溜槽溜槽管连接,压缩空气软管一和软管二的一端分别与气源连接,其另一端设在旋转溜槽溜槽管内,压缩空气软管一和软管二的吹气方向与旋转溜槽溜槽管的中心线之间的夹角为45°,压缩空气软管一和软管二上分别设有压缩空气调节阀。本实用新型的有益效果是:能够使顶渣改质剂均匀布料至钢包顶渣表面,提高顶渣改质效果和钢水纯净,减少顶渣改质剂的浪费。

标签:
电冶金技术
河北 - 邯郸 来源:北方有色网 2023-03-18
快速更换除尘布袋的装置

本实用新型涉及一种更换除尘布袋的装置,属于冶金行业除尘设施检修设备技术领域。技术方案是:包含夹杆一(1)、夹杆二(2)、凸点(3)、手柄(4)、弹簧(5)和转轴(6),所述夹杆一(1)的一端为手柄(4),夹杆一(1)的另一端为弧形,弧形的内表面上设有多个凸点(3),所述夹杆二(2)的结构和夹杆一(1)的结构相同,夹杆一(1)和夹杆二(2)的中部通过转轴(6)转动连接,夹杆一(1)和夹杆二(2)之间设有弹簧(5)。本实用新型的有益效果是:能够方便、快捷的将除尘布袋从除尘器隔板上拆下来,进行更换,保证除尘设施的正常运行。尤其是在遇到空间狭小或大批量更换除尘布袋时,其优势更为明显,能够提高数倍工作效率。

标签:
电冶金技术
河北 - 邢台 来源:北方有色网 2023-03-18
镀锌机组电解槽
镀锌机组电解槽 1097     
 0

本实用新型涉及一种镀锌机组电解槽,属于冶金行业镀锌机组电解槽设备技术领域。技术方案是:包含槽体(1)、筋板(2)、连接法兰(3)、竖板(4)、横板(5)和加强板(6),所述槽体(1)呈长方体或圆柱体结构,槽体(1)上设有连接法兰(3),槽体(1)的外表面上设有多个相互垂直交叉布置的筋板(2),所述槽体(1)采用多块合金聚丙烯板材焊接而成,焊接部位设有相互垂直的竖板(4)和横板(5),竖板(4)和横板(5)之间设有加强板(6)。本实用新型的有益效果是:结构简单,强度高,能解决槽体内防腐砖脱落,防腐损坏,频繁维修的问题,防腐效果好,能够保证生产线稳定运行。

标签:
电冶金技术
河北 - 唐山 来源:北方有色网 2023-03-18
去除皮带运输机运输的散装物料内条形杂物的装置

本实用新型涉及一种去除皮带运输机运输的散装物料内条形杂物的装置,属于冶金行业烧结机供料设备技术领域。技术方案是:受料斗(1)设置在运输皮带(4)的下料端,引导板(9)设置在运输皮带(4)下料端与受料斗(1)之间,所述引导板(9)向受料斗(1)的入料口倾斜且与皮带滚筒(3)相切,其特征在于:在受料斗(1)的入料口远离运输皮带(4)的一侧设置一个挡料板(5),所述挡料板(5)为矩形,挡料板(5)的长度与运输皮带(4)的宽度相匹配,挡料板(5)与水平面之间的夹角a为18~20度。本实用新型的有益效果是:在皮带运输机运行过程中,能够自动去除皮带运输机上物料里的条形杂物,避免下料斗堵塞、刮卡皮带等。

标签:
电冶金技术
河北 - 承德 来源:北方有色网 2023-03-18
高速风动送样系统
高速风动送样系统 874     
 0

本实用新型涉及一种高速风动送样系统,属于冶金行业冶炼钢样风动送样技术领域。技术方案是:输送管道(8)的两端分别通过弯头(7)与发送柜(4)和接收柜(10)的顶部连接,管道A(13)和管道B(16)分别连接在发送柜(4)和接收柜(10)的底部,管道A(13)和管道B(16)上均设有截止阀(11)和排气孔(12),管道A(13)的另一端设有风机(14);压缩空气管道(3)通过管道B(16)与发送柜(4)连通;送样容器(1)的两端分别设有硬质泄压垫片(2),送样容器(1)设置在发送柜(4)内。本实用新型的有益效果是:结构简单,能够顺利的将送样容器输送至接收柜,避免送样容器在输送过程中出现卡阻现象。

标签:
电冶金技术
河北 - 承德 来源:北方有色网 2023-03-18
倾斜浇铸锭模支架
倾斜浇铸锭模支架 802     
 0

本实用新型涉及一种倾斜浇铸锭模支架,属于冶金行业冶炼设备技术领域。技术方案是:包含两个结构相同的支撑架,两个结构相同的支撑架分别支撑在锭模(2)的两端,所述支撑架包含折叠架(3)、底座(12)和底板(7),折叠架(3)包含两个连杆A(8)、两个限位铰轴(9)、两个连杆B(10)、一个连杆C(11)和一个弹簧二(13),底座(12)包括为钢结构架(16)和弹簧一(4),钢结构架(16)的上部设有V型槽(15),弹簧一(4)一端固定在钢结构架(16)上,弹簧一(4)另一端固定在底板(7)上。本实用新型的有益效果是:能够快速实现锭模倾斜度和浇铸口方向的定位,方便快捷,节省人力,提高劳动效率。

标签:
电冶金技术
河北 - 石家庄 来源:北方有色网 2023-03-18
冷轧带钢二轧程辅助穿带工具

本实用新型涉及一种冷轧带钢二轧程辅助穿带工具,属于冶金行业冷轧带钢生产设备技术领域。技术方案是:喷吹梁(12)为长度与带钢宽度相匹配的压缩空气喷吹管,喷吹管的中间与连接软管(15)相连接,喷吹管的两端分别设有行程控制液压缸(14),所述行程控制液压缸(14)的缸体固定在液压缸底座(13)上,行程控制液压缸(14)的活塞杆驱动连接在喷吹梁(12)上,喷吹梁(12)的两端还设有朝向带钢的喷嘴(11),导板台(4)上设有喷嘴安装孔(5),所述喷嘴(11)的喷吹方向顺着带钢的运行方向且与带钢成30‑45度。本实用新型的有益效果是:能够模拟人工穿带过程,实现辅助穿带,无需人工拖拽带钢,降低人员的劳动强度。

标签:
电冶金技术
河北 - 衡水 来源:北方有色网 2023-03-18
热轧带钢粗轧机立辊挡水装置

本实用新型涉及一种热轧带钢粗轧机立辊挡水装置,属于冶金行业热轧带钢生产设备技术领域。技术方案是:胶皮(2)和基板(1)通过多条螺栓(6)固定连接在一起构成挡水板(10);圆盘(5)固定在立辊(7)的轴承座(8)上,护管(3)固定在圆盘(5)上,基板(1)和胶皮(2)长方形的一侧通过加强筋板(4)固定在护管(3)上,基板(1)和胶皮(2)与立辊辊槽(9)相匹配的一侧卡在立辊辊槽(9)中。本实用新型的有益效果是:能够避免冷却水喷溅到带钢边部,降低轧辊冷却水对带钢产生的温降影响,提高立辊对带钢宽度和温度的控制精度,减少带钢质量缺陷、保证带钢质量稳定。

标签:
电冶金技术
河北 - 唐山 来源:北方有色网 2023-03-18
火焰切割枪锁紧装置
火焰切割枪锁紧装置 941     
 0

本实用新型提供了一种火焰切割枪锁紧装置,属于冶金行业炼钢设备技术领域,包括用于连接在切割小车下部的连接杆、用于套装在火焰切割枪上的锁紧套和锁紧件,锁紧套设于连接杆的下部,锁紧件横向贯穿锁紧套,锁紧件通过顶靠火焰切割枪用于将火焰切割枪固定于锁紧套内。本实用新型提供的火焰切割枪锁紧装置,与现有技术相比,连接杆安装在切割小车的下部,火焰切割枪贯穿锁紧套,并通过锁紧件固定,使火焰切割枪保持稳定,再整体安装在连接杆上,从而使火焰切割枪稳定连接在切割小车下部。

标签:
电冶金技术
河北 - 承德 来源:北方有色网 2023-03-18
熔融还原炼铁工艺用热矿输送管道

本实用型新型涉及一种熔融还原炼铁工艺用热矿输送管道,属于冶金运输设备技术领域。包括支撑管(1)、隔热层(2)、法兰(5)、工作管(7),所述支撑管(1)、工作管(7)为金属管,所述法兰(5)钢结构法兰盘,所述工作管(7)套在支撑管(1)内部,两端由法兰(5)封堵焊接固定,所述支撑管(1)、工作管(7)之间为隔热层(2),所述隔热层(2)由耐热材料填充形成。本实用新型耐高温耐磨热矿输送管道工作管,增加了管道耐磨、耐高温性能,减少了热矿粉温降,降低了输送管道的重量,并能及时检测输送管道漏点情况,提高了设备使用寿命,减少了工人劳动强度,完善了监控手段,保证了生产安全。

标签:
电冶金技术
河北 - 唐山 来源:北方有色网 2023-03-18
热轧窄带卷取前位置矫正系统

一种热轧窄带卷取前位置矫正系统,属冶金技术领域,包括平板链、引料辊与夹持装置,所述夹持装置包括液压缸、夹持板与轨道,所述轨道设置在平板链两侧,轨道上设有行走车,液压缸固定在行走车上,液压缸活塞杆冲向轨道中心,活塞杆的一端设置夹持板,所述行走车与液压油缸分别由电动机控制,所述行走车的行进速度大于平板链的传输速度。本实用新型通过增设夹持装置,夹持住钢带的一端,牵引钢带向前行进进入引料辊,不需要工人手动操作,安全性能更高。总之,本实用新型结构简单,适用于工业化生产。

标签:
电冶金技术
河北 - 唐山 来源:北方有色网 2023-03-18
钢轨二辊可逆式轧机上卫板固定装置

本实用新型涉及一种钢轨二辊可逆式轧机上卫板固定装置,属于冶金行业钢轨轧制技术领域。技术方案是:底座(1)固定在轧机横梁(15)上,卡盘(2)通过销轴(3)转动连接在底座(1)上,所述卡盘(2)为扇形,卡盘(2)和上卫板(14)上分别设有与弹簧(5)相配合的挂钩(9),弹簧(5)的两端分别钩挂在卡盘(2)和上卫板(14)的挂钩(9)上;底座(1)上设有矩形通孔(7),卡盘(2)上设有与矩形通孔(7)相配合的卡盘镂空(11),底座(1)上的矩形通孔(7)和卡盘(2)上的卡盘镂空(11)通过销杆(4)相连接。本实用新型的有益效果是:利用锁止机构实现上卫板的固定及拆除,结构简单稳固,占用空间小。

标签:
电冶金技术
河北 - 邯郸 来源:北方有色网 2023-03-18
工业机器人使用的捞锌渣装置

本实用新型涉及一种工业机器人使用的捞锌渣装置,属于冶金行业镀锌线生产设备技术领域。技术方案是:包含接口法兰、连接杆一、连接法兰、连接杆二、捞渣铲和弯头,连接杆一的一端设有接口法兰,连接杆一的另一端通过连接法兰与连接杆二的一端相连接,连接杆二的另一端通过弯头与捞渣铲相连接,所述捞渣铲是由一块底板、两块侧板和一块后板组合而成,底板、侧板和后板上均设有若干个孔洞。本实用新型的有益效果是:可有效的对锌锅液面上的浮渣进行扒渣操作,扒渣干净,不留浮渣。

标签:
电冶金技术
河北 - 邯郸 来源:北方有色网 2023-03-18
喷淋降尘装置
喷淋降尘装置 1235     
 0

本实用新型公开了一种喷淋降尘装置,属于冶金环保技术领域。所述喷淋降尘装置包括:第一输送管道的出水口与第一喷淋横梁的进水口连通,第一喷淋横梁上开设有若干第一给水口,第一喷淋管路上开设有若干第一喷淋口,每一个第一喷淋口均连通有第一喷嘴;第二输送管道的出水口与若干分支管道的进水口连通,分支管道的出水口与相对应的第二喷淋横梁的进水口连通,第一喷淋管路上开设有第二喷淋口,第二喷淋口连通有第二喷嘴。本实用新型喷淋降尘装置可以对钢包拆包后翻包过程及清理拆包区域的残砖、残砖的清理操作时产生的灰尘进行抑尘处理,改善现场的环境卫生。

标签:
电冶金技术
河北 - 唐山 来源:北方有色网 2023-03-18
连续退火炉炉底盖板快速拆装装置

本实用新型涉及一种连续退火炉炉底盖板快速拆装装置,属于冶金行业冷轧带钢生产设备技术领域。技术方案是:在炉壳(15)的四周均匀固定四个卡槽(14),在每个卡槽(14)上分别安装一个紧固螺栓(5),紧固螺栓(5)的螺杆螺纹连接在卡槽(14)上,紧固螺栓(5)的螺栓头上设有挂钩(6),在每个紧固螺栓(5)的挂钩(6)上分别悬挂一条导向链(2),导向链(2)的下端连接在固定支架(3)上,固定支架(3)固定在炉底盖板(1)上,反向顶丝(9)螺纹连接在靠近炉底盖板(1)的炉壳(15)上。本实用新型的有益效果是:能够快速的拆卸和安装炉底盖板,减少拆装炉底盖板造成的时间损耗,缩短事故或检修处理时间。

标签:
电冶金技术
河北 - 邯郸 来源:北方有色网 2023-03-18
钢包水口
钢包水口 1160     
 0

本实用新型涉及一种钢包水口,属于冶金行业炼钢设备技术领域。技术方案是:水口座砖(1)和下水口(2)的中心分别设有同圆心布置的浇钢孔,所述水口座砖(1)的浇钢孔为倒锥台形孔,下水口(2)的浇钢孔的上部为倒锥台形孔,下水口(2)的浇钢孔的下部为圆柱形孔;水口座砖(1)和下水口(2)的下表面上分别设有环形凹槽(5),水口座砖(1)和下水口(2)内设有透气缝(3),透气缝(3)的一端与进气管(4)连接,透气缝(3)的另一端分别与水口座砖(1)和下水口(2)下表面上的环形凹槽(5)连通。本实用新型的有益效果是:提高钢包自开率,同时能够增强连铸保护浇注的密封效果,杜绝钢水吸氧吸氮,防止大包保护套管结瘤,提高钢水洁净度。

标签:
电冶金技术
河北 - 承德 来源:北方有色网 2023-03-18
轧辊磨床驱动拨盘
轧辊磨床驱动拨盘 802     
 0

本实用新型涉及一种轧辊磨床驱动拨盘,属于冶金行业轧辊磨床辅助设备技术领域。技术方案是:基体(1)的中间设有一个矩形孔(10),靠近矩形孔(10)两个短边的基体(1)上分别设有一个对称布置的定位块(2),所述定位块(2)为长方体,定位块(2)通过销钉(6)固定在基体(1)上;矩形孔(10)的两个长边上分别设有一个矩形槽(5),每个矩形槽(5)内均设有一个内置块(4),所述内置块(4)通过螺钉(11)固定在矩形槽(5)内,整体为对称结构。本实用新型的有益效果是:大大减轻了重量,完全可以由一人进行装配,提高了劳动效率,而且定位块为可拆装部件,当定位块上的工作接触面磨损,只需更换定位块即可,有效节约备件消耗。

标签:
电冶金技术
河北 - 邯郸 来源:北方有色网 2023-03-18
安全回转防护装置
安全回转防护装置 811     
 0

本实用新型涉及一种安全回转防护装置,属于冶金行业现场安全防护技术领域。技术方案是:固定立柱一(4)和固定立柱二(5)分别固定在需要安装护栏的土建基础中,旋转套筒(3)呈倾斜状固定在固定立柱二(5)上,旋转套筒(3)的两端分别设有旋转定位板(2),所述横档护栏(1)由水平段和倾斜段组成,横档护栏(1)的水平段和倾斜段之间的夹角与旋转套筒(3)的倾斜角度相同,横档护栏(1)的水平段设置在固定立柱一(4)上,横档护栏(1)的倾斜段从旋转套筒(3)较高的一端插入到旋转套筒(3)较低的一端。本实用新型的有益效果是:能够在人员通过后依靠护栏重力回至原始位,减少人员操作,避免人员通行后遗忘等原因造成的防护失效,确保高危设备有效隔离、防护。

标签:
电冶金技术
河北 - 唐山 来源:北方有色网 2023-03-18
棒材旋转收集式落钢机

本实用新型涉及一种棒材旋转收集式落钢机,属于冶金行业棒材轧线精整收集设备技术领域。技术方案是:接料手(1)包含弧形接钢臂(10)和半圆形底座(11),弧形接钢臂(10)固定在半圆形底座(11)上,两个接料手(1)为一组,多组接料手(1)均匀设置在传动轴(2)上;每组接料手(1)中的两个半圆形底座(11)扣合在传动轴(2)上,每组接料手(1)中的两个弧形接钢臂(10)对称设置且弧形方向相反。本实用新型的有益效果是:能满足不同规格尺寸的圆钢和螺纹钢的接送要求,具有接送钢效率高、设备故障率低的特点,通过弧形接钢臂实现无落差且沿着弧形接钢臂的弧形自然滑落的接钢方式,有效避免钢材表面划伤和变形。

标签:
电冶金技术
河北 - 张家口 来源:北方有色网 2023-03-18
镀锌设备及其炉鼻子稳定装置

本实用新型公开了一种镀锌设备及其炉鼻子稳定装置,涉及冶金设备技术领域,通过减速电机,所述减速电机设置在炉鼻子入口处的一侧;辊子,所述辊子焊接于所述炉鼻子内部,且所述辊子与所述减速电机传动连接;轴承座,所述轴承座设置在所述炉鼻子的入口处;连接件,所述连接件的一端螺栓连接法兰的第一侧,另一端与所述炉鼻子焊接,从而解决了现有技术中带钢在炉鼻子中运行时存在明显的颤动,影响炉鼻子内锌灰锌渣的控制,导致带钢表面锌渣缺陷的技术问题,达到了避免带钢颤动,提高带钢表面质量的技术效果。

标签:
电冶金技术
河北 - 唐山 来源:北方有色网 2023-03-18
测定高碳铬铁中磷含量的方法

本发明提供了一种测定高碳铬铁中磷含量的方法,属于冶金化学分析技术领域,包括以下步骤:取定量高碳铬铁试样,加入硼酸+无水碳酸钠组成的助熔剂熔融;熔块用硝酸溶液溶解,定容后作为母液;取定量母液,向母液中分别加入硝酸铋溶液、钼酸铵‑酒石酸钾钠混合溶液和抗坏血酸溶液,至显色,再次定容;将定容后的溶液涂在分光光度计上,测量吸光度,根据吸光度与磷含量的关系,测得磷含量。本发明提供的测定高碳铬铁中磷含量的方法,硼酸+无水碳酸钠组成的混合助熔剂替代现有技术中的过氧化钠助熔剂,避免使用过氧化钠助熔剂造成的粉尘刺激以及灼烧伤害,也避免了使用过氧化钠助熔剂带来的燃烧和爆炸隐患,保证了测定高碳铬铁中磷含量的安全性。

标签:
电冶金技术
河北 - 邯郸 来源:北方有色网 2023-03-18
自动补充烧结边缘布料的装置

一种自动补充烧结边缘布料的装置,包括对称设置的补料斗、滚轮、活动臂和料斗开启机构,两补料斗安装在布料平台处,各补料斗分别对应烧结机台车两侧的上部,滚轮位于活动臂下端,活动臂连接料斗开启机构,补料斗内设有夹层,料斗开启机构设置在夹层内,补料斗底部对称设置活门挡板,料斗开启机构连接活门挡板,活门挡板开启状态所述装置补料。本实用新型可以在布料出现边缘缺料状态时,自动对边缘部位进行补料,从而使烧结机台车的布料形态始终保持合适的形态,消除或减少边缘效应的影响,有效提升了烧结矿在台车上的补料均匀性,进而提高烧结矿冶金性能和产品质量。

标签:
电冶金技术
河北 - 邢台 来源:北方有色网 2023-03-18
上一页 514 515 516 517 518 ... 753 下一页
共753页    到第

北方有色为您提供最新的河北有色金属理论与应用信息,涵盖发明专利、权利要求、说明书、技术领域、背景技术、实用新型内容及具体实施方式等有色技术内容。打造最具专业性的有色金属技术理论与应用平台!

全国热门有色金属设备推荐
展开更多 +
全国热门有色金属技术推荐
展开更多 +

 

江西省隆恩特环保设备有限公司
宣传

报名参会
更多+

报告下载

有色专家
更多+

有研科技集团有限公司
首席科学家
郑州大学
校长/党委书记
湖南有色金属研究院
教授级高工/原总工程师
中南大学
院长/教授
长沙矿冶院检测技术有限责任公司
总经理
赤泥综合利用研究报告2025
推广

热门技术
更多+

推荐企业
更多+

福建省金龙稀土股份有限公司
宣传

发布

在线客服

公众号

电话

顶部
咨询电话:
010-88793500-807