青岛垚鑫智能科技有限公司
宣传

位置:北方有色 >

有色技术频道 >

分类:
全部
矿山技术
冶金技术
材料制备及加工技术
环境保护技术
分析检测技术
地区:
全部
北京
天津
上海
重庆
河北
山西
辽宁
吉林
黑龙江
江苏
浙江
安徽
福建
江西
山东
河南
湖北
湖南
广东
海南
四川
贵州
云南
陕西
甘肃
青海
内蒙
广西
西藏
宁夏
新疆
其他
其他
展开
 
全部
石家庄
唐山
秦皇岛
邯郸
邢台
保定
张家口
承德
沧州
廊坊
衡水

河北有色金属理论与应用

免费发布技术信息>>
新型金刚石钻头
新型金刚石钻头 1220     
 0

本实用新型涉及一种新型金刚石钻头,包括刀头1,钢体2,接首3。刀头1由金刚石颗粒和金属粉末混合均匀后经粉末冶金工艺烧结成型,刀头1与钢体2焊接到一起,接首3将钢体2和电动工具联接在一起;刀头1顶部呈皇冠齿式或皇冠涡轮齿式,钢体的顶部呈锥形嵌入刀头1的底部,刀头1与钢体2相连接呈圆环形。本实用新型的有益效果是:解决了现有金刚石钻头焊接强度低,钻切时掉刀头,使用寿命短等缺陷和不足。提供了一种焊接强度高,使用寿命长的新型金刚石钻头,可用于各种脆硬材料的钻孔加工。

标签:
电冶金技术
河北 - 石家庄 来源:北方有色网 2023-03-18
用于高炉供料系统的除尘装置

本实用新型公开了一种用于高炉供料系统的除尘装置,属于冶金设备技术领域,包括上料小车及两侧的上料溜槽,上料溜槽的出料口与高炉料仓仓口对应;在上料溜槽的前后两侧设除尘罩,除尘罩通过除尘支管与除尘主管相连通;在仓口的两侧、沿仓口的延伸方向设有导轨,在仓口两端设卷帘箱,卷帘的一端与卷帘箱中的转轴固定连接、另一端伸出卷帘箱且伸出卷帘箱的部分与导轨滑动连接;卷帘可卷绕在转轴上,转轴的一端伸出卷帘箱并与外部的驱动装置相连接;卷帘远离卷帘箱的一端通过挡板与邻近的除尘罩远离上料溜槽的一侧固定连接。本实用新型对高炉槽上上料过程中产生粉尘导致污染环境的问题进行了有效的治理,消除了粉尘污染,改善了车间的工作环境。

标签:
电冶金技术
河北 - 邯郸 来源:北方有色网 2023-03-18
可快速更换的棒材飞剪导槽

本实用新型涉及一种可快速更换的棒材飞剪导槽,属于冶金行业棒材生产设备技术领域。技术方案是:包含固定导槽(1)、移动导槽(2)、耳轴(3)、底座(5)和凹槽(6),所述固定导槽(1)和移动导槽(2)均为弧形,固定导槽(1)所在圆的半径大于移动导槽(2)所在圆的半径,固定导槽(1)固定在底座(5)上,固定导槽(1)两侧的导槽壁上设有若干对凹槽(6);移动导槽(2)两侧的导槽壁上设有与固定导槽(1)两侧导槽壁上的凹槽(6)相配合的耳轴(3)。本实用新型的有益效果是:采用固定导槽和移动导槽结合的形式,满足不同轧制规格的工艺要求,固定导槽固定在底座上,移动导槽依靠耳轴与凹槽相互配合实现拆装,更换简单快捷。

标签:
电冶金技术
河北 - 邯郸 来源:北方有色网 2023-03-18
混铁炉出铁口自动炉盖
混铁炉出铁口自动炉盖 1266     
 0

本实用新型为一种混铁炉出铁口自动炉盖,属于钢铁冶金设备。本实用新型由炉门轴,炉门框,两组滑动轴承和两个杆状配重组成,炉门框和炉门轴焊接在一起,炉门框为一个钢板焊接的框架,其上部和左右各安有钢制密封槽,槽内镶嵌耐火纤维,框内嵌砌耐火砖,炉门轴两端安放在两组滑动轴承上,轴承座焊接在出铁口两侧,在炉门轴的两个端部各安装一个杆状配重,杆状配重与炉门框之间有一固定夹角α。

标签:
电冶金技术
河北 - 承德 来源:北方有色网 2023-03-18
高炉防灌渣拨风装置
高炉防灌渣拨风装置 813     
 0

本实用新型公开了高炉防灌渣拨风装置,本实用新型涉及冶金技术领域,包括第一机组,所述第一机组的出风口固定安装有止回阀,所述止回阀的上端位置固定安装有第一连接管,所述第一连接管的一侧固定连接有第一热风炉,所述第一连接管的环形外表面在止回阀的上方位置固定安装有第一控制阀,所述第一连接管的环形外表面在第一控制阀的一侧固定安装有PLC工控机,所述第一连接管的环形外表面在PLC工控机的一侧固定安装有第一压力表,所述第一连接管的环形外表面在第一压力表的一侧固定连接有分流管,所述第二机组的上端外表面固定安装有第二连接管,该装置既可以保证事故高炉不灌渣,又可以保证原授风高炉的极限生产。

标签:
电冶金技术
河北 - 唐山 来源:北方有色网 2023-03-18
用于板坯连铸机扇形段的二次冷却喷淋架的清洗装置

本实用新型涉及冶金技术领域,具体是一种用于板坯连铸机扇形段的二次冷却喷淋架的清洗装置。包括清洗用的药剂、喷淋架以及设置在喷淋架上的喷嘴和喷淋管,喷淋架上分别设置有进水口和出水口,进水口通过管路依次连接有循环泵和储液池,药剂设置在储液池内,出水口通过管路与储液池连接。本实用新型采用循环式清洗的方法,药剂在喷淋架、喷嘴和喷淋管内与其内部的杂质发生化学反应然后随药剂排出至储液池内,提高了清洗的效果以及清洗效率,相对于采用药池浸泡式的清洗方法,喷淋架、喷嘴和喷淋管的外壁不与药剂直接接触能够避免在清洗过程中腐蚀损坏,延长其使用寿命。

标签:
电冶金技术
河北 - 唐山 来源:北方有色网 2023-03-18
节能型酸性氧化球团焙烧竖炉

一种节能型酸性氧化球团焙烧竖炉,它的给料装置位于竖炉顶部,其侧面设置有废气排出装置,下部是烘干床;冷却装置位于炉体中下部;排料装置位于炉体中下部外侧;燃烧室位于炉体下部,燃烧室的外侧设有燃烧器;中心灰管位于竖炉中部,坐落于竖炉基础之上,其正上部是中心废气灰斗,外部是燃烧室;中心废气灰斗上部依次是下干燥床和上干燥床,下干燥床的中心是中心废气风管,中心废气灰斗通过中心废气风管与位于炉顶的废气排出装置相连,下部与中心灰管相连,该中心灰管和中心废气灰斗组成粉粒排出通道,位于炉体内的中部;粉粒排出装置位于炉体最底部,其上部与中心灰管相连。该装置工作效率高,结构科学,是冶金行业焙烧含铁球团的理想设备。

标签:
电冶金技术
河北 - 唐山 来源:北方有色网 2023-03-18
自动定位称重计量无线数传收发器

本实用新型公开了一种自动定位称重计量无线数传收发器,是一点对多点的无线通信装置,它包括一台主站和多台分站。其中特别设计的分站是新型复合称重控制仪表,由电源、分站主机和天线构成,分站主机由机箱、称重信号采集电路、位置信号采集电路、主单片机、数传电台、键盘、显示器、输入输出接口组成,分站与称重传感器和位置传感器连接主要完成称重数据的自动定位采集、数据分组打包和报文无线传送;主站是无线接收显示控制器,由电源、主站主机和天线构成,主要完成无线接收显示各分站传送的报文并上传计算机。主站受控于上位计算机与各分站之间采用查询方式进行无线通信。本实用新型主要适用于冶金行业多部天车自动定位称重计量管理。

标签:
电冶金技术
河北 - 承德 来源:北方有色网 2023-03-18
可焊双金属耐磨件固液复合铸造方法

本发明公开了一种可焊双金属耐磨件固液复合铸造方法,本方法适用于条状低碳钢板和高铬铸铁双金属耐磨件复合,包括如下步骤:1)低碳钢板上加工内浇道锥台孔,内浇道面积大于横浇道面积;低碳钢板上表面为硼酸层,下表面为涂料层。2)将低碳钢板放置在横浇道上,上方采用保温层形成高铬铸铁型腔;在高铬铸铁型腔底部、低碳钢板的四周,设计有翼边腔;高铬铸铁型腔顶部,连接有扁通道和泡沫块;该泡沫块可形成高铬铸铁单金属铸件。3)浇注。4)开箱清理。本方法生产的可焊双金属耐磨件产生冶金结合,消除了外表面双金属交界面的缝隙,提高了双金属耐磨件的使用寿命。

标签:
电冶金技术
河北 - 邯郸 来源:北方有色网 2023-03-18
转炉煤气智能调度系统

本发明涉及一种转炉煤气智能调度系统,属于冶金行业煤气调度设备技术领域。本发明的技术方案是:UPS系统(7)、打印机(6)、Python模型计算机(3)和PI实时信息系统(2)分别与MYSQL数据库管理系统(1)连接,转炉一级控制系统(4)与PI实时信息系统(2)连接,煤气智能调度系统画面(5)与Python模型计算机(3)连接。本发明的有益效果是:通过建立煤气动态模型,实时计算达到平衡,保证煤气柜安全柜容,热电转炉煤气用量平稳调整提供发电量,消除人工调整不及时造成热电煤气大起大落的现象发生。

标签:
电冶金技术
河北 - 唐山 来源:北方有色网 2023-03-18
大规格耐低温高强角钢及其生产方法

一种大规格耐低温高强角钢及其生产方法,属于冶金技术领域。所述角钢的化学成分及重量含量为C:0.03~0.05%,Mn:1.60~1.80%,Nb:0.050~0.070%,Ti:0.008~0.015%,Si:0.10~0.20%,Als:0.015~0.050%,S≤0.003%,P≤0.010%,B≤5ppm,N≤60ppm,余量为Fe和不可避免的杂质。其生产方法包括铁水预处理、转炉冶炼、LF精炼、RH真空处理、连铸、缓冷、加热、轧制、冷却、锯切定尺、入库工序。本发明300mm×300mm×35mm大规格角钢‑60℃冲击韧性≥100J,适用于‑40℃的低温环境温度。

标签:
电冶金技术
河北 - 唐山 来源:北方有色网 2023-03-18
一键式钢包滑动水口引流砂垂直加入装置及方法

本发明涉及一种一键式钢包滑动水口引流砂垂直加入装置及方法,属于冶金行业炼钢设备及方法技术领域。本发明的技术方案是:天车将引流砂吊至受料斗上方,将引流砂加入罐体内,向罐体内注入压缩空气,引流砂在压力的作用下自罐体通过连接管道、旋转接头、空心主轴和耐磨胶管进入加砂管中;钢包车通过激光测距仪精确定位控制,实现加砂管与钢包滑动水口的垂直对中,加砂管通过卷筒的升降装置实现加砂管的垂直升降功能,插入钢包滑动水口加注引流砂,完成引流砂的加注功能。本发明的有益效果是:结构简单,易于操作,操作安全、加砂量准确,实现快速、安全、准确的加引流砂操作。

标签:
电冶金技术
河北 - 唐山 来源:北方有色网 2023-03-18
高炉合理烟煤比的评价方法

本发明涉及一种高炉合理烟煤比的评价方法,属于冶金行业高炉炼铁方法技术领域。本发明的技术方案是:通过提供合理烟煤比的评价模型,根据燃料的热值平衡和价格平衡两个等式,在焦炭热值、无烟煤热值、烟煤热值和焦炭价格、无烟煤价格、烟煤价格这六个参数之间建立一个平衡等式,推导计算出烟煤和无烟煤临界平衡价差。本发明的有益效果是:科学合理地动态判断提高烟煤比有利,或是降低烟煤比有利,从而获得最佳的喷吹效果。

标签:
电冶金技术
河北 - 邯郸 来源:北方有色网 2023-03-18
移动式宽皮带布料装置

一种移动式宽皮带布料装置,属冶金设备技术领域,用于解决宽皮带布料装置因检修空间狭小,检修、更换部件困难的问题。构成中包括底座、设置在底座上的传动滚筒、托辊、尾滚筒和宽皮带,宽皮带闭环安装在传动滚筒和尾滚筒上,传动滚筒与传动系统传动连接,改进在于:所述底座下部设有行走轮,行走轮由轨道支撑。本实用新型采用在布料装置下部安装行走轮和设置轨道的设计,使宽皮带布料装置可整体移动,检修时可方便地更换、维修有关部件,节省了人力物力并可大大缩短检修时间,提高烧结机作业率和烧结矿的产量。本实用新型解决了宽皮带布料装置在烧结机特别是大型烧结机上推广使用的难题,推广前景十分广泛。并具有安装方便、运转灵活等特点。

标签:
电冶金技术
河北 - 邯郸 来源:北方有色网 2023-03-18
钢卷卸卷的方法及装置

本发明公开了一种钢卷卸卷的方法及装置,涉及冶金技术领域,具体包括:判断缠绕于卷取机芯轴上的钢卷是否满足卸卷条件,其中,卷取机芯轴不能再收缩;若钢卷满足卸卷条件,执行卸卷操作;若钢卷不满足卸卷条件,则沿与卷取机卷取时相反的方向旋转卷取机芯轴,使卷取机芯轴与钢卷的内圈之间的间隙扩大,直至钢卷满足卸卷条件。本发明采用反转卷取机芯轴的方式,使得卷取机芯轴与钢卷的内圈之间的间隙扩大,有效解决了现有技术中因卷取机芯轴故障,导致芯轴上的钢卷无法正常卸出的技术问题。

标签:
电冶金技术
河北 - 唐山 来源:北方有色网 2023-03-18
红外测温用铸坯表面水汽吹扫器

一种红外测温用铸坯表面水汽吹扫器,属于冶金行业连铸设备技术领域,用于消除铸坯表面的高温水汽,对铸坯表面进行准确测温,其技术方案是:它由吹管、压缩空气室组成,吹管为圆筒管,压缩空气室为环形腔室,压缩空气室环绕在吹管的上部,与吹管固定连接,压缩空气室的腔室有连通管道与压缩空气发生装置相连接,压缩空气室的腔室与吹管腔室之间连接有多个压缩空气喷管,压缩空气喷管环绕吹管腔室的管壁均布。本实用新型通过吹管引导空气流动,以改变原有铸坯表面水汽流场,同时压缩空气室内的压缩空气通过有特殊角度的压缩空气喷管在吹管腔体通道内形成喷射泵效应,原有水汽区域形成微负压区域利于红外能量辐射,以实现红外测温装置的准确测温。

标签:
电冶金技术
河北 - 邯郸 来源:北方有色网 2023-03-18
板式橡胶弹簧
板式橡胶弹簧 881     
 0

本实用新型涉及一种板式橡胶弹簧,可用于双质体共振式振动设备上作为主振弹簧使用。技术方案是:包含上槽板(1)、下槽板(4)、橡胶条(2),上槽板、下槽板上开有若干条沟槽(3),上槽板和下槽板的沟槽相互匹配,所形成的空间内设置橡胶条(2)。本实用新型能提供与槽板平行变形,其弹性特性曲线呈连续性、非线性,能有效满足双质体共振式振动设备力学性能要求。可作为主振弹簧用在共振式振动设备上,具有设计新颖、性能可靠、使用寿命长、噪音小等特点,可广泛用于煤炭、冶金、建材、电力等各行业对物料的处理。

标签:
电冶金技术
河北 - 唐山 来源:北方有色网 2023-03-18
焦炉三车联锁控制装置

一种焦炉三车联锁控制装置,属冶金焦化设备技术领域,目的是提供一种结构简单、价格低廉、运行稳定可靠、维护方便的焦炉推焦控制装置,其技术方案是:它由熄焦车允许推焦信号发生部分、拦焦车允许推焦信号发生部分、三车联锁控制部分、推焦车起动部分组成,熄焦车允许推焦信号发生部分和拦焦车允许推焦信号发生部分分别安装在熄焦车和拦焦车上,它们的信号输出端分别通过滑触线与三车联锁控制部分的信号输入端相连接,三车联锁控制部分的信号输出端与推焦车起动部分相连接。安装本实用新型后,推焦车只有在熄焦车和拦焦车都发出允许推焦信号时才能实施推焦作业,这就大大提高推焦的安全系数,避免了红焦落地等重大生产事故的发生。

标签:
电冶金技术
河北 - 邯郸 来源:北方有色网 2023-03-18
激光熔覆复合去毛刺辊及其制备方法

本发明属于冶金冷轧领域,具体涉及一种激光熔覆复合去毛刺辊及其制备方法;所述复合去毛刺辊包括基体和激光熔覆层,所述激光熔覆层包括以下质量百分比的成分:C:1.5%~2.2%,Si:0.5%~1.0%,Cr:4.5%~5%,V:5%~6%,Nb:0.3%~0.5%,余量为Fe;将所述基体材料阻焊成去毛刺辊基体,再依次进行粗加工、预热,向预热后的去毛刺基体表面涂覆熔覆合金粉末,通过激光熔覆形成激光熔覆层,冷却、车削加工后即得激光熔覆复合去毛刺辊。上述复合去毛刺辊的材料成分与简单的制备方法相结合得到的复合去毛刺辊表面硬度高、耐磨性强,延长了去毛刺辊的使用寿命,降低生产成本,提高经济效益。

标签:
电冶金技术
河北 - 承德 来源:北方有色网 2023-03-18
烧结机台车栏板
烧结机台车栏板 952     
 0

本实用新型涉及冶金行业中的铁粉烧结机,具体地说是一种烧结机台车栏板。它包括上栏板、下栏板,组成上栏板的每个栏板单体其上端均开有向下延伸的伸缩缝,并在所述伸缩缝的下部终点开有一个止裂孔。与传统台车栏板相比,由于本实用新型的伸缩缝和止裂孔形成了两个力的释放带,因此,上栏板因温度变化所引起的膨胀、收缩而产生的内应力及形变,可通过所述伸缩缝和止裂孔,将内应力斩断,使之内力在此得到释放。有效地防止了栏板的变形、开裂,并避免了由此引起的漏风现象,从而降低了系统漏风率,延长了栏板的工作寿命。

标签:
电冶金技术
河北 - 唐山 来源:北方有色网 2023-03-18
基于钢水成分的异钢种异断面混浇坯精准切割的控制方法

本发明涉及基于钢水成分的异钢种异断面混浇坯精准切割的控制方法,属于冶金控制方法技术领域。本发明的技术方案是:通过对实际产出混浇坯不同位置进行成分分析,计算主要成分在混浇时的变化曲线;对混浇坯成分曲线进行无量纲化处理,进行数据拟合,得出临界混浇重量区间;应用在线调宽技术,计算混浇过程铸坯宽度对长度的变化曲线,并推导混浇重量随长度的计算公式;根据临界混浇重量区间和混浇过程混浇重量随长度的计算公式,得出临界混浇坯长度区间。本发明的有益效果是:可实时根据连浇前后两炉钢水成分、成分判定范围和铸坯断面,计算混浇坯长度,并对其进行精准切割,减少了混浇坯产出比例。

标签:
电冶金技术
河北 - 邯郸 来源:北方有色网 2023-03-18
用于清理铁水沟和渣沟的钩机耙子

一种用于清理铁水沟和渣沟的钩机耙子,属于冶金技术领域,目的是提高渣铁的清理效率,其技术方案是,构成中包括矩形底板、矩形后挡板、直角三角形侧挡板和操作柄,所述后挡板与底板垂直,后挡板的下端与底板的后端固定连接,所述侧挡板设置两块,它们对称布置在底板的两侧,每块侧挡板的一条直角边与底板的侧边连接,另一条直角边与后挡板的侧边连接,所述操作柄垂直于后挡板并固定在后挡板的后侧面上。本实用新型的每一条棱都是直线型的,既便于刮削铁水沟和渣沟侧壁上粘结的渣铁,也可以高效收集沉积于铁水沟和渣沟底部的渣铁,还可以轻松地将堆积的渣铁铲起,从而大大提高了渣铁的清理效率。

标签:
电冶金技术
河北 - 石家庄 来源:北方有色网 2023-03-18
强力造球衬板
强力造球衬板 885     
 0

本实用新型涉及冶金烧结设备中的混合机,尤其是一种用于混合机内衬的强力造球衬板。包括衬板单元体,该衬板单元体呈方形,沿其对角线设置有挡板,该挡板与衬板单元体为一体成型铸造结构,各衬板单元体以其挡板呈多重断续螺旋线形式拼装。与现有技术相比,本实用新型在不改变混合机整体结构的情况下,由于衬板单元体对角线上的挡板作用,可使物料在前进过程中发生回流,能使物料在混合机内延长一倍的停留时间,从而达到提高成球率的目的;一体成型铸造结构的衬板单元体,使用可靠稳定,杜绝了以往运行不稳定的问题。

标签:
电冶金技术
河北 - 唐山 来源:北方有色网 2023-03-18
大型地脚螺栓组精确定位装置及方法

本发明涉及冶金建筑施工技术领域,具体是一种大型地脚螺栓组精确定位装置及方法。包括地脚螺栓,还包括托圈环板和设有多个地脚螺栓预留孔的定位环板,托圈环板与地面之间设置有第一支腿,定位环板位于托圈环板上方,且定位环板与托圈环板之间设置有第二支腿,地脚螺栓穿过定位环板的地脚螺栓预留孔且地脚螺栓底座固定在托圈环板上;本发明可以有效的解决熔融炉、高炉、热风炉等有大规格地脚螺栓的安装固定和精度控制问题,制作成本较低廉,可操作性强,能很好的控制安装精度,为后续的安装工作顺利进行提供了有利的保证。

标签:
电冶金技术
河北 - 唐山 来源:北方有色网 2023-03-18
减速机制动器
减速机制动器 820     
 0

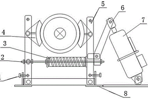
本实用新型涉及一种减速机制动器,属于冶金行业减速机设备技术领域。技术方案是:两个相互平行的立柱(5)分别通过定位螺栓(1)固定在底座(8)上,每个立柱(5)各铰接一块制动瓦块(4),两块制动瓦块(4)呈对称布置,两个相互平行的立柱(5)之间设有调节拉杆(2),调节拉杆(2)与立柱(5)垂直布置,调节拉杆(2)上设有弹簧(3),杠杆(6)的一端与调节拉杆(2)的一端连接,杠杆(6)的另一端与电力推杆(7)铰接,电力推杆(7)的另一端与底座(8)铰接。本实用新型的有益效果是:可以安装到狭小空间,防止设备在狭小空间突发事故停电不能检修,具有操作简单,安全环保,自由灵活之特点。

标签:
电冶金技术
河北 - 唐山 来源:北方有色网 2023-03-18
耐高温电力电缆
耐高温电力电缆 1183     
 0

本实用新型公开了一种耐高温电力电缆,特别涉及电力电缆技术领域。本实用新型包括复合缆芯,所述复合缆芯包括3根包裹有硅橡胶绝缘的铜芯主线和1根包裹有硅橡胶绝缘的铜芯副线,所述复合缆芯间隙设有填充层,所述复合缆芯外包依次裹内垫层和硅橡胶层;本实用新型适用于交流额定电压0.6/1KV及以下输配电线线路传输电流使用,具有良好的耐高温、阻燃、耐辐射、耐老化、耐臭氧等特性,并具有很好的耐寒性能、耐候性能,广泛应用于是由、化工、发电、冶金、航空航天等场所。

标签:
电冶金技术
河北 - 邢台 来源:北方有色网 2023-03-18
金属冷热切圆锯片
金属冷热切圆锯片 812     
 0

本实用新型涉及冶金锯片,具体是一种金属冷热切圆锯片。包括锯片本体,所述锯片本体外缘分布有平顶锯齿,锯片本体与平顶锯齿为整体一次成型结构,所述平顶锯齿顶部通过激光熔覆成型有与其融合为一体的锯齿齿尖。本实用新型的齿尖是熔覆硬化结构,具有很高的连接强度,能适应高速锯切工件的需要,锯片使用一次后,只需在平顶部位再次熔覆成形、修磨后即可使用,锯片外径尺寸可保持稳定不变;锯片体与齿尖可采用不同合金材料,以实现不同性能。如片体采用低碳、超低碳成份设计,配以适当合金化措施,经热处理后则具有良好的塑韧性、耐冲击性能和适中的强度;齿尖采用高合金、复合成份设计,则制成超硬化、耐磨损的切削刃口,提高锯片单次使用寿命。

标签:
电冶金技术
河北 - 唐山 来源:北方有色网 2023-03-18
防止转炉滑炉的装置
防止转炉滑炉的装置 1014     
 0

本实用新型涉及一种防止转炉滑炉的装置,属于冶金行业转炉炼钢设备技术领域。技术方案是:包含配重豁口(1)、底吹氩金属管(2)、转炉炉体(3)、倒锥形配重(4)和三角形限位连接板(5),转炉炉体(3)内设有底吹氩金属管(2)、转炉炉体(3)外侧设有倒锥形配重(4),倒锥形配重(4)上设有与底吹氩金属管(2)相配合的配重豁口(1),倒锥形配重(4)的底部通过三角形限位连接板(5)固定在转炉炉体(3)上。本实用新型的有益效果是:炉役中期在转炉炉体下部外面增加有配重豁口的倒锥形配重,既可以减少转炉溜炉恶性事故的发生,又可以不增加倾动电机负荷,确保转炉生产稳定顺利进行。

标签:
电冶金技术
河北 - 唐山 来源:北方有色网 2023-03-18
渣铁沟在线智能管控方法、装置、系统及介质

本申请涉及冶金技术的领域,尤其是涉及一种渣铁沟在线智能管控方法、装置、系统及介质。方法包括:获取设置在出铁沟内的各个热电偶的节点位置信息;根据节点位置信息与获取到的铁沟基础模型,建立铁沟结构模型;其中,铁沟基础模型为表征铁沟整体结构分布的模型;获取每个热电偶各自对应的节点温度信息;根据铁沟结构模型与所有的节点温度信息,确定出铁沟对应的侵蚀模型并反馈至显示设备中进行显示;根据侵蚀模型,在出铁沟存在异常时生成预警信号反馈至显示设备中。本申请具有预防铁沟被侵蚀而导致铁沟被烧穿的事故发生的效果。

标签:
电冶金技术
河北 - 石家庄 来源:北方有色网 2023-03-18
小型试验室煤粉混合机

一种小型试验室煤粉混合机,属于冶金试验设备技术领域,用于将两种或更多种干燥煤粉均匀地混合,以满足试验的要求,其技术方案是:它包括混料鼓和喷枪,混料鼓由两个圆台形壳体组合而成,在两个圆台大端壳体边缘分别在内侧和外侧有相对应的凹槽,两个凹槽相互嵌合,凹槽外套有腰箍,两个凹槽与腰箍由固定螺栓相连接,混料鼓的一端的圆台形壳体的圆台小端有连接孔与驱动轴相连接,混料鼓另一端的圆台形壳体的圆台小端有连通混料鼓内腔的插孔,插孔直径与喷枪的喷管为可滑动的紧密配合,插孔外周的壳体端面上有螺纹连接的端盖。本实用新型在混料鼓旋转的同时还可以由喷枪进行气体搅动,达到充分混合,混料鼓为两体结构,便于装料、卸料和清理。

标签:
电冶金技术
河北 - 邯郸 来源:北方有色网 2023-03-18
上一页 516 517 518 519 520 ... 753 下一页
共753页    到第

北方有色为您提供最新的河北有色金属理论与应用信息,涵盖发明专利、权利要求、说明书、技术领域、背景技术、实用新型内容及具体实施方式等有色技术内容。打造最具专业性的有色金属技术理论与应用平台!

全国热门有色金属设备推荐
展开更多 +
全国热门有色金属技术推荐
展开更多 +

 

江西省隆恩特环保设备有限公司
宣传

报名参会
更多+

报告下载

有色专家
更多+

中国矿业大学(北京)
院长/教授
北京航空航天大学、中国工程院
院士
西北有色金属研究院、中国工程院
院士
南京理工大学、中国科学院
院士
中南大学
教授
赤泥综合利用研究报告2025
推广

热门技术
更多+

推荐企业
更多+

福建省金龙稀土股份有限公司
宣传

发布

在线客服

公众号

电话

顶部
咨询电话:
010-88793500-807