青岛垚鑫智能科技有限公司
宣传

位置:北方有色 >

有色技术频道 >

分类:
全部
矿山技术
冶金技术
材料制备及加工技术
环境保护技术
分析检测技术
地区:
全部
北京
天津
上海
重庆
河北
山西
辽宁
吉林
黑龙江
江苏
浙江
安徽
福建
江西
山东
河南
湖北
湖南
广东
海南
四川
贵州
云南
陕西
甘肃
青海
内蒙
广西
西藏
宁夏
新疆
其他
其他
展开
 
全部
石家庄
唐山
秦皇岛
邯郸
邢台
保定
张家口
承德
沧州
廊坊
衡水

河北有色金属理论与应用

免费发布技术信息>>
钢包包沿积渣清理装置

本实用新型涉及一种钢包包沿积渣清理装置,属于冶金行业炼钢设备技术领域。技术方案是:包含基座(1)、横臂(5)、挡块(6)和支撑杆(8),横臂(5)为长方体,横臂(5)的一端固定在基座(1)上,挡块(6)固定在横臂(5)的另一端,挡块(6)和横臂(5)呈十字交叉型布置,支撑杆(8)位于横臂(5)的下方,支撑杆(8)的一端固定在基座(1)上,支撑杆(8)的另一端固定在挡块(6)上。本实用新型的有益效果是:可方便快捷地处理钢包包沿积渣,处理时间由背景技术中的10~15分钟减少为5分钟,大大缩短了钢包周转周期,提高了钢包循环利用率,改善了钢包包沿料及渣线砖的效果,提高钢包砌筑质量,延长了钢包的使用寿命。

标签:
电冶金技术
河北 - 承德 来源:北方有色网 2023-03-18
改进型钢包精炼炉的底吹装置

本实用新型属于钢铁冶金精炼技术领域,尤其涉及一种改进型钢包精炼炉的底吹装置,包括底座,所述底座的上表面设有氩气罐且与所述氩气罐固定连接,所述底座的上表面设有气泵,所述气泵与所述氩气罐可拆卸连接,且所述气泵位于所述氩气罐的一侧,所述氩气罐的输入端设有连接管b;在使用时,可以根据流量计指针所指的刻度,直观的观测到通过每根导气管的气体流量,进而可以通过开启或关闭阀门使流过每根导气管的气体流量相等,使气体接触均匀,提高了底吹装置的工作效率,连接管b的外表壁设有单向阀,在使用时,气体从连接管b流出后,单向阀阻止气体回流,避免气体回流污染氩气罐中的气体,使底吹装置使用更加方便。

标签:
电冶金技术
河北 - 唐山 来源:北方有色网 2023-03-18
竖管降膜吸收器的布膜装置

本实用新型公开了一种竖管降膜吸收器的布膜装置,其是在壳体上部开有进气口,侧面设有进液口;在壳体内腔的下部设有管板,管板上固定有换热管,换热管的上端与布膜器连通;在壳体的侧面围覆有一圈受液槽,进液口与受液槽连通;在壳体上周向分布有一组贯通壳体的溢流孔,受液槽通过的溢流孔与壳体内腔连通;在溢流孔和管板之间的壳体内腔中设有分布盘,布膜器固定在分布盘的中部,在分布盘上开有布液孔;布膜器在分布盘与换热管之间开有切向的布膜孔。本布膜装置实现了气液分布互不干涉且结构简单、加工方便、生产效率高、料液成膜均匀,由于周向不封闭,弹性很好、便于安装。适用于化工、轻工、冶金、食品等行业的大型竖管降膜吸收器中。

标签:
电冶金技术
河北 - 石家庄 来源:北方有色网 2023-03-18
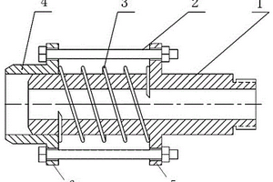
连铸钢包下水口套管安装装置

本实用新型涉及一种连铸钢包下水口套管安装装置,属于冶金行业连铸生产设备技术领域。技术方案是:包含机械手卡座(1)、支撑立柱一(2)、回转转盘一(3)、支撑横臂(4)、回转转盘二(5)、支撑立柱二(6)和固定底座(7),支撑立柱二(6)固定在固定底座(7)上,回转转盘二(5)固定在支撑立柱二(6),回转转盘一(3)通过支撑横臂(4)与回转转盘二(5)固定连接,机械手卡座(1)通过支撑立柱一(2)固定在回转转盘一(3)上,所述机械手卡座(1)上设有凹槽。本实用新型便于钢包下水口套管的安装更换,结构简单。取消了背景技术中的液压伸缩系统,能够降低设备故障频率,减少设备的维修时间与维修费用。

标签:
电冶金技术
河北 - 唐山 来源:北方有色网 2023-03-18
模具弹性补偿装置
模具弹性补偿装置 1210     
 0

本实用新型公开了一种模具弹性补偿装置,其包括:第一上模冲、第二上模冲、第三上模冲和第一下模冲、第二下模冲、第三下模冲,上下冲模一一对应。限模嵌套于第一上模冲和第一下模冲的外面;芯棒穿设于第三上模冲和第三下模冲的内部。其中限模的内壁、芯棒的外壁和第一上模冲、第二上模冲、第三上模冲以及第一下模冲、第二下模冲、第三下模冲之间形成压制空间。定位板与第一下模冲的下端相连接;以及碟簧压设于定位板的下方。其中第一下模冲处于卸压状态时,碟簧能够推动定位板以及第一下模冲回弹一定距离。本实用新型的模具弹性补偿装置能够解决多台阶粉末冶金制品压制成形时产生裂纹的问题。

标签:
电冶金技术
河北 - 廊坊 来源:北方有色网 2023-03-18
弹性涨套夹具结构
弹性涨套夹具结构 1212     
 0

本实用新型公开了一种弹性涨套夹具结构,其用于粉末冶金同步器齿毂精车,弹性涨套夹具结构包括夹具体、拉杆轴、拉杆接头、球头、锥度体、多个导柱、涨套固定板、涨套压盖、弹性涨套、连接盘以及定位垫。夹具体和锥度体都为固定的,锥度体的另一端具有锥度。拉杆轴可以通过拉杆接头、球头、多个导柱、涨套固定板、涨套压盖带动弹性涨套沿锥度体在轴向方向上往复移动,并使弹性涨套涨开或闭合。定位垫、连接盘通过螺栓与法兰盘相连接。定位垫的另一端具有凸台,凸台上具有多个沟槽,凸台的端面为定位面。本实用新型的弹性涨套夹具结构可以防止在车削加工中铁屑附着在胎具的定位面上,从而减少不合格品产生。

标签:
电冶金技术
河北 - 廊坊 来源:北方有色网 2023-03-18
气体切断阀
气体切断阀 988     
 0

本实用新型涉及一种气体切断阀,包括竖型阀体、阀板、贯穿阀体的主轴及装配与主轴轴端的驱动装置,主动连杆的一端固定在主轴上,主动连杆的另一端与中间连杆连接,在阀体中心线另一侧安装有短轴,从动连杆与短轴转动连接,从动连杆的另一端与中间连杆连接,中间连杆中部通过销轴与提升连杆连接,提升连杆的另一端安装在阀板的固定孔内。这种气体切断阀利用连杆机构原理使提升连杆以近似平行于阀门垂直中心线的方向提升阀板,消除主动连杆产生的侧向力,减小阀板的运行阻力,从而有效提高阀门运行稳定性,并延长阀门使用寿命,特别适用于冶金高炉热风炉系统作为空气和煤气的切断阀。

标签:
电冶金技术
河北 - 秦皇岛 来源:北方有色网 2023-03-18
端盖小头平面修整机
端盖小头平面修整机 1169     
 0

本实用新型公开了一种端盖小头平面修整机,属于冶金设备领域,包括振动机构和设置在震动机构下端的水平的刮刀,所述振动机构包括壳体,壳体内部底面上固定有电机,电机两端输出轴上固定有偏心块,所述壳体下端通过弹簧组连接有连接板,刮刀固定连接在连接板下端。本实用新型提高了端盖及平面紧实度;实现平面自动修理,提高劳动效率。

标签:
电冶金技术
河北 - 邢台 来源:北方有色网 2023-03-18
可调温式消防员避火服

本实用新型提供了一种可调温式消防员避火服,该避火服由避火服本体、聚氨酯橡胶管、涡流管、空气呼吸器、温度控制阀、空气调节阀组成,空气调节阀一端与空气呼吸器连接,另一端与涡流管连接,涡流管上端与聚氨酯橡胶管连接,下端安装有温度控制阀,聚氨酯橡胶管延伸至避火服本体内。本实用新型能利用压缩空气消除人体热负荷,可有效降低消防员身体各部分温度,避免头晕、呕吐等现象的发生,能适用于高温、强辐射热等消防、冶金领域。

标签:
电冶金技术
河北 - 廊坊 来源:北方有色网 2023-03-18
铸坯火切机限位挡板装置

本实用新型公开一种铸坯火切机限位挡板装置,属于冶金连铸铸坯生产设备技术领域。包括火切车车架(11)、火切车横梁(12)、接近开关(1)、接近开关(2),其特征在于:在火切车车架(11)上设置有挡板机构,在火切车横梁(12)上设置有支架(4)。采用本技术方案后,火切车车架上的接近开关与挡板距离不受小车晃动影响的装置,不再发生控制信号失效、接近开关损坏、小车动作异常的事故,从而提高了铸坯产量,减少设备事故和备件消耗。

标签:
电冶金技术
河北 - 唐山 来源:北方有色网 2023-03-18
上水口和上滑板连接结构

本实用新型涉及一种上水口和上滑板连接结构,属于冶金行业炼钢设备技术领域。技术方案是:包含上水口(1)、上滑板(2)、缝隙(3)、上水口母扣(4)和上滑板子扣(5),上水口(1)设在上滑板(2)上,上水口(1)和上滑板(2)中的浇钢孔呈同轴心布置,上水口母扣(4)和上滑板子扣(5)之间设有缝隙(3),所述上水口母扣和上滑板子扣之间的缝隙中设有火泥。本实用新型的有益效果是:上水口和上滑板间采取非紧密配合,结构简单,安装方便,能够保证与机构面接触,降低事故率。

标签:
电冶金技术
河北 - 唐山 来源:北方有色网 2023-03-18
钢板厚度方向拉伸试验卡具

本实用新型涉及冶金技术领域,特别涉及一种钢板厚度方向拉伸试验卡具,包括:卡具本体;卡具本体的一端为夹持部,夹持部用于试验机连接;卡具本体的另一端为卡接部,卡接部上开设有装样槽,装样槽与钢板试样的端部相匹配,装样槽用于卡接固定钢板试样。通过本实用新型实施例提供的钢板厚度方向拉伸试验卡具能够将钢板试样固定在试验机上,实现钢板试样厚度方向的拉伸试验,拉伸试验完成后,可将钢板试样从卡具上取下。省去了钢板试样焊接的工序,提高而工序效率,同时避免了钢板试样焊接过程中产生的各种负面效应。

标签:
电冶金技术
河北 - 唐山 来源:北方有色网 2023-03-18
用于稳定输送较细颗粒物料的专用设备

本实用新型涉及一种用于稳定输送较细颗粒物料的专用设备,属于冶金行业烧结机设备技术领域。技术方案是:上部给料机箱体(3)和下部给料机箱体(8)上下平行布置,螺旋输送机一(4)和螺旋输送机二(9)分别设置在上部给料机箱体(3)和下部给料机箱体(8)内;螺旋输送机一的首端与驱动装置(2)连接,尾端通过链轮(5)与螺旋输送机二(9)的首端连接;进料口一与料仓(1)的下料口一连接;下料口二通过下料管道一(6)与进料口二相连接,下料口三与下料管道二(10)相连接。本实用新型的有益效果:有效解决下料不稳和喷仓问题,保证了配料参数的稳定,满足了生产要求,具有加工简单,成本低,维护和操作简便,安全性高等特点。

标签:
电冶金技术
河北 - 唐山 来源:北方有色网 2023-03-18
钢水包防喷溅装置
钢水包防喷溅装置 1117     
 0

本实用新型涉及冶金技术领域,提出了一种钢水包防喷溅装置,其在钢包盛钢较满时减少钢水的喷溅,包括钢水包本体,还包括底座和漏斗,底座的顶端通过多个支撑杆连接有多个支撑板,漏斗上连接有多对滑块,支撑板上开设有多个和滑块匹配的滑槽,并且滑块滑动连接在对应滑槽的内部,漏斗的顶端连接有多个吊耳,吊耳的内部设置有拉环,多个拉环通过锁链连接有提升块,提升块上连接有挂环,漏斗连接有限位组件,限位组件包括限位环,钢水包本体上开设有和限位环匹配的限位槽,限位环和限位槽呈滑动配合,限位环上转动连接有多个卡块,并且限位槽的内部开设有多个和卡块匹配的卡槽,并且漏斗通过安装板安装有振动电机,漏斗上连接有清洁组件。

标签:
电冶金技术
河北 - 邯郸 来源:北方有色网 2023-03-18
密相塔脱硫加湿机调温加湿装置

一种密相塔脱硫加湿机调温加湿装置,属于冶金环保技术领域。包括喷淋箱钢板、进水总管、蒸汽总管、蒸气支管、喷淋管,喷淋管与进水总管连接,喷淋管及进水总管固定在喷淋箱钢板上,进水总管设置在加湿机的尾部;蒸气支管与蒸汽总管连接。在冬季或烧结机启车过程中使用蒸汽对加湿机进行温度调节,有利于保持脱硫塔内温度在脱硫剂反应所需温度范围内,避免了加水脱硫后导致塔内温度降低的情况,脱硫效率高,能确保SO2达标排放。同时,由于水蒸汽的加入减少了水的加入量,解决了脱硫剂粘壁现象的发生。当烧结生产及脱硫系统稳定以后,脱硫塔内温度正常时,可切换成单独加水脱硫。当脱硫加水系统出现故障时,也可切换成加单独水蒸汽脱硫。

标签:
电冶金技术
河北 - 唐山 来源:北方有色网 2023-03-18
热轧型钢定尺锯切升降装置

本实用新型涉及一种热轧型钢定尺锯切升降装置,属于冶金行业轧钢设备技术领域。技术方案是:托梁(3)固定在托梁支座(4)上,托梁支座(4)固定在升降梁(2)上,升降梁(2)位于固定辊道(1)的两侧;油缸(11)的缸杆与拉杆(9)驱动连接,拉杆(9)通过多个摆臂机构与升降梁(2)相连接,小摆臂(7)和大摆臂(8)的一端通过摆臂轴(6)转动连接在摆臂支座(5)上,小摆臂(7)的另一端与升降梁(2)铰接,大摆臂(8)的另一端与拉杆(9)铰接。本实用新型的有益效果是:通过托梁的上下运动,托起待切割型钢,避免固定辊道误切割,增加待切割型钢支撑点密度,使型钢切割过程中更加稳定,提高切割精度。

标签:
电冶金技术
河北 - 唐山 来源:北方有色网 2023-03-18
大型型钢校直机辊缝调整液压集成组合阀台

本实用新型涉及一种大型型钢校直机辊缝调整液压集成组合阀台,属于冶金行业轧钢校直技术领域。技术方案是:包含上腔油路集成块(1)和下腔油路集成块(2),上腔油路集成块(1)和下腔油路集成块(2)均为正方体结构,下腔油路集成块(2)通过多个螺钉(7)固定在上腔油路集成块(1)的上面。本实用新型的有益效果是:液压阀全部采用标准的板式连接,油路集成块内部不需要精密加工,维护简便,能够满足生产及产品质量要求。

标签:
电冶金技术
河北 - 唐山 来源:北方有色网 2023-03-18
承载力强的板坯翻钢机

本实用新型涉及一种承载力强的板坯翻钢机,属于冶金行业板坯翻钢机设备技术领域。技术方案是:包含左侧翻钢装置和右侧翻钢装置,左侧翻钢装置和右侧翻钢装置的结构相同,左侧翻钢装置和右侧翻钢装置对称布置在底座(2)上,所述左侧翻钢装置包含三组翻钢臂,每组翻钢臂包含一个主臂和两个辅臂,主臂设在两个辅臂之间,三组翻钢臂中的主臂和辅臂均转动连接在一个连接轴(4)上,每组翻钢臂设有一个液压缸(5)。本实用新型的有益效果是:能够将翻钢臂承受的冲击载荷转移到底座上,从而减轻翻钢臂的冲击载荷力。提高翻钢臂的承载能力,有效的保证翻钢机的平稳运行,延长翻钢机的使用寿命,降低设备的故障时间。

标签:
电冶金技术
河北 - 邯郸 来源:北方有色网 2023-03-18
型钢码垛机
型钢码垛机 885     
 0

本实用新型涉及一种型钢码垛机,属于冶金行业型钢精整设备技术领域。技术方案是:按照型钢运行方向依次顺序布置输入辊道(1)、链条输送机、分钢平托装置(4)、型钢翻转装置(6)、步进送钢装置(7)、码垛头装置(8)、升降集料装置(9)和输出辊道(10);所述型钢翻转装置(6)中的平衡齿轮(606)安装在翻转主轴(611)上,翻转摆臂A(607)和翻转摆臂B(609)的一端分别铰接在翻转磁铁(610)上;所述步进送钢装置(7)中的送钢底座(701)上设有多个暂存位支架(718),每个暂存位支架(718)上均设有暂存位永磁铁(709)。本实用新型的有益效果是:提高型钢码垛效率,能耗小,故障率低。

标签:
电冶金技术
河北 - 唐山 来源:北方有色网 2023-03-18
新型铁粉强制混料机
新型铁粉强制混料机 1080     
 0

本实用新型涉及冶金行业的一种新型铁粉强制混料机,包括进料系统,通过翻板阀与进料系统一侧连接的混料系统和与进料系统另一侧连接的混料系统。混料系统包括既能公转也能自传的碾轮机构,随碾轮公转时高速自转的行星铲机构,所述碾轮机构由碾轮、碾轮轴、轴承、碾轮臂以及机械迷宫式密封装置组成,所述机械迷宫式密封装置包括和碾轮固定在一起,随碾轮一起转动的密封盘A,和碾轮轴固定在一起,和碾轮轴一样静止不动的密封盘B,以及只起到一个固定轴承作用的活动密封盘C,三个密封盘的密封槽叠加在一起形成三道密封,有效的防止了灰尘的进入,保护了轴承,进而延长了碾轮轴承的使用寿命。通过上述方案,能够满足混料机的连续生产。

标签:
电冶金技术
河北 - 石家庄 来源:北方有色网 2023-03-18
球团矿造球加水装置
球团矿造球加水装置 1185     
 0

本实用新型涉及一种球团矿造球加水装置,属于冶金行业球团矿生产技术领域。技术方案是:包含造球盘(1)、旋转刮刀(6)、挡料板(7)和打水喷头,旋转刮刀(6)和挡料板(7)固定在造球盘(1)上,造球盘(1)设有打水喷头,所述打水喷头包含滴水喷头(2)和雾化水喷头(4),所述滴水喷头(2)靠近造球盘(1)的中心位置,滴水喷头(2)上设有多排喷孔,滴水喷头(2)与加水管一(3)连通,所述雾化水喷头(4)呈圆形,靠近造球盘(1)的边缘位置,雾化水喷头(4)与加水管二(5)连通。本实用新型的有益效果:采用滴水喷头和雾化水喷头两组打水喷头同时向造球盘加水,提高成球效果,有效地降低了吨矿设备消耗和电耗费用。

标签:
电冶金技术
河北 - 唐山 来源:北方有色网 2023-03-18
转炉煤气回收与平衡装置

本实用新型涉及冶金技术领域,特别涉及一种转炉煤气回收与平衡装置,包括转炉煤气供应设备、加压设备、转炉煤气反串设备、发电设备、转炉煤气柜、合成设备、第一切断阀、第二切断阀及流量控制蝶阀。转炉煤气供应设备通过第一切断阀与加压设备连接,加压设备通过转炉煤气反串设备与发电设备连接,加压设备的输出端与用户连接,合成设备与加压设备连接。转炉煤气供应设备通过流量控制蝶阀与转炉煤气柜连接,转炉煤气柜通过第二切断阀与加压设备连接。本实用新型提供的煤气回收与平衡装置,避免了煤气放散,保护了生态环境。可通过合成设备将焦炉煤气和高炉煤气合成转炉煤气后输送至用户,满足用户的正常使用。

标签:
电冶金技术
河北 - 唐山 来源:北方有色网 2023-03-18
非真空测温取样装置
非真空测温取样装置 1207     
 0

本实用新型涉及一种非真空测温取样装置,属于非真空中频冶金试验设备技术领域。技术方案是:包含固定连杆(1)、活动横梁(2)、滑动杆(3)、定位环(4)、取样测温器(6)、伺服电机(7)、丝杠(11)和主机架(12),丝杠(11)设在主机架(12)上,伺服电机(7)与丝杠(11)驱动连接,活动横梁(2)固定在丝杠(11)上,固定连杆(1)固定在活动横梁(2)上,滑动杆(3)与固定连杆(1)活动连接,取样测温器(6)通过定位环(4)固定在滑动杆(3)的下端。本实用新型的有益效果是:能够远距离快速准确完成测温或取样动作,有利于保护冶炼人员的安全,而且在取样和测温之间可以快速转换、调整,提高测温取样效率。

标签:
电冶金技术
河北 - 石家庄 来源:北方有色网 2023-03-18
新型铀萃取用的搅拌装置

本实用新型属于湿法冶金、石油化工技术领域,具体涉及一种铀萃取用的两相混合搅拌装置。技术方案:包括萃取混合槽、搅拌轴及搅拌桨;萃取混合槽底部设有两个进料室,萃取混合槽沿内壁均匀安装多块挡板;搅拌桨包括上圆环、下圆环以及中间矩形或梯形桨叶,桨叶垂直安装于上圆环和下圆环之间,桨叶的外缘与上圆环和下圆环的外缘平齐,桨叶的内缘与下圆环的内缘平齐。有益效果:该搅拌装置对于两相都从下进料型式的萃取混合槽匹配了较优的搅拌桨,具有普通涡轮桨较大的抽吸性能优点,增强了径向流流场,保证了萃取混合槽顶部的混合强度;槽内下方设置挡板,增强桨下方轴流混合能力,以上这都使得萃取混合槽内两相之间混合效果加强,提高了铀萃取率。

标签:
电冶金技术
河北 - 石家庄 来源:北方有色网 2023-03-18
新型喂丝机
新型喂丝机 1195     
 0

本实用新型公开了一种新型喂丝机,属于钢铁冶金设备技术领域。包括机体框架结构、主传动结构、主机旋转结构、导向结构、喂丝管升降结构。该喂丝机喂丝管可单独升降,压紧轮压紧力可分别调节,每组三个送丝轮同步送丝,喂丝速度可连续调控。与现有双线喂丝机相比具有操作方便、设备可靠性高、适用性强、喂丝过程稳定、元素收得率高等特点。

标签:
电冶金技术
河北 - 沧州 来源:北方有色网 2023-03-18
方坯连铸机用铸坯除磷装置

本实用新型提供了一种方坯连铸机用铸坯除磷装置,属于冶金炼钢领域,包括控制装置和冲洗装置;所述控制装置包括控制阀、流量计和压力表;所述冲洗装置包括水环、若干个喷管和与喷管固接的喷嘴;所述水环通过连接管与二冷水管道相连通,所述控制阀、流量计和压力表安装在连接管上;所述水环为环形,水环中间为铸坯通道,所述若干个喷管固定于水环上并分别指向铸坯的上侧、下侧、左侧和右侧。本实用新型提供的一种方坯连铸机用铸坯除磷装置结构简单,设计合理,成本低廉,除磷装置将铸坯表面的氧化铁皮进行清除,防止氧化铁皮落入后道工序的设备上,保护后道工序的设备。

标签:
电冶金技术
河北 - 承德 来源:北方有色网 2023-03-18
防抱锁紧缸
防抱锁紧缸 885     
 0

一种防抱锁紧缸,涉及冶金行业轧装机与轨座间的固定装置,属轧机固定装置技术领域,用于消除现有锁紧缸使用中活塞杆难以顺利回缩的缺陷。构成中有缸体、活塞、活塞杆及左、右腔进油孔,活塞杆外端为锁紧斜面,改进为,在活塞杆的体内增设柱塞孔及柱塞、体根部增设柱塞进油孔。增设柱塞后,回缩受力面为原有环形面加上柱塞圆截面,回缩受力面大幅度增加,回缩力大幅度提升,有效解决了活塞杆难以顺利回缩的问题;适宜作为轧机固定装置安装实用。

标签:
电冶金技术
河北 - 石家庄 来源:北方有色网 2023-03-18
烧结机台车多种篦条布置结构

本实用新型涉及一种烧结机台车多种篦条布置结构,属于冶金行业烧结生产设备技术领域。技术方案是:在台车(1)的中间设置多块篦条A(2),篦条A(2)是在篦条本体上设置多个通气孔和多个支撑体,所述支撑体对称固定在篦条本体的两侧,通气孔为从上至下贯穿于篦条本体的通孔;在蓖条A(2)的两侧设置多个篦条B(3),篦条B(3)的结构和蓖条A(2)的结构相同,篦条B(3)上的通气孔的数量小于蓖条A(2)上的通气孔的数量;在篦条B(3)的两侧设置多个篦条C(4),在篦条C(4)的两侧设置多个篦条本体。本实用新型的有益效果是:能够实现烧结过程中燃烧带均衡移动,消除烧结的边缘效应,达到均匀烧结的目的。

标签:
电冶金技术
河北 - 承德 来源:北方有色网 2023-03-18
轧辊造型底箱清理装置
轧辊造型底箱清理装置 1154     
 0

本实用新型公开了一种轧辊造型底箱清理装置,包括倾斜安装于主吸杂管外壁上且与主吸杂管连通的引流管,且于所述主吸杂管和引流管的连通处可拆卸连接有变径射流机构,于所述变径射流机构的出口端可拆卸连接有导杂管,所述导杂管的出口端连接有除尘袋,所述引流管的进口通入高压气体,主吸杂管的进口端伸入轧辊造型底箱内。本实用新型在轧辊浇注过程中,提前彻底清理底箱,且清理出来的杂物、涂料灰尘等被收集,防止环境污染,同时有利于操作者的身体健康,减少职业病发生。本实用新型适用于冶金铸造的技术领域。

标签:
电冶金技术
河北 - 邢台 来源:北方有色网 2023-03-18
高炉槽下筛分装置
高炉槽下筛分装置 752     
 0

本实用新型涉及冶金工业技术领域,具体是一种高炉槽下筛分装置,包括两个安装板,两个所述安装板相对的一端设置有等距离分布的筛分机构,所述筛分机构包括固定在两个安装板相对的一端外壁的支撑板,所述支撑板一侧外壁开设有等距离分布的第一螺纹孔,且第一螺纹孔的内壁通过螺纹转动连接有连接柱,所述连接柱一侧外壁安装有筛棒条,本实用新型能够通过设置有筛分机构,间隔分布的筛棒条可以对烧结矿进行筛分处理,且烧结矿撞击筛棒条能够带动其震动,能够使物料前行速度加快,并能够保证筛选效率,通过设置在筛棒条外部的缓冲垫和陶瓷片,由于陶瓷片的耐磨性好,比一般的金属材质的筛棒条更为耐磨,使用寿命更长。

标签:
电冶金技术
河北 - 秦皇岛 来源:北方有色网 2023-03-18
上一页 512 513 514 515 516 ... 753 下一页
共753页    到第

北方有色为您提供最新的河北有色金属理论与应用信息,涵盖发明专利、权利要求、说明书、技术领域、背景技术、实用新型内容及具体实施方式等有色技术内容。打造最具专业性的有色金属技术理论与应用平台!

全国热门有色金属设备推荐
展开更多 +
全国热门有色金属技术推荐
展开更多 +

 

江西省隆恩特环保设备有限公司
宣传

报名参会
更多+

报告下载

有色专家
更多+

太原理工大学
院长/教授
有研科技集团有限公司
首席科学家
蒙纳士苏州校区
中国工程院外籍院士/校长
长沙矿冶研究院有限责任公司
中国工程院院士
中南大学
院长/教授
赤泥综合利用研究报告2025
推广

热门技术
更多+

推荐企业
更多+

福建省金龙稀土股份有限公司
宣传

发布

在线客服

公众号

电话

顶部
咨询电话:
010-88793500-807