青岛垚鑫智能科技有限公司
宣传

位置:中冶有色 >

有色技术频道 >

分类:
全部
矿山技术
冶金技术
材料制备及加工技术
环境保护技术
分析检测技术
地区:
全部
北京
天津
上海
重庆
河北
山西
辽宁
吉林
黑龙江
江苏
浙江
安徽
福建
江西
山东
河南
湖北
湖南
广东
海南
四川
贵州
云南
陕西
甘肃
青海
内蒙
广西
西藏
宁夏
新疆
其他
其他
展开
 
全部
石家庄
唐山
秦皇岛
邯郸
邢台
保定
张家口
承德
沧州
廊坊
衡水

河北有色金属理论与应用

免费发布技术信息>>
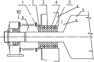
轧机轴向自位装置
轧机轴向自位装置 719     
 0

本实用新型涉及冶金机械技术领域,特别是涉及一种轧机轧辊轴向自位装置。其要点是:在轴承座1两侧前部用销轴2、13连接自位板5、9,销轴6、8连接连板7,自位板5、9外侧侧面的支承臂分别与可转动固定轴3、12的豁口相啮合。上述各构件组成的空间杆系机构可使轧辊轴承具有轴向自位性能,从而大大提高轧辊轴承的使用寿命。

标签:
电冶金技术
河北 - 秦皇岛 来源:中冶有色网 2023-03-18
防倒退螺母
防倒退螺母 1186     
 0

本实用新型涉及一种防倒退螺母,其结构特点是在内螺纹面上,在螺旋旋转平面或轴线横断面方向设有弧形凹槽,其深度是沿着螺母旋入螺栓方向上逐渐由深入浅,弧形凹槽中设有滚珠。本实用新型的特点是:螺母防倒退,安全防盗性好,止退性好,使用方便,应用范围广,通用性强,可匹配各种长度的螺杆。广泛应用于机械、冶金、化工桥梁、交通、邮电等领域,尤其适用于防盗设备,防拆设备的安装上。

标签:
电冶金技术
河北 - 保定 来源:中冶有色网 2023-03-18
液压自动退刀直缝焊管内毛刺清除装置

本实用新型涉及冶金机械领域。环形刀安装于刀架内,刀架通过T形槽和螺钉、螺栓与刀杆连接,在刀杆上安装两个导向轮、在调节杆和支承轮架上各安装一个支承轮;工作时,刮削缸活塞推动调节杆或支承轮架,通过下支承轮和导向轮将刮削力传到环形刀,实现刮削;当需要退刀时,刮削缸活塞缩回,退刀缸活塞伸出顶向焊缝,从而将环形刀的刀刃从正在刮削的焊缝中退出,实现退刀;被刮削下的焊缝铁屑从环形刀的内孔直接排除。本装置刮削精度高、调整灵活方便,可减少甚至避免由于突然停车、启动和带钢对接环焊缝通过时造成的打刀现象。

标签:
电冶金技术
河北 - 秦皇岛 来源:中冶有色网 2023-03-18
陶瓷复合颚式破碎机齿板

本实用新型公开了一种陶瓷复合颚式破碎机齿板,包括齿板本体和陶瓷块,陶瓷块镶铸在齿板本体齿顶上,陶瓷块的尺寸和排列密度从齿板的两端向中间递减,齿板本体与陶瓷块之间为冶金结合。陶瓷块为碳化钛陶瓷块,齿板本体为高锰钢材质。陶瓷块为长度为30~60mm、宽度为20~50mm、厚度为10~25mm的长方体或直径为30~50mm、高度为10~25mm的圆柱形,齿板本体齿形为梯形。陶瓷块的表面与齿板本体齿顶表面处于同一平面。本实用新型采用上述陶瓷复合颚式破碎机齿板,能够解决颚式破碎齿板使用寿命短的问题,具有抗冲击、抗挤压和抗耐磨的优点。

标签:
电冶金技术
河北 - 邯郸 来源:中冶有色网 2023-03-18
成品轧机前在线热矫直设备

本实用新型涉及一种成品轧机前在线热矫直设备,属于冶金行业热轧圆钢设备技术领域。技术方案是:两个矫直辊(8)设置在两根立柱(41)之间,每个矫直辊(8)分别设置在一个矫直辊座(7)上,每一个矫直辊座(7)分别与一个滑动轴(6)固定连接,每个滑动轴(6)分别滑动连接在一个滑动支座(9)上,每个滑动轴(6)分别由一个液压缸(5)驱动,两个液压缸(5)分别固定在两根立柱(41)上;丝杠(2)的一端设有手轮(1),丝杠(2)螺纹连接在平移框架(3)上,平移框架(3)滑动连接在龙门架(4)的横梁(42)上。本实用新型的有益效果是:布置在轧线的成品轧机前,对进入成品轧机的轧件进行矫直,使钢材成品的弯曲精度满足要求。

标签:
电冶金技术
河北 - 石家庄 来源:中冶有色网 2023-03-18
轧辊辊头装配小车
轧辊辊头装配小车 882     
 0

本实用新型涉及一种轧辊辊头装配小车,属冶金维修设备领域。包括小轮(6)、底板(7)、液压千斤顶(8)、托板(9)、V型支架(10),所述液压千斤顶(8)置于底板(7)的上端面,小轮(6)置于底板(7)的下端面,所述托板(9)置于液压千斤顶(8)上,所述V型支架(10)置于托板(9)的上端面。本装置操作方便,能够适用于不同辊颈轧辊辊头装配,保证对中质量,装配精度高,提升装配质量。采用此装置装配辊头,减少了天车占用时间、减少了人力。采用液压千斤顶支撑等部件,通用性强,易于制作。

标签:
电冶金技术
河北 - 唐山 来源:中冶有色网 2023-03-18
用于钢水包滑板间的保护浇铸装置

本实用新型涉及一种用于钢水包滑板间的保护浇铸装置,属于冶金行业炼钢设备技术领域。技术方案是:包含水口座砖(1)、上水口(2)、过钢孔(3)、上滑板(4)、下滑板(5)、下水口(6)、吹氩孔(7)和沟槽(8),上水口(2)固定在水口座砖(1)内,上水口(2)与下水口(6)之间设有上滑板(4)和下滑板(5),上水口(2)、上滑板(4)、下滑板(5)和下水口(6)上分别设有相互配合的过钢孔(3),在上滑板(4)与下滑板(5)接触的上滑板(4)的板面上设有一圈沟槽(8),所述沟槽(8)通过吹氩孔(7)与氩气管道连接。本实用新型的有益效果是:能够避免外部空气从滑板缝隙处吸入到钢水中,达到保护浇铸的要求。

标签:
电冶金技术
河北 - 唐山 来源:中冶有色网 2023-03-18
颗粒物料料量自动分配装置

本实用新型涉及一种颗粒物料料量自动分配装置,属于冶金行业颗粒物料输运设备技术领域。技术方案是:主溜槽出口皮带运输机(4)和副溜槽出口皮带运输机(5)的输送皮带水平布置在同一水平面上,主溜槽(1)竖直布置在主溜槽出口皮带运输机(4)的上方,主溜槽(1)的上半部为筒形,主溜槽(1)的下半部为与上半部相配合的倒锥形,副溜槽(3)设在副溜槽出口皮带运输机(5)的上方,副溜槽(3)连接在主溜槽(1)的上半部,副溜槽(3)的中心线与主溜槽(1)的中心线之间的夹角α为45度。本实用新型的有益效果是:能够实现颗粒物料料量的自动分配,不再需要专人控制翻板分配物料,降低了企业的设备维护成本和人工成本。

标签:
电冶金技术
河北 - 唐山 来源:中冶有色网 2023-03-18
改进的卸灰装置
改进的卸灰装置 782     
 0

一种改进的卸灰装置,属粉状物料的给料设备技术领域。提供了一种改进的卸灰装置,避免粉灰中的异物卡坏设备等事故,使其具有可靠的工作性能。技术方案是:组成中包括星星卸灰阀,其改进之处是,它还包括插板阀、密封门和箅板,插板阀水平设置于储灰斗下部,箅板设于插板阀下方,二者之间所构成腔体的壁上设有密封门。星星卸灰阀设置于箅板下部。具有自动筛分大块异物的作用,故很好地消除了灰尘中异物将星星卸灰阀等设备卡坏的事故,避免二次扬尘,降低了工人清灰的劳动强度并极大程度地改善了生产环境。节约了检修费用,并具有结构简单、投资少,加工安装方便等优点,尤适于冶金、电力等行业所产生的大量粉尘的处理。

标签:
电冶金技术
河北 - 邯郸 来源:中冶有色网 2023-03-18
炮管式在线顶坯装置
炮管式在线顶坯装置 801     
 0

本实用新型涉及一种炮管式在线顶坯装置,属于冶金行业薄板坯连铸机设备技术领域。技术方案是:工作板(1)和横杆(2)固定在顶杆(3)的一端,横杆(2)与顶杆(3)垂直布置,工作板(1)与横杆(2)和顶杆(3)所在的平面之间设有一定的夹角,顶杆(3)的另一端通过旋转轴(4)转动连接在支架(5)上,支架(5)固定在底座(6)上,底座(6)通过紧固螺栓(7)固定在坯头斗(8)上,坯头斗(8)设置在坯头斗车(9)上。本实用新型的有益效果是:能够在不中断浇注的条件下,安全、快速的将溜槽内的卡坯顶下来,无需停浇后占用生产准备时间来处理。

标签:
电冶金技术
河北 - 邯郸 来源:中冶有色网 2023-03-18
轧钢加热炉特异型耐热钢滑块

一种轧钢加热炉特异型耐热钢滑块,属冶金轧钢设备技术领域,用于解决炉底滑块的子块随钢坯运动而脱落的问题。它由子块和母块组成,两者上下嵌合,改进在于:母块上设有阶梯状凹槽,凹槽沿母块长度方向前端贯通、后端封闭,凹槽前部为T形截面、后部为矩形截面,所述子块上设有凸榫,凸榫形状轮廓与凹槽形状轮廓相互匹配。本实用新型合理设计子母块镶嵌结构,使子块退出母块的方向与钢坯运动方向相反,而子块其它方向的运动均被母块约束,从而可确保工作时子块不会脱离母块,避免了因子块脱离而造成的钢坯表面质量受损。此外,在子块上增设支撑耳,支撑耳外伸,可增加对钢坯的支撑面积,防止钢坯掉道。

标签:
电冶金技术
河北 - 邯郸 来源:中冶有色网 2023-03-18
全封闭闸式煤气盲板阀
全封闭闸式煤气盲板阀 1075     
 0

一种全封闭闸式煤气盲板阀,属阀门技术领域。用于解决现有煤气关闭阀门中如何更有效地切断大流量煤气和实现严密密封的问题。其技术方案构成中设有阀体、阀盖、闸板和阀杆,改进后,在闸板背面设置升降压紧板并使其上端与阀杆相连,升降压紧板与闸板之间、与进口法兰体内端面之间分别设有压块对,阀杆与闸板之间可伸缩活动连接。本实用新型中的闸板在关闭过程中先切断大流量煤气,继而在轴向密封力作用下与阀座紧密接触密封,可将现有煤气管网中的两个阀门减为一个,显著降低设备投资;此外,出口法兰体采用分体连接结构,无需拆卸阀门便可方便地更换阀座及密封圈,适宜在冶金、钢铁、焦化、市政等煤气管网中安装使用,特别适宜在大口径煤气阀上采用。

标签:
电冶金技术
河北 - 石家庄 来源:中冶有色网 2023-03-18
高压厚壁无缝推制弯管
高压厚壁无缝推制弯管 1033     
 0

本实用新型属于金属管件领域,涉及一种无缝钢管制造的高压厚壁无缝推制弯管,包括弯曲段(1)、直管段(2)。弯管外径D为219~1220mm、壁厚(3)为30~100mm、弯曲半径R≥2.5D、直管段长度在0~100mm;弯管整体壁厚均匀、光洁度高、外形美观,内壁无波纹折皱(4)现象,且弯管任一横截面为一圆环,经过先进的生产和检测工艺制造而成;同时生产效率高、生产成本低、技术先进、质量可靠、使用寿命长。以国内外优质无缝钢管为原材料,生产成本低,生产效率高,节省制造材料20%以上。产品符合国内外标准和行业标准要求,广泛应用于石油、化工、冶金、电力、锅炉、输气等行业,尤其在发电厂四大管道(主汽、热段、冷段、高压给水)中使用较为广泛。

标签:
电冶金技术
河北 - 沧州 来源:中冶有色网 2023-03-18
高压厚壁大口径无缝热压弯头

本实用新型属于金属管件领域,涉及一种无缝钢管制造的高压厚壁大口径无缝热压弯头,包括弯曲段(1)、直管段(2)。弯头耐高压、耐高温;弯头外径D为610~1220mm、壁厚(3)为30~150mm、弯曲半径R在1.0D~1.5D之间、直管段长度在0~100mm;弯头整体壁厚均匀、外形美观,经过先进的生产和检测工艺制造而成;产品质量高、使用寿命长,节省制造材料20%以上,生产成本低,生产效率高,以国内外优质无缝钢管为原材料,产品符合国内外标准和行业标准要求,广泛应用于石油、化工、冶金、电力、锅炉、输气、造船等行业,尤其在发电厂四大管道(主汽、热段、冷段、高压给水)中使用较为广泛。

标签:
电冶金技术
河北 - 沧州 来源:中冶有色网 2023-03-18
更换机井井管的专用夹具

本实用新型涉及一种更换机井井管的专用夹具,属于冶金行业深井设备技术领域。技术方案是:底板(7)上设有圆孔(10),圆孔(10)的径向两侧分别设有一个限位角铁(6),两个限位角铁(6)与底板(7)之间构成两个与锁板(5)相匹配的限位槽(11),两个活动锁板(5)分别设置在限位角铁(6)与底板(7)之间构成的限位槽(11)内,每个活动锁板(5)上分别固定一个顶块(4),两个顶块(4)之间的距离小于井管连接法兰(9)的直径;吊环(1)位于圆孔(10)的上方,吊环(1)两端分别通过筋板(2)固定在底板上。本实用新型的有益效果是:能够固定住井管,方便井管的更换,操作方便,结构简单,使用寿命长,维修成本低。

标签:
电冶金技术
河北 - 衡水 来源:中冶有色网 2023-03-18
双金属管坯
双金属管坯 1219     
 0

本实用新型公开了一种双金属管坯,包括外层管坯和内层坯,所述外层管坯和内层坯间设有相适配的锥面;所述相适配的锥面粗糙度在Ra值0.8-0.012/μm之间。所述双金属管坯的内层坯为内层管坯,所述内层管坯的长度大于外层管坯,外层管坯全部套装在内层管坯上,在双金属管坯的下端内层管坯长出的部分设有夹持端头。所述双金属管坯的内层坯为棒料坯,所述双金属管坯的棒料坯长度大于外层管坯,外层管坯全部套装在棒料坯上,在双金属管坯的下端棒料坯长出的部分设有夹持端头。本实用新型的外层管坯和内层管坯之间相适配的锥面在摩擦焊机上经过旋转-摩擦升温到冶金结合温度-轴向加压顶锻三个阶段焊接结合,提高了焊接强度,节省动力能源,提高生产效率。

标签:
电冶金技术
河北 - 邯郸 来源:中冶有色网 2023-03-18
高炉渣仓挡水挡烟雾装置

本实用新型涉及一种高炉渣仓挡水挡烟雾装置,属于冶金行业高炉出渣工艺技术领域。技术方案是:渣仓(20)的一侧设有冲渣水流向沉淀池的仓门口(23),在仓门口(23)上设有刀刮布(3)和挡水板(8),所述刀刮布(3)的上端固定在渣仓(20)的仓壁上,刀刮布(3)的下端固定在挡水板(8)上,挡水板(8)通过钢丝绳(2)上下滑动连接在仓门口(23)上,仓门口(23)的两侧设有滑道(10),挡水板(8)上设有与滑道(10)相配合的导向轮(4),钢丝绳(2)通过定滑轮(1)和卷扬机(9)相连接。本实用新型的有益效果是:能够减缓冲渣水流速度,增加冲渣水与高炉渣的接触时间,使冲渣水和高炉渣充分进行热交换,提高冲渣水水温。

标签:
电冶金技术
河北 - 承德 来源:中冶有色网 2023-03-18
镀锡机组电极板在线清理装置

本实用新型涉及一种镀锡机组电极板在线清理装置,属于冶金行业镀锡机组电极板打磨工具技术领域。技术方案是:清洗管(4)的一端设有钢丝刷(1)和不锈钢喷嘴(3),清洗管(4)的另一端设有操作把手(5)、不锈钢球阀(6)和快速接头(7),软管一(8)的一端连接在快速接头(7)上,软管一(8)的另一端连接在高压清洗机(9)的清洗液出口上,软管二(11)的一端连接在高压清洗机(9)的清洗液入口上,软管二(11)的另一端设置在盛有清洗液的塑料储液桶(10)内。本实用新型的有益效果是:能够在电镀锡机组极板不拆卸的情况下将极板上附着的污渍清理干净,制作成本低廉,操作简单,使用寿命长。

标签:
电冶金技术
河北 - 衡水 来源:中冶有色网 2023-03-18
用于生料辊压的提升机

本实用新型公开了一种用于生料辊压的提升机,包括设有进料端和出料端的提升机本体以及多个等距离分布于提升机本体内的料斗,还包括设于提升机本体底部的积料清理机构;所述积料清理机构包括于提升机本体料斗下降区底部倾斜设置的接料板,以及于提升机本体料斗提升区底部设置的接料小车,且接料板的自由端延伸至接料小车的上方。本实用新型解决了洒落物料沉积在提升机底部难以清理,易导致提升机内部堵塞或卡顿的问题。本实用新型适用于化工、冶金、建材、粮食等行业,用于垂直提升物料。

标签:
电冶金技术
河北 - 廊坊 来源:中冶有色网 2023-03-18
防止下水口水平移动的机构旋套

本实用新型涉及一种防止下水口水平移动的机构旋套,属于冶金行业炼钢浇铸技术领域。技术方案是:包含旋套块状外螺纹(1)、滑动小车内螺纹(2)、旋套(3)、滑动小车(4),旋套四周均匀设有三块旋套块状外螺纹,旋套块状外螺纹具有斜度,滑动小车内设有滑动小车内螺纹,旋套块状外螺纹与滑动小车内螺纹相匹配,旋套与滑动小车通过旋套块状外螺纹和滑动小车内螺纹连接。本实用新型的有益效果是:由于旋套块状外螺纹具有斜度,不仅可以垂直旋进,水平方向也有分力保证旋套不水平移动。确保了下水口与下滑板紧密连接,保证了钢坯的正常浇铸,提高了生产效率。具有制作简单,使用方便,安全可靠等特点。

标签:
电冶金技术
河北 - 唐山 来源:中冶有色网 2023-03-18
手动测量拉伸试样断后伸长率的辅助装置

本实用新型涉及一种手动测量拉伸试样断后伸长率的辅助装置,属于冶金试验检测设备技术领域。包括底座(1)、固定板(2)、定位板(3)、侧挡板(4)、夹持块(5)、压缩弹簧(8),所述底座(1)、固定板(2)、定位板(3)、侧挡板(4)、夹持块(5)为长方形钢板,由固定板(2)、侧挡板(4)和两块定位板(3)固定焊接在底座(1)上表面并围成长方形箱型空间,所述夹持块(5)设置在箱型空间内,在夹持块(5)与定位板(3)之间设置有压缩弹簧(8)。本实用新型制作简单、使用方便,保证试样断裂部分对接在一条轴线上,保证试样断裂部分紧密贴合,保证测量过程中试样不发生移动,测量数据准确。

标签:
电冶金技术
河北 - 唐山 来源:中冶有色网 2023-03-18
高炉煤粉喷吹装置
高炉煤粉喷吹装置 1186     
 0

一种高炉煤粉喷吹装置,属冶金技术领域。其技术方案是:该装置构成中包括内腔底部设置有流化装置的喷吹罐和与喷吹罐连接的流化管路、喷吹管路、装料管路、充压管路和放散管路,所述充压管路设置有主充压阀、副充压阀和稳压阀,所述主充压阀的进气口接气源,出气口接喷吹罐顶盖上的充压口,所述副充压阀的进气口接主充压阀的出气口,出气口与喷吹罐下部锥形段的充气口连接,所述稳压阀接于喷吹罐顶盖上的充压口。本实用新型采用两条充压支路同时从喷吹罐的顶部和底部对罐腔充压,不仅缩短了充压时间,提高了高炉煤粉喷吹装置的工作效率,而且下部充压还改善了煤粉在罐内的流化度,使煤粉喷吹得更加均匀,喷吹管路更加通畅。

标签:
电冶金技术
河北 - 邯郸 来源:中冶有色网 2023-03-18
自旋式料面锥形压孔装置

本实用新型属于钢铁冶金领域,尤其涉及一种自旋式料面锥形压孔装置,所述自旋式料面锥形压孔装置被设置在烧结机台车上,所述烧结机台车上方设有安装梁,平料圆辊通过连接装置安装在安装梁,所述平料圆辊上面布满用于在成型的烧结料面上进行打孔的锥形狼牙,所述平料圆辊通过料面平行移动带动其旋转。本实用新型提供一种通过对成型的烧结料面打孔,提高烧结透气性能,从而加快烧结垂直燃烧速度,提高烧结机机速,提升烧结产能的自旋式料面锥形压孔装置。

标签:
电冶金技术
河北 - 邯郸 来源:中冶有色网 2023-03-18
螺旋喷头式高炉炉顶雾化打水装置

本实用新型涉及一种螺旋喷头式高炉炉顶雾化打水装置,属于冶金行业高炉炉顶雾化打水设备技术领域。技术方案是:包含螺旋喷头(1)、水管一(2)、护套管(3)、水管二(4)、冲压弯头(5)、水管三(6)和炉顶高压水环管(7),水管一(2)外层设有护套管(3),水管一(2)一端设有螺旋喷头(1),且伸入高炉炉体内,另一端与水管二(4)连通,水管二(4)的另一端通过冲压弯头(5)与水管三(6)连通,水管三的另一端与炉顶高压水环管(7)连通,所述螺旋喷头呈螺旋状,口径从里向外逐渐变小。本实用新型的有益效果是:螺旋喷头不易堵塞,安全性高。实现快速、均匀降温。低能耗,低成本,无需附加任何气源或电气动力装置。

标签:
电冶金技术
河北 - 唐山 来源:中冶有色网 2023-03-18
多流连铸机铸坯在线托举称量装置

本实用新型涉及一种多流连铸机铸坯在线托举称量装置,属于冶金行业连铸机设备技术领域。技术方案是:该称量装置设置在多流连铸机的每一流铸坯输送辊道上,它包含三个托举机构、一根纵梁(4)和多个铸坯支架(5),多个铸坯支架(5)分别固定在纵梁(4)上,多个铸坯支架(5)分别位于铸坯输送辊道的输送辊(6)之间,纵梁(4)的下方设有三个托举机构,三个托举机构分别为后托举机构、中托举机构和前托举机构;所述中托举机构和前托举机构与后托举机构相同。本实用新型的有益效果是:能够方便多流连铸机铸坯的在线称重,占用铸坯辊道空间小,不易损坏,提高连铸坯称量的控制精度,减少称量误差。

标签:
电冶金技术
河北 - 张家口 来源:中冶有色网 2023-03-18
炉辊轴承座防热辐射密封装置

本实用新型涉及冶金行业加热炉、退火炉等工业炉窑,尤其涉及到工业炉窑炉底辊、转向辊、张紧辊等轴承座防热辐射装置。技术方案是由压板(1)、隔热耐火材料(3)、保持架(4)组成,在炉壳(6)和炉辊(7)之间设有保持架(4),保持架(4)两端设有压板(1),压板(1)外形与保持架(4)相匹配,中间设有隔热耐火材料(3)。本实用新型具有结构简单、投资少、安装方便之特点,彻底消除了炉腔对轴承座的直接热辐射,同时由于隔热耐火材料的密封作用,减缓了轴腔与炉腔的对流热量交换,起到了密封作用,又保护了轴承和轴承密封,确保了炉辊稳定、正常的运转。

标签:
电冶金技术
河北 - 唐山 来源:中冶有色网 2023-03-18
渣浆泵
渣浆泵 926     
 0

本实用新型公开了一种渣浆泵,属于冶金、矿山、建材、电力等行业固液混合浆体的输送设备。它的前护板为圆锥形,叶轮的流道轴截面为圆弧形。本实用新型浆体流动顺畅,冲击摩擦力小,工作平稳,噪音小,使用寿命长,能耗低,工作效率高。

标签:
电冶金技术
河北 - 唐山 来源:中冶有色网 2023-03-18
冷轧带钢重卷机组重卷裁边在线张紧机构

本实用新型涉及一种冷轧带钢重卷机组重卷裁边在线张紧机构,属于冶金行业冷轧带钢重卷机组生产设备技术领域。技术方案是:压辊(5)和托辊(7)依次设置在重卷机组圆盘剪之前,压辊(5)位于带钢的上方,托辊(7)位于带钢的下方;所述支架(3)包含支座(31)和固定板(32),压辊(5)的两端分别转动连接在支座(31)上,固定板(32)固定在支座(31)上,调整螺栓(2)的下端压紧在压辊(5)上,调整螺栓(2)的上端穿过固定板(32)与调节手轮(1)相连接,调整螺栓(2)上设有压紧弹簧(4)。本实用新型的有益效果是:能够使板型较差的原料相对平直的进入圆盘剪,避免剪切时起皱、折边,提高裁剪效率及裁剪质量。

标签:
电冶金技术
河北 - 衡水 来源:中冶有色网 2023-03-18
快速剪切实现金属板材固态连接的装置

本实用新型公开了一种快速剪切实现金属板材固态连接的装置,包括上剪模、下剪模以及弹性顶料装置,所述上剪模与下剪模切削刃相对设置,所述下剪模一侧设置弹性顶料装置,弹性顶料装置与上剪模位于下剪模同一侧、且弹性顶料装置位于上剪模正下方;所述弹性顶料装置包括顶料板和弹性装置。本实用新型采用剪切的方式进行金属坯料的连接,在剪切过程中,两块金属板材剪切部位金属被在上剪模和下剪模的作用下发生滑移、位错变形,产生新生金属面,变形功转化为热能导致金属升温,通过微观塑性变形、急剧变形热能和摩擦热能使连接金属面产生微量液相而扩大连接表面的物理接触,并因温度和压力作用使板材间新生金属面形成元素扩散、冶金结合。

标签:
电冶金技术
河北 - 石家庄 来源:中冶有色网 2023-03-18
冲天炉废气的净化除尘器

一种净化除尘器,特别适合于冶金、铸造行业中冲天炉废气的净化除尘,它包括:筒体,下部筒沿切线方向有一气体进口,上部筒侧面有雾化喷头水进口管及水膜布水管,其中,雾化喷头切线方向有进水口,喷头下部有雾化喷嘴,水膜布水管呈圆圈形,管下方开有布水孔,上筒体有排烟筒6,除尘器还包括上、下安装检修用平台,本净化除尘器结构简单,投资少,无运转设备,使用方便,净化除尘效果好。

标签:
电冶金技术
河北 - 承德 来源:中冶有色网 2023-03-18
上一页 510 511 512 513 514 ... 752 下一页
共752页    到第

中冶有色为您提供最新的河北有色金属理论与应用信息,涵盖发明专利、权利要求、说明书、技术领域、背景技术、实用新型内容及具体实施方式等有色技术内容。打造最具专业性的有色金属技术理论与应用平台!

全国热门有色金属设备推荐
展开更多 +
全国热门有色金属技术推荐
展开更多 +

 

江西省隆恩特环保设备有限公司
宣传

报名参会
更多+

报告下载

有色专家
更多+

矿冶科技集团江苏北矿金属循环利用科技有限公司
书记 / 总经理
长沙矿冶研究院
总经理
赣州江钨钨合金有限公司
工程师
中国矿业大学
副院长/教授
辽宁忠旺集团
教授级高工
赤泥综合利用研究报告2025
推广

热门技术
更多+

推荐企业
更多+

福建省金龙稀土股份有限公司
宣传

发布

在线客服

公众号

电话

顶部
咨询电话:
010-88793500-807