青岛垚鑫智能科技有限公司
宣传

位置:北方有色 >

有色技术频道 >

分类:
全部
矿山技术
冶金技术
材料制备及加工技术
环境保护技术
分析检测技术
地区:
全部
北京
天津
上海
重庆
河北
山西
辽宁
吉林
黑龙江
江苏
浙江
安徽
福建
江西
山东
河南
湖北
湖南
广东
海南
四川
贵州
云南
陕西
甘肃
青海
内蒙
广西
西藏
宁夏
新疆
其他
其他
展开
 
全部
石家庄
唐山
秦皇岛
邯郸
邢台
保定
张家口
承德
沧州
廊坊
衡水

河北有色金属理论与应用

免费发布技术信息>>
用于井式炉内不锈钢盘条热处理的吊具

本实用新型涉及一种用于井式炉内不锈钢盘条热处理的吊具,属于冶金行业热处理技术领域。技术方案是:中心杆(1)的一端设有挂钩(2),中心杆(1)上设有一排固定齿排(3)和两排活动齿排(4),所述固定齿排(3)和活动齿排(4)均包含多个间隔布置的齿,固定齿排(3)固定在中心杆(1)上,活动齿排(4)通过铜套(8)转动连接在中心杆(1)上,铜套(8)上设有定位螺钉(5),固定齿排(3)的齿和活动齿排(4)的齿错位布置。本实用新型的有益效果是:1)不锈钢盘条在加热时,可以均匀悬挂在井式炉内,避免堆放,使其各个部位受热均匀;2)盘条散开分布,容易热透,可以减少加热时间,在一定程度上可以节约资源,降低成本。

标签:
电冶金技术
河北 - 石家庄 来源:北方有色网 2023-03-18
阀门驱动扁头和液压缸缸杆扁头连接销轴

本实用新型涉及一种阀门驱动扁头和液压缸缸杆扁头连接销轴,属于冶金设备技术领域。包括销轴(2)、压板(3)、螺栓(4)、轴顶板(6)、定位槽(7)、螺栓孔(8)、螺栓孔(9),阀门驱动扁头(5)通过销轴(2)装配在油缸扁头(1)内,所述销轴(2)的顶端设置有圆形轴顶板(6),在轴顶板(6)顶部设置有长条形定位槽(7),所述压板(3)为长条形,长度长于定位槽(7),定位槽(7)的两端设置有螺栓孔(9),所述油缸扁头(1)的安装孔两侧外壁上设置有螺栓孔(8)。本实用新型装置能够有效的保证传动的安全可靠,防止销轴在设备运转时转动、串动造成传动失效的缺陷,避免设备发生故障。

标签:
电冶金技术
河北 - 唐山 来源:北方有色网 2023-03-18
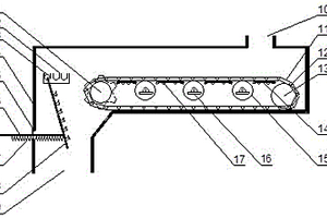
棒材雾化冷却装置
棒材雾化冷却装置 793     
 0

本实用新型涉及一种棒材雾化冷却装置,属于冶金行业棒材生产设备技术领域。技术方案是:包含行走轮(1)、支架立柱(2)、喷嘴(7)、球阀(8)、软管(11)、喷管(12)和喷雾支架,所述喷雾支架为倒U型,喷雾支架固定在支架立柱(2)上,支架立柱(2)设有行走轮(1),喷雾支架上设有多排喷管,每排喷管分别连接在总进水管上,总进水管上配有球阀(8),每排喷管均设有单独的控制阀门,每排喷管之间采用软管连接,每排喷管上分别设有多个喷嘴,所述喷嘴为带滤芯铜制低压喷嘴。本实用新型的有益效果是:该装置可移动、可伸缩,安装简单,冷却效果好,特别适用于对钢材冷却速度有要求的特殊钢材,具有可控冷却速度和冷却时间的特点。

标签:
电冶金技术
河北 - 石家庄 来源:北方有色网 2023-03-18
棒材端部对齐装置
棒材端部对齐装置 960     
 0

本实用新型涉及一种棒材端部对齐装置,属于冶金行业棒材精整设备技术领域。技术方案是:包含左侧导轨(1)、右侧导轨(2)、动力机构(5)、对齐挡板(7)、导向支架(8)、组合轴承(9)和导轮(11),所述动力机构(5)包含支撑座(12)和固定在支撑座(12)上的液压缸(13),液压缸(13)的活塞杆铰接在导向支架(8)的一端,对齐挡板(7)固定在导向支架(8)的另一端,导向支架(8)的两侧分别通过组合轴承(9)和导轮(11)滚动连接在左侧导轨(1)和右侧导轨(2)上。本实用新型的有益效果是:能够避免棒材端部产生二次变形,对齐误差精度控制在≤5mm,降低了员工的劳动强度,提高了生产效率。

标签:
电冶金技术
河北 - 石家庄 来源:北方有色网 2023-03-18
连铸机结晶器铜管与结晶器足辊布置结构

本实用新型涉及一种连铸机结晶器铜管与结晶器足辊布置结构,属于冶金行业连铸设备技术领域。技术方案是:包含结晶器铜管(1)与结晶器足辊,所述结晶器铜管(1)一端设有结晶器铜管上口(2),另一端设有结晶器铜管下口(3),结晶器足辊设在结晶器铜管下口(3)处,所述结晶器足辊包含足辊一(4)和足辊二(5),足辊一(4)和足辊二(5)沿结晶器铜管(1)中心线两侧对称布置,足辊一(4)与足辊二(5)之间的距离L小于结晶器铜管下口(3)的内径。本实用新型的有益效果是:通过调整结晶器足辊开口度,结晶器铜管的使用寿命可延长50%,结晶器铜管的过钢量同样增加50%,降低了生产成本。

标签:
电冶金技术
河北 - 唐山 来源:北方有色网 2023-03-18
炼钢转炉二文喉口自动调节装置

本实用新型涉及一种炼钢转炉二文喉口自动调节装置,属于冶金行业炼钢转炉设备技术领域。技术方案是:包含电动机(1)、提升减速机(2)、手轮(3)、上限位挡板(4)、下限位挡板(5)、连杆(6)、固定台架(7)和限位开关(8),电动机(1)与提升减速机(2)连接,提升减速机(2)上设有手轮(3),连杆(6)设在固定台架(7)上,连杆(6)的上端与提升减速机(2)驱动连接,连杆(6)的下端与二文喉口重砣连接,连杆(6)上设有限位开关(8),固定台架(7)上设有与限位开关(8)相配合的上限位挡板(4)和下限位挡板(5)。本实用新型能够实现自动调节二文喉口开度,保证除尘效果。结构简单,使用方便。

标签:
电冶金技术
河北 - 唐山 来源:北方有色网 2023-03-18
LF精炼炉电极冷却汽雾喷嘴

本实用新型涉及一种LF精炼炉电极冷却汽雾喷嘴,属于冶金行业LF精炼炉冷却设备技术领域。技术方案是:喷嘴本体(1)为一端封闭的管状,喷嘴本体(1)封闭的一端与进气管(3)相连接,进气管(3)的中心线与喷嘴本体(1)的中心线重合,喷嘴本体(1)的另一端为水雾喷出口;喷嘴本体(1)的径向设有进水管(2),喷嘴本体(1)固定在升降底座(4)上,升降底座(4)的两端设有支撑轴承座(5),所述支撑轴承座(5)固定在旋转底座(8)上,升降底座(4)和旋转底座(8)之间设有调节螺栓(9),旋转底座(8)的中心设有旋转支撑轴(6)。本实用新型的有益效果是:能够在LF精炼炉次间对电极发红的端部进行汽雾降温,安全可靠。

标签:
电冶金技术
河北 - 邯郸 来源:北方有色网 2023-03-18
轧机除鳞水嘴拆卸装置
轧机除鳞水嘴拆卸装置 1234     
 0

本实用新型涉及一种轧机除鳞水嘴拆卸装置,属于冶金行业轧钢设备技术领域。技术方案是:包含除磷水嘴卡紧装置(2)、螺母套(3)、调整杆(4)和重力锤(5),除磷水嘴卡紧装置(2)通过螺母套(3)与调整杆(4)连接,调整杆(4)上设有重力锤(5),重力锤(5)与调整杆(4)滑动连接,所述除磷水嘴卡紧装置(2)为两件结构相同的内部带凸台外部设有螺纹的半环。本实用新型的有益效果是:方便除磷水嘴的拆卸,保证了除磷水嘴不受到机械伤害,延长了除磷水嘴的使用寿命,节省了除磷系统维护时间,同时除鳞效果得到保证,提高了高压水除鳞系统工作效率,结构简单,使用方便。

标签:
电冶金技术
河北 - 唐山 来源:北方有色网 2023-03-18
冷连轧机组防止乳化液逆流装置

本实用新型涉及一种冷连轧机组防止乳化液逆流装置,属于冶金行业冷连轧机组设备技术领域。技术方案是:该装置设置在两架轧机之间,它包含毛毡(11)、支撑杆(12)和支撑架(14),按照带钢的轧制方向,支撑杆(12)通过支撑架(14)固定在后一架轧机的牌坊上,支撑杆(12)位于后一架轧机带钢入口的上方,毛毡(11)固定在支撑杆(12)上,毛毡(11)的下端自然下垂至带钢上;所述支撑架(14)固定在轧机的牌坊上,支撑杆(12)转动连接在支撑架(14)上;所述支撑杆(12)的两端设有转动手柄(13)。本实用新型的有益效果是:能够防止连轧机组乳化液逆流,保证厚度仪测量的准确度,提高成材率。

标签:
电冶金技术
河北 - 唐山 来源:北方有色网 2023-03-18
智能多通道免维护无纸无笔模拟顺序记录仪

本实用新型是一种多通道智能免维护无纸无笔模拟顺序记录仪。本实用新型是一种以微处理机主控制的,连有单片机为核心的数据采集电路、平板显示电路、大容量存贮介质等组成的具有测量、计算、显示、历史数据存贮及通讯于一体的高级记录仪表。通过仪表面板上的操作键盘可对仪表进行设定,插入外接标准键盘可进行功能再开发;本仪表可单独使用,也可组网使用;本表结构为标准盘装型,由于内置UPS电源也可做为便携表使用。适用于电力、石化、冶金、科研等部门。

标签:
电冶金技术
河北 - 张家口 来源:北方有色网 2023-03-18
转炉添加废钢用天车防止钢丝绳磨损的装置

本实用新型涉及一种转炉添加废钢用天车防止钢丝绳磨损的装置,属于冶金行业机械传动设备技术领域。技术方案是:天车小车(3)的底板上具有天车钢丝绳(11)出口,天车钢丝绳(11)出口位于天车钢丝绳滚筒(2)的下方,在天车小车(3)的侧板上设置承载辊(5),承载辊辊身(9)呈水平状态,天车钢丝绳(11)支撑在承载辊辊身(9)上,承载辊辊身(9)的两端分别通过承载辊轴承(8)与承载辊轴承座(7)转动连接,所述承载辊轴承座(7)通过承载辊底脚(10)固定在天车小车(3)的侧板上。本实用新型的有益效果是:能够减少钢丝绳的磨损,延长钢丝绳的使用寿命,降低生产成本,避免钢丝绳磨损严重产生安全事故。

标签:
电冶金技术
河北 - 张家口 来源:北方有色网 2023-03-18
流体管道带压堵漏装置

本实用新型涉及一种流体管道带压堵漏装置,属于冶金行业流体管道泄露堵漏设备技术领域。技术方案是:弧形扣板(4)与泄漏管道(6)之间设有密封圈(1),弧形扣板(4)的一侧设有与弧形扣板(4)垂直布置的外沿一(10),弧形扣板(4)的另一侧设有与弧形扣板(4)垂直布置的外沿二(11),弧形扣板(4)的外沿一(10)与钢丝绳(7)的一端相连接,弧形扣板(4)的外沿二(11)通过连接销轴(8)与钢丝绳(7)的另一端相连接,连接销轴(8)上设有旋紧螺母(9);管接头(3)的一端焊接在弧形扣板(4)上,管接头(3)的另一端设有球阀(2)。本实用新型的有益效果是:能够在狭窄空间下对流体介质管道实施带压封堵。

标签:
电冶金技术
河北 - 承德 来源:北方有色网 2023-03-18
含铝耐低温热轧H型钢的冶炼装置

本实用新型涉及钢冶炼技术领域,尤其涉及一种含铝耐低温热轧H型钢的冶炼装置,解决了现有技术中的无法实现对冶炼转炉熔池搅拌功率的调整,降低了熔池的搅拌效果的问题,包括支撑架和承接板连接的固定架、还包括有冶炼转炉和氧枪,所述支撑架和固定架之间设置有由安装架承载的冶炼转炉,所述冶炼转炉的底部开设有三个底吹孔,并贯通底吹通道,底吹通道上安装设置了流量控制阀;所述底吹通道的外围设置有冷却剂管。通过采用顶底复吹的冶炼方式,即使冶炼转炉的上部通过顶吹氧枪供应炼钢主要用氧,同时从冶炼转炉的喷嘴通入氧或惰性气体,有时伴之必要的粉剂吹入熔池,以增强熔池的搅拌和相应的冶金反应。

标签:
电冶金技术
河北 - 唐山 来源:北方有色网 2023-03-18
扣头钢板检测装置
扣头钢板检测装置 773     
 0

本实用新型涉及一种扣头钢板检测装置,属于冶金行业中厚板轧制装置技术领域。本实用新型的技术方案是:轮(1)位于两个输送辊道(6)之间,轮(1)的最大高度低于两个输送辊道(6)最高点之间连线;槽型框(8)内的立杆套有弹簧(4),立杆的底端为立杆底端触头(9),立杆底端触头(9)与下面的接近开关(5)相匹配。本实用新型的有益效果是:安装在钢板加速冷却控制系统入口输送辊道上,检测到扣头钢时把信息传到轧机主操控系统,及时把扣头钢开回至轧机平头,减少非计划停机,提高生产效率。

标签:
电冶金技术
河北 - 邯郸 来源:北方有色网 2023-03-18
湿式雾化水除尘装置
湿式雾化水除尘装置 741     
 0

一种湿式雾化水除尘装置,属湿法除尘技术领域。所要解决的技术问题是提供一种用于混合机的湿式雾化水除尘装置,该装置对高粉尘烟气具有良好的除尘效果,使用中不易出现积灰堵塞等现象。其构成包括壳体、高压喷管、烟道。其中,壳体上方设有烟囱、底部设有排水管,高压喷管一端端伸至壳体内,伸入段上布有若干喷嘴,烟道一端与壳体连接,另一端与混合机出料口相连通。本实用新型可对高含尘烟气进行强力净化,除尘效果好,无除尘器及烟道积灰现象,无需电力驱动、结构简单,故障率低,适宜安装在含尘量高的除尘系统中使用,尤其适于作为冶金烧结混合机的除尘装置。

标签:
电冶金技术
河北 - 邯郸 来源:北方有色网 2023-03-18
大型减速机端盖密封装置

本实用新型公开了一种大型减速机端盖密封装置,涉及冶金密封技术领域。它包括由减速机传动轴、减速机轴承、挡油压盘、甩油环、压盖组成的减速机部分,其特征在于:还包括密封主体和两个分半金属垫片;密封主体和两个分半金属垫片配合设置;密封主体上设置有开口;分半金属垫片和密封主体均通过连接装置与压盖连接;压盖处,密封主体的内侧设置密封装置。本实用新型的有益效果是:此装置,更好的密封使用,防止内部的油液大量泄漏,使用方便。

标签:
电冶金技术
河北 - 衡水 来源:北方有色网 2023-03-18
物料输送装置
物料输送装置 1192     
 0

本实用新型涉及一种物料输送装置,属于冶金行业物料输送设备技术领域。技术方案是:刮板机头轮(1)和刮板机尾轮(13)通过刮板机链条(11)传动连接,滑道(14)和托滚轮(15)间隔排列在链条(11)下方,滑道(14)设有滑道支撑(17),滑道支撑(17)固定在外壳(4)上,托滚轮(15)转动连接在轴承座(16)上;落料挡板(8)位于刮板机头轮(1)下方的出料口(9)处,落料挡板(8)的上端通过落料支撑(3)转动连接在卡槽(2)上,卡槽(2)设置在外壳(4)上,落料挡板(8)的下端与水平布置的伸缩杆(6)连接。本实用新型的有益效果是:避免刮板机链条被卡阻后造成的设备停机,减轻物料对下层皮带的冲击。

标签:
电冶金技术
河北 - 唐山 来源:北方有色网 2023-03-18
防滑带钢轧辊刻痕装置

本实用新型涉及一种防滑带钢轧辊刻痕装置,属冶金机加工技术领域。技术方案是:包含铣刀头(1)、铣头电机(2)、固定底座(3)、紧固螺栓(4)、车床刀架(5)、轧辊(6)、凸台(7),铣刀头和铣头电机固定在固定底座上,固定底座通过紧固螺栓与车床刀架固定连接,铣刀头一侧设有轧辊,轧辊轴向设有若干个凸台。本实用新型的有益效果是:轧辊刻痕能够提高轧辊的摩擦力,增大轧制负荷,提高轧制节奏,降低轧制成本,并且轧辊刻痕不易脱落,不影响产品质量,具有结构简单,操作方便、安全之特点。

标签:
电冶金技术
河北 - 唐山 来源:北方有色网 2023-03-18
以压力为控制目标的扇形段执行机构

本实用新型涉及一种以压力为控制目标的扇形段执行机构,属于冶金行业连铸设备技术领域。它包含位移传感器、液压缸、压力传感器、电控系统、液压系统、扇形段,扇形段的液压缸上设置与之匹配的位移传感器、压力传感器,位移传感器、压力传感器的信号输出端连接电控系统,电控系统的输出连接液压系统,液压系统连接扇形段的液压缸。有益效果是:该扇形段以压力为控制目标,能实时反应铸坯的受力状态,可以矫正由于传感器漂移、初始辊缝设置误差的问题,可防止由于收缩量过大,造成铸坯内裂和扇形段超载而损坏,同时可通过铸坯的受力分析保证良好的铸坯质量。此外,该方法还可用于判断铸坯液芯的位置,为动态轻压下技术的运用提供准确的反馈数据。

标签:
电冶金技术
河北 - 邯郸 来源:北方有色网 2023-03-18
二辊立式中速磨
二辊立式中速磨 1024     
 0

本实用新型涉及一种冶金系统用的二辊立式中速磨。减速机固定在水泥基础上,减速机输出轴的上端固定磨盘,磨盘上有两个磨辊,磨辊通过轴承与机壳固定,机壳的上下端有进出料口,所述磨盘的边缘固定有高出磨盘的围板。它产量高。

标签:
电冶金技术
河北 - 邯郸 来源:北方有色网 2023-03-18
便于线缆收束的配电室用电气箱

本实用新型涉及一种便于线缆收束的配电室用电气箱,属于冶金行业电气箱技术领域。技术方案是:收束箱(2)设置在电气箱(1)内,收束箱(2)的箱体上设有开口(3),开口(3)处设有与电线(5)滑动连接的滑轮(4);收束箱(2)内设有收卷柱(6),收卷柱(6)的两端分别转动连接在固定环(8)上,电线(5)缠绕在收卷柱(6)上,收卷柱(6)上设有凹槽和扭簧片(7);电气箱(1)的顶部设有风扇(9),风扇(9)通过牵引块(10)固定在丝杠(13)上,电机(15)与丝杠(13)驱动连接。本实用新型的有益效果是:能够避免收放电线时出现电线交错缠绕的情况,保证线缆的正常使用,而且能够避免电线暴露在外,造成线缆损伤。

标签:
电冶金技术
河北 - 承德 来源:北方有色网 2023-03-18
强磁场平板式磁选机
强磁场平板式磁选机 949     
 0

本实用新型涉及冶金、矿山金属矿料的分选机械,特别是一种强磁场平板式磁选机。该机的传动机构设置有精料导出滚筒和废料导出滚筒,两者通过工作皮带传动连接,精料导出滚筒高出废料导出滚筒安装,使精料导出滚筒与废料导出滚筒之间的工作皮带呈倾斜布置,工作皮带下方设置有磁场器板,该磁场器板上的每一块永久磁铁与其相邻的一个均为N、S极相间排列,工作皮带上方一侧设置有对应被选矿料排列布置的恒压供水机构的冲洗料水管,清料水管置于工作皮带下方对应精料导出滚筒一侧,矿料供给机构设置在精料导出滚筒一侧的工作皮带上方。本实用新型从原矿料到精矿料在一条皮带上进行分选,实现了粗选、精选一体化,磁铁矿杂质脱出率高,精矿品位高。

标签:
电冶金技术
河北 - 唐山 来源:北方有色网 2023-03-18
成品钢卷打包带旋转拆卷装置

本实用新型涉及一种成品钢卷打包带旋转拆卷装置,属于冶金行业成品钢卷打包设备技术领域。技术方案是包含方形底座(1)、旋转托盘(2)、整卷打包带(3)、限位挡板(4)、旋转轴(6)和立柱(7),所述旋转托盘(2)为圆盘,旋转托盘(2)通过旋转轴(6)转动连接在方形底座(1)上,三个立柱(7)均匀固定在旋转托盘(2)的圆周方向上,三个立柱(7)所在的圆周直径与整卷打包带(3)的内圈直径相匹配,方形底座(1)上设有一个打包带出口,打包带出口的两侧分别设有限位挡板(4)。本实用新型的有益效果是:能够避免打包带在打包拆卷时出现堆积、交叉变形等现象,影响成品钢卷的打包,提高打包效率。

标签:
电冶金技术
河北 - 唐山 来源:北方有色网 2023-03-18
定碳定硫仪光电开关保护结构

本实用新型涉及一种定碳定硫仪光电开关保护结构,属于冶金实验设备技术领域。技术方案是:烟气竖管(4)和氧气竖管(5)在定碳定硫仪升降口(2)内上下升降,侧开口(3)匹配烟气横管(8)和氧气横管(9)的升降;所述槽型光电开关(6)位于烟气横管(8)的下方,烟气横管(8)下降时进入槽型光电开关(6)的U型检测槽(13)内;所述U型检测槽(13)内的槽底设有保护片(7),槽型光电开关(6)的中心线与定碳定硫仪升降口(2)中心线不在同一条垂线上。本实用新型的有益效果是:最大限度的防止高温液体毁坏线路,避免引起火灾,有效保护光电开关及设备,延长设备使用寿命。

标签:
电冶金技术
河北 - 唐山 来源:北方有色网 2023-03-18
环冷机台车与烟道的密封结构

本实用新型涉及一种冶金行业用环冷机台车与烟罩的密封结构,它包括环冷机台车和烟道,烟道与地面固定,烟道的下口与环冷机台车的上口间隙地相对接,环冷机台车的上口外固定环状水槽,环状水槽内有水,环状水槽的侧壁上有溢流管和补水管,烟道的下口外固定环状裙板,环状裙板伸入所述的环状水槽的水中。它阻力小,耗能低,密封效果好,对设备的制造精度要求低。

标签:
电冶金技术
河北 - 邯郸 来源:北方有色网 2023-03-18
棒材定尺锯切调整装置

本实用新型涉及一种棒材定尺锯切调整装置,属于冶金行业轧钢技术领域。技术方案是:所述导槽为喇叭形,喇叭口较大的一端为棒材的入口端,喇叭口较小的一端为棒材的出口端,导槽内设有多个平行布置的中间隔板(5),测温枪(4)设置在每支棒材的出口端;所述定尺挡板(7)由若干个并排布置的小挡板组成,每个小挡板均设有挡板调整机构,小挡板的正面为棒材撞击面,小挡板的底面滑动连接在滑轨(12)上,所述挡板调整机构包含移动滑块(8)和螺纹杆(11),移动滑块(8)与小挡板的接触面为相互配合的斜面。本实用新型的有益效果是:根据每支钢材的温度计算出对应的小挡板的调整量,人工调整挡板后实施锯切作业,保证棒材定尺长度能够满足偏差要求。

标签:
电冶金技术
河北 - 石家庄 来源:北方有色网 2023-03-18
烧结粉料仓稳定下料装置

本实用新型涉及一种烧结粉料仓稳定下料装置,属于冶金行业烧结生产设备技术领域。技术方案是:料仓(1)的上半部为圆柱形,料仓(1)的下半部为圆锥形,料仓(1)下半部圆锥形的底部为下料仓口;泄压包(4)的上半部为半球形,泄压包(4)的下半部为圆锥形,泄压包(4)的上半部与料仓(1)下半部圆锥形的下料仓口相连接,泄压包(4)的上半部设有泄压阀(5),泄压包(4)的下半部设有闸板阀(6),星型卸灰阀(7)连接在泄压包(4)的下半部,星型卸灰阀(7)位于皮带机(9)的上方。本实用新型的有益效果是:物料下料稳定,杜绝喷仓现象,减少悬料次数,降低设备故障率,减少工人劳动强度。

标签:
电冶金技术
河北 - 唐山 来源:北方有色网 2023-03-18
用于薄板冲击性能检测的试样夹持装置

本实用新型涉及一种用于薄板冲击性能检测的试样夹持装置属于冶金检测技术领域。该装置包括钳口支撑块(1)、紧固螺栓(2)、夹紧钩(3)、垫片(4)、样片凹台(7)。通过紧固螺栓(2)与夹紧钩(3)固定在冲击试验台横梁(5)与冲击试验台(6)上。通过采用薄板冲击性能检测的试样夹持装置,进行薄板冲击性能,解决夏比冲击试验评测高强度薄钢板低温脆性在冲击过程中容易发生样片翘曲的现象,实现了对高强度薄钢板低温冲击强度的评测,保证试验结果的准确性。装置具有制作简单、操作方便。

标签:
电冶金技术
河北 - 唐山 来源:北方有色网 2023-03-18
热轧板带精轧机入口导入装置

本实用新型涉及一种热轧板带精轧机入口导入装置,尤其是精轧机F6入口导入装置,属于冶金行业热轧板带轧机设备技术领域。技术方案是:包含耳轴(1)、挡板(2)、吊挂杆(3)、轧辊(4)、轧机侧导板(5)和轧机牌坊(6),挡板(2)设在轧机侧导板(5)上,挡板(2)通过吊挂杆(3)吊挂在轧机牌坊(6)上,挡板(2)远离轧辊(4)的一端设有耳轴(1),挡板(2)与轧制中心线之间设有夹角。本实用新型的有益效果是:钢坯通过轧机侧导板上的挡板,能够顺利咬入轧机,避免钢坯翘头撞击轧辊,提高了带钢产品成材率,减少废钢,降低废钢处理人员的工作量。

标签:
电冶金技术
河北 - 承德 来源:北方有色网 2023-03-18
钢带打捆机送带压紧装置

本实用新型涉及一种钢带打捆机送带压紧装置,属于冶金行业轧钢技术领域。技术方案是:包含摩擦轮(1)、拉簧(3)、压紧轮架(4)、偏心轴(5)、压紧轮(6)和压力手柄(7),摩擦轮(1)安装在驱动轴上,外侧同一圆周上设有两个压紧轮(6),两个压紧轮(6)位于相邻位置,且通过压紧轮架(4)安装在偏心轴(5)上,偏心轴(5)通过法兰盘与压力手柄(7)连接,压力手柄(7)一端连接拉簧(3),拉簧(3)固定在箱体上。本实用新型的有益效果是:防止钢带在打捆时压偏或打滑,提高钢带打捆质量和打捆效率,具有结构简单、使用维护方便之特点。

标签:
电冶金技术
河北 - 唐山 来源:北方有色网 2023-03-18
上一页 509 510 511 512 513 ... 753 下一页
共753页    到第

北方有色为您提供最新的河北有色金属理论与应用信息,涵盖发明专利、权利要求、说明书、技术领域、背景技术、实用新型内容及具体实施方式等有色技术内容。打造最具专业性的有色金属技术理论与应用平台!

全国热门有色金属设备推荐
展开更多 +
全国热门有色金属技术推荐
展开更多 +

 

江西省隆恩特环保设备有限公司
宣传

报名参会
更多+

报告下载

有色专家
更多+

长春黄金研究院有限公司
总经理
中国矿业大学
教授
长沙矿冶研究院有限责任公司
中国工程院院士
中国矿业大学
副院长/教授
武汉科技大学
院长 / 教授
赤泥综合利用研究报告2025
推广

热门技术
更多+

推荐企业
更多+

福建省金龙稀土股份有限公司
宣传

发布

在线客服

公众号

电话

顶部
咨询电话:
010-88793500-807