青岛垚鑫智能科技有限公司
宣传

位置:中冶有色 >

有色技术频道 >

分类:
全部
矿山技术
冶金技术
材料制备及加工技术
环境保护技术
分析检测技术
地区:
全部
北京
天津
上海
重庆
河北
山西
辽宁
吉林
黑龙江
江苏
浙江
安徽
福建
江西
山东
河南
湖北
湖南
广东
海南
四川
贵州
云南
陕西
甘肃
青海
内蒙
广西
西藏
宁夏
新疆
其他
其他
展开
 
全部
石家庄
唐山
秦皇岛
邯郸
邢台
保定
张家口
承德
沧州
廊坊
衡水

河北有色金属理论与应用

免费发布技术信息>>
变辊距小型钢板矫直机
变辊距小型钢板矫直机 1235     
 0

本实用新型涉及一种变辊距小型钢板矫直机,属于冶金行业钢板矫直技术领域。技术方案是:矫直机由十一根辊组成,包含六根下辊和五根上辊,三号下辊(12)与四号下辊(11)之间的距离大于二号下辊(13)与三号下辊(12)之间的距离,二号下辊(13)与三号下辊(12)之间的距离大于一号下辊(2)与二号下辊(13)、四号下辊(11)与五号下辊(10)以及五号下辊(10)与六号下辊(9)之间的距离;一号上辊(3)与一号下辊(2)上下对齐布置构成夹送辊。本实用新型的有益效果是:可方便矫直较大变形量钢板,提高矫直效率。特别适用于宽度1000mm以下,厚度12mm以下,长度4000mm以内的钢板的矫直。

标签:
电冶金技术
河北 - 衡水 来源:中冶有色网 2023-03-18
用于炼钢厂的灭弧插头

本实用新型涉及冶金领域,尤其涉及一种用于炼钢厂的灭弧插头。一种用于炼钢厂的灭弧插头,包括外壳,插脚,所述外壳顶部有一孔穿插有密封橡胶柱,所述密封橡胶柱一端有压头,所述密封橡胶柱另一端有推杆,所述推杆两侧有第二接触片,所述推杆底部有一凹槽穿插有弹簧,所述弹簧另一端穿在弹簧座内,所述弹簧座与外壳相连,所述外壳顶部还穿插有两个插脚,所述插脚底部焊接有第一导电固定块,所述第一导电固定块穿插有第一接触片,所述第一导电固定块、第一接触片被第一螺丝穿插固定在外壳内。本实用新型采用机械结构灭弧,可靠性高,可安全适用于严禁烟火的炼钢厂燃气管道施工维护中。

标签:
电冶金技术
河北 - 邯郸 来源:中冶有色网 2023-03-18
紧卷机辅助装置
紧卷机辅助装置 857     
 0

本实用新型涉及一种紧卷机辅助装置,属于冶金行业轧钢机械设备技术领域。技术方案是:包含紧卷机(1)、顶杆(3)、液压缸(4)和脚踏开关(5),所述液压缸(4)的活塞杆和顶杆(3)连接在一起,脚踏开关(5)设置在液压缸(4)上,控制液压缸的活塞杆伸缩;紧卷机(1)与带钢卷(6)相接触;还包含挡板(2),挡板(2)设置在带钢卷(6)与液压缸(4)之间。本实用新型的有益效果是:安装在紧卷机旁,通过液压缸代替人手去固定带钢卷,保证了紧卷机的正常紧卷作业,降低了安全隐患事故的发生,提高了紧卷效果;具有制作简单,成本低,维护和操作简便,安全性高等特点。

标签:
电冶金技术
河北 - 唐山 来源:中冶有色网 2023-03-18
轧甩废钢板吊运装置
轧甩废钢板吊运装置 1136     
 0

本实用新型涉及一种轧甩废钢板吊运装置,属于冶金行业中厚板轧钢生产设备技术领域。技术方案是:四个结构相同的夹具(3)分别通过一根钢丝绳(2)吊挂在吊环(1)上;所述夹具(3)包含吊孔(31)、固定座(32)、销轴(33)、锯齿(34)和咬刀(35),所述固定座(32)为U型结构,咬刀(35)通过销轴(33)与固定座(32)转动连接,咬刀(35)的一端设有与钢丝绳(2)连接的吊孔(31),咬刀(35)的另一端和固定座(32)上分别设有锯齿(34),所述固定座(32)上的锯齿(34)设在U型结构的固定座(32)的内侧。本实用新型的有益效果是:能够将轧甩废钢板快速安全的吊离辊道,吊运平稳,节约了在钢板上打孔的时间,减少了安全隐患。

标签:
电冶金技术
河北 - 唐山 来源:中冶有色网 2023-03-18
用于卷取机的助卷器
用于卷取机的助卷器 768     
 0

本实用新型涉及一种用于卷取机的助卷器,属于冶金行业冷轧精整设备工具技术领域。技术方案是:液压缸固定底座(5)和摇臂支撑箱底座(6)分别固定在助卷器底座板(4)上,液压驱动缸(3)的缸体固定在液压缸固定底座(5)上,摇臂支撑箱(7)固定在摇臂支撑箱底座(6)上,摇臂支撑箱(7)内设有主轴(14),主轴(14)的外侧设有铜套(15),助卷摇臂一(2)和助卷摇臂二(8)的一端分别固定在主轴(14)外侧的铜套(15)上,助卷摇臂一(2)的另一端与液压驱动缸(3)的活塞杆端连接,助卷摇臂二(8)的另一端设有助卷辊(1)。本实用新型的有益效果是:保证钢卷外形的平整和钢卷尾部的表面质量。

标签:
电冶金技术
河北 - 邯郸 来源:中冶有色网 2023-03-18
圆筒式混合机打水清料装置

本实用新型涉及一种圆筒式混合机打水清料装置,属于冶金行业烧结生产设备技术领域。技术方案是:包含打水清料管(1)、棒针、回转旋转接头(3)、进水管(4)、打水孔(5)、转轴一(6)和轴承座(7),所述打水清料管(1)的一端为封闭结构,打水清料管(1)的封闭端通过转轴一(6)与轴承座(7)转动连接,打水清料管(1)的另一端通过回转旋转接头(3)与进水管(4)连接,所述打水清料管(1)上沿轴线方向上设有四排棒针和一排打水孔(5),所述排水孔(5)间隔布置在其中一排棒针中。本实用新型的有益效果是:能够实现在线清理粘料,清料效果好,保证了生产的连续性,降低了工人的劳动强度,同时延长了混合机内部衬板的使用寿命。

标签:
电冶金技术
河北 - 唐山 来源:中冶有色网 2023-03-18
管道式煤气折流脱水器
管道式煤气折流脱水器 1231     
 0

本实用新型涉及一种管道式煤气折流脱水器,属于冶金行业煤气脱水设备技术领域。技术方案是:包含进气管(1)、扩径管(2)、脱水管(8)、缩径管(9)、出气管(10)和折流装置,进气管(1)、扩径管(2)、脱水管(8)、缩径管(9)和出气管(10)依次连接,整体呈对称结构,脱水管(8)内设有多个结构相同的折流装置,所述折流装置包含折流板(5)、集水漏斗(6)和挡水板(7),折流板(5)固定在脱水管(8)内,在脱水管(8)的底部靠近折流板(5)的位置设有集水漏斗(6),所述集水漏斗(6)设有挡水板(7)。本实用新型的有益效果是:可以将煤气中夹带的较小粒径的机械水通过高效旋流进行分离和脱除,提高煤气的热效率。

标签:
电冶金技术
河北 - 石家庄 来源:中冶有色网 2023-03-18
连铸坯线下切割装置
连铸坯线下切割装置 925     
 0

本实用新型涉及一种连铸坯线下切割装置,属于冶金行业连铸坯切割设备技术领域。技术方案是:包含线性导轨框架(2)、割把小车(3)、小车车轮(4)、割嘴座(5)、割嘴支架限位块(6)和割嘴倾动标志块(7),所述线性导轨框架(2)内设有两条相互平行的线性导轨,割把小车(3)设有与线性导轨框架(2)内的线性导轨相配合的小车车轮(4),割嘴座(5)固定在割把小车(3)上,割嘴座(5)内设有割嘴,轴的一端固定在割嘴座(5)上,轴的另一端设有割嘴倾动标志块(7),割嘴倾动标志块(7)的前后两侧分别设有割嘴支架限位块(6)。本实用新型解决了铸坯切割断面凹凸不平的情况,杜绝了轧制铸坯头部开裂而发生的堆钢事故。

标签:
电冶金技术
河北 - 唐山 来源:中冶有色网 2023-03-18
实验用高温钢坯转移装置

本实用新型涉及一种用于冶金实验的装置,尤其是一种实验用高温钢坯转移装置。一种实验用高温钢坯转移装置,包括框架本体,框架本体包括前端斜面框架部分和后端平台框架部分,框架上设置有托辊,框架两侧设置有防护栏,平台后端设置有横向防护栏。本实用新型设备结构简单,便于设计和制造;重量较轻,便于安装运输,能够方便、快捷地对经过加热炉加热到高温的实验用钢坯进行转移,解决了在实验过程中,人力无法转移温度较高、尺寸较大、较重的钢坯的难题,为后期实验的开展提供了一种简单、便于操作的实验工具。

标签:
电冶金技术
河北 - 唐山 来源:中冶有色网 2023-03-18
连铸扇形段磁尺密封保护装置

本实用新型涉及一种连铸扇形段磁尺密封保护装置,属于冶金行业连铸设备技术领域。技术方案是:包含上密封帽、下底座和密封垫,上密封帽和下底座之间设有密封垫,上密封帽和下底座固定连接;所述上密封帽为上端封闭的圆桶状结构,上密封帽的顶部设有冷却压缩空气出气口(1)和电缆入口管(2);所述下底座为与上密封帽相配合的下端封闭的圆桶状结构,下底座上设有冷却压缩空气入气口(15),下底座内设有两个上下平行布置的磁尺定位架。本实用新型的有益效果是:在扇形段高温、水气等恶劣环境下,能够更好的保护扇形段磁尺,密封效果好,延长磁尺传感器的使用寿命。尤其在安装拆卸过程中简便,缩短更换扇形段的时间。

标签:
电冶金技术
河北 - 唐山 来源:中冶有色网 2023-03-18
高炉渣铁沟除尘密封结构

本实用新型涉及一种高炉渣铁沟除尘密封结构,属于冶金行业高炉设备技术领域。技术方案是:在渣铁沟(6)两侧分别砌筑盖板承重墙(5),凸型盖板(1)和凹型盖板(2)上分别设有相互配合的盖板凹槽(3),凸型盖板(1)和凹型盖板(2)相互间隔的固定在渣铁沟(6)两侧的盖板承重墙(5)上,凸型盖板(1)和凹型盖板(2)之间通过凸型盖板(1)和凹型盖板(2)上的盖板凹槽(3)扣合在一起,凸型盖板(1)和凹型盖板(2)的两侧设有密封条(9),S型钢制挂钩(10)固定在盖板凹槽(3)内。本实用新型的有益效果是:密封性好,提高了除尘效果。防止凸型盖板和凹型盖板变形,延长了凸型盖板和凹型盖板的使用寿命。

标签:
电冶金技术
河北 - 邯郸 来源:中冶有色网 2023-03-18
组装风口小套的固定装置

本实用新型涉及一种组装风口小套的固定装置,属于冶金行业连铸生产设备技术领域。技术方案是:包含定位桩(1)、抱箍(2)、压力杆(3)、固定螺栓(4)、紧固螺丝(5)和风口小套(7),抱箍(2)通过紧固螺丝(5)紧固在定位桩(1)上,压力杆(3)的一端通过固定螺栓(4)固定在抱箍(2)上,压力杆(3)的另一端压在风口小套(7)上,所述风口小套(7)为上端封闭的空心圆台型结构,风口小套(7)上端的直径大于下端的直径。本实用新型的有益效果是:能够使风口小套固定牢固,方便套管的准确安装,降低工人劳动强度,结构简单,经久耐用。

标签:
电冶金技术
河北 - 唐山 来源:中冶有色网 2023-03-18
高炉快速更换风口中小套的装置

本实用新型涉及一种高炉快速更换风口中小套的装置,属于冶金行业高炉检修设备技术领域。技术方案是:包含高度调节螺杆(1)、车架扶手(2)、车架(3)、车轮(4)和输送辊(5),车架(3)的下方设有车轮(4),车架(3)的一侧设有车架扶手(2),位于车架扶手(2)一侧的车架(3)上设有高度调节螺杆(1),所述高度调节螺杆(1)与车架(3)螺纹连接,车架(3)上设有多个平行布置且在同一水平面上的输送辊(5)。与背景技术相比,作业人数由5人以上减少到3人即可,更换中套的作业时间由150分钟缩短到100分钟以内,更换小套的作业时间由70分钟缩短到40分钟以内,提高了工作效率,降低了工人劳动强度,安全可靠。

标签:
电冶金技术
河北 - 承德 来源:中冶有色网 2023-03-18
提高蒸汽发电量的补汽装置

本实用新型涉及一种提高蒸汽发电量的补汽装置,属于冶金行业发电设备技术领域。技术方案是:中宽带蒸汽管道(6)分为两路,一路与高线蒸汽管道(5)相连接,另一路分成两路,另一路再分成两路,一路通过中宽带蒸汽来气联络阀(8)与饱和蒸汽发电补汽管道(7)后与饱和蒸汽补汽管道(4)相连接,另一路与中宽带蒸汽来气隔断阀(9)相连接;中宽带蒸汽来气隔断阀(9)通过饱和蒸汽补汽隔绝阀(10)连接饱和蒸汽补汽管道(4)。本实用新型使放散蒸汽得到合理利用,增加蒸汽发电机组的发电量,提高能源利用率,减少能源浪费,降低环保排放、成本低,维护和操作简便。

标签:
电冶金技术
河北 - 唐山 来源:中冶有色网 2023-03-18
通过减量秤进行高炉炉前铁水增硅的装置

本实用新型涉及一种通过减量秤进行高炉炉前铁水增硅的装置,属于冶金炼铁设备技术领域。技术方案是:受料斗(1)通过钢结构框架固定设置在高炉炉前出铁场撇渣器后的支铁沟旁,受料斗(1)的上部方形框架下方匹配设有减量秤传感器(2),振打电机(4)设置在受料斗(1)下部漏斗形容器侧面,受料斗(1)的下料口下方设有螺旋给料机(5);螺旋给料机(5)通过连接件(6)分别与压缩空气管道(7)和下料管(8)相连通。本实用新型能够在不增加高炉燃料比的条件下提高铁水含硅量,从而达到生产球墨铸铁铁水的目的;具有硅粉收得率高和命中率高,操作维护简便,成本低,安全性高等特点。

标签:
电冶金技术
河北 - 唐山 来源:中冶有色网 2023-03-18
压力循环脱气设备
压力循环脱气设备 761     
 0

本实用新型涉及冶金工程炼钢与精炼技术领域,尤其是一种压力循环脱气设备,包括炉身,所述炉身呈圆柱形,所述炉身的一侧设有泄气装置,所述炉身的下端设有两根钢水循环用的上升管和下降管,所述炉身上设有裙盖,所述上升管和下降管穿过裙盖延伸至钢包的内部,所述钢包位于炉身的正下方,所述钢包路口外径和裙盖外径一致,所述裙盖的外侧边缘通过压力密封锁和钢包锁定,免去了常规RH各级真空泵的抽真空等工序,投资与能耗大幅减少;压力循环脱气设备可以增大气泡在透气砖出口平面到炉身熔池表面之间钢水内的上升行程,在钢液内停留的时间长,压力循环脱气设备裙盖可隔绝空气和保温,降低热损失。

标签:
电冶金技术
河北 - 唐山 来源:中冶有色网 2023-03-18
高炉炉内清灰成像装置

本实用新型提供了一种高炉炉内清灰成像装置,属于冶金工业监控设备技术领域,包括内保护套管、与内保护套管的通过螺纹连接的外保护套管;内保护套管的顶部设有与摄像探头连接的接线盒,内保护套管的底部设有用于保护摄像探头的探头前罩,以及在探头前罩上均布的刮刀片,设置氮气吹扫孔,起到了清扫和冷却探头的作用,外保护套管的底部通过安全球阀与用于固定摄像探头的摄像底板固定连接。通过将外保护套管延长、在内保护套管与外保护套管之间通过螺纹连接,在外保护套管上加装旋转手柄,解决了炉内底板清灰不利、成像装置难以观测到炉内图像的技术问题。

标签:
电冶金技术
河北 - 承德 来源:中冶有色网 2023-03-18
钢包热修系统
钢包热修系统 1246     
 0

本实用新型属于冶金设备领域,具体涉及一种钢包热修系统。所述钢包热修系统包括运行轨道和能够沿所述运行轨道进行移动的钢包热修平台,所述运行轨道由钢水跨所在的第一工位延伸至与其相邻的第二工位,所述第二工位为位于转炉平台下方的预设的钢包热修专用工位。热修位置由钢水跨所在的的第一工位移动到转炉平台下方的钢包热修专用的第二工位,从而改变热修人员的工作环境,提高热修人员的安全性。

标签:
电冶金技术
河北 - 唐山 来源:中冶有色网 2023-03-18
可倾斜浇铸的钢锭模
可倾斜浇铸的钢锭模 940     
 0

本实用新型涉及一种可倾斜浇铸的钢锭模,属于冶金行业炼钢生产设备技术领域。技术方案是:上钢锭模壳(3)与下钢锭模壳(4)固定在一起构成钢锭模,前支撑架(7)和后支撑架(8)分别固定在支撑底座(9)上,钢锭模倾斜固定在前支撑架(7)和后支撑架(8)上,钢锭模与水平面之间设有夹角,上钢锭模盲板(3)固定在钢锭模较高的一端,下钢锭模盲板(4)固定在钢锭模较低的一端,钢锭模较高的一端设有浇铸冒口(5),钢锭模上设置多个吊环(11)。本实用新型的有益效果是:可在有限的高度空间,浇铸单根截面尺寸较小、长度较长的钢锭,降低生产成本,提高了产品成材率。

标签:
电冶金技术
河北 - 石家庄 来源:中冶有色网 2023-03-18
大包长水口烘烤装置
大包长水口烘烤装置 813     
 0

本实用新型涉及一种大包长水口烘烤装置,属于冶金行业炼钢设备技术领域。技术方案是:烘烤金属外壳(4)固定在支撑架(7)上,烘烤金属外壳(4)的内壁上设有金属管A(5)和金属管B(9),所述金属管A(5)的下端与煤气输送软管(8)连接,金属管A(5)的上端与耐火岩棉管(3)的一端连接,耐火岩棉管(3)的另一端与金属管B(9)的上端连接,金属管B(9)的下端为封闭结构,金属管A(5)和金属管B(9)上分别设有多个朝向烘烤金属外壳(4)中心线的铜质烧嘴(6)。本实用新型的有益效果是:减少了连铸第一炉开浇过程中钢水与大包长水口之间的温度差,避免了大包长水口骤然遇热而发生炸裂,避免了钢水二次氧化。

标签:
电冶金技术
河北 - 承德 来源:中冶有色网 2023-03-18
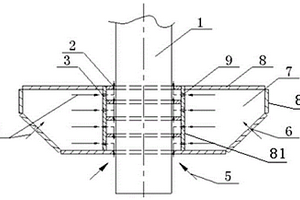
转炉氧枪插入口密封装置

本实用新型涉及一种转炉氧枪插入口密封装置,属于冶金行业转炉炼钢设备技术领域。技术方案是:氮封盘(8)包含内壁(81)和外壳(82),内壁(81)和外壳(82)之间构成一个封闭的储气室(7),所述氮封盘(8)的内壁(81)为与氧枪枪体(1)相配合的圆筒,氧枪枪体(1)穿过圆筒,氮封盘(8)的内壁(81)与氧枪枪体(1)之间设有多块上下布置的隔板(3),相邻两块隔板(3)之间的内壁(81)上均设有氮气出气孔(9),所述外壳(82)上部的外形为圆柱形状,外壳(82)下部的外形为圆锥台形状,外壳(82)上设有氮气进气孔(6)。本实用新型的有益效果是:提高转炉氧枪插入口的密封效果,阻止炉内烟气外溢。

标签:
电冶金技术
河北 - 唐山 来源:中冶有色网 2023-03-18
可逆冷轧机的送料装置
可逆冷轧机的送料装置 1089     
 0

本实用新型涉及一种可逆冷轧机的送料装置,属于冶金行业可逆冷轧机设备技术领域。技术方案是:包含液压马达(1)、夹送辊(2)、转向辊(3)、连接板(6)和轧机牌坊,转向辊(3)和连接板(6)分别固定在轧机牌坊上,夹送辊(2)压在转向辊(3)上,液压马达(1)通过齿轮与夹送辊(2)传动连接,所述液压马达(1)固定在连接板(6)上,夹送辊(2)位于连接板(6)的下方。本实用新型的有益效果是:在冷轧机轧制过程中,不受原料板型的影响,方便轧机穿带,减少穿带时间,提高轧机的作业率。降低生产成本,提高轧机轧制质量。

标签:
电冶金技术
河北 - 衡水 来源:中冶有色网 2023-03-18
转炉顶渣改质剂均匀加入装置

本实用新型涉及一种转炉顶渣改质剂均匀加入装置,属于冶金行业转炉炼钢设备技术领域。技术方案是:包含压缩空气软管一(1)、压缩空气软管二(2)、承接料斗(3)、连接管(4)、旋转溜槽溜槽管(5)和压缩空气调节阀(6)。连接管的一端与承接料斗连接,其另一端与旋转溜槽溜槽管连接,压缩空气软管一和软管二的一端分别与气源连接,其另一端设在旋转溜槽溜槽管内,压缩空气软管一和软管二的吹气方向与旋转溜槽溜槽管的中心线之间的夹角为45°,压缩空气软管一和软管二上分别设有压缩空气调节阀。本实用新型的有益效果是:能够使顶渣改质剂均匀布料至钢包顶渣表面,提高顶渣改质效果和钢水纯净,减少顶渣改质剂的浪费。

标签:
电冶金技术
河北 - 邯郸 来源:中冶有色网 2023-03-18
快速更换除尘布袋的装置

本实用新型涉及一种更换除尘布袋的装置,属于冶金行业除尘设施检修设备技术领域。技术方案是:包含夹杆一(1)、夹杆二(2)、凸点(3)、手柄(4)、弹簧(5)和转轴(6),所述夹杆一(1)的一端为手柄(4),夹杆一(1)的另一端为弧形,弧形的内表面上设有多个凸点(3),所述夹杆二(2)的结构和夹杆一(1)的结构相同,夹杆一(1)和夹杆二(2)的中部通过转轴(6)转动连接,夹杆一(1)和夹杆二(2)之间设有弹簧(5)。本实用新型的有益效果是:能够方便、快捷的将除尘布袋从除尘器隔板上拆下来,进行更换,保证除尘设施的正常运行。尤其是在遇到空间狭小或大批量更换除尘布袋时,其优势更为明显,能够提高数倍工作效率。

标签:
电冶金技术
河北 - 邢台 来源:中冶有色网 2023-03-18
镀锌机组电解槽
镀锌机组电解槽 1084     
 0

本实用新型涉及一种镀锌机组电解槽,属于冶金行业镀锌机组电解槽设备技术领域。技术方案是:包含槽体(1)、筋板(2)、连接法兰(3)、竖板(4)、横板(5)和加强板(6),所述槽体(1)呈长方体或圆柱体结构,槽体(1)上设有连接法兰(3),槽体(1)的外表面上设有多个相互垂直交叉布置的筋板(2),所述槽体(1)采用多块合金聚丙烯板材焊接而成,焊接部位设有相互垂直的竖板(4)和横板(5),竖板(4)和横板(5)之间设有加强板(6)。本实用新型的有益效果是:结构简单,强度高,能解决槽体内防腐砖脱落,防腐损坏,频繁维修的问题,防腐效果好,能够保证生产线稳定运行。

标签:
电冶金技术
河北 - 唐山 来源:中冶有色网 2023-03-18
去除皮带运输机运输的散装物料内条形杂物的装置

本实用新型涉及一种去除皮带运输机运输的散装物料内条形杂物的装置,属于冶金行业烧结机供料设备技术领域。技术方案是:受料斗(1)设置在运输皮带(4)的下料端,引导板(9)设置在运输皮带(4)下料端与受料斗(1)之间,所述引导板(9)向受料斗(1)的入料口倾斜且与皮带滚筒(3)相切,其特征在于:在受料斗(1)的入料口远离运输皮带(4)的一侧设置一个挡料板(5),所述挡料板(5)为矩形,挡料板(5)的长度与运输皮带(4)的宽度相匹配,挡料板(5)与水平面之间的夹角a为18~20度。本实用新型的有益效果是:在皮带运输机运行过程中,能够自动去除皮带运输机上物料里的条形杂物,避免下料斗堵塞、刮卡皮带等。

标签:
电冶金技术
河北 - 承德 来源:中冶有色网 2023-03-18
高速风动送样系统
高速风动送样系统 867     
 0

本实用新型涉及一种高速风动送样系统,属于冶金行业冶炼钢样风动送样技术领域。技术方案是:输送管道(8)的两端分别通过弯头(7)与发送柜(4)和接收柜(10)的顶部连接,管道A(13)和管道B(16)分别连接在发送柜(4)和接收柜(10)的底部,管道A(13)和管道B(16)上均设有截止阀(11)和排气孔(12),管道A(13)的另一端设有风机(14);压缩空气管道(3)通过管道B(16)与发送柜(4)连通;送样容器(1)的两端分别设有硬质泄压垫片(2),送样容器(1)设置在发送柜(4)内。本实用新型的有益效果是:结构简单,能够顺利的将送样容器输送至接收柜,避免送样容器在输送过程中出现卡阻现象。

标签:
电冶金技术
河北 - 承德 来源:中冶有色网 2023-03-18
倾斜浇铸锭模支架
倾斜浇铸锭模支架 788     
 0

本实用新型涉及一种倾斜浇铸锭模支架,属于冶金行业冶炼设备技术领域。技术方案是:包含两个结构相同的支撑架,两个结构相同的支撑架分别支撑在锭模(2)的两端,所述支撑架包含折叠架(3)、底座(12)和底板(7),折叠架(3)包含两个连杆A(8)、两个限位铰轴(9)、两个连杆B(10)、一个连杆C(11)和一个弹簧二(13),底座(12)包括为钢结构架(16)和弹簧一(4),钢结构架(16)的上部设有V型槽(15),弹簧一(4)一端固定在钢结构架(16)上,弹簧一(4)另一端固定在底板(7)上。本实用新型的有益效果是:能够快速实现锭模倾斜度和浇铸口方向的定位,方便快捷,节省人力,提高劳动效率。

标签:
电冶金技术
河北 - 石家庄 来源:中冶有色网 2023-03-18
冷轧带钢二轧程辅助穿带工具

本实用新型涉及一种冷轧带钢二轧程辅助穿带工具,属于冶金行业冷轧带钢生产设备技术领域。技术方案是:喷吹梁(12)为长度与带钢宽度相匹配的压缩空气喷吹管,喷吹管的中间与连接软管(15)相连接,喷吹管的两端分别设有行程控制液压缸(14),所述行程控制液压缸(14)的缸体固定在液压缸底座(13)上,行程控制液压缸(14)的活塞杆驱动连接在喷吹梁(12)上,喷吹梁(12)的两端还设有朝向带钢的喷嘴(11),导板台(4)上设有喷嘴安装孔(5),所述喷嘴(11)的喷吹方向顺着带钢的运行方向且与带钢成30‑45度。本实用新型的有益效果是:能够模拟人工穿带过程,实现辅助穿带,无需人工拖拽带钢,降低人员的劳动强度。

标签:
电冶金技术
河北 - 衡水 来源:中冶有色网 2023-03-18
热轧带钢粗轧机立辊挡水装置

本实用新型涉及一种热轧带钢粗轧机立辊挡水装置,属于冶金行业热轧带钢生产设备技术领域。技术方案是:胶皮(2)和基板(1)通过多条螺栓(6)固定连接在一起构成挡水板(10);圆盘(5)固定在立辊(7)的轴承座(8)上,护管(3)固定在圆盘(5)上,基板(1)和胶皮(2)长方形的一侧通过加强筋板(4)固定在护管(3)上,基板(1)和胶皮(2)与立辊辊槽(9)相匹配的一侧卡在立辊辊槽(9)中。本实用新型的有益效果是:能够避免冷却水喷溅到带钢边部,降低轧辊冷却水对带钢产生的温降影响,提高立辊对带钢宽度和温度的控制精度,减少带钢质量缺陷、保证带钢质量稳定。

标签:
电冶金技术
河北 - 唐山 来源:中冶有色网 2023-03-18
上一页 513 514 515 516 517 ... 752 下一页
共752页    到第

中冶有色为您提供最新的河北有色金属理论与应用信息,涵盖发明专利、权利要求、说明书、技术领域、背景技术、实用新型内容及具体实施方式等有色技术内容。打造最具专业性的有色金属技术理论与应用平台!

全国热门有色金属设备推荐
展开更多 +
全国热门有色金属技术推荐
展开更多 +

 

江西省隆恩特环保设备有限公司
宣传

报名参会
更多+

报告下载

有色专家
更多+

有研科技集团有限公司
中国工程院 院士
昆明理工大学
校长
重庆理工大学
教授
中南大学、中国工程院
院士
长沙矿山研究院有限责任公司
高级工程师
赤泥综合利用研究报告2025
推广

热门技术
更多+

推荐企业
更多+

福建省金龙稀土股份有限公司
宣传

发布

在线客服

公众号

电话

顶部
咨询电话:
010-88793500-807