青岛垚鑫智能科技有限公司
宣传

位置:中冶有色 >

有色技术频道 >

分类:
全部
矿山技术
冶金技术
材料制备及加工技术
环境保护技术
分析检测技术
地区:
全部
北京
天津
上海
重庆
河北
山西
辽宁
吉林
黑龙江
江苏
浙江
安徽
福建
江西
山东
河南
湖北
湖南
广东
海南
四川
贵州
云南
陕西
甘肃
青海
内蒙
广西
西藏
宁夏
新疆
其他
其他
展开
 
全部

有色金属技术理论与应用

免费发布技术信息>>
可移动中子-伽玛射线爆炸物检测装置

可移动中子-伽玛射线爆炸物检测装置属于射线无损检测技术领域。已知技术方案由快中子发生器、Α粒子位置灵敏探测器、Γ射线探测器以及与所述各部件相连的数据获取、处理与控制计算机组成,通过中子能谱和飞行时间谱判断是否存在爆炸物,其不足是误检率高。本实用新型技术特征为,快中子发生器与伽玛源并列,中子束准直器、Γ射线准直器均为狭缝准直器,分别置于快中子发生器、伽玛源前;中子探测器阵列与Γ射线探测器阵列并列,位于同一个垂直平面上;计算机与快中子发生器、中子探测器阵列、Γ射线探测器阵列相连。通过特征Γ射线的强度谱,判断是否存在爆炸物,降低了误检率。可应用于机场、码头、车站、海关等场所,检测旅客行李中是否携带有爆炸物。

标签:
无损检测
吉林 - 长春 来源:中冶有色网 2023-03-19
透镜面形偏差检测装置
透镜面形偏差检测装置 1084     
 0

透镜面形偏差检测装置,涉及小型球面干涉仪。分光器正下方设置的扩束整形装置、检测光源、分光器正右方的光学样板、正左方的观察接收屏、分光器正上方的定位圈口、待测透镜组成,定位圈口管状体上端面固定有三个钢球,扩束整形装置的光束的中心轴线与光学样板的光轴相交于分光器的接和面上,观察接收屏垂直于光学样板的光轴。优点在于:先给定位圈口定位再作检测,光学样板代替价格昂贵的标准镜头产生干涉的参考波前,实现对透镜球面曲率半径的测量,不能长导轨快速无损非接触在线检测。定位圈口的钢球使透镜基准面或待测面处于同一个三角形的几何中心垂线上,定位后,待测透镜时不用进行再调节就可以得到干涉条纹,提高了检测效率。

标签:
无损检测
福建 - 福州 来源:中冶有色网 2023-03-19
自动化涡流探伤系统的焊缝检测定位方法及定位装置

本发明涉及电涡流检测技术领域,具体公开一种自动化涡流探伤系统的焊缝检测定位方法及定位装置,该定位方法包括根据预设示教数据将携带双目视觉相机和电涡流探头的机械手臂移动至待检测焊缝区域附近;通过双目视觉相机采集当前位置的图像数据进行三维重建,获得当前三维信息;读取预设历史三维信息,将当前三维信息和历史三维信息进行配准求出变换矩阵;控制机械手臂按照变换矩阵在空间三个方向上的偏移量移动到焊缝区域表面,并按照平行于焊缝长度的方向进行扫查,实现了依托工业机器人及三维视觉定位技术完成自动化的构架焊缝缺陷的无损探伤。

标签:
无损检测
四川 - 成都 来源:中冶有色网 2023-03-19
基于高光谱成像对柿子的轻微瘀伤检测方法与装置

本发明公开了一种基于高光谱成像对柿子的轻微瘀伤检测方法,其包括:获取样品的高光谱图像,通过黑白校正后的所述高光谱图像提取感兴趣区域的光谱数据和图像数据;根据光谱数据和图像数据建立支持向量机轻微瘀伤分类模型以将健康脆柿和瘀伤脆柿分类出来;在ENVI中对全部波段的光谱图像进行裁剪,得到与连续投影算法选取的特征波长相对应波段的高光谱灰度图,对所述高光谱灰度图做MNF变换基于协方差估计以去掉数据中噪声的影响和相关性后利用OSTU算法进行瘀伤部位的提取。本发明能够对脆柿进行在线和非破坏检测,方便现代技术对脆柿的快速、无损和高效地检测,并且能够解决柿子轻微於伤时人工难以识别的问题。

标签:
无损检测
广西 - 南宁 来源:中冶有色网 2023-03-19
碳基全印刷介孔芯片及制备方法和其用于磷脂检测的方法

本发明公开了一种基于碳基全印刷介孔芯片,其包括:自下而上利用全印刷技术印刷在FTO导电玻璃基底上的介孔TiO2光阳极、介孔ZrO2间隔层以及碳电极。芯片采用无机材料,性质相对稳定且制备成本低,绿色无害;在抗干扰能力方面,该芯片对其他干扰物质例如脂肪酸等有良好的抗干扰性。本发明所述基于碳基全印刷介孔芯片用于定量检测磷脂氧化程度,其构建方法快捷,灵敏度高选择性好,无需预处理过程,且对磷脂来说是无损检测,并能够实时有效地检测磷脂的氧化程度。本发明还提供了基于碳基全印刷介孔芯片的制备方法。

标签:
无损检测
江苏 - 南京 来源:中冶有色网 2023-03-19
基于光纤磁传感结合集磁面扫描套管缺陷检测方法与装置

本发明属于无损缺陷检测领域,是基于光纤磁传感结合集磁面扫描套管缺陷检测方法与装置,包括传感光源模块、阵列光电转换模块、两块永磁铁、光纤磁敏感头阵列、周向方位定位模块以及信号处理模块等,一方面通过两块永磁铁以同极性相对放置形成集磁面,扫描油气井套管;另一方面则将光纤磁敏感头呈一定阵列化排布,精确地感知集磁面周向方位上的磁场强度变化,实现油气井套管缺陷的高空间分辨精确定位检测。

标签:
无损检测
四川 - 成都 来源:中冶有色网 2023-03-19
基于条件随机场算法的无菌检测数据分级加密方法

本发明公开了一种基于条件随机场算法的无菌检测数据分级加密方法,首先对无菌检测过程产生的重要的结果数据进行标注,训练条件随机场模型,识别出重要的结果数据;其次对条件随机场模型识别出的重要的结果数据进行分级加密,将加密后的数据传输到接收方;最后接收方利用可逆的解密过程对数据进行无损还原。本发明用条件随机场方法将无菌检测过程中产生的重要结果数据识别出来,并将其与过程数据区分开进行分级加密。同时,借助数字签名技术有效防止消息被篡改,保证了数据不会泄露。本发明在保证重要的数据信息安全性的前提下,能大幅减少加密时间,提升系统效率。

标签:
无损检测
浙江 - 杭州 来源:中冶有色网 2023-03-19
低密度异物检测及种类鉴别的热声成像方法和装置

本发明公开了一种低密度异物检测及种类鉴别的热声成像方法和装置。所述方法包括获取热声图像、获取声速分布图像和鉴别异物类型三个步骤。低密度异物在脉冲微波激发源激发下,能够吸收微波能量产生热声效应并释放出热声信号,利用重建热声图像可以实现异物大小、形状和位置的检测。当异物与周围物质密度不同时,热声波在其中的传播速度及穿透特性也会随着变化,通过重建异物声速分布图像即可实现异物的种类鉴别。本发明利用非电离辐射的脉冲微波及热声效应,能够弥补现有技术的检测盲区,具有高对比度、安全无损的特点。本发明的装置结构简单,可集成化生产,便于大规模推广应用。

标签:
无损检测
广东 - 广州 来源:中冶有色网 2023-03-19
基于神经细胞传感器的便携式藻类腹泻性毒素检测仪器

本发明公开了一种基于神经细胞传感器的便携式藻类腹泻性毒素检测仪器,包括仪器外壳、采集卡、放大滤波电路模块、变压器、电源模块、功率放大电路模块、细胞阻抗传感器芯片接口、细胞阻抗传感器芯片器件、细胞阻抗传感器芯片缓冲垫片;细胞阻抗传感器芯片器件通过细胞阻抗传感器芯片接口与功率放大电路模块和放大滤波电路模块连接。该仪器具有对细胞无损、便携、灵敏度高的优点,能用于快速的藻类腹泻性毒素的高通量检测,适合现场快速检测。

标签:
无损检测
浙江 - 杭州 来源:中冶有色网 2023-03-19
可调射线检测中心透照架

本申请涉及一种可调射线检测中心透照架,属于无损检测领域,其包括设置于待测直管内的中心杆,中心杆外周面沿中心杆轴向设置的两组伸缩装置,每组伸缩装置包括固定于中心杆外周面的四个套筒以及分别沿中心杆径向滑移设置于套筒内的直杆。本申请具有提高支撑臂对不同管径的待测直管的适应性的效果。

标签:
无损检测
江苏 - 镇江 来源:中冶有色网 2023-03-19
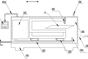
超声检测与成像系统
超声检测与成像系统 1096     
 0

本实用新型涉及无损检测技术领域,公开了一种超声检测与成像系统,包括机械臂和固定于机械臂末端的超声探头,还包括超声探测仪器和脉冲生成装置,脉冲生成装置分别与机械臂和超声探测仪器通信连接,脉冲生成装置包括嵌入式控制器,嵌入式控制器用于接收机械臂发送的末端位置信息、将末端位置信息转换为扫查轴脉冲和步进轴脉冲并将扫查轴脉冲和步进轴脉冲发送至超声探测仪器进行成像。本实用新型提供的一种超声检测与成像系统,通过设置嵌入式控制器实时获取机械臂的位置信息,并将机械臂的末端位置信息转换为扫查轴脉冲和步进轴脉冲发送给超声探测仪器,可顺利实现超声探测仪器的成像。

标签:
无损检测
北京 - 北京 来源:中冶有色网 2023-03-19
输电线路耐张线夹压接质量检测方法

本发明公开了一种输电线路耐张线夹压接质量检测方法,针对输电线路耐张线夹压接质量问题,利用数字化射线成像检测技术对钢芯铝绞线和耐张线夹的压接定位进行内部检测,清楚显示压接后耐张线夹内部的结构,尤其是内部导线铝股、钢芯、线夹铝套管和线夹钢棒的相对位置,对比压接工艺标准要求即可发现由于压接工艺不良造成的内部缺陷。本发明的方法为无损检测方法,无需破坏线夹即可进行线夹内部结构和各部位定位的检查,解决了输电线路压接施工质量监督检测的难题。

标签:
无损检测
北京 - 北京 来源:中冶有色网 2023-03-19
利用金属磁记忆检测判别铁磁材料应力集中的方法

一种利用金属磁记忆检测判别铁磁材料应力集中的方法,属于金属无损检测领域。该方法采用至少包括两个扫描通道的应力集中磁检测仪,具体包括以下步骤:步骤一,预检准备;步骤二,应用应力集中磁检测仪在被检铁磁材料表面沿着一长度方向测量其法向磁场强度Hy(x)和切向磁场磁场强度Hx(x);步骤三,将采集到得两通道或两通道以上的法向磁场磁场强度Hy(x)和切向磁场磁场强度Hx(x)分别进行算术平均;步骤四,将算术平均后的数据进行平滑数据滤波;步骤五,将平滑数据滤波后的数据进行小波滤波;步骤六,根据小波滤波计算法后的数据计算法向磁场梯度、切向磁场梯度和峰峰值。步骤七,进行应力集中的判别。

标签:
无损检测
北京 - 北京 来源:中冶有色网 2023-03-19
涂层厚度检测系统及方法

本公开实施例公开了一种涂层厚度检测系统及方法。其中,涂层厚度检测系统,包括:恒温腔体、移动机构和测量机构;移动机构和测量机构设置在恒温腔体内;测量机构设置在移动机构上,测量机构在移动机构的带动下在恒温腔体内移动,测量机构对被测量物的涂层厚度进行测量,测量机构基于光热法对涂层厚度进行测量。光热法没有辐射,实现对人体无辐射损伤危害,不用接触被测量物,实现对被测量涂层厚度的非接触无损伤测量,受被测量涂层的平面和基材影响较小,可实现在曲面、粗糙的表面和不同厚度的基材上测量,受系统的振动幅度、被测距离控制精度和测量角度精度的影响较小,能够有效减少外界因素对测量的影响。

标签:
无损检测
北京 - 北京 来源:中冶有色网 2023-03-19
接地网扁钢超声导波腐蚀检测专用SH0电磁超声换能器

接地网扁钢超声导波腐蚀检测专用SH0电磁超声换能器,属于无损检测领域,涉及超声波长度测量传感器。由长方体形的传感器外壳上盖(3)、传感器外壳下盖(2)、嵌于传感器外壳下盖(2)里面的磁铁(4)和螺旋线圈阵列(5)、覆着在传感器外壳上盖(3)上面的镍带(6)以及嵌于传感器外壳下盖(2)并与螺旋线圈阵列(5)连接的BNC接头(1)组成。在使用时该传感器收发各需一个,螺旋线圈紧密设计在传感器外壳上盖中;并且长方体形的传感器外壳上、下盖与磁铁、镍带配合,使传感器与接地网扁钢实现简单、有效的接触,从而快速实现接地网扁钢超声波腐蚀检测。

标签:
无损检测
浙江 - 杭州 来源:中冶有色网 2023-03-19
检测软包锂离子电池封装褶皱的装置

本实用新型公开了一种检测软包锂离子电池封装褶皱的装置,装置包括位移传感器、样品放置台和数据处理器,样品放置台上设有支架,支架设有横向移动装置,位移传感器与横向移动装置连接,位移传感器设有探针,位移传感器与数据处理器连接。将待测软包锂离子电池固定于样品放置台上,位移传感器水平滑动探测待测封装褶皱区域沿褶深方向的最大位移跳动。与采用传统的金相显微镜法得到的最大位移跳动阈值比较,根据判定结果判定是否为合格品。因此,本实用新型可快速、方便地对软包锂离子电池封装褶皱进行无损检测。

标签:
无损检测
浙江 - 杭州 来源:中冶有色网 2023-03-19
超声扫描显微镜检测金属材料内部夹杂物的方法

本发明涉及一种超声扫描显微镜检测金属材料内部夹杂物的方法,该方法具体步骤如下:首先,根据被检材料的厚度和检测精度要求进行超声换能器的参数选型;然后,对样品进行逐层粗扫成像获得夹杂物在材料内部的整体分布信息和三维形貌;调整换能器的轴向位置,使其准确聚焦于目标扫查层,进行精细C扫成像获得目标扫查层处夹杂物的平面分布信息;最后,由A扫时域波形获得夹杂物的深度信息,从而确定目标扫查层处夹杂物在材料内部的空间位置坐标。采用上述技术方案,本发明可实现材料内部夹杂物的无损检测,利用计算得到的水声程可较准确的调整换能器竖直高度,实现较高效率及精度的聚焦扫查,进而获得夹杂物在材料内部的准确空间位置。

标签:
无损检测
北京 - 北京 来源:中冶有色网 2023-03-19
灌浆料饱满度检测装置

本实用新型涉及一种灌浆料饱满度检测装置,优选是一种预制混凝土构件内灌浆接头的灌浆料饱满度检测装置,使用电阻测量装置,测量灌浆接头上下出浆和灌浆孔道内灌浆料之间的电阻值,测量结果在预定电阻值以下时,则认为接头的灌浆料饱满,如测量结果大于预定电阻值时,则判断接头内灌浆料和出浆管路的灌浆料不连续,即接头的灌浆料饱满度不符合质量要求。本实用新型对预制混凝土构件任何部位没有破坏,方法简单、实用性强、快速可靠,可解决装配式混凝土结构预制柱、预制墙内的竖向钢筋灌浆连接接头灌浆料饱满度的无损检测判定难题。

标签:
无损检测
北京 - 北京 来源:中冶有色网 2023-03-19
激光冲击强化处理质量的固有频率检测装置

本实用新型涉及一种激光冲击强化处理质量的固有频率检测装置,检测装置由脉冲激光束,夹持装置,约束介质管道,被测件,传感器及其变送器,USB数据采集卡,计算机,激光器,床身组成,激光器安装在床身上,激光器发出的脉冲激光束作用在被测件的表面,被测件4固定在夹持装置中。床身靠近被测件的地方安装有传感器及其变送器,传感器及其变送器与装在计算机内的USB数据采集卡连接,床身上安装有约束介质管道。可以实时、无损地检测激光冲击强化后零件的表面质量。

标签:
无损检测
天津 - 天津 来源:中冶有色网 2023-03-19
磁性分散萃取材料富集检测尿液中可卡因及其代谢物的方法

一种磁性分散萃取材料富集检测尿液中可卡因及其代谢物的方法,采用聚乙烯吡咯烷酮修饰磁性颗粒与PSA磁珠混合后用于尿液中可卡因及其代谢物富集,经洗脱后通过LS‑MS法检测分析可卡因及其代谢物的含量。本发明能够快速分离和富集可卡因,利用功能化磁性颗粒与可卡因有效结合、磁性富集和分离结合运用,由于前处理后的样品无损伤、无污染,浓度高,所以可以明显提高前处理效率,减少人为因素的影响,很大程度上提高检测的准确性,为微量可卡因的准确检验提供更可靠的保障。

标签:
无损检测
上海 - 上海 来源:中冶有色网 2023-03-19
油罐的罐基内油气检测罐底渗漏的探漏方法

一种油罐的罐基内油气检测罐底渗漏的探漏方法,包括在罐基础上沿油罐外壁均匀标注4个以上的标记;采用手动钻孔装置,在各标记处钻取直达砂垫层的探测孔,探测孔的直径为10—13mm,深度200—300mm,探测孔的轴线与水泥覆面的上表面之间的夹角α为30o至50o;每钻完一个探测孔后,迅速用硅胶塞密封该探测孔;每隔一段时间,用油气浓度检测仪测量并记录各个探测孔和罐室的油气浓度;根据一段时间内获得的各个探测孔中的油气浓度值,判断油罐底板是否发生渗漏。本发明以在罐基础上钻孔检测基础内油气浓度的方式对油罐底板是否存在渗漏进行探测,本发明不影响油罐的正常生产,对油罐基础无损害。

标签:
无损检测
重庆 - 重庆 来源:中冶有色网 2023-03-19
激光焊缝检测用超声导波探头随动耦合及姿态调节装置

本发明涉及一种激光焊缝检测用超声导波探头随动耦合及姿态调节装置,属于焊接过程控制领域。装置通过连接座的法兰安装固定在激光焊接设备的运动机构上,整体随激光焊接头同步移动;连接座通过压紧弹簧、保持架、翻转架、滚动芯轴、柔性耦合轮将压紧力传递至工件表面,保证柔性耦合轮与工件表面良好贴合,随着焊接过程向前连续滚动;柔性耦合轮始终与工件表面贴合在一起,为其内部的超声压电晶体与被测工件提供超声耦合通路。本发明通过柔性滚动耦合、自适应姿态调节等机械结构的设计,实现了激光焊接过程中超声探头与焊接装备的同步运动以及与被测工件的连续耦合、角度调节,极大提升超声波无损检测技术的效率。

标签:
无损检测
吉林 - 长春 来源:中冶有色网 2023-03-19
注水羊肉水分检测装置
注水羊肉水分检测装置 1184     
 0

本实用新型公开了一种注水羊肉水分检测装置,其特征在于:包括有测量箱体,在测量箱体底部设有一透明面板的电子重量感应秤,电子重量感应秤的前面板设有一数码显示管,在测量箱体顶部对称安装有两组LED射灯与3D摄像头,每组LED射灯与3D摄像头包括一个LED射灯和一个3D摄像头,所述3D摄像头与电子重量感应秤与计算机连接。本实用新型提供的羊肉水分无损快速检测的方法,能够检测羊肉的深层水分,明确给出水分比率,专一性强。

标签:
无损检测
湖南 - 岳阳 来源:中冶有色网 2023-03-19
基于太赫兹技术检测活细胞样品的方法

本发明公开了一种基于太赫兹技术检测活细胞样品的方法,包括以下步骤:步骤1,将待测细胞样品制成细胞微液滴样品,所述细胞微液滴样品为具有反向结构的乳液,由太赫兹波段透过性好的连续相、含细胞的分散相和生物相容性好的表面活性剂组成;步骤2,提供太赫兹时域光谱装置,装置上设有容纳步骤1所述微液滴样品进行太赫兹检测的容器;步骤3,将步骤1所述微液滴样品加入步骤2所述容器中,使用太赫兹时域光谱装置获得待测细胞样品在太赫兹波段的光谱信息。本发明利用太赫兹光谱装置高灵敏度地获取了活细胞的光学参数,从而实现了对细胞生理病理信息的无损表征。

标签:
无损检测
山东 - 济南 来源:中冶有色网 2023-03-19
茶叶加工过程水分快速检测装置

本发明涉及一种茶叶加工过程水分快速检测装置,属于水分检测领域。本发明通过采用滑动单元带动激光波发射单元进行移动时,激光波发射单元在发射激光波的同时还可以接收生产线上茶叶反射的回波,然后,采用上位机基于发射的激光波和接收的回波确定加工生产线上茶叶的含水率,进而实现茶叶含水率快速、无损和高通量的检测。

标签:
无损检测
浙江 - 杭州 来源:中冶有色网 2023-03-19
红外分光光度检测仪
红外分光光度检测仪 729     
 0

本发明公开一种红外分光光度检测仪,用于检测固体材料内部瑕疵,包括红外光源、灯室、匀光装置以及摄像头,其中:所述灯室的内壁上安装所述红外光源,所述灯室的顶部开窗,所述红外光源发出的红外光经灯室内部反射后从所述灯室顶部射出;所述匀光装置安装在所述灯室顶部,所述匀光装置接收从所述灯室顶部射出的红外光,并使所述红外光散开;固体材料放置于所述匀光装置上方,经所述匀光装置散开后的红外光照射于所述固体材料中并透射,所述摄像头采集从固体材料透射后的红外光,拍摄所述固体材料的红外图像,得到所述固体材料的红外光透光率。相对于现有技术,本发明可以利用红外光谱无损检测各种固体材料内部瑕疵。

标签:
无损检测
广东 - 广州 来源:中冶有色网 2023-03-19
横推式接装纸打孔烟支孔洞尺寸检测装置

本发明属于检测装置技术领域,具体涉及一种横推式接装纸打孔烟支孔洞尺寸检测装置,包括进样机构、推动机构、旋转机构、卸料机构;旋转机构包括定位槽和位于定位槽上方的两个安装架待检的烟支的接装纸一端位于第二缺口内,安装架上安装有转动辊,安装架上还安装有压紧气缸,卸料机构包括推杆,推杆位于定位槽远离第二缺口一端;定位槽内的烟支上方设有光源和摄像头。其目的是:克服现有装置无法无损测量在线接装纸打孔烟支孔洞尺寸问题,满足对在线接装纸打孔烟支打孔质量有效监控的需要,进而达到控制滤嘴通风率稳定性和在线激光打孔设备运行状况的目的。

标签:
无损检测
重庆 - 重庆 来源:中冶有色网 2023-03-19
含缓冲气的原子气体中各组分比例的检测方法及装置

本发明公开了含缓冲气的原子气体中各组分比例的检测方法:将准直激光器作为探测光源输出准直光束;准直光束通过格兰泰勒棱镜得到线偏振准直光束;线偏振准直光束的总光强由光强功率计进行测量并将测量得到的数据传输至电脑;线偏振准直光束入射到样品台上并在通过样品台后形成向四周扩散的传输光;向四周扩散的传输光的光强由积分球和示波器进行测量并将测量得到的数据传输至电脑;向四周扩散的传输光的光强和线偏振准直光束的总光强由电脑进行数据分析计算得到向四周扩散的传输光的透射率,进一步计算得出含缓冲气体的原子气体中非缓冲气体和缓冲气体的组分比例F。解决了封闭气室中含缓冲气体的原子气体组分无损检测问题。同时还公开了该装置。

标签:
无损检测
北京 - 北京 来源:中冶有色网 2023-03-19
旋转式果实糖度在线检测与分级一体化机器人

本实用新型提供了一种旋转式果实糖度在线检测与分级一体化机器人,包括圆盘,皮带,第一悬架,变频电机,传输台,气缸,分选槽,支撑台,第二悬架,支架和第三悬架;所述变频电机通过皮带连接圆盘;转盘的右端固定连接有三个等距分布的第一悬架、第二悬架、第三悬架;传输台的顶部均匀布置盛放果实的槽,传输台的一侧安装有支撑台;所述支架底端固定连接有气缸,气缸的底部套接导柱,所述导柱内嵌同心装配的无损检测仪,使果实吸取、检测、分级循环一体化。

标签:
无损检测
江西 - 南昌 来源:中冶有色网 2023-03-19
钢化玻璃生产用具有传输功能的检测装置

本实用新型公开了一种钢化玻璃生产用具有传输功能的检测装置,包括机床和传送带,所述机床的下端底部连接有底座,所述机床的内部一侧连接有驱动电机,且驱动电机的顶端一侧连接有主动轮,所述机床的内部上端连接有传送带,且传送带的内部两侧连接有滚筒,所述传送带的外壁四周连接有支撑吸盘。该钢化玻璃生产用具有传输功能的检测装置设置有真空吸盘,真空吸盘放置在竖直方向上的液压杆的底端,通过液压杆的上下移动来对处在地面上的钢化玻璃进行吸取固定,再通过电动推杆将钢化玻璃移动到传送带的上方,使液压杆下移,使钢化玻璃完好无损的放置在传送带上,保证钢化玻璃的完整性,使检测结果更加的精准。

标签:
无损检测
江苏 - 苏州 来源:中冶有色网 2023-03-19
上一页 1988 1989 1990 1991 1992 ... 2000 ... 5000 ... 10000 ... 20000 ... 30000 ... 32465 下一页
共32465页    到第

中冶有色为您提供最新的有色金属技术理论与应用信息,包括矿山技术、冶金技术、材料制备及加工技术、环境保护技术和分析检测技术等有色技术信息。打造最具专业性的有色金属技术理论与应用平台!

全国热门有色金属设备推荐
展开更多 +
全国热门有色金属技术推荐
展开更多 +

 

江西省隆恩特环保设备有限公司
宣传

报名参会
更多+

2025年10月15日 ~ 17日
2025年10月17日 ~ 19日
2025年10月31日 ~ 11月02日
2025年11月07日 ~ 09日

报告下载

有色专家
更多+

昆明理工大学
副校长
北京科技大学
主任/教授
江西理工大学
副校长/教授
江西铜业集团有限公司
党委书记、董事长
矿冶科技集团
副所长/研究员
赤泥综合利用研究报告2025
推广

热门技术
更多+

推荐企业
更多+

福建省金龙稀土股份有限公司
宣传

发布

在线客服

公众号

电话

顶部
咨询电话:
010-88793500-807