青岛垚鑫智能科技有限公司
宣传

位置:中冶有色 >

有色技术频道 >

分类:
全部
矿山技术
冶金技术
材料制备及加工技术
环境保护技术
分析检测技术
地区:
全部
北京
天津
上海
重庆
河北
山西
辽宁
吉林
黑龙江
江苏
浙江
安徽
福建
江西
山东
河南
湖北
湖南
广东
海南
四川
贵州
云南
陕西
甘肃
青海
内蒙
广西
西藏
宁夏
新疆
其他
其他
展开
 
全部
武汉
黄石
十堰
宜昌
襄阳
鄂州
荆门
孝感
荆州
黄冈
咸宁
随州
恩施土家族苗族自治州
仙桃
潜江
天门

湖北武汉有色金属理论与应用

免费发布技术信息>>
柔性环氧树脂耐根穿刺防水复合材料

本发明公开了一种柔性环氧树脂耐根穿刺防水复合材料,用环氧树脂、固化剂、增塑剂、固化促进剂和阻根剂,通过机械搅拌均匀制得柔性环氧树脂基体;以玻璃纤维作为增强材料、柔性环氧树脂作为基体通过真空灌注、喷射成型等工艺成型柔性环氧树脂耐根穿刺防水复合材料。采用本发明制备的耐根穿刺防水复合材料具有较高的力学强度,耐根穿刺与防水效果良好;本发明采用真空灌注和喷射成型工艺可以实现防水层与种植屋面基层的一体化,避免卷材铺设时的搭接缝产生;环氧树脂可在常温下固化成型,具有节能、环保以及绿色的优点,同时与混凝土屋面的界面粘结性强。

标签:
复合材料
湖北 - 武汉 来源:中冶有色网 2023-03-18
碳纳米管金属有机骨架磁性复合材料及其制备方法

本发明提供了一种高容量吸附四溴双酚A的碳纳米管金属有机骨架磁性复合材料,由碳纳米管、金属有机骨架材料和包硅修饰的磁性纳米颗粒构成,它是在合成金属有机骨架材料时加入碳纳米管和包硅修饰的磁性纳米颗粒而制成的碳纳米管金属有机骨架磁性复合材料,其制备方法在常温实施,只需一步操作,简便快捷,容易操作。制备得到的复合材料以碳管为刚性结构,增加了金属有机骨架材料的刚性,且碳管本身对四溴双酚A具有一定的吸附能力,进一步提高了复合金属有机骨架材料对四溴双酚A的吸附容量,能实现对环境样品中的四溴双酚A高容量去除与快速分离。

标签:
复合材料
湖北 - 武汉 来源:中冶有色网 2023-03-18
钴锰合金氧化物-硫氮共掺杂石墨烯纳米复合材料的制备方法

本发明提供一种钴锰合金氧化物‑硫氮共掺杂石墨烯纳米复合材料的制备方法,其制备方法主要包括:以水热法制备出硫氮初掺杂石墨烯,再经高温热处理的二次掺杂过程制得硫氮共掺杂石墨烯,在硫氮共掺杂石墨烯中引入钴锰金属盐混合物与氨水,之后水热反应实现钴锰合金氧化物纳米片/硫氮共掺杂石墨烯纳米复合材料的制备。本发明所制备的纳米复合材料可应用在超级电容器电极上,表现出超高的电容,优秀的倍率性能及良好的循环稳定性,为能源利用提供一个廉价易扩展的路线。 1

标签:
复合材料
湖北 - 武汉 来源:中冶有色网 2023-03-18
B2型NiAl基自润滑复合材料及其制备方法

本发明提供一种B2型NiAl基自润滑复合材料及其制备方法。该方法包括如下步骤:1)按配比选取Ni粉、Al粉、Mo粉、Nb粉、纳米石墨烯及WS2粉,得到配料;2)将上述配料置于振动球磨机内干磨,振动球磨罐内壁为聚四氟乙烯,振动频率为45Hz,振幅为5mm,振动力为10000N,振荡时间为30-50分钟,得到预处理好的混合粉末;3)将预处理好的混合粉末置于内直径为20mm的石墨模具中,然后真空条件下采取放电等离子烧结方法得到所述B2型镍铝基自润滑复合材料。该方法制备得到的自润滑复合材料纯度高、致密性好,且具有优良的摩擦学性能。此外,本发明采取的放电等离子烧结方法降低了烧结温度、缩短烧结时间,步骤方法简单便捷,适用于规模化批量生产。

标签:
复合材料
湖北 - 武汉 来源:中冶有色网 2023-03-18
EVA基PTC复合材料、锂电池正极及锂电池

本发明提供了一种EVA基PTC复合材料、锂电池正极及锂电池,该EVA基PTC复合材料包括乙烯-醋酸乙烯共聚物基体材料、导电剂和分散剂,其中,乙烯-醋酸乙烯共聚物基体材料的质量百分比含量为60~83%,导电剂的质量百分比含量为10~30%,分散剂的质量百分比含量为1~10%。本发明EVA基PTC复合材料的居里温度为90℃,将其用于锂离子电池正极中,能有效防止锂离子电池的热失控,提高锂离子电池的热安全性能。

标签:
复合材料
湖北 - 武汉 来源:中冶有色网 2023-03-18
用于光催化的磷酸银/二氧化钛复合材料及其制备方法

本发明涉及高效光催化剂磷酸银/二氧化钛复合材料及其制备方法,包括有以下制备步骤:1)二氧化钛的制备;2)将一定量的磷酸二氢盐溶于去离子水中,配成浓度为0.05-0.5mol/L的溶液,再取0.05-0.1g步骤1)所得二氧化钛超声分散在上述溶液中;3)将一定量的银盐溶解在去离子水中,配成浓度为0.05-0.5mol/L的溶液,在磁力搅拌条件下将其缓慢滴加到步骤2)所得溶液中,滴加完后继续反应6小时,过滤,洗涤,60oC下真空干燥即得到磷酸银/二氧化钛复合材料。本发明的显著特点是:1)有效避免了光生电子与空穴的重新复合,促进光催化进程;2)增加了光催化的活性点;3)复合材料的制备方法简单。

标签:
复合材料
湖北 - 武汉 来源:中冶有色网 2023-03-18
高阻尼Mg相增强NiTi复合材料的制备方法

本发明属于合金材料技术领域,具体公开了一种高阻尼Mg相增强NiTi复合材料的制备方法,包括如下步骤:S1、利用选择性溶解制备孔隙均匀且尺寸可控的多孔NiTi合金;S2、将Mg块在‑0.05MPa~‑0.01MPa氦气保护气氛中进行真空感应熔炼至熔化,并在850℃~1000℃温度下保温;S3、将多孔NiTi合金浸入保温的Mg熔体中进行无压熔渗,冷却后制得Mg相增强NiTi复合材料。本发明通过选择性溶解结合无压熔渗制备Mg相细小且分布均匀的NiTi/Mg复合材料,其中Mg增强相可有效且完全充填于NiTi基体孔隙中,未发生镁的氧化蒸发现象,其具有优异的力学性能和阻尼能力,是工程阻尼材料的良好候选。

标签:
复合材料
湖北 - 武汉 来源:中冶有色网 2023-03-18
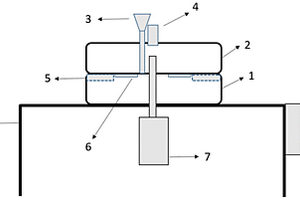
SMA增强高延性水泥基复合材料梁的抗震测试装置

本发明公开了一种SMA增强高延性水泥基复合材料梁的抗震测试装置,包括测试主体,所述测试主体的顶部边缘处固定有装配块,所述装配块的一侧开设有滑槽,所述滑槽的内壁滑动连接有连接杆,所述装配块的顶部还设有用于驱动连接杆在滑槽内滑动的驱动装置,所述连接杆的侧壁固定连接有多处均匀分布的传动杆,多处所述传动杆的一端延伸至滑槽的外部,每处所述传动杆的底部均依次固定连接有测力器和按压杆,所述装配块上设置有多处分别与按压杆相对应的承托机构。本发明在一个检测周期中,可以同时对多处SMA增强高延性水泥基复合材料梁进行抗震测试,也有效避免了相临两SMA增强高延性水泥基复合材料梁在抗震检测时的相互影响,有效地提升了其检测效率。

标签:
复合材料
湖北 - 武汉 来源:中冶有色网 2023-03-18
具有中空蛋黄-蛋壳结构的Ni<Sub>2</Sub>P/C纳米复合材料制备方法及应用

本发明公开了一种具有中空蛋黄‑蛋壳(yolk‑shell)结构的Ni2P/C纳米复合材料的制备方法,属于电催化电极材料制备技术领域,可以用于催化尿素电氧化反应(UOR)析氢从而实现变废为宝,所述制备方法分为两个步骤:一、将一定比例的六水硝酸镍、甘油、异丙醇混合,在室温下搅拌后加入去离子水通过水热法制备出甘油酸镍蛋黄壳纳米球;二、将所得的甘油酸镍和次亚磷酸钠采用化学气相沉积法得到黑色粉末状Ni2P/C纳米复合材料。本发明通过模板法制备出中空蛋黄‑蛋壳纳米结构Ni2P/C复合材料,该材料在尿素电氧化反应中表现出优异的催化活性和稳定性以及较低的成本,具有很大的商业化潜力。

标签:
复合材料
湖北 - 武汉 来源:中冶有色网 2023-03-18
耐高电流电机碳刷复合材料

本发明涉及一种耐高电流电机碳刷复合材料,所述耐高电流电机碳刷复合材料按包括以下重量份的原料制造:碳粉40~55份,铜粉32~42份,二硫化钼3~4份,碳化钒3~4份,碳化铬1~5份。该碳刷复合材料有良好的耐磨性,在环境温度120℃,电流强度在25~28A条件下,平均磨损时间可达到1222h。

标签:
复合材料
湖北 - 武汉 来源:中冶有色网 2023-03-18
复合材料数字化智能铺放方法及系统

本发明提供一种复合材料数字化智能铺放方法及系统,包括设定铺放路径;进行基于模仿学习的纤维铺放工艺参数模型构建,根据铺放路径以及成形构件的表面形状得到实际铺放路径下的工艺参数;在给出的铺放路径和工艺参数条件下,规划纤维自动铺放子系统的协作机械臂和多自由度运动平台的轨迹;在所得协作机械臂和多自由度运动平台的轨迹的条件下,控制纤维自动铺放子系统和智能分区域温控模具进行铺放;在铺放过程中采用激光超声无损检测指导复合材料铺放,包括对复合材料自动铺放过程中的层内缺陷进行快速检测和成像,根据层间缺陷对铺放工艺参数进行实时调整。本发明实用性强,数字化、智能化程度高,铺放实施结果精度能够显著提升。

标签:
复合材料
湖北 - 武汉 来源:中冶有色网 2023-03-18
识别氯丙醇酯的纸基荧光印迹复合材料及其制备方法

本发明提供一种高识别氯丙醇酯的纸基荧光印迹复合材料及其制备方法,本发明所制备的纸基荧光印迹复合材料能够实现复杂样本中氯丙醇酯的现场快速检测。本发明的制备方法包括:步骤A)、制备纳米金/牛血清白蛋白;步骤B)、纸基表面引发剂的修饰;以及步骤C)、制备分子印迹膜。本发明制备的纸基荧光印迹复合材料集现场分析、荧光响应、分子识别为一体,具有选择性好、基质干扰小、成本低廉、灵敏度高、分析时间短、快速便捷的优点,能够建立一种集萃取/富集/检测一体化的氯丙醇酯快速检测新技术,用于食品安全现场分析。

标签:
复合材料
湖北 - 武汉 来源:中冶有色网 2023-03-18
无卤膨胀阻燃碳纤维增强聚丙烯树脂复合材料及其制备方法

本发明涉及一种无卤膨胀阻燃碳纤维增强聚丙烯树脂复合材料及其制备方法,所述复合材料原料及质量份如下:改性碳纤维5‑20份,聚丙烯树脂80‑95份,无卤膨胀型阻燃剂20‑25份,抗滴落剂0.5‑1份;所述无卤膨胀型阻燃剂为改性聚磷酸铵与三嗪成炭剂按照质量比2:1混合得到。本发明提供的无卤膨胀阻燃碳纤维增强聚丙烯树脂复合材料阻燃效果良好,阻燃性能稳定,燃烧时基本无滴落现象,且非燃烧部分仍保有原先的形貌,大大降低了材料燃烧产生的危害,并且兼具良好的机械性能和加工成型性能,尺寸收缩率低,适用于汽车内外饰、室内家电、室内装饰等领域。

标签:
复合材料
湖北 - 武汉 来源:中冶有色网 2023-03-18
蚕茧衍生碳/碳纳米管/硫化铜复合材料的制备方法及其应用

本发明涉及一种蚕茧衍生碳/碳纳米管/硫化铜复合材料的制备方法及其应用。其制备为:1)用水与异丙醇对蚕茧进行预处理;2)将碳纳米管负载在预处理后的蚕茧上;3)将负载碳纳米管的蚕茧在惰性气体保护下煅烧碳化;4)将煅烧后的蚕茧衍生碳/碳纳米管复合物加入含有硝酸铜与含硫化合物的乙二醇溶液中,进行溶剂热反应后,得到蚕茧衍生碳/碳纳米管/硫化铜复合材料。本发明利用具有三维多孔结构的蚕茧有效负载碳纳米管与硫化铜,减少碳纳米管和硫化铜的聚集,得到复合材料可裁剪成为任意形状并直接用作超级电容器的电极材料,电容性能良好,制备过程简单,原料便宜,便于大规模生产。

标签:
复合材料
湖北 - 武汉 来源:中冶有色网 2023-03-18
基于N,S-CDs/CuPc复合材料的分子印迹光电化学传感器的制备方法和应用

本发明公开了一种基于N,S‑CDs/CuPc复合材料的分子印迹光电化学传感器的制备方法和在赭曲霉毒素A(OTA)检测方面的应用。本发明通过氮和硫共掺杂和非共价功能化方法的协同效应,正确调整碳点的能级,优化紧密的界面接触和延长光吸收范围和增强电荷转移效率来制备得到N,S‑CDs/CuPc复合材料,并结合分子印迹技术,成功制备了分子印迹光电化学传感器。本发明制备的传感器以N,S‑CDs和CuPc形成的复合材料作为光电转换层,通过表面修饰含有毒素识别位点的分子印迹膜来实现OTA的检测。该传感器具有检测范围宽,选择性好,灵敏度高,检测限高达0.51pg·mL‑1;同时响应稳定,具有良好的重现性。

标签:
复合材料
湖北 - 武汉 来源:中冶有色网 2023-03-18
复合材料拉挤型材组合式箱体及其制备方法

本发明公开了一种复合材料拉挤型材组合式箱体,包括多块独立设置的侧板以及连接多块侧板顶角的包角块,其中,侧板包括固定边框以及嵌于固定边框内部的支撑板,包角块通过紧固件固定于多块侧板连接后的顶角处,包角块以及侧板均为纤维增强树脂基复合材料制成,固定边框为拉挤管型材制成,支撑板为拉挤片材制成,包角块由模压工艺制备而成。本发明提出的复合材料拉挤型材组合式箱体,其力学性能好,同时易于生产且成本低。

标签:
复合材料
湖北 - 武汉 来源:中冶有色网 2023-03-18
耐腐蚀柔性环氧树脂耐根穿刺防水复合材料

本发明公开了一种耐腐蚀柔性环氧树脂耐根穿刺防水复合材料,采用化学镀法制备镀铜玻璃纤维,以镀铜玻璃纤维为增强材料以及阻根剂,呋喃树脂改性柔性环氧树脂为基体通过真空灌注或喷射成型工艺成型耐腐蚀柔性环氧树脂耐根穿刺防水复合材料。采用本发明制备的耐根穿刺防水复合材料具有较高的力学强度,耐根穿刺以及防水效果良好,同时具备极佳的耐酸碱腐蚀性能,可避免因种植屋面土壤酸碱腐蚀造成的防水层破坏;采用表面镀铜方式,大大降低了贵金属铜的使用量,节约了生产成本;采用真空灌注、喷射成型等方式,可以实现防水层与种植屋面基层的一体化,柔性环氧树脂能在常温下固化成型,具有节能、环保以及绿色的优点,与混凝土屋面的界面粘结性强。

标签:
复合材料
湖北 - 武汉 来源:中冶有色网 2023-03-18
FeS/Fe0复合材料及其制备方法和应用

本发明属于化学材料领域,具体涉及一种FeS/Fe0复合材料及其制备方法和应用。所述FeS/Fe0复合材料是由纳米FeS和纳米Fe0复合而成,所述纳米FeS包覆在纳米Fe0表面,所述纳米Fe0和纳米FeS的摩尔比为2 : 1~15 : 1。本发明提供了一种制备过程简便,环保可行且制备得到的FeS/Fe0复合材料反应活性高,可以在较宽的温度范围、pH值范围和溶解氧含量范围内,高效快速的还原吸附废水中的重金属离子;还可以快速高效活化过氧化氢和过硫酸盐,使体系产生羟基自由基和硫酸根自由基降解和矿化有机污染物,因此可以广泛应用于地表水和地下水中有机污染物的降解。

标签:
复合材料
湖北 - 武汉 来源:中冶有色网 2023-03-18
甲基环己基次膦酸铝/环氧树脂阻燃复合材料

本发明提供了一种甲基环己基次膦酸铝/环氧树脂阻燃复合材料,其包含甲基环己基次膦酸铝、环氧树脂和固化剂。相对于100质量份的环氧树脂,15质量份的甲基环己基次膦酸铝即可使复合材料的阻燃性达到UL94?V-0级,氧指数达到28.8,燃烧后的残炭率达到22.36%。所得到的阻燃复合材料机械性能和热稳定性好,抑烟效果优良。

标签:
复合材料
湖北 - 武汉 来源:中冶有色网 2023-03-18
复合材料填充颗粒取向度定量评估方法及系统

本发明属于复合材料检测技术领域,并具体公开了一种复合材料填充颗粒取向度定量评估方法及系统,其包括S1、获取待测复合材料截面显微图,并转化为灰度图;S2、处理灰度图,得到二值化图像;S3、遍历二值化图像中的所有像素块,求得图像纵向连续度SSV和图像横向连续度SSH,进而得到竖直取向度ORI;S4、按预设角度多次旋转二值化图像,每旋转一次即重复步骤S2和S3,得到竖直取向度随旋转角度变化的曲线,该曲线中竖直取向度的最大值及其对应的旋转角度即为图像取向度与取向角度。本发明无需其他复杂设备仪器,且不受填料颗粒晶体结构影响;同时本发明对二值化信息进行全图处理,针对复杂的填料颗粒信息也有优异的评估效果。

标签:
复合材料
湖北 - 武汉 来源:中冶有色网 2023-03-18
金属基复合材料微细切削刀具与磨损监测方法

本发明公开了一种金属基复合材料微细切削刀具与磨损监测方法,属于金属基复合材料精密加工技术领域。刀具包括刀片、刀柄、应变片、等值电阻、惠斯通电桥电路,将加工过程中的应变值转换为后刀面法向应变力,结合陶瓷增强颗粒二体磨粒磨损量、陶瓷增强颗粒三体磨粒磨损量、金属基体粘着磨损量构造刀具后刀面磨损速率模型,得到后刀面磨损带宽度变化,实现实时后刀面磨损速率监测。本发明能够实现金属基复合材料精密切削过程刀具后刀面法向压力和刀具磨损量的实时计算与监测,指导实际加工过程中的刀具更换,保证产品生产效率和质量。

标签:
复合材料
湖北 - 武汉 来源:中冶有色网 2023-03-18
MXene/金属纳米线复合材料及其冻融组装方法和应用

本发明公开了一种MXene/金属纳米线复合材料及其冻融组装方法和应用。该复合材料包括带有褶皱的MXene纳米片和金属纳米线,金属纳米线被多片MXene纳米片的褶皱包裹固定,形成镶嵌式的2D/1D结构。其冻融组装方法为:将MXene粉末在水中分散后通过至少4次冰冻‑融化操作进行插层,得到带有褶皱的MXene纳米片,再加入金属纳米线分散液搅拌之后进行冰冻‑融化操作完成组装。该复合材料结构稳定,电导率高,机械性能和柔韧性好,电磁波吸收效率及反射效率高;可通过简单的冰冻‑融化方法自动组装得到,无需添加活化反应物质,操作简单,安全性好,可应用于压力传感器、电磁屏蔽或可穿戴柔性器件领域。

标签:
复合材料
湖北 - 武汉 来源:中冶有色网 2023-03-18
光催化-SERS双功能复合材料及其制备方法与应用

本发明提供了一种光催化‑SERS双功能复合材料及其制备方法与应用,制备方法包括步骤:将银纳米球分散于乙醇中,得到银纳米球分散液;将银纳米球分散液、乙醇、乙腈以及氨水混合均匀,滴入锆前驱体溶液,搅拌反应后,得到银‑二氧化锆分散液;将银‑二氧化锆分散液、乙醇以及水混合均匀后置于高压反应釜内,加热反应,得到银‑介孔二氧化锆分散液;将银‑介孔二氧化锆分散液、聚乙烯吡咯烷酮以及水混合均匀,加入硝酸银,水浴反应后,即得到光催化‑SERS双功能复合材料。本发明制备的光催化‑SERS双功能复合材料具有高SERS活性和光催化活性,可以高灵敏度检测有机染料并光催化降解去除有机染料。

标签:
复合材料
湖北 - 武汉 来源:中冶有色网 2023-03-18
耐高温宽频吸波/承载复合材料及其制备方法

本发明提供了一种耐高温宽频吸波/承载复合材料及其制备方法,该材料包括依次设置的透波层、阻抗匹配层、电损耗吸波层、磁损耗吸波层和反射层,其中透波层、阻抗匹配层、电损耗吸波层、磁损耗吸波层和反射层均为纤维增强树脂基复合材料,且透波层掺杂有空心玻璃微珠。本发明提供耐高温宽频吸波/承载复合材料材料,具有吸波频带宽、耐高温、质轻、力学性能优异的特点,该制备方法工艺可靠,易于操作。

标签:
复合材料
湖北 - 武汉 来源:中冶有色网 2023-03-18
水下不分散速凝快硬的水泥基复合材料及其制备方法

本发明提供一种水下不分散速凝快硬的水泥基复合材料及其制备方法。所述水下不分散速凝快硬的水泥基复合材料,由以下百分比的原料组成:水泥20%‑30%、铝酸钙5%‑10%、石英砂3%‑7%、骨料10%‑20%、胶凝材料5%‑15%、阻锈剂0.1%‑0.5%、矿物外加剂0.5%~2%。本发明提供的水下不分散速凝快硬的水泥基复合材料及其制备方法,通过絮凝剂和胶凝材料的添加,不仅可以使混凝土不分散,而且配合胶凝材料的添加,有效的提高了凝结效率,而且能从快速的浆体变成坚固的石状体,而且对狭小间隙浇注具有很好的填充性,可以有效的降低因灌浆拌和物分散造成的硬化强度的损失,并且可以提高灌浆硬化物与钢筋的粘结力,有效的满足不同位置的使用。

标签:
复合材料
湖北 - 武汉 来源:中冶有色网 2023-03-18
碳自掺杂的石墨相氮化碳/二氧化钛纳米复合材料及其制备方法、应用

本发明公开了碳自掺杂的石墨相氮化碳/二氧化钛纳米复合材料的制备方法,主要包括如下步骤:第一步,将碳自掺杂的石墨相氮化碳均匀分散于水中,然后滴加钛盐的醇溶液,于温度50~80℃搅拌反应1~2h,得到黄色粘稠溶液;然后黄色粘稠溶液中继续加入HNO3水溶液,继续于50~80℃连续搅拌4~16h,分离出固体产物;第二步,将第一步所得固体产物洗涤干燥后,在保护气氛下于进行煅烧,得到碳自掺杂的石墨相氮化碳/二氧化钛纳米复合材料。本发明所得纳米复合材料中TiO2纳米颗粒尺寸在5nm左右,比较均匀的分散在C‑CN的表面和矩阵中,不仅可见光的产氢性能显著提高,而且还具备优良的循环稳定性。

标签:
复合材料
湖北 - 武汉 来源:中冶有色网 2023-03-18
保温隔热发泡聚氨酯耐根穿刺防水复合材料

本发明公开了一种保温隔热发泡聚氨酯耐根穿刺防水复合材料,采用化学镀法制备镀铜玻璃纤维,以镀铜玻璃纤维作为增强材料以及阻根剂,以含有异氰酸酯以及多元醇的双组分聚氨酯为基体,运用真空灌注、喷射成型工艺成型耐根穿刺防水复合材料。采用本发明制备的发泡聚氨酯耐根穿刺防水复合材料耐根穿刺以及防水效果良好,同时具备保温隔热功能,可有效解决现有种植屋面防水阻根层与保温隔热层多层制备工艺复杂以及层间界面性能差等问题;采用表面镀铜方式,大大降低了贵金属铜的使用量,节约了生产成本;采用真空灌注、喷射成型方式,可以实现与种植屋面基层的一体化,同时聚氨酯能在常温下固化成型且自然发泡,具有节能、环保以及绿色的优点。

标签:
复合材料
湖北 - 武汉 来源:中冶有色网 2023-03-18
阻燃HIPS复合材料
阻燃HIPS复合材料 1041     
 0

本发明公开了一种阻燃HIPS复合材料,包含以下重量份的组分:PS树脂60~96份、增韧剂0~20份、阻燃剂3~25份、阻燃协效剂0.1~20份和抗滴落剂0.01~1份;所述阻燃剂为阻燃剂A和阻燃剂B的混合物;所述阻燃剂A为十溴二苯乙烷、溴化环氧、溴代三嗪、溴化亚胺、四溴双酚A和八溴醚中的至少一种;所述阻燃剂B为磷酸酯、三聚氰胺、聚磷酸盐、三聚氰胺聚磷酸盐和三聚氰胺氰尿酸盐中的至少一种。本发明所述HIPS复合材料通过采用气相阻燃剂与凝聚相阻燃剂复配,阻燃效率高,减少了两种阻燃剂的添加比例,降低成本,产品更具有市场竞争力,生烟量少、气味小,同时复合材料的物理机械性能高。

标签:
复合材料
湖北 - 武汉 来源:中冶有色网 2023-03-18
循环拉伸法制备混杂填料/硅橡胶柔性力敏导电复合材料及其制备方法

本发明涉及一种循环拉伸法制备混杂填料/硅橡胶柔性力敏导电复合材料及其制备方法,该导电复合材料可用于柔性力敏传感等领域。取硅橡胶加入碳纳米管、交联剂、碳纤维,超声作用,同时搅拌;然后在100℃下交联0.5h,交联成型得混杂填料的柔性硅橡胶导体;将上述样品剪裁为长宽分别为6cm和2cm的样条,然后在万能试验机上循环拉伸松弛处理,具体参数如下:应变范围为5%~50%;频率为1~10Hz,循环次数为100次~2000次。本发明利用混杂填料的协同效应降低填料用量,采用重复拉伸的方法可以调整碳材料在基体中的分布,可进一步改善填料导电网络,在一定程度上促进填料的取向,改善复合材料的电阻率和灵敏性。

标签:
复合材料
湖北 - 武汉 来源:中冶有色网 2023-03-18
制备少层石墨烯复合材料装置和方法

本发明涉及一种少层石墨烯复合材料制备装置和方法。本发明以独特的双剥离结构设计磨盘,当石墨浆料进入电化学凹槽时,盐‑DMF配位体在电场驱动下进入石墨层间实现插层初步剥离,石墨膨胀后随磨盘转动进入磨盘剪切区域进一步在磨盘剪切力作用下剥离成石墨烯复合材料,由于石墨的插层使得更容易被磨盘剪切力剥离,而加压装置可以增大磨盘剪切力,可以进一步有效提高少层石墨烯复合材料产率。与此同时,本方法通用性强,且制备过程可控,具有较高的工业化应用价值。

标签:
复合材料
湖北 - 武汉 来源:中冶有色网 2023-03-18
上一页 496 497 498 499 500 ... 723 下一页
共723页    到第

中冶有色为您提供最新的湖北武汉有色金属理论与应用信息,涵盖发明专利、权利要求、说明书、技术领域、背景技术、实用新型内容及具体实施方式等有色技术内容。打造最具专业性的有色金属技术理论与应用平台!

全国热门有色金属设备推荐
展开更多 +
全国热门有色金属技术推荐
展开更多 +

 

江西省隆恩特环保设备有限公司
宣传

报名参会
更多+

报告下载

有色专家
更多+

东北大学
院长/教授
有研科技集团有限公司
首席科学家
中国矿业大学(北京)
院长/教授
赣州江钨钨合金有限公司
副总经理
湖南科技大学
所长/教授
赤泥综合利用研究报告2025
推广

热门技术
更多+

推荐企业
更多+

福建省金龙稀土股份有限公司
宣传

发布

在线客服

公众号

电话

顶部
咨询电话:
010-88793500-807