青岛垚鑫智能科技有限公司
宣传

位置:中冶有色 >

有色技术频道 >

分类:
全部
矿山技术
冶金技术
材料制备及加工技术
环境保护技术
分析检测技术
地区:
全部
北京
天津
上海
重庆
河北
山西
辽宁
吉林
黑龙江
江苏
浙江
安徽
福建
江西
山东
河南
湖北
湖南
广东
海南
四川
贵州
云南
陕西
甘肃
青海
内蒙
广西
西藏
宁夏
新疆
其他
其他
展开
 
全部
武汉
黄石
十堰
宜昌
襄阳
鄂州
荆门
孝感
荆州
黄冈
咸宁
随州
恩施土家族苗族自治州
仙桃
潜江
天门

湖北武汉有色金属理论与应用

免费发布技术信息>>
阻燃高刚性ACS复合材料及其制备方法和应用

本发明涉及一种阻燃高刚性ACS复合材料及其制备方法和应用。该ACS复合材料包括ACS树脂、连续长玻璃纤维、增韧剂、阻燃剂、阻燃协效剂、偶联剂、抗滴落剂和其它助剂。本发明提供的ACS复合材料采用连续长玻璃纤维与特定的阻燃剂和阻燃协效剂之间通过协同增效,并调控玻纤保留长度D90,大大提高了材料的阻燃性,阻燃等级可达到5VA以上;另外,通过玻璃纤维和偶联剂的协同作用,使该材料具有较高的刚性和韧性,弯曲强度、弯曲模量、缺口冲击强度高,可广泛用于制备家电、消费电子等产品的功能结构注塑件。

标签:
复合材料
湖北 - 武汉 来源:中冶有色网 2023-03-18
活性碳纤维负载FeAl水滑石复合材料及其制备方法与应用

本发明涉及一种活性碳纤维负载FeAl水滑石复合材料及其制备方法与应用,所述复合材料由FeAl水滑石薄片颗粒均匀团聚附着在碳纤维布上得到的,薄片颗粒尺寸为200‑250nm,厚40‑45nm,比表面积为45‑55m2/g。本发明提供的ACF/FeAlLDH复合材料比表面积大、吸附效果好,与传统的FeAlLDH相比,能快速吸附Cr离子并将其进行固定,吸附效率高达99%,且无有毒物质析出、不产生二次污染,具有广阔的应用前景。

标签:
复合材料
湖北 - 武汉 来源:中冶有色网 2023-03-18
光催化复合材料及制备方法

本发明公开了一种光催化复合材料及制备方法,包括UiO‑66‑NH2材料的制备、UiO‑66‑NH2‑CdZnS材料的制备和UiO‑66‑NH2‑CdZnS‑CoP3材料的制备3个步骤,本发明采用的助催化剂CoP3,相对于传统的贵金属助催化剂,具有制备简单,成本低廉的优点,CoP3颗粒在本复合材料中提供了大量的光催化反应活性位,降低了反应电势,促进了光催化裂解水的发生,同时高分散的CoP3纳米颗粒,进一步增强了电子空穴对的分离,提高了光生电子的迁移速率,使得吸附在UiO‑66‑NH2表面的水分子快速与光生电子反应制备氢气,此外,三维UiO‑66‑NH2作为载体,有效的避免了光催化剂在使用过程中流失和不易回收的问题,扩大了使用范围,得到的复合材料具有优良的光催化产氢能力。

标签:
复合材料
湖北 - 武汉 来源:中冶有色网 2023-03-18
耐热老化的聚丙烯复合材料及其制备方法

本发明公开了一种耐热老化的聚丙烯复合材料及其制备方法,属于高分子材料技术领域。本发明所述聚丙烯复合材料的组分中杂化填料由改性石墨烯和改性硅灰石纤维两种原料其表面带上相反的电荷,进而通过静电自组装而成,该杂化填料相比于传统聚丙烯复合材料组分填料具有更大的比表面积及更低的原料成本,与聚丙烯树脂基体相容结合性高,同时有效避免了两者因表面活性基团不足而容易产生表面团聚现象;所述杂化填料具有多种几何结构构成,在搭配其他优选组分后所得最终产品拉伸和弯曲强度性能可调控性高,且具有优异的耐热老化性能。

标签:
复合材料
湖北 - 武汉 来源:中冶有色网 2023-03-18
低噪音车用聚丙烯复合材料及其制备方法

本发明提供了一种低噪音车用聚丙烯复合材料及其制备方法,所述低噪音车用聚丙烯复合材料包括以下重量份的组分:50~80重量份的聚丙烯、1~20重量份的交联橡胶粉、0~30重量份的增韧剂、0~30重量份的无机填料、0.2~0.8重量份的抗氧剂和0~0.5重量份的润滑剂,所述交联橡胶粉的粒径为10μm~500μm。本发明的低噪音车用聚丙烯复合材料通过搭配交联橡胶粉与聚丙烯,使得聚丙烯材料表面的粗糙程度增加,降低光泽度的同时,因为也减少了制件间接触面积,从而降低了汽车在行驶过程中制件相互碰撞、摩擦时噪音的产生;另一方面,交联橡胶的存在也提升了材料的韧性。

标签:
复合材料
湖北 - 武汉 来源:中冶有色网 2023-03-18
具有吸收雷达波的碳化硅/碳纤维增强复合材料及其制备方法

本发明涉及一种具有吸收雷达波的碳化硅/碳纤维增强复合材料及其制备方法。本发明将聚碳硅烷溶于二甲苯进行纺丝,经过水洗、上油、烘干制得丝线;氮气氛围下将丝线高温烧结,制得碳化硅陶瓷纤维;然后,以稻草秸秆为原料,提取其中的纤维素纤维,将纤维素纤维预氧化、预碳化、碳化等工艺处理制得碳纤维;将碳化硅纤维和碳纤维复合制得碳化硅/碳纤维复合纤维毡;最后,将聚苯硫醚颗粒与碳化硅/碳纤维复合纤维毡通过热压机混合制得具有吸收雷达波的碳化硅/碳纤维增强复合材料。本发明制备的碳化硅/碳纤维增强复合材料表现明显的雷达吸波性能,其制备工艺简单,原料来源广泛,在军事领域具有很好的市场应用前景。

标签:
复合材料
湖北 - 武汉 来源:中冶有色网 2023-03-18
高强度改性SEBS纳米复合材料及其制备方法

本发明属于高分子材料技术领域,具体涉及一种高强度改性SEBS纳米复合材料及其制备方法。所述改性SEBS纳米复合材料各组份按重量份计为SEBS 100份、石蜡油30~120份、聚丙烯15~30份、纳米二氧化硅5~26份、偶联剂0.1~0.5份、耐刮擦助剂20~30份。本发明采用纳米二氧化硅和聚丙烯对SEBS进行改性,利用偶联剂对纳米二氧化硅进行处理,可有效改善纳米二氧化硅在基体中的分散性,有效减少团聚现象,实现在材料透明度高的情况下,改性SEBS材料具有较高的强度且收缩率低。本发明制成的改性SEBS纳米复合材料样件质地柔软,具有较好的触感,能作为汽车内饰表皮材料。

标签:
复合材料
湖北 - 武汉 来源:中冶有色网 2023-03-18
用于生产扼流变压器箱体的复合材料及其制造方法

本发明的一种用于生产扼流变压器箱体的复合材料及其制备方法其中,该复合材料,包括以下重量份的组份:树脂基体100份,玻璃纤维10‑50份,阻燃剂10‑80份,短切碳纤维1‑5份,无机非金属导热粒子10‑150份,粉体碳材料1‑10份,碳纳米管0.1‑2份,助剂1‑5份。本发明一种用于生产扼流变压器箱体的复合材料克服了目前扼流箱体需兼顾导热性能和绝缘性能的难题,保证了箱体有较高的绝缘电阻的前提下,同时提高箱体导热系数。

标签:
复合材料
湖北 - 武汉 来源:中冶有色网 2023-03-18
磁场作用下导电高分子复合材料及其制备方法

本发明提供一种磁场作用下导电高分子复合材料及其制备方法,所述制备方法可有效提高所得导电高分子复合材料的导电性能。所述制备方法包括以下步骤:(1)取镍粉0.1‑0.3g和吡咯单体,加入乙醇水溶液30~50mL、氯化钠0.1‑0.3g,搅拌均匀后通电使吡咯聚合,提纯后得到聚吡咯包覆镍颗粒,其中,镍粉与吡咯单体摩尔比为(1:1)~(1:3);(2)将聚氨酯丙烯酸酯树脂、二乙二醇单乙烯基醚、2‑羟基‑2‑甲基苯丙酮和所述聚吡咯包覆镍颗粒混合均匀后置于磁场强度为0.01‑0.03T的磁场中,用紫外光使聚氨酯丙烯酸酯树脂固化,即得到所述导电高分子复合材料。

标签:
复合材料
湖北 - 武汉 来源:中冶有色网 2023-03-18
超支化聚酯及其合成方法与一种热塑性树脂复合材料及其制备方法

本发明公开了一种超支化聚酯和一种热塑性树脂复合材料。热塑性树脂复合材料以重量份计,包括以下组分:热塑性树脂70‑85份;封端基团含有硅氧烷的超支化聚酯0.5‑20份,其中硅氧烷链段占超支化聚酯分子量的15‑80%。本发明的通过对超支化聚酯用硅氧烷进行封端处理,使热塑性树脂复合材料具有耐刮伤并且硅氧烷不析出的优点,并且,也能改善加入耐划伤剂(如酰胺类耐划伤剂)后因耐划伤剂析出而导致的发粘性。

标签:
复合材料
湖北 - 武汉 来源:中冶有色网 2023-03-18
高耐疲劳复合材料汽车板簧及其制作方法

本发明公开了一种高耐疲劳复合材料汽车板簧及其制作方法。该高耐疲劳复合材料汽车板簧包括叠层铺放的至少一层单向纤维层以及套设于单向纤维层外表面的至少一层二维编织套管。制作方法为:叠层铺放至少一层单向纤维层;将所述至少一层单向纤维层外套所述至少一层二维编织套管,制备成纤维预成型体;将纤维预成型体放入成型模具中,采用成型工艺浸渍、固化、脱模、修剪,即得到所述复合材料汽车板簧。本发明利用了二维编织套管中纤维连续、角度可控、附型性好的特性,制备了具有高耐疲劳和抗层间剪切优异的汽车板簧,该制备工艺简单,有效避免了传统纯单向铺放纤维板簧环向没有纤维约束、耐疲劳性差、三维编织预成型体工艺复杂的问题。

标签:
复合材料
湖北 - 武汉 来源:中冶有色网 2023-03-18
PC/ABS合金导热绝缘纳米复合材料及其制备方法

本发明公开了一种PC/ABS合金导热绝缘纳米复合材料及其制备方法,所述PC/ABS合金导热绝缘纳米复合材料的各组分及质量配比如下:聚碳酸酯:10~70份;丙烯腈‑丁二烯‑苯乙烯共聚物:10~50份;纳米氧化镁:3~50份;云母:5~50份;高导热填料5~15份;增溶剂5~10份;偶联剂0.01~3份;抗氧剂0.01~3份。本发明通过吹膜工艺制备得到的PC/ABS合金导热绝缘纳米复合材料具有优良的导热性能与绝缘性能,热导率为1.0~4.0W/m·k,介电强度为200~400kV/mm,兼顾绝缘与导热性能,能保持材料性能长期稳定与可靠,适用范围广泛,具有突出的应用价值与良好的社会效益。

标签:
复合材料
湖北 - 武汉 来源:中冶有色网 2023-03-18
“蚕蛹状”PbS量子点/石墨烯复合材料及其制备方法

本发明属于纳米材料与纳米技术领域,具体涉及一种“蚕蛹状”PbS量子点/石墨烯复合材料及其制备方法。所述制备方法为:将氧化石墨烯均匀分散在乙二醇中,形成氧化石墨烯‑乙二醇分散液;在氧化石墨烯‑乙二醇分散液中加入硝酸铅粉末,得到硝酸铅‑石墨烯‑乙二醇分散液;将硫化钠溶于乙二醇形成硫化钠‑乙二醇溶液;将硝酸铅‑石墨烯‑乙二醇分散液超声,并向其中逐滴滴加硫化钠‑乙二醇溶液,机械搅拌反应后,得到PbS量子点‑石墨烯分散液;再经离心分离,洗涤,干燥,得到PbS量子点/石墨烯复合材料。本发明制备所得PbS量子点/石墨烯复合材料具有“蚕蛹状”三维结构,量子点颗粒尺寸均匀,室温及低温下对氨气的气敏性能优良。

标签:
复合材料
湖北 - 武汉 来源:中冶有色网 2023-03-18
协同增韧的环氧树脂复合材料及其制备方法

本发明提供了一种活性端基液态橡胶与空心玻璃微珠协同增韧的环氧树脂复合材料及其制备方法。具体制备步骤为:将空心玻璃微珠与活性端基液态橡胶充分混合后与环氧树脂进行预酯化反应,然后加入固化剂混合高速剪切搅拌,再抽真空脱除气泡后加入固化促进剂,接着浇铸成型,最后分别在低温、中温和高温进行固化,制得协同增韧的环氧树脂复合材料。协同增韧的环氧树脂复合材料表现出优异的韧性、模量、弯曲强度等力学性能。

标签:
复合材料
湖北 - 武汉 来源:中冶有色网 2023-03-18
具有自调湿功能的复合材料及其生产方法

本发明提供一种具有自调湿功能的复合材料,按重量份计,它由45~73份具有自调湿功能的粉料与0.15~1.2份增强纤维或15~20份填充料中的一种或者两种在20~40份复配溶液中制备得到的;所述的具有自调湿功能的粉料由含钙无机类基体、藻类、改性剂按38~55∶6~16∶3~6的重量份比例制成;所述的复配溶液按重量份计由100份清水、1.5~2.0份转晶剂、0.4~0.5份防水剂、0.4~0.5份消泡剂复配得到。本发明的具有自调湿功能的复合材料吸湿率达12%,解湿率达8%,自调湿功能的复合效果及调湿功能的复合速率优于传统无机盐及无机多孔材料,制造成本及应用领域优于特种硅胶及有机高分子。本发明还提供所述复合材料的制备方法。

标签:
复合材料
湖北 - 武汉 来源:中冶有色网 2023-03-18
复合材料杆塔外侧竖直接地引下方法及其杆塔

本发明涉及一种复合材料杆塔外侧竖直接地引下方法及其杆塔。该发明中在地线横担的某一边延长线上架设一段接地引下线上金属横担,在此金属横担的末端竖直引下接地引下线,此接地引下线在下相导线下方一定距离通过对应的接地引下线下金属横担联接到杆塔上,最后接地引下线顺着塔身接地,如果塔身下部分是钢管,接地引下线可直接通过接地引下线下金属横担联接在钢管上来接地。该发明利于最大限度地压缩输电走廊宽度,同时利于防雷设计,避免了接地引下线短接复合材料杆塔塔身,发挥了复合材料塔身的绝缘作用,采用单边接地引下线,更加省材、经济,结构简便,易于实现。

标签:
复合材料
湖北 - 武汉 来源:中冶有色网 2023-03-18
复合材料模块式L型连接装置

本实用新型公开了一种复合材料模块式L型连接装置,包括互相垂直的第一支撑臂和第二支撑臂以及连接第一支撑臂和第二支撑臂的转圆连接夹心加强板,其中,第一支撑臂和第二支撑臂的一端连接组成L形结构,第一支撑臂和第二支撑臂均包括方形PVC泡沫芯材层以及包裹于方形PVC泡沫芯材层外的玻璃纤维层,第一支撑臂和第二支撑臂上均开设有多个螺栓孔,第一支撑臂和第二支撑臂通过紧固件分别与两待连接的结构板连接。本实用新型提出的复合材料模块式L型连接装置,可用于两个正交平面内的板结构的模块化连接,既能保证复合材料结构间的可靠连接,同时还能保证被连接结构自身的强度及刚度。

标签:
复合材料
湖北 - 武汉 来源:中冶有色网 2023-03-18
纳米氮掺杂二氧化钛-壳聚糖复合材料及其制备方法和应用

本发明提供了一种纳米氮掺杂二氧化钛‑壳聚糖复合材料及其制备方法和应用,属于光催化剂技术领域。本发明提供的纳米氮掺杂二氧化钛‑壳聚糖复合材料的制备方法,包括以下步骤:将壳聚糖、醋酸水溶液、二氧化钛和尿素混合,进行改性处理,得到第一前驱体;将所述第一前驱体和碱性试剂混合,进行沉淀反应,得到第二前驱体;将所述第二前驱体和交联剂混合,进行交联反应,得到纳米氮掺杂二氧化钛‑壳聚糖复合材料。本发明提供的制备方法,操作简单,无需进行高温煅烧,耗能低,成本低,适宜工业化生产;在制备过程中二氧化钛不会发生团聚,分散性好。而且,本发明制备的纳米氮掺杂二氧化钛‑壳聚糖复合材料对展青霉素的催化活性和重复使用率高。

标签:
复合材料
湖北 - 武汉 来源:中冶有色网 2023-03-18
柔性导电复合材料的制备方法及其制得的产品与应用

本发明公开了一种柔性导电复合材料的制备方法及其制得的产品与应用,其制备方法如下:步骤1,取普通定性滤纸先后依次置于丙酮、乙醇和去离子水中分别超声处理,取出后干燥至恒重;步骤2,将经步骤1处理后的滤纸反复交替的置于高锰酸钾溶液和硫酸锰溶液中浸泡多次,浸泡完成后,取出滤纸并清洗后干燥至恒重,得到滤纸/二氧化锰复合材料;步骤3,将经步骤2处理后的滤纸反复交替的置于吡咯硫酸溶液和三氯化铁溶液中浸泡多次,且每次从吡咯硫酸溶液和三氯化铁溶液中取出后均吸除滤纸表面的残留液,并清洗后干燥至恒重,得到柔性滤纸/二氧化锰/聚吡咯复合材料即为有机‑无机柔性导电复合材料。其制备方法简单且具有良好的导电性能。

标签:
复合材料
湖北 - 武汉 来源:中冶有色网 2023-03-18
低气味低散发聚丙烯复合材料及其制备方法

本发明公开了一种低气味低散发聚丙烯复合材料及其制备方法,所述聚丙烯复合材料包括以下组分:聚丙烯60‑80份;无机填料17‑23份;乙醇0.1‑3份,基于低气味低散发聚丙烯复合材料的总重量,铁元素的重量含量为10ppm‑200ppm,上述聚丙烯复合材料的制备方法包括:将聚丙烯、含铁化合物和乙醇加入高速混合机中混合后投入双螺杆挤出机,将无机填料从侧喂料加入双螺杆挤出机,经熔融挤出、拉条、水冷、造粒、干燥和装包后置于烘干罐中干燥,每隔2~4h翻倒物料,上述双螺杆挤出机为三真空设计,真空度控制在≤‑0.05bar,双螺杆挤出机机头位置设置过滤网除去大颗粒杂质。本发明中所述低气味的散发特性得到明显改善,同时还能够保持不错的力学性能和受热性能,能广泛应用于汽车内饰件。

标签:
复合材料
湖北 - 武汉 来源:中冶有色网 2023-03-18
Ag-MoS<Sub>2</Sub>复合材料及其制备方法

本发明属于电化学复合材料技术领域,公开了一种Ag‑MoS2复合材料及其制备方法。该制备方法是通过选用块状的二硫化钼,将二硫化钼与表面活性剂和溶剂利用超声剥离的方式获得所需要的片状二硫化钼,随后采用在搅拌的方式下加入银离子溶液及还原剂的作用下获得成品。上述该Ag‑MoS2复合材料的制备过程是结合了超声剥离与原位还原法,具有反应条件温和、简单易操作、所选用的原料资源丰富且价格低廉,制备效率高。该Ag‑MoS2复合材料用于电化学传感器,导电性能好,生物兼容性好。

标签:
复合材料
湖北 - 武汉 来源:中冶有色网 2023-03-18
碳布/四氧化三钴纳米线复合材料及其制备方法和应用

本发明提供了一种碳布/四氧化三钴纳米线复合材料及其制备方法和应用,属于负极材料技术领域。本发明采用化学浴沉积的方法,使四氧化三钴纳米线均匀生长在碳布上,且得到的四氧化三钴纳米线呈现尖晶石结构;此方法制备的碳布/四氧化三钴纳米线复合材料中,四氧化三钴纳米线直径小且均匀;并且,四氧化三钴纳米线直接生长在碳纤维上,与碳纤维基底接触良好;将本发明制备的碳布/四氧化三钴纳米线复合材料用于锂离子电池负极材料时,其可直接作为负极材料的集流体,无需额外粘结剂及导电添加剂,简化了电池制备的工艺流程;所制备的复合材料用作锂离子电池负极材料时具有较高的比容量和优异的循环稳定性。

标签:
复合材料
湖北 - 武汉 来源:中冶有色网 2023-03-18
耐热水的尼龙复合材料及其制备方法、成型制件

本发明公开了一种耐热水的尼龙复合材料及其制备方法、成型制件,所述耐热水的尼龙复合材料的原料包括耐高温尼龙料以及待改性尼龙料,所述待改性尼龙料包括新尼龙料、废旧尼龙料中的至少一种;所述制备方法为:将耐高温尼龙料以及待改性尼龙料搅拌混匀得到混合料,其中,所述待改性尼龙料包括新尼龙料、废旧尼龙料中的至少一种;所述成型制件为使用所述的耐热水的尼龙复合材料进行成型后得到。本发明将所述混合料进行压模后得到所述耐热水的尼龙复合材料。将耐高温尼龙料对新尼龙料、废旧尼龙料进行改性,就可以得到优异的耐热性和耐水性的效果,同时为充分处理和利用废弃物提供条件。

标签:
复合材料
湖北 - 武汉 来源:中冶有色网 2023-03-18
有序介孔氧化硅-氧化钴基@石墨烯复合材料的合成方法及其应用

本发明提供了一种有序介孔氧化硅‑氧化钴基@石墨烯复合材料的合成方法,该方法以氧化石墨烯、含硅有机物及酞菁钴为主要原料,经搅拌、不锈钢反应釜中加热、保温,再将反应所得产物经抽滤、洗涤、干燥、高温煅烧后,将所得产物与酞菁钴球磨混合升温保温后得到有序介孔氧化硅‑氧化钴基@石墨烯复合材料。本发明还公开了上述有序介孔氧化硅‑氧化钴基@石墨烯复合材料用作锂离子电容器的负极材料。本发明合成方法简单易行,所制得的有序介孔氧化硅‑氧化钴基@石墨烯复合材料导电性能好,能解决氧化硅‑氧化钴基材料和石墨烯因体积膨胀系数不同易发生分离的现象;将其作为锂离子混合电容器的负极材料能显著提高电容器的循环稳定性和充放电性能。

标签:
复合材料
湖北 - 武汉 来源:中冶有色网 2023-03-18
聚吡咯纳米管/石墨烯纳米片复合材料、其制备和应用

本发明属于储能纳米材料领域,更具体地,涉及一种聚吡咯纳米管/石墨烯纳米片复合材料、其制备方法和应用,其为石墨烯纳米片构成壳层包覆在聚吡咯纳米管的外表面,其中石墨烯纳米片的尺寸为5~30nm,所述石墨烯纳米片和所述聚吡咯纳米管以酰胺键进行连接,所述复合材料中酰胺键碳占总碳比不高于6.7%,对应石墨烯壳层对所述聚吡咯纳米管的部分或完全包覆。该复合材料以化学共价键连接聚吡咯纳米管和石墨烯纳米片,并通过调整二者之间的质量比,实现可控的石墨烯壳层对聚吡咯纳米管的部分到完全包覆,将该复合材料应用于一种全固态柔性超级电容器,增加导电性,优化提高电容容量,同时作为保护壳层,增强充放电循环稳定性。

标签:
复合材料
湖北 - 武汉 来源:中冶有色网 2023-03-18
具备多相吸附催化功能的纸基铁酸铋复合材料的制备方法

本发明提供了一种具备多相吸附催化功能的纸基铁酸铋复合材料的制备方法。所述方法按如下步骤进行:1、采用水热法或溶胶‑凝胶法制备铁酸铋(BiFeO3)纳米颗粒;2、制备植物纤维悬浮液;3、采用水热法或溶胶‑凝胶法制备铁酸铋(BiFeO3)纸基复合材料。本发明以植物纤维的交织层作为载体,将纳米铁酸铋颗粒在其上均匀分散和负载,可避免铁酸铋纳米颗粒的团聚,从而保证吸附和催化活性,所使用的植物纤维属于多孔材料,具有超强的吸附性能,强吸附必然会产生良好的催化降解效果;本发明利用该催化剂的强吸附和催化性能,实现对有机污染物的高效降解和矿化。

标签:
复合材料
湖北 - 武汉 来源:中冶有色网 2023-03-18
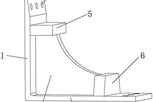
碳纤维复合材料门槛梁
碳纤维复合材料门槛梁 1129     
 0

本发明公开了一种碳纤维复合材料门槛梁,包括门槛梁本体、泡沫夹心和外壳体,所述门槛梁本体由外壳体和设置在外壳体内部的泡沫夹心组成,所述外壳体由炭纤维复合材料制成,所述外壳体为矩形内部中空结构,所述泡沫夹心沿长度方向的两端分别设置有第一金属连接加强件和第三金属连接加强件。本发明中,该碳纤维复合材料门槛梁,将门槛梁本体设计成为单独的外面包覆连续纤维增强的复合材料层合板,空腔内填充泡沫夹心,这样的结构时间,在保证了门槛梁本体的强度的同时,可以降低其自身重力,从而可以降低整车的重量,并且设计闭口剖面的门槛梁本体,门槛梁本体空腔内填充轻质泡沫夹心,以提高整体刚度,以及易于门槛梁本体的成型。

标签:
复合材料
湖北 - 武汉 来源:中冶有色网 2023-03-18
多孔氟化铁碳复合材料制备方法

本发明属于纳米复合材料制备技术领域,公开了一种多孔氟化铁碳复合材料制备方法,包括:将氧化硅、金属铁盐和碳源混合后进行研磨,得到混合粉末;将所述混合粉末在惰性气体下高温碳化处理,得到黑色粉末;将所述黑色粉末与聚四氟乙烯粉末混合后,在惰性气氛下进行刻蚀处理,得到多孔氟化铁碳复合材料。本发明提供的多孔氟化铁碳复合材料制备方法可实现高效的制备方法,且具备较低的人员和环境损害。

标签:
复合材料
湖北 - 武汉 来源:中冶有色网 2023-03-18
复合材料与透声橡胶贴敷型声纳导流罩

本发明涉及一种复合材料与透声橡胶贴敷型声纳导流罩;包括钢质的骨架、纤维增强复合材料层合板和透声橡胶层;所述骨架的一侧设有凹槽;所述纤维增强复合材料层合板的内表面嵌入所述凹槽与骨架连接;所述透声橡胶层贴敷在纤维增强复合材料层合板的外表面;本发明提供具有高透声、高强度、高刚度特性,且对舰艇中高航速下的流激载荷抑制作用明显,自噪声控制性能优异;本发明在保证导流罩具有较高的透声性能的同时,还避免了螺钉连接带来的应力集中问题,保证了强度及刚度的要求。

标签:
复合材料
湖北 - 武汉 来源:中冶有色网 2023-03-18
具有抗菌性能的ZnO/纺织布复合材料的制备方法

本发明公开了一种具有抗菌性能的ZnO/纺织布复合材料的制备方法,该方法将二水合醋酸锌溶于乙醇水溶液中,调节pH值,加入普通纺织布,通过微波-超声波法制备得到ZnO/纺织布复合材料。本发明方法操作简单,成本低廉,反应耗时短,效率高,能耗低,且在纺织布底材上生长的ZnO颗粒分布均匀,形貌规整,粒径可控,粒径范围可控制在10nm-3μm。该材料对常见皮肤致病菌革兰氏阳性菌金黄色葡萄球菌和革兰氏阴性菌大肠杆菌均具有良好的抑菌活性。

标签:
复合材料
湖北 - 武汉 来源:中冶有色网 2023-03-18
上一页 494 495 496 497 498 ... 500 ... 723 下一页
共723页    到第

中冶有色为您提供最新的湖北武汉有色金属理论与应用信息,涵盖发明专利、权利要求、说明书、技术领域、背景技术、实用新型内容及具体实施方式等有色技术内容。打造最具专业性的有色金属技术理论与应用平台!

全国热门有色金属设备推荐
展开更多 +
全国热门有色金属技术推荐
展开更多 +

 

江西省隆恩特环保设备有限公司
宣传

报名参会
更多+

报告下载

有色专家
更多+

矿冶科技集团江苏北矿金属循环利用科技有限公司
书记 / 总经理
中国矿业大学
教授
郑州大学
校长/党委书记
中国矿业大学(北京)
院长/教授
赣州江钨钨合金有限公司
副总经理
赤泥综合利用研究报告2025
推广

热门技术
更多+

推荐企业
更多+

福建省金龙稀土股份有限公司
宣传

发布

在线客服

公众号

电话

顶部
咨询电话:
010-88793500-807