青岛垚鑫智能科技有限公司
宣传

位置:中冶有色 >

有色技术频道 >

分类:
全部
矿山技术
冶金技术
材料制备及加工技术
环境保护技术
分析检测技术
地区:
全部
北京
天津
上海
重庆
河北
山西
辽宁
吉林
黑龙江
江苏
浙江
安徽
福建
江西
山东
河南
湖北
湖南
广东
海南
四川
贵州
云南
陕西
甘肃
青海
内蒙
广西
西藏
宁夏
新疆
其他
其他
展开
 
全部
沈阳
大连
鞍山
抚顺
本溪
丹东
锦州
营口
阜新
辽阳
盘锦
铁岭
朝阳
葫芦岛

辽宁有色金属理论与应用

免费发布技术信息>>
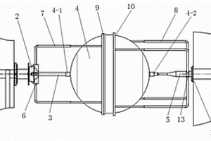
用于球形复合材料气瓶缠绕环向纤维的定位装置

本实用新型属于球形气瓶定位技术领域,具体涉及一种用于球形复合材料气瓶缠绕环向纤维的定位装置,包括定位机构I和定位机构II,定位机构I通过卡盘电机驱动,定位机构II,定位机构I和定位机构II共同带动球形气瓶环向转动,进行纤维缠绕。定位机构I和定位机构II对球形气瓶进行定位,并可以带动球形气瓶旋转,进行环向缠绕纤维,操作简单,减少工人劳动力,提高了生产效率。

标签:
复合材料
辽宁 - 沈阳 来源:中冶有色网 2023-03-18
再生木复合材料及其制备方法

本发明公开了一种再生木复合材料及其制备方法,由以下重量份的原料组成:树脂30‑50份、填充料40‑70份、色料0‑8份、固化剂1‑8份、促进剂0.5‑3份、筋骨0‑20份。有益效果在于:本发明的填充料可采用木材加工后所产生的废料及树木植物的果壳、秸秆纤维等得到,材料来源广泛,成本低,可避免木材的浪费,同时利用本材料制作的木制品成型快、操作简单、耐磨、抗摔、硬度大、韧性好、防水、不易燃,可广泛用于生活用品以及装饰品的生产加工。

标签:
复合材料
辽宁 - 丹东 来源:中冶有色网 2023-03-18
碳纤维树脂基复合材料制造的耐腐蚀泵

碳纤维树脂基复合材料制造的耐腐蚀泵,本实用新型涉及化工耐腐蚀泵领域。该装置包括由泵体、叶轮、第一密封平垫、泵盖、第二密封平垫、机械密封(双封)、排液管、密封盖(双封)、前折流盘、前轴承盖、挡圈、第一滚动轴承、轴承螺母、支脚、后折流盘、轴、后轴承盖、轴承架、甩油环、恒位油杯、油分离器、第二滚动轴承、轴套、密封盖(单封)、机械密封(单封)、第一O形密封圈、第二O形密封圈、第一叶轮口环、泵盖口环、第二叶轮口环、泵体口环、叶轮螺母组成。本实用新型密闭性好,无介质泄漏,可满负荷起动,适合用于石油、化工、军工、食品、制药等领域。由于泵轴上装有无油自润滑轴承,所以大大的增加了承载能力和自润滑性能,显著地提高了泵的效率。

标签:
复合材料
辽宁 - 大连 来源:中冶有色网 2023-03-18
复合材料壁板与长桁整体成型工装

复合材料壁板与长桁整体成型工装,由模板、边缘长桁成型模I、长桁铺叠固化组合模和边缘长桁成型模II构成;长桁铺叠固化组合模由成型模I、成型模II、成型模III、托板和软模构成;将成型模I、成型模II和成型模III依次排列在其上面装托板用螺钉固定连接;将边缘长桁成型模I、长桁铺叠固化组合模,边缘长桁成型模II依次排在模板上;长桁铺叠固化组合模中将螺钉和托板取下,拆掉成型模II装软模,在边缘长桁成型模I、长桁铺叠固化组合模、边缘长桁成型模II的两端安装端头定位卡板,用销钉将端头定位卡板与长桁铺叠固化组合模连接。优点:本工装既是铺叠成型模,又是固化模,节省了工装成本。

标签:
复合材料
辽宁 - 沈阳 来源:中冶有色网 2023-03-18
碳纤维复合材料的输油管道一种制造工艺

碳纤维复合材料的输油管道一种制造工艺,主要原料为PAN基碳纤维、工程塑料、树脂、稳定剂等材料。其特征在于:对气袋内进行注气,使气袋膨胀相对管道模具内壁挤压碳纤维缠带,再泄气后抽出前述的气袋,形成碳纤维管件成品。因此采用性能稳定的碳纤维材料与玻璃纤维、工程塑料合成制造的防腐、耐温、耐压力、抗震管材并实施现代化工艺技术手段;成型工艺好,适合产业化,质量轻运输安装方便。

标签:
复合材料
辽宁 - 大连 来源:中冶有色网 2023-03-18
阻隔辐射能隔热复合材料

本发明涉及一种以薄层之间的联系为特点的层 状产品,即基本上包含具有不同物理性质薄层的产品,特别是 一种阻隔辐射能隔热复合材料。其至少在对流传导隔层的一侧 设有铝反射层、聚酯保护层。它具有阻隔热能效果十分显著, 导热系数为0.33W(m·K),墙体传热系数K= 0.399W/m2K,比传统保温墙体下 降50%;并且耗材少、成本低、施工简便、强度高、防红外线, 不易氧化等优点,适于任何需要采取保温措施的工民建筑、设 施、帐篷、管网上使用。

标签:
复合材料
辽宁 - 沈阳 来源:中冶有色网 2023-03-18
复合材料组合芯模补偿垫工艺

本发明提供一种复合材料组合芯模补偿垫工艺,组合芯模位于挡板内,组合芯模伸出挡板外的部分其表面放有垫条,蒙皮将垫条、组合芯模和挡板覆盖在其内部,通过外界固化压力及加热膨胀使蒙皮、垫条和挡板胶接成为一体,在组合芯模上预留橡胶补偿垫的位置,即在组合芯模的两侧通过减小尺寸来预留出橡胶补偿垫厚度,然后将橡胶补偿垫粘接在组合芯模预留位置上。本发明能够保证胶接组合固化过程中芯模和零件的完全配合,从而确保胶接中对挡板、垫条和蒙皮的支撑,使压力均匀的传递,并改善胶接质量。?

标签:
复合材料
辽宁 - 沈阳 来源:中冶有色网 2023-03-18
用碳纤维复合材料制造的可水、陆起落直升飞机

一种用碳纤维复合材料制造的可水、陆起落直升飞机,本发明其他构造与传统直升飞机基本相同,只是在着陆架左右两侧各设有自动下翻板气囊储存仓、两气囊储存仓内各有一个上壁镶嵌固定在仓内顶层壁上、下部在无气体状态下被自动下翻板托住的气囊,气囊充气和排气口排气的开启装置直接由驾驶室控制板控制,当直升飞机需降落水面时,充气时气囊的膨胀会将气囊储存仓自动下翻板打开,使气囊大部悬露出储存仓外,以双气囊的水面浮力和双气囊的平衡作用、使直升飞机稳稳的降落在水面上,是空中、水上、陆地运输业、国防等最崭新的交通工具体系。

标签:
复合材料
辽宁 - 大连 来源:中冶有色网 2023-03-18
聚脂纤维金属复合材料夹层板

本发明公开了一种聚脂纤维金属复合材料夹层板,包括弹性中间层,所述弹性中间层两侧外壁均粘接有金属瓦楞板,所述弹性中间层两侧外壁均设有等距离分布的规格与两个金属瓦楞板规格相适配的条形槽,两个所述金属瓦楞板远离弹性中间层一侧外壁均粘接有隔热层,且两个隔热层靠近弹性中间层一侧外壁均设有等距离分布的与金属瓦楞板规格相适配的凸楞,两个所述隔热层内均设有等距离分布的沿凸楞方向延伸的等距离分布的空腔,且空腔内填充有阻燃剂。本发明有利于提高夹层板的纵横支撑能力,有利于提高弹性中间层的抗变形能力,提高夹层板的使用寿命,有利于提高夹层板的粘接强度,更加经久耐用。

标签:
复合材料
辽宁 - 沈阳 来源:中冶有色网 2023-03-18
水电机组复合材料智能推力轴承

本发明公开了一种水电机组复合材料智能推力轴承,该轴承通过在单个扇形推力瓦上镶嵌磨损传感元件、摩擦传感元件、油膜温度传感元件和油膜厚度传感元件,实现在线监测推力轴承运行时,流体润滑、边界润滑的摩擦、磨损和油膜温度、厚度实时变化的状态分析;并且与机组现有运行信息如:轴瓦工作压力、转速、瓦体温度、油温、冷却水温度、油质变化、机组震动等各种相关信息互联互通,实现大数据传输、储存、个性化分析与诊断;解决电站难点、痛点的隐性需求,对机组安全运行与健康维护体现在,个性化界定机组安全运行标准,时实预测机组运行健康状态分析与诊断,为电站运行降成本增效益。

标签:
复合材料
辽宁 - 大连 来源:中冶有色网 2023-03-18
基于新型纳米复合材料的蛋白质组样品预处理方法及其应用

本发明涉及一种新型纳米复合材料用于蛋白质样品预处理的新方法。该材料用于蛋白质样品预处理能够有效减小高丰度蛋白质的丰度,降低样品的复杂程度,鉴定到血浆中更多的中低丰度蛋白质。相比于传统的蛋白质样品预处理方法,具有方便易行、成本低廉等特点。

标签:
复合材料
辽宁 - 大连 来源:中冶有色网 2023-03-18
锂离子电池碳基纳米复合材料电极的制备方法

一种锂离子电池碳基纳米复合材料电极的制备方法,属于能源领域。首先,采用CVD法生长高纯度的碳纳米线圈CNCs。其次,将第CNCs加入浓硝酸中酸化处理后,与CNT、分散剂加入去离子水中,超声、抽滤、干燥处理后得到混合碳膜。最后,将电极浆料滴涂到混合碳膜CNT‑CNC压制成圆片上,干燥后得到电极片。基于上述电极片组装纽扣锂离子电池。本发明操作简单,采用抽滤工艺制得碳膜成本低;所制得的碳膜集流体相比于传统集流体质量轻;活性材料和碳膜集流体的接触较好;所制得的纽扣锂离子电池具有优异的倍率性能和高能量密度。

标签:
复合材料
辽宁 - 大连 来源:中冶有色网 2023-03-18
新型复合材料夹芯结构L型偏心限位开槽器

本发明公开一种新型复合材料夹芯结构L型偏心限位开槽器,包括手持限位器,新型L型偏心开槽刀具和限位卡圈;所述L型偏心开槽刀具具有竖直的刀柄和与刀柄垂直的刀头;所述手持限位器具有剖面为几字型主体结构和滚动轴承,所述剖面为几字型主体结构分为倒扣式的桶身主体和位于桶身主体下端的环形支撑底座;桶身主体的顶端开有轴承安装孔用于安装滚动轴承,所述L型偏心刀具的刀柄穿过滚动轴承;所述限位卡圈包括外限位卡圈和内限位卡圈,所述外限位卡圈和内限位卡圈分别套设并紧固在刀柄上。该开槽器结构简单、操作方便、制造成本低、易于推广,提高了产品加工质量和工作效率,降低了产品故障率和不必要的经济损失。

标签:
复合材料
辽宁 - 沈阳 来源:中冶有色网 2023-03-18
耐热低气味本体ABS复合材料及其制备方法

本发明提供一种耐热低气味本体ABS复合材料及其制备方法,各组分及质量百分组成为:本体ABS余量,耐热剂5‑20%,润滑剂0.5‑2%,抗氧剂0.1‑1%,气提剂0.5‑2%。在本体ABS反应结束后,在挤出造粒前,将耐热剂经塑化机熔融后,与本体ABS一起送入可气提的挤出机,然后熔融挤出、造粒得到产品。塑化机的规模为挤出机0.05‑0.2倍。该方法制备的ABS树脂产品的气味等级达到3级以下,COD值达到50ppm以内,耐热温度达106‑120℃。该方法制备的耐热低气味ABS树脂,生产成本较低,且其具有较高的耐热性、低气味性,可应用在汽车内饰件中。

标签:
复合材料
辽宁 - 盘锦 来源:中冶有色网 2023-03-18
耐高温聚酰亚胺复合材料气瓶热振联合试验方法

本发明公开了一种耐高温聚酰亚胺复合材料气瓶热振联合试验方法,根据气瓶使用环境温度,与气瓶工作压力曲线按时间轴拟合,得到环境温度与气瓶压力对应的数据曲线,选取曲线上至少三个坐标点(X,Y),然后将热振试验条件转化为试验件气体高温状态设计点,通过空瓶外加热试验测试,测试第一步中三个坐标点对应的空瓶内部气体温度的到坐标点(X1,Y);将(X1,Y),代入非理想气体状态方程,得出常温下压力值Y1。在室温下充入气体达到(X0,Y1),控制环境温度达到X,气瓶内部温度达到X1,开始振动试验。本发明提供了一种更容易操作,可靠性更高的试验设计方案,可广泛应用于导弹武器、记载等耐高温压力容器的热振联合试验方案的制定。

标签:
复合材料
辽宁 - 沈阳 来源:中冶有色网 2023-03-18
采用复合材料制作的防爆灯

本发明提供一种采用复合材料制作的防爆灯,涉及一种照明装置技术领域。该发明包括防爆灯罩和防爆灯泡,防爆灯泡由包含下述重量份的原料制备而成:亚克力15‑40份、防紫外线涂层10‑15份、PVC15‑20份、玻璃20‑30份、树脂20‑30份;防爆灯罩由包含下述重量份的原料制备而成:亚克力20‑30份、二氧化钛粉10‑15份、聚丙烯树脂5‑10份、聚乙烯树脂5‑8份、膨胀型阻燃剂1‑3份、抗氧剂1‑3份。本发明实现防爆功能,结构新颖、性能稳定、款式大方、安全可靠、方便实用、使用寿命长,在防爆灯泡的普及上有着广泛的市场前景。

标签:
复合材料
辽宁 - 抚顺 来源:中冶有色网 2023-03-18
橡塑粉煤灰复合材料
橡塑粉煤灰复合材料 1029     
 0

一种橡塑粉煤灰复合材料,其主要技术方案要点是:它的组方及重量份比例如下:粉煤灰40—80、铁尼塑料10—20、偶联剂1—8、橡胶粉2—10。本发明的优点是:具有强度高、耐磨损、抗腐蚀能力强、耐酸碱、防潮防水、综合性能好、适用范围广,可以替代木制品、金属制品、水泥制品等原材料,使用寿命长、质轻,主要原料利用废旧料,制造成本低。

标签:
复合材料
辽宁 - 沈阳 来源:中冶有色网 2023-03-18
植物生态环境建设用复合材料

本发明公开了一种植物生态环境建设用复合材料。?材料由有机高分子、有机生物活性材料、有机废弃物、植物生长所需营养元素、缓释及土壤调理材料等复合而成。材料可通过土拌合或水剂施入土壤,具有供给营养、缓释和均衡营养成分、改良土壤理化性状、保水抗旱、抑制盐碱、抵御风蚀水蚀等多重功效,达到改善植物生长环境和提高植物生存能力的双重作用,特别适合于西部黄土半干旱地区和高盐碱沙化土壤及其它松散结构土壤区域的植物生态环境建设和农牧业生产。本材料优点是功能复合优化、无毒害、成本低、见效快、施用简便,可有效的改良荒漠化土地,为植物生长创造良好的水土条件,提高生态环境工程建设的质量和效率。

标签:
复合材料
辽宁 - 大连 来源:中冶有色网 2023-03-18
表面粗糙聚合物复合材料、纳米炭材料及制备方法和应用

本发明涉及一种表面粗糙聚合物复合材料、纳米炭材料及制备方法和应用。通过将酚类化合物、羰基化合物、氨基化合物和胶体模板溶液混合,利用缩聚反应、席夫碱反应和曼尼希反应在胶束界面的动力学差异进行次序聚合,在纳米材料表面或边缘产生纳米岛或纳米颗粒,从而构筑纳米材料表面的粗糙结构。该方法不需要额外刻蚀、沉积过程,工艺简单、可控。利用本发明制备的吸附剂能够实现气体的快速扩散,扩散速率是商业吸附剂的5‑10倍;利用本发明制备的催化剂载体,可实现锚定金属活性粒子、抑制活性组分在高温条件下迁移、团聚,有效提高了催化剂的稳定性。

标签:
复合材料
辽宁 - 大连 来源:中冶有色网 2023-03-18
基于多种超声技术的复合材料探伤仪

本实用新型公开了一种基于多种超声技术的复合材料探伤仪,包括壳体,所述壳体顶部固定嵌入有显示屏和控制面板;壳体左方中部设置有绑带,绑带顶部中间位置固定缝制有固定带,固定带呈V型,且固定带的首尾两端部均与壳体左侧前后两部位固定连接。本实用新型通过在壳体左侧壁固定有绑带,绑带首尾的背部和里部分别固定缝接有魔术子粘和魔术母粘,在实际使用绑带时,将绑带缠绕绑在使用者手持仪器壳体的手臂上,通过魔术子粘和魔术母粘进行固定,消除壳体发生掉落的隐患。

标签:
复合材料
辽宁 - 鞍山 来源:中冶有色网 2023-03-18
适用于复合材料Ⅰ型层间断裂韧性试验的夹具

本实用新型提供一种适用于复合材料Ⅰ型层间断裂韧性试验的夹具,包括对称分布的上夹具和下夹具,上夹具和下夹具都包括连接装置和夹块,连接装置和夹块通过万向节连接,所述连接装置和万向节通过轴承连接。本实用新型连接装置和万向节之间设有轴承,在夹具被试验机锁紧后,使夹具在水平面转动,方便夹具找准位置与试验件相连,方便与试验件连接,节省了调节夹具的时间;实用新型中设置的万向节,可使夹具在与水平面垂直的两个方向转动,方便试验件的对中调节,极大的提高了试验效率。该夹具体积紧凑,安装方便,省时省力。可以实现对试样的准确定位,可以快速适应试验机夹头方向,节约试验时间,而且该夹具轻巧方便。

标签:
复合材料
辽宁 - 沈阳 来源:中冶有色网 2023-03-18
DMC复合材料加工干式变压器垫块成型模具

一种DMC复合材料加工干式变压器垫块成型模具,包括底模,中模,顶模;其特征在于:所述的底模,中模,顶模从底到顶依次罗列拼接构成模具整体,所述的底模的侧端面开设至少一个加热孔,所述加热孔内均设置有外接电源的电加热棒;所述的中模的侧壁开设有测温孔,测温孔内设置温控元件。提高了劳动效率,减少能源消耗。

标签:
复合材料
辽宁 - 沈阳 来源:中冶有色网 2023-03-18
用于金属复合材料的锻造装置

本实用新型公开了一种用于金属复合材料的锻造装置,包括底座,底座的下表面安装有万向轮,底座的上表面开设有转动槽,转动槽内转动安装有转动块,转动块的上表面固定安装有液压升降柱,液压升降柱的上表面固定安装有支撑架;支撑架内开设有两个安装口,安装口内均固定安装有半球体,半球体的内侧表面均开设有球型槽,两个球型槽之间转动安装有活动架,活动架内安装有可以活动的锻造夹,使用时,将本实用新型推动带锻造台附近,利用上夹杆和下夹杆将锻造件夹持,夹持过程中,可以左右上下对锻造件进行活动,使锻造件合理得到锤炼,夹持过程中,隔热玻璃可以对锻造件散发出的热量进行遮挡,可以避免影响操作人员操作。

标签:
复合材料
辽宁 - 沈阳 来源:中冶有色网 2023-03-18
复合材料耐磨辊筛辊
复合材料耐磨辊筛辊 948     
 0

本实用新型涉及复合材料耐磨辊筛辊,包括辊体和轴头,轴头分别设置在辊体的两端,辊体为碳钢厚壁无缝钢管制成,其特征在于,在辊体表面中间区域和两侧区域针对不同耐磨要求设有聚氨酯材料耐磨层、合金陶瓷环、不锈钢材料耐磨层,所述聚氨酯材料耐磨层、合金陶瓷环和不锈钢材料耐磨层至少两种组合。与现有技术相比,本实用新型的有益效果是:辊体强度较高,不易弯曲变形,辊体表面易磨损部分针对不同磨损程度采用一定数量的合金陶瓷环、聚氨酯材料耐磨层或不锈钢材料耐磨层,使辊体各部位磨损程度相对均衡,正常生产条件下,辊体寿命至少可达12个月以上,大大提高了辊筛辊的使用寿命,减少了停机更换筛辊次数,明显地降低了生产成本。

标签:
复合材料
辽宁 - 鞍山 来源:中冶有色网 2023-03-18
复合材料镀膜真空平板

复合材料镀膜真空平板,由两张透光板和采光板和导热热管组成,两张透光板四周用封接材料密封,透光板之间通过支撑物支撑并抽成真空,采光板在两张透光板中间,采光板包含在单一的真空腔内或采光板和封接材料连接并与两张透光板组成两个真空腔,真空腔内包含消气剂。本专利的有意效果是:可以制作出一种十分适合幕墙的保温和进行采光升温的太阳能玻璃幕墙。

标签:
复合材料
辽宁 - 沈阳 来源:中冶有色网 2023-03-18
二硼化钛致密复合材料的无压烧结制备方法

一种二硼化钛致密复合材料的无压烧结制备方法,属于材料技术领域,将SiC粉、TiO2 粉、B4C粉、C粉、TiB2粉和树脂粘结剂混合,将混合后的物料球磨至物料的平均粒径在 0.5~1.0μm,制备成颗粒物料;将颗粒物料压制成坯料,获得的坯料在真空条件下升温至 1200~1400℃,保温0.5~2h;然后在惰性气氛条件下以3~10℃/min的速度升温至1900~2200 ℃,保温烧结。本发明的制备方法简单,获得材料性能优越,具有良好的应用前景。

标签:
复合材料
辽宁 - 沈阳 来源:中冶有色网 2023-03-18
复合材料长桁、梁结构制件自动化制造工装及其工艺

本发明属于自动化制造领域,具体涉及一种复合材料长桁、梁结构制件自动化制造工装及其工艺,该工艺方法在完成预浸料自动铺叠后,使用预浸料坯料吸附转移工装将预浸料坯料转移至热隔膜工装,并在预浸料坯料完成热隔膜成型后,再将预浸料坯料吸附转移至固化成型工装,实现制件的自动化全流程制造。通过设备转移可快速实现,操作简便可重复性高,操作简便易行,提高制造效率,节约人力成本;预浸料吸附转移工装可进行调节,可进行更多形状预浸料坯料的快速稳定转移,提升坯料转移效率和制件制造效率。

标签:
复合材料
辽宁 - 沈阳 来源:中冶有色网 2023-03-18
复合材料纸蜂窝夹芯结构整体共固化成型工艺方法

本发明涉及一种复合材料纸蜂窝夹芯结构整体共固化成型工艺方法,包括以下步骤:1、蜂窝夹芯结构件的铺叠:2、在蜂窝夹芯结构件上铺放一层无孔隔离膜;3、将长方形玻璃织物若干个备用;4、将玻璃纤维织物浸在该胶液中,制成辅助工装预浸料;5、在楔形角保护位置放置,沿四边呈矩形铺设3~5层辅助工装预浸料;6、在辅助工装预浸料的上层依次放置一层有孔隔离膜和辅助透气材料;7、将上述结构的工装整体进行封装后室温固化;8、再次封装放入热压罐中进行固化。该方法不仅加工步骤简洁,而且可以大大缩短蜂窝夹芯结构件的制作周期,降低制造成本。?

标签:
复合材料
辽宁 - 沈阳 来源:中冶有色网 2023-03-18
极性大分子包覆纳米碳化硅的复合材料及制备方法

本发明公开一种制备极性大分子包覆纳米SiC复合材料的方法。首先,通过利用长碳链表面活性剂的二甲基亚砜/水溶液的分选作用,使得纳米SiC与表面活性剂一同悬浮于溶液中,微米或更大尺寸的SiC不能够有效悬浮,达到从微米SiC与纳米SiC的混合粉体中,高选择性提取出纳米SiC的目的。然后,将纳米SiC、极性大分子、弱极性溶剂混合球磨,制备极性大分子包覆的纳米SiC材料。分选纳米SiC的溶剂毒性低、不易挥发、可循环利用,无废液排放,操作温度宽。制备流程简便高效、成本低,具有广泛的工业化应用前景。

标签:
复合材料
辽宁 - 大连 来源:中冶有色网 2023-03-18
纳米碳材料增强铝基复合材料的制备方法

一种纳米碳材料增强铝基复合材料的制备方法,该方法类似于粉末冶金的方法,即铝材包覆粉末加工成形法,主要解决粉末冶金过程中对模具要求精确的问题。该方法通过下述步骤实现:1、将纯铝或铝合金材料作退火处理,并对其表面进行碱液清洗和清水清洗,清洗后凉干或烘干;2、将纯铝或铝合金粉末与纳米碳材料按一定的比例,即:纳米碳材料质量分数为0.1%-8%进行充分混合、搅拌均匀;3、用步骤1处理过的纯铝或铝合金材料包覆混合粉末,压实并密封,再用压力机压制成预制块;4、将步骤3所得预制块轧制成最终成品。本发明成本低、流程短、操作简便,容易实现工业化。

标签:
复合材料
辽宁 - 沈阳 来源:中冶有色网 2023-03-18
上一页 490 491 492 493 494 ... 500 ... 1015 下一页
共1015页    到第

中冶有色为您提供最新的辽宁有色金属理论与应用信息,涵盖发明专利、权利要求、说明书、技术领域、背景技术、实用新型内容及具体实施方式等有色技术内容。打造最具专业性的有色金属技术理论与应用平台!

全国热门有色金属设备推荐
展开更多 +
全国热门有色金属技术推荐
展开更多 +

 

江西省隆恩特环保设备有限公司
宣传

报名参会
更多+

报告下载

有色专家
更多+

中南大学
常务副校长
矿冶科技集团有限公司
所长/研究员级高工
任灵宝金源矿业股份有限公司
技术发展部经理
中冶沈勘秦皇岛工程技术有限公司
原矿山院院长/教授级高工
北京科技大学
副院长/教授
赤泥综合利用研究报告2025
推广

热门技术
更多+

推荐企业
更多+

福建省金龙稀土股份有限公司
宣传

发布

在线客服

公众号

电话

顶部
咨询电话:
010-88793500-807