青岛垚鑫智能科技有限公司
宣传

位置:中冶有色 >

有色技术频道 >

分类:
全部
矿山技术
冶金技术
材料制备及加工技术
环境保护技术
分析检测技术
地区:
全部
北京
天津
上海
重庆
河北
山西
辽宁
吉林
黑龙江
江苏
浙江
安徽
福建
江西
山东
河南
湖北
湖南
广东
海南
四川
贵州
云南
陕西
甘肃
青海
内蒙
广西
西藏
宁夏
新疆
其他
其他
展开
 
全部
南京
无锡
徐州
常州
苏州
南通
连云港
淮安
盐城
扬州
镇江
泰州
宿迁

江苏有色金属理论与应用

免费发布技术信息>>
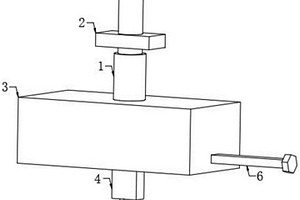
便于检测派瑞林镀膜工艺的检测加工装置

本实用新型公开了一种便于检测的派瑞林镀膜工艺的检测加工装置,属于化学气相沉积技术领域,包括:蒸发室、裂解室、真空沉积室、真空系统、冷却控制器以及管道,真空沉积室上部设置有升华杯,升华杯设置有料仓杯、加热环和升华室,加热环上设有温度传感器,料仓杯的下端设有密封环,密封环的一侧设有加热片,加热片的底部设有下加热传感器,升华室上连接有连接环,连接环上连接有两个前加热环,两个前加热环上分别设有上加热传感器和中加热传感器,在其中一个前加热环的一端设有上连接环。本实用新型通过将荧光增白剂粉料升华均匀沉积在加工件上,通过用紫外线灯照射来检测,可以对加工产品的效果有了直观的观察。

标签:
化学分析
江苏 - 南京 来源:中冶有色网 2023-03-19
过氧化氢非酶电化学传感器及制备方法

过氧化氢非酶电化学传感器,利用H2O2存在下化学电极的响应检测H2O2;所述化学电极是一对贵金属纳米颗粒修饰的电极;所述贵金属是金、银、铂、钯或铱。贵金属纳米颗粒修饰的电极是由束流沉积的方法在电极材料上沉积贵金属纳米颗粒,所述的纳米粒子沉积中,控制纳米颗粒沉积量在0.3层以上,在5层以内;采用玻碳电极材料或纳米石墨烯作为电极材料。本发明方法构建的修饰电极能使催化剂在电极表面具有良好的分散性、结晶性及洁净的表面,弥补了传统方法催化剂易聚集和脱落的难题,并且避免了导电粘结剂的使用,提高了电极的有效催化面积和稳定性,加速了电子在电极与催化剂之间的传递。

标签:
化学分析
江苏 - 苏州 来源:中冶有色网 2023-03-19
基于抗干扰敏感电极的电化学氨气传感器

本实用新型公开了一种基于抗干扰敏感电极的电化学氨气传感器,涉及电化学传感器领域,包括外壳、设于壳体内部的抗干扰敏感电极、设于壳体内部的对电极和设于壳体内部的参比电极,壳体内部填充电解液,且抗干扰敏感电极、对电极和参比电极均位于电解液内,外壳的顶部开设进气孔,抗干扰敏感电极封堵进气孔的底部,外壳的底部从左到右依次连接第一管脚、第二管脚和第三管脚,第一管脚通过导电丝连接对电极,第二管脚通过导电丝连接参比电极,第三管脚通过导电丝连接抗干扰敏感电极。该电化学氨气传感器具有生产加工方便,生产成本低的优点,且该电化学氨气传感器在抗交叉气干扰方面有明显地改善,提高了电化学氨气传感器在各种浓度毒气环境中检测的精准性。

标签:
化学分析
江苏 - 南京 来源:中冶有色网 2023-03-19
碳量子点@MnFe2O4的制备及其电化学传感应用

本发明公开了一种碳量子点@MnFe2O4的制备及其电化学传感应用,属于材料科学领域。本发明通过将MnCl2·4H2O、FeCl3·6H2O以及NaAc和柚子皮粉在乙二醇中混合后,160℃‑200℃下加热6‑12h,制备得到了碳量子点@MnFe2O4。本发明通过简单的一步溶剂热反应将碳量子点与铁氧体材料(MnFe2O4)复合,利用碳量子点良好的水溶性,较高的比表面积的同时,解决了铁氧体材料的团聚问题,制备得到了具有优异电化学性能的CQDs@MnFe2O4。该材料可作为电化学修饰材料,并结合分子印迹技术,协同作用实现对葡萄糖含量的定量检测,且抗干扰性较强。

标签:
化学分析
江苏 - 常州 来源:中冶有色网 2023-03-19
微电脑微波化学反应器
微电脑微波化学反应器 1010     
 0

本实用新型属于实验反应装置技术领域,具体是涉及一种微电脑微波化学反应器,包含反应器、微波发生器、反应器盖、恒流泵、微电脑、温度检测调控器,所述反应器外部设置有保温层,反应器的左侧设置有微波发生器并与反应器连接,反应器的上部设置有反应器盖,反应器盖与反应器之间为螺栓连接,反应器盖顶部通过数据线分别连接有温度检测调控器及微电脑,反应器盖上部还连接有恒流泵,通过改进设计,反应器与微电脑连接,微电脑可以实时检测反应的温度计压力等各项参数,保证了反应的效果最佳,并及时掌握反应参数,通过增加了温度检测调控器,可以及时掌握反应器中的温度并及时调节,保证了反应的正常进行,通过对微波发生器设置在反应器的外侧改进,可以保证微波的加热效果,有非常好的效果。

标签:
化学分析
江苏 - 苏州 来源:中冶有色网 2023-03-19
砂层地质钻孔灌注桩的施工方法、化学泥浆护壁在其中的应用及桩基

本发明公开一种砂层地质钻孔灌注桩的施工方法、化学泥浆护壁在其中的应用及桩基,涉及建筑施工技术领域,以改善现有的砂层地质钻孔灌注桩施工过程中容易出现塌孔、钻尖或钻杆折断的技术问题。本发明砂层地质钻孔灌注桩的施工方法能够确保化学泥浆护壁具有较佳的护壁效果,防止塌孔的发生,并且还能够有效冷却钻头、润滑钻具,减少钻尖或钻杆折断的问题,保证钻进工作的顺利进行。本发明还提供化学泥浆护壁在砂层地质钻孔灌注桩的施工方法中的应用,从而有效保证施工进度和施工质量,降低施工风险,显著提高经济效益和社会效益,适于推广应用。本发明还提供一种采用上述方法得到的桩基,经超声波对桩基完整性检测为Ⅰ类桩,具有优良的施工质量。

标签:
化学分析
江苏 - 南京 来源:中冶有色网 2023-03-19
手持式耐化学试剂试验装置

本实用新型公开了汽车零部件材料耐化学试剂检测技术领域的一种手持式耐化学试剂试验装置,包括壳体,所述壳体内设置有滑动连接的连接板,所述连接板内滑动连接有连接块,所述连接块的顶端固定连接有负荷承载杆,且负荷承载杆贯穿壳体的顶端,所述负荷承载杆滑动连接壳体,且负荷承载杆上设有砝码,所述连接块的右侧固定连接有推拉杆,所述推拉杆横向贯穿壳体的一侧,所述连接块的底端固定连接有下支杆,所述下支杆的底端固定连接有摩擦头,且摩擦头位于壳体的底端,相较用手进行试验时,更能保证所需负荷的精准度,且避免了人手和化学试剂的直接接触,降低了试验的风险性。

标签:
化学分析
江苏 - 苏州 来源:中冶有色网 2023-03-19
单个活细胞表面抗原的超分辨电化学成像方法及装置

本申请提供一种单个活细胞表面抗原的超分辨电化学成像装置及方法,通过构建一种全新的单细胞表面抗原电化学分析系统。该系统具有高稳定性以及空间分辨率,XY方向空间分辨率达到了30nm,Z方向空间分辨率低于5nm。利用这一系统,实现了SICM在生物成像方面的应用,开发了基于电化学信号对单细胞表面抗原进行高空间分辨成像表征的方法,并且为多抗原的同步表征奠定了基础。目前的研究结果提供了CEA抗原的详细空间信息以及细胞膜上相关的潜在组织机制,这将有助于更好地理解分子聚集及其功能之间的关系,以及细胞膜的整体结构。这对单细胞生物学具有重要意义。

标签:
化学分析
江苏 - 南京 来源:中冶有色网 2023-03-19
等离子体可调控的Ag@Au核壳纳米材料增强量子点的电致化学发光传感器的构建方法

等离子体可调控的Ag@Au核壳纳米材料增强量子点的电致化学发光传感器的构建方法,包括步骤:制备银纳米种子,调节合成过程中Ag和Au的摩尔比,获得等离子体可调控的Ag@Au核壳纳米结构材料;利用Ag@Au纳米材料的紫外吸收光谱和量子点(QDs)的ECL发射光谱的重叠,得到有效的局域表面等离子体共振(LSPR)‑增强ECL;构建ECL传感器,摸索Ag@Au纳米材料和QDs之间最佳的距离,定量检测miRNA‑21。本发明的等离子体可调控的Ag@Au纳米材料,不仅有效地解决QDs的固定ECL发射光谱难匹配的问题,而且开创性地提出了等离子体可调控的双金属复合纳米材料用于增强ECL信号,应用于miRNA‑21的高灵敏检测,可满足临床样品检测的灵敏性要求。

标签:
化学分析
江苏 - 徐州 来源:中冶有色网 2023-03-19
燃煤烟气处理用集尘化学催化并联处理器

本实用新型公开了燃煤烟气处理用集尘化学催化并联处理器,包括通过管道依次连接的脉冲式集尘机、干式化学催化处理器、引风机;脉冲式集尘机包括方形壳体、安装于方形壳体下方的灰斗,灰斗下方设有收灰车;方形壳体底面开口,侧壁设有系统控制器以及气压显示器;灰斗底部设有粉尘出口,外侧壁设有振动装置,内部设有高料位检测装置;干式化学催化处理器包括中空壳体、催化处理盒、雾化器;催化处理盒位于中空壳体内部;催化处理盒上方接有雾化喷头;雾化喷头与雾化器之间通过雾化管连通。燃煤烟气经过本实用新型处理后,各项指标都完全满足《锅炉大气污染物排放标准(GB 13271‑2014)。

标签:
化学分析
江苏 - 苏州 来源:中冶有色网 2023-03-19
化学品罐
化学品罐 879     
 0

本实用新型涉及工业生产设备技术领域,尤其是涉及一种化学品罐,包括密封设置的罐体,所述罐体内设有磁致伸缩杆,所述磁致伸缩杆上套设有磁致伸缩浮球,所述罐体底部设有与其内部连通的输入管道,所述罐体内底部位于输入管道上方设有进液护罩,所述罐体底部设有与其内部连通的输出管道,所述输入管道和所述输出管道上均设有球阀,所述罐体顶部设有与其内部连通的抽风管道,本实用新型化学品罐在使用时,在罐体内设置磁致液位计,并在罐体内输入管道处设置进液护罩,使得化学品进入罐体进入稳定,保证了磁致液位计检测稳定可靠,罐体内的有毒气体通过抽风管道及时排出。

标签:
化学分析
江苏 - 常州 来源:中冶有色网 2023-03-19
无酶葡萄糖光电化学传感电极及传感器

本申请属于光电化学传感领域,为解决待测溶液在传感电极表面流通性不佳的问题,公开了一种无酶葡萄糖光电化学传感电极及传感器,包括n型硅层/导电层/防水绝缘层;n型硅层上表面向上凸起为纳米线阵列;纳米线阵列表面包覆有p型金属氧化物半导体薄膜层;p型金属氧化物半导体薄膜层与n型硅层形成的异质结能带结构为错开型,所述的n型硅层与导电层形成欧姆接触。在入射光照射下,p型金属氧化物半导体薄膜层与纳米线阵列产生的光生电子空穴对在异质结内建电场和外加偏压的共同作用下有效分离。能够在无酶修饰、外加一定偏压的条件下实现对葡萄糖的高灵敏度、高选择性、低背景噪声的检测。

标签:
化学分析
江苏 - 苏州 来源:中冶有色网 2023-03-19
电化学微流芯片及其制备方法

本发明公开了一种电化学微流芯片,包括设置在基底上的金属Cr层,所述金属Cr层上设置有金属Au层,所述金属Au层上设置有作为工作电极的金属Bi层和作为辅助电极的电极Ag或AgCl层,所述基底上设置有上盖,上盖与基底之间的空隙为微流道。本发明以MEMS微细加工技术制备基于电化学溶出法的便携式水体离子在线检测仪芯片,而只需使用普通紫外光源,借助光刻胶优异的高精度结构成型能力,使用普通的掩模版,就可完成电化学微流芯片单元的制备。本发明工艺简单、成本低,而且易于批量化生产。

标签:
化学分析
江苏 - 南京 来源:中冶有色网 2023-03-19
无酶葡萄糖光电化学传感电极、传感器及其制备方法

本发明属于光电化学传感领域,为解决待测溶液在传感电极表面流通性不佳的问题,公开了一种无酶葡萄糖光电化学传感电极、传感器及其制备方法,包括n型硅层/导电层/防水绝缘层;n型硅层上表面向上凸起为纳米线阵列;纳米线阵列表面包覆有p型金属氧化物半导体薄膜层;p型金属氧化物半导体薄膜层与n型硅层形成的异质结能带结构为错开型,所述的n型硅层与导电层形成欧姆接触。在入射光照射下,p型金属氧化物半导体薄膜层与纳米线阵列产生的光生电子空穴对在异质结内建电场和外加偏压的共同作用下有效分离。能够在无酶修饰、外加一定偏压的条件下实现对葡萄糖的高灵敏度、高选择性、低背景噪声的检测。

标签:
化学分析
江苏 - 苏州 来源:中冶有色网 2023-03-19
高灵敏度的磺胺嘧啶分子印迹电化学传感器的制备方法

一种高灵敏度的磺胺嘧啶分子印迹电化学传感器的制备方法,属于快速检测技术领域。以丙烯酰胺功能化多壁碳纳米管为载体,磺胺嘧啶为模板分子,甲基丙烯酸为功能单体,乙二醇二甲基丙烯酸酯为交联剂,偶氮二异丁腈为引发剂,合成了磺胺嘧啶分子印迹聚合物。将磺胺嘧啶分子印迹聚合物超声分散,取2μL‑10μL滴涂到处理好的玻碳电极表面。将所制备的传感器放入含有待测样品的溶液中,静置吸附时间为3min‑12min,采用差分脉冲技术,记录扫描中的电流曲线。根据己知磺胺嘧啶的浓度与峰电流的差值绘制标准曲线,得到线性方程ΔIp(μA)=0.967+0.105c(μM),检测范围为4μM‑50μM,检测限为0.68μM。本发明的传感器可用于实际样品中磺胺嘧啶的测定,回收率高。

标签:
化学分析
江苏 - 盐城 来源:中冶有色网 2023-03-19
三维纳米球状LaFeO<Sub>3</Sub>无酶亚硫酸盐电化学传感器的制备方法

本发明属于纳米功能材料与电化学技术领域,尤其涉及一种三维纳米球状LaFeO3无酶亚硫酸盐电化学传感器的制备方法。本发明通过简单的溶胶凝胶法制备了三维纳米球状无酶亚硫酸盐电化学传感器,具有钙碳矿的优异性能,用作电极材料一般不发生溶解,且其独特的结构使其能够具有比其他金属氧化物更高的室温电导率,更低的电极内阻和更高的功率密度,具有优异的电化学性能。此外分散均匀的球形形貌,有助于提供更多的表面活性位点,提高其电化学灵敏度,用本发明制备的LaFeO3无酶亚硫酸盐传感器具有灵敏度较高、检测限较低(0.21µm)、稳定性和重现性较好和抗干扰能力较好的特点。

标签:
化学分析
江苏 - 常州 来源:中冶有色网 2023-03-19
基于MOSFET结构的DNA电化学传感器及其制备方法

本发明公开了一种基于MOSFET结构的DNA电化学传感器,包括CMOS衬底,所述CMOS衬底上沉积有氮化硅层,所述氮化硅层上覆盖二氧化硅绝缘层;其特征在于所述二氧化硅绝缘层为具有微孔结构的微孔阵列,所述微孔侧壁上SiO2绝缘层通过羧基偶联有DNA探针作为敏感元件。该微孔结构不但可以检测DNA探针与DNA靶标之间的结合而且可以在微孔中进行模板扩增有利于利用pH检测功能来检测DNA的合成,进而具有DNA测序功能。

标签:
化学分析
江苏 - 苏州 来源:中冶有色网 2023-03-19
高性能电化学氧传感器用膜电极的制备方法

本发明涉及一种高性能电化学氧传感器用膜电极的制备方法,该高性能电化学氧传感器用膜电极的制备方法通过对多孔聚四氟乙烯膜的透过孔直径和贵金属催化剂的粒径进行限定,使得多孔聚四氟乙烯膜浸润时透过孔内仅能容纳不超过2个贵金属催化剂颗粒;无需设置扩散层,采用浸润的多孔聚四氟乙烯膜将贵金属催化剂涂覆在质子交换膜的表面,并使用热压机进行压合,获得的单层贵金属膜电极催化剂活性高达90%以上;获得的电化学氧传感器用膜电极的电化学响应速度远高于传统物理涂覆催化层,传感器针对氧气的检测精度可达0.01%、响应速度<10s,相对传统传感器大幅度提高。

标签:
化学分析
江苏 - 镇江 来源:中冶有色网 2023-03-19
化学纤维比电阻仪
化学纤维比电阻仪 1102     
 0

本实用新型公开了一种化学纤维比电阻仪,包括比电阻仪本体,比电阻仪本体的表面设置有指示表头,指示表头的一侧设置有倍率选择开关,倍率选择开关的一侧设置有测试开关,测试开关的一侧设置有调节按钮,调节按钮的底部设置有满度调节旋钮,满度调节旋钮的一侧的设置有电源指示灯,电源指示灯的底部设置有电源开关,电源开关的一侧设置有加压装置摇手柄,比电阻仪本体的侧表面设置有温度检测计,温度检测计的一侧设置有湿度检测计,该装置在化纤比电阻仪上设置了可以实时监测周围温度和湿度的仪表,能够在使用前精确了解到温湿度是否适宜,且不影响原有功能的使用。

标签:
化学分析
江苏 - 常州 来源:中冶有色网 2023-03-19
电化学发光聚合物纳米粒的制备方法及应用

本发明涉及一种电化学发光聚合物纳米粒的制备方法,包括以下步骤:将电化学发光聚合物与非发光聚合物在溶剂中混合,发生交联反应后得到电化学发光聚合物纳米粒,非发光聚合物为导电性聚合物。本发明还提供了采用上述方法所制备的电化学发光聚合物纳米粒在生物标记中的应用。采用本发明的方法,可制备出信号增强且结构稳定的电化学发光纳米粒,其具有良好的水溶性,粒径均一,粒径约为20nm,由于表面存在大量的活泼基团,有利于生物标记,在实现高灵敏度的生物医药检测方面将具有广泛的应用。

标签:
化学分析
江苏 - 苏州 来源:中冶有色网 2023-03-19
实验室用分区化学药品柜

本实用新型公开一种实验室用分区化学药品柜,包括在柜体上从上到下依次设置的通风柜、恒温恒湿柜和冷藏柜,通风柜的顶部或者侧部设置有连通通风柜内部的通风装置,通风装置包括引风机和设置在引风机下风口的排风管,恒温恒湿柜内设置有湿度调节装置和温度调节装置,所述冷藏柜内设置有压缩机制冷系统;在柜体上设置有液晶显示屏和报警装置。本实用新型的实验室用分区化学药品柜,在普通的药品柜基础上进行功能分区,适合存放不同种类的化学药品药剂,保证药品不因外界环境的变化而损坏,并可实现实时在线检测,保证其出现故障时能及时得到处理。

标签:
化学分析
江苏 - 南京 来源:中冶有色网 2023-03-19
化学试剂的高效快速取样装置及方法

本发明涉及化学试剂取样装置技术领域,具体地说,涉及一种化学试剂的高效快速取样装置及方法,包括底板,底板的顶部安装有旋转座,旋转座的顶部两侧竖直安装有固定板,旋转座的上方设置有升降仓,升降仓的侧边底部开设有插孔,升降仓的侧边与固定板插接配合,升降仓的顶部安装有操作仓。该化学试剂的高效快速取样装置及方法中,通过取样机构能够方便对试剂进行精确取样,保证每次取样的量恒定,便于快速取样,通过移动机构能够将取样后的试剂进行快速检测,便于实验人员进行操作,节省操作时间,该化学试剂的高效快速取样装置及方法中,能够将试剂进行快速取样,提高取样的效果,相比人工操作快捷方便,便于提高取样的精度。

标签:
化学分析
江苏 - 南京 来源:中冶有色网 2023-03-19
适用于电化学体系的固体导电凝胶及其制备方法

本发明提供了一种适用于电化学体系的固体导电凝胶及其制备方法。采用全新明胶基体,通过加入活性稀释剂与室温固化剂对电化学体系液体电解质进行固化,提高了粘结强度、调节了固化时间,对金属和非金属都具有较强的粘接性能,且耐候、耐老化,操作方便,能满足电化学体系的需求。本固体导电凝胶韧性好、伸长率高、结构简单,不易腐蚀传感器基体,可制成不同厚度的凝胶基体,便于运输和携带,同时能避免现场检测过程中因需定量转移液体电解质的繁琐操作,能替代电化学体系液体电解质及其电解池的固体导电凝胶,避免液体电解质易挥发、密封困难、腐蚀传感器基体等缺陷。本发明制备方法简单,原材料易得,制备条件不苛刻,挤出性好,没特别气味,对环境无污染。

标签:
化学分析
江苏 - 镇江 来源:中冶有色网 2023-03-19
基于CoCuCdTCPP配位聚合物修饰的电化学传感器及其制备方法和应用

本发明公开了一种基于CoCuCdTCPP配位聚合物修饰的电化学传感器及其制备方法和应用。该电化学传感器由CoCuCdTCPP配位聚合物悬浊液滴涂于电极表面制成;所述CoCuCdTCPP配位聚合物包括双金属CuCdTCPP和CoCdTCPP配位聚合物以及三金属体系CuCoCdTCPP配位聚合物。本发明中的CoCuCdTCPP配位聚合物运用于电化学传感中均是首次,由于CoCuCdTCPP配位聚合物具有多个金属活性中心修饰电极形成的电化学传感器可以有效稳定地检测亚硝酸和钠过氧化氢,响应时间短,灵敏度高,并且成本低,制备简单。

标签:
化学分析
江苏 - 南京 来源:中冶有色网 2023-03-19
磁场诱导自组装肌酸酐分子印记膜电化学传感器制备方法

本发明公开了一种磁场诱导自组装肌酸酐分子印记膜电化学传感器制备方法。该方法依次包含电极预处理、电聚合溶液预组装、经磁场诱导自组装修饰电极、电聚合形成印记聚合物以及模板分子洗脱步骤。本发明分子印记膜电化学传感器制备方法操作简便、价格低廉、响应灵敏、抗干扰能力强、稳定性和重现性良好,可实现血浆、尿液中肌酸酐的高效、灵敏和快速检测,对临床肾脏疾病的诊断与监测有重要意义。

标签:
化学分析
江苏 - 南京 来源:中冶有色网 2023-03-19
基于集群影响度的战场博弈策略强化学习训练方法

本发明提供的一种基于集群影响度的战场博弈策略强化学习训练方法,通过集群影响度的分析结果并结合强化学习技术,可以有效克服开放战场环境具有的作战单位数目大、战争迷雾等挑战,并通过采用强化学习进行交叉训练保证决策模型可以不断提高自身决策水平,有效应对开放战场环境学习困难的问题,有助于军事战场中的人机协同决策等情况,可广泛应用于局域作战、反恐等领域的决策问题。

标签:
化学分析
江苏 - 南京 来源:中冶有色网 2023-03-19
用电化学法制备氨基寡糖素的工艺及应用

本发明公开了一种用电化学法制备氨基寡糖素的工艺及应用,属于农药技术领域。本发明以壳聚糖为原料,溶于HAc‑NaAc缓冲液中,设置电解液的温度为40~60℃,控制电流密度为0.06~0.2A/cm2,通过电化学法降解后,冷却、洗涤、过滤、干燥制得氨基寡糖素。本发明方法不需要外加试剂,有利于产物的分离与提纯,几乎没有二次污染,利用率高,操作简单易于控制,与传统的制备工艺相比,电化学法是名副其实的绿色生产工艺。通过分析氨基寡糖素对水稻稻瘟病的抗病性,有助于推动生物农药领域的发展。

标签:
化学分析
江苏 - 南京 来源:中冶有色网 2023-03-19
电池铝塑膜气密性的检测方法和检测装置

本发明提供了一种电池铝塑膜气密性的检测方法和检测装置,所述的检测方法包括:封装电池时,向电池中加入电解液和水,并完成封装,封装后的电池放至水箱中加热,记录电池膨胀体积,检测电池铝塑膜的气密性。本发明通过将电池放入水箱内进行加热,利用水浴法,能够测试铝塑膜自身结构与PP层之间的密封效果、铝塑膜本身的气密性以及铝塑膜与封装极耳之间的气密性。相比于传统的充气压爆试验,检测范围更广,能够有效避免充气设备气嘴与铝塑膜因接触造成局部撕裂的问题;此外,通过调节电解液加入量、水的质量以及加热温度,模拟电化学腐蚀,可以缩短检测铝塑膜气密性的时间,具有方法简单、检测快捷和可靠性高等特点。

标签:
化学分析
江苏 - 苏州 来源:中冶有色网 2023-03-19
多功能谱学微型电化学流动池

一种多功能谱学微型电化学流动池,包括一个流动池腔体(1)、腔体上设置一对透射窗口,腔体内设置工作电极(7)、对电极和参考电极(5、6),所述腔体上透射窗口是活动的,即在窗口的外缘设有螺纹,流动池腔体上与亦设有与窗口外缘螺纹匹配的内螺纹。本实用新型提供了一种适用于常规电化学研究,既能用于池体积和光程固定,又适用于流动注射分析研究和现场紫外、可见光谱电化学研究的多功能谱学微型电化学流动池。

标签:
化学分析
江苏 - 南京 来源:中冶有色网 2023-03-19
纳米酶在催化增强电化学发光信号及单细胞表面膜蛋白成像中的应用

本发明提供了纳米酶在催化增强电化学发光信号及单细胞表面膜蛋白成像中的应用,所述的纳米酶为Co3O4纳米酶,所述的电化学发光体系为鲁米诺类似物L012‑H2O2,所述的膜蛋白为癌胚抗原CEA。本发明首次获得Co3O4催化增强ECL可视化,通过在鲁米诺类似物L012‑H2O2体系中施加电压,过氧化氢在纳米酶催化作用下分解产生活性氧自由基,增强L012产生发光信号,从而在纳米酶上产生局部增强的可视化ECL信号,并用于单细胞表面膜蛋白高灵敏成像分析。将CEA抗体通过共价结合修饰在Co3O4上制备功能化探针。利用免疫结合,细胞会特异性捕获探针。过氧化氢在Co3O4催化下生成活性氧自由基。

标签:
化学分析
江苏 - 南京 来源:中冶有色网 2023-03-19
上一页 508 509 510 511 512 ... 2000 ... 4837 下一页
共4837页    到第

中冶有色为您提供最新的江苏有色金属理论与应用信息,涵盖发明专利、权利要求、说明书、技术领域、背景技术、实用新型内容及具体实施方式等有色技术内容。打造最具专业性的有色金属技术理论与应用平台!

全国热门有色金属设备推荐
展开更多 +
全国热门有色金属技术推荐
展开更多 +

 

江西省隆恩特环保设备有限公司
宣传

报名参会
更多+

报告下载

有色专家
更多+

郑州大学
副院长/教授
武汉工程大学
教授
江西理工大学
教授
长沙矿冶院检测技术有限责任公司
总经理
西北有色金属研究院、中国工程院
院士
赤泥综合利用研究报告2025
推广

热门技术
更多+

推荐企业
更多+

福建省金龙稀土股份有限公司
宣传

发布

在线客服

公众号

电话

顶部
咨询电话:
010-88793500-807