青岛垚鑫智能科技有限公司
宣传

位置:中冶有色 >

有色技术频道 >

分类:
全部
矿山技术
冶金技术
材料制备及加工技术
环境保护技术
分析检测技术
地区:
全部
北京
天津
上海
重庆
河北
山西
辽宁
吉林
黑龙江
江苏
浙江
安徽
福建
江西
山东
河南
湖北
湖南
广东
海南
四川
贵州
云南
陕西
甘肃
青海
内蒙
广西
西藏
宁夏
新疆
其他
其他
展开
 
全部
济南
青岛
淄博
枣庄
东营
烟台
潍坊
济宁
泰安
威海
日照
滨州
德州
聊城
临沂
菏泽

山东有色金属理论与应用

免费发布技术信息>>
革屑水泥发泡剂的制备方法

本发明涉及一种动物蛋白基水泥发泡剂,加入水、革屑、碱在80-100℃下水解7-9h,离心抽滤,在所得水解液中添加适量溶剂S保持pH中性,在此条件下制得动物蛋白基水泥发泡剂基液,在基液中添加适量不同种类的稳泡组分、增强组分,均匀混合并制得动物蛋白基水泥发泡剂;所得发泡剂发泡能力强、泡沫细腻均匀、稳定性高、价格便宜,原料易得,并拓宽了制革固废资源化利用途径,若得以推广应用,可较好地解决制革行业固废回收利用问题。

标签:
固废
山东 - 烟台 来源:中冶有色网 2023-03-19
林木抗旱促生胶体型基质及其应用

本发明提供一种林木抗旱促生胶体型基质及其应用育苗基质。所述林木抗旱促生胶体型基质由固体菌剂、草炭、珍珠岩和蛭石混匀而成;其中,所述固体菌剂是将抗旱微生物组合菌液均匀接种到胶体型发酵料中形成固体菌剂;抗旱微生物组合菌液由枯草芽孢杆菌GE3、蜡样芽孢杆菌Z77和干酪乳酸杆菌1.0580复配而成。不仅能够充分发挥枯草芽孢杆菌GE3的抗旱促生活性,同时还能够使其在干旱环境中发挥菌株之间的协同共生作用,同时基质中加入水洗牛粪和牛粪沼渣混合发酵产物,进一步提高微生物定殖存活性能,同时实现了对牛粪等废弃物资源的再利用,具有良好的实际应用之价值。

标签:
固废
山东 - 济南 来源:中冶有色网 2023-03-19
含苯胺及苯并噻唑的M树脂汽提方法

本发明涉及废弃物处理技术领域,特别是涉及一种含苯胺及苯并噻唑的M树脂汽提方法。包括如下步骤:S1.将含苯胺及苯并噻唑的M树脂加入溶剂中,碾碎浸泡处理得到混合溶液;S2.将混合溶液加入塔釜进行萃取精馏,当塔顶出料不分层且没有油相时,检测塔釜液中苯并噻唑的含量,达标后停止萃取精馏;S3.加水进行汽提,汽提完成后,塔顶分离出苯并噻唑和苯胺混合物;然后将氢氧化钠溶液加入塔釜中,回流反应后,塔釜液分层,分离上层液和下层渣料,将盐酸加入所述上层液中,然后抽滤得到固体物1;S4.将固体物1加入氢氧化钠中,反应后抽滤得到滤液,将盐酸加入所述滤液中,然后抽滤,所得固体为橡胶促进剂M。

标签:
固废
山东 - 东营 来源:中冶有色网 2023-03-19
双氟磺酰亚胺锂的制备方法

本发明涉及双氟磺酰亚胺锂制备的技术领域,且公开了一种双氟磺酰亚胺锂的制备方法,通过将361.2g双氟磺酰亚胺酸投入反应瓶中,加入362.2g二氯甲烷,反应液降温至5℃,缓慢加入84.0g单水氢氧化锂,反应结束后保温1h,反应液静置分层,有机相回收溶剂套用,下层水相低温浓缩得固体盐,固体盐每次使用180g二氯甲烷打浆洗涤3次,固体盐继续低温真空干燥,可以得到高纯度双氟磺酰亚胺锂,相比传统釜式反应,本方案采用微通道反应器更加迅速高效,稳定安全,操作简便,无工业化放大效应,且本方案工艺简单,转化效率高,原子利用率较高,且生成的废气易于处理,经济环保效益显著。

标签:
固废
山东 - 东营 来源:中冶有色网 2023-03-19
高强路基混凝土及其制备方法

本发明公开了一种高强路基混凝土及其制备方法。制备高强路基混凝土采用的方法是将工业固废硫脲滤渣(Ca(OH)2)、粉煤灰作为胶凝材料,将级配硕石、热电厂炉渣分别作为粗细骨料,加一定比例的外加水,经原材料预处理、搅拌混合制备而成,本发明产品可代替其它路基稳定材料用于二级及二级以下水泥混凝土公路工程基层和底基层的铺筑。同时本发明安全高效地利用工业固废制备高强路基混凝土,一方面减少了国家非可再生资源的利用,另一方面将工业固废资源利用价值最大化,大大减少了工业固废对环境的污染;安全高效利用工业废渣,获得具有高强度的路基混凝土,此发明具有环保利废的重大意义。

标签:
固废
山东 - 滨州 来源:中冶有色网 2023-03-19
铁铝酸盐相海工凝胶材料及其制备方法

本发明公开了铁铝酸盐相海工凝胶材料及其制备方法,由基体材料、速凝剂、分散剂和膨胀剂组成,所述基体材料按重量份数计,包括铁铝系高活性材料10~50份、铁尾矿10~30份、矿渣20~35份、脱硫石膏0~10份,其中,脱硫石膏不为0;所述铁铝系高活性材料的主要化学组成为SiO2、Al2O3、CaO、SO3、Fe2O3。该材料以铁铝系高活性材料为主体、多类型大宗固废为辅,在消耗大量堆积固废同时,降低海工胶凝材料的生产成本,在一定程度上促进了海工胶凝材料的大规模利用。

标签:
固废
山东 - 济南 来源:中冶有色网 2023-03-19
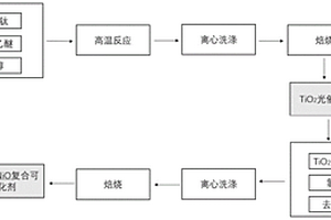
缺陷型二氧化钛管-氧化镍复合材料及其制备方法和应用

本发明提供一种缺陷型二氧化钛管‑氧化镍复合材料及其制备方法和应用,属于催化剂制备技术领域。所述缺陷型二氧化钛管‑氧化镍复合材料制备方法包括:S1、将硫酸氧钛、乙醚、丙三醇和乙醇混合均匀后进行溶剂热反应得中间体,纯化待用;S2、将步骤S1制得的块状固体进行高温焙烧得二氧化钛管;S3、将二氧化钛管、水和镍盐搅拌混合后纯化得绿色固体;S4、将S3得到的绿色固体高温焙烧即得二氧化钛管‑氧化镍复合材料。本发明制得的二氧化钛管‑氧化镍复合可见光催化剂,拓展了可见光的光响应,同时其稳定性好,不发生团聚,光催化活性高,可以应用于能源公司、城市污水、工业废水等水处理领域,具有良好实际应用之价值。

标签:
固废
山东 - 济南 来源:中冶有色网 2023-03-19
聚合氯化铝生产用固液分离装置

本实用新型公开了一种聚合氯化铝生产用固液分离装置,它属于化工设备领域,其解决了现有技术中缺少一种结构简单,占用空间较小,利用重力快速分离聚合氯化铝成品中的固体杂质,主箱体底部分离出的固体,可以随时通过阀门排出,方便后续清洗,沉淀过程封闭,不会挥发出气体,更加环保的聚合氯化铝生产用固液分离装置的问题。它主要包括支架,支架上设有主箱体,主箱体内设有中间进料筒,中间进料筒与进料管道连接;所述主箱体上方的溢流口处连接有出料管道;所述主箱体下方设有落料管道,主箱体与落料管道之间设有阀门;所述中间进料筒上部设有缓冲板。本实用新型主要用于聚合氯化铝生产过程中成品中含有的固体废渣的沉淀。

标签:
固废
山东 - 临沂 来源:中冶有色网 2023-03-19
手术室用医疗废物收集装置

一种手术室用医疗废物收集装置,包括有台面、支撑腿、固废盒、液废箱和车轮。台面的顶面上,在其一侧开设有漏液口,在台面的底面上,其四个对角处分别设置有支撑腿,支撑腿之间设置有若干横梁和竖梁,以构成框架式支撑结构。支撑结构的内部通过设置隔板分隔有固废收集空间和液废收集空间,固废收集空间内部设置有固废盒,液废收集空间内设置有液废箱。支撑腿的下部滑动套设有套管,套管的两侧分别铰接有支撑杆,支撑杆铰接有支撑板,支撑腿的底端设置有车轮。本实用新型所述的一种手术室用医疗废物收集装置,其设计合理,便于医务人员分类处理医疗废物,且稳定性能较好,能有效降低医务人员的劳动强度,提高工作效率,有利于手术工作。

标签:
固废
山东 - 济宁 来源:中冶有色网 2023-03-19
固液分离预处理设备
固液分离预处理设备 1013     
 0

本实用新型涉及一种固液分离预处理设备,包括分离室和沉降室,所述分离室的两端分别设有进水口和一次出水口,分离室的底部通过中转水管与沉降室一端的顶部连通,沉降室另一端的顶部设有二次出水口,所述沉降室的底部为倾斜面且倾斜面的底部设有排料口,液体通过进水口进入分离室,在分离室中进行沉降,沉降后干净的液体通过一次出水口流出,含有固体的液体通过中转水管进入沉降室,沉降室内部的固体沿倾斜面下滑,最终与部分液体一同通过排料口流出,干净的液体通过二次出水口流出,本实用新型通过分离室和沉降室的二次分离,实现固体和液体的预处理,降低后续工艺的废水量,提升处理指标。

标签:
固废
山东 - 济南 来源:中冶有色网 2023-03-19
费托合成蜡渣处理方法及处理系统

本发明公开了一种费托合成蜡渣处理方法及处理系统,该方法包括如下步骤:(1)对蜡渣进行加热处理,使蜡渣中的蜡保持熔解状态;(2)对经加热处理后的液态蜡渣利用压滤机进行过滤分离,过滤分离的温度为160℃,得到熔融态蜡和固体残渣;(3)对得到的固体残渣再次进行水分解处理,水分解温度为160℃,得到熔融态蜡和固体废渣。本发明所公开的方法能对渣蜡中的蜡进行充分地回收,从而避免了蜡资源的浪费,极大地提高了经济效益。

标签:
固废
山东 - 淄博 来源:中冶有色网 2023-03-19
酸性含铜刻蚀液处理系统

本实用新型提供了一种酸性含铜刻蚀液处理系统,所述酸性含铜刻蚀液处理系统包括依次管路连通的固液分离装置、油水分离装置、反应槽和压滤装置,所述压滤装置具有液体出口和固体出口,所述压滤装置的固体出口下方设置有酸溶槽,所述酸溶槽依次和结晶装置、三效蒸发装置管路连通。本实用新型的系统结构简单,占地面积小。通过对连接关系的改进,将酸性含铜刻蚀液去除固体杂质、除油后进行氧化、沉淀反应,沉淀生产氢氧化铜后通过压滤装置分离氧化铜和上清液,产生的氧化铜通过压滤装置的固体出口落入酸溶槽,酸溶槽中进行硫酸溶解氢氧化铜然后得到的硫酸铜溶液经过结晶后得到硫酸铜产品,结晶废水经过三效蒸发装置处理。

标签:
固废
山东 - 威海 来源:中冶有色网 2023-03-19
用于固液分离的装置
用于固液分离的装置 1169     
 0

本实用新型公开了一种用于固液分离的装置,包括四个支撑腿,四个所述支撑腿顶部固定设置有固液分离筒,所述固液分离筒一端固定连接有固体出料筒,所述固体出料筒下端固定设置有固体出料口,所述固液分离筒远离固体出料筒的一端下部固定设置有第一放置板,所述第一放置板上端固定设置有第一电机,所述第一电机的输出端通过联轴器固定连接有螺旋分离杆,所述螺旋分离杆远离第一电机的一端固定连接有螺旋出料段。本实用新型公开了一种用于固液分离的装置,通过两个固液分离机构,形成二次固液分离系统,可以有效的对废料进行固液分离,分离效果比较好,分离速度快,固液分离的工作效率非常高,使用非常方便。

标签:
固废
山东 - 烟台 来源:中冶有色网 2023-03-19
一体化污水处理装置
一体化污水处理装置 1132     
 0

本实用新型涉及污水处理技术领域,具体地说就是一体化污水处理装置,包括箱体,箱体内设有固体过滤装置和沉淀装置,固体过滤装置设在沉淀装置的上侧,固体过滤装置包括可旋转的过滤板,过滤板通过转轴安装在箱体内,转轴外部设有安装在箱体外的电动机,箱体左上侧设有进液口,箱体内右侧中部设有接液槽,箱体内右上侧设有冲洗装置,箱体内左侧中部设有废料排出口;沉淀装置包括上侧开口的沉淀桶,接液槽的底部通过管道连接至沉淀桶的侧面下部,沉淀桶的内设有搅拌装置,沉淀桶上侧还设有加药装置,本装置的一体化污水处理装置能够同时实现过滤固体物与沉淀操作,节省了过滤步骤,节省了成本和人工,提升了污水处理效率。

标签:
固废
山东 - 济南 来源:中冶有色网 2023-03-19
合成氰基丙烯酸酯的方法

本发明公开了一种合成氰基丙烯酸酯的方法,步骤为:以氰基乙酸酯和二烷氧基甲烷为原料,在催化剂催化下进行缩合反应,得到含氰基丙烯酸酯低聚物和副产物醇的反应混合物;将副产物醇和未反应的二烷氧基甲烷分离出来,向剩余的反应混合物中加入稳定剂,进行减压裂解蒸馏,得氰基丙烯酸酯粗品;对粗品进行提纯,得到氰基丙烯酸酯成品。本发明不再使用固体多聚甲醛,减小了固体投料的难度,无须脱水步骤,也无须使用脱水剂,避免了常规合成氰基丙烯酸酯中的“使用固体多聚甲醛,使用溶剂连续脱水”的缩聚工艺的不足,反应过程更加容易控制,工艺简单,可操作性强,经济合理,大幅减少了三废排放和对环境的污染,具有良好的社会效益。

标签:
固废
山东 - 潍坊 来源:中冶有色网 2023-03-19
锅炉脱硫处理设备分离室

锅炉脱硫处理设备分离室,包括分离室,分离室的上部一侧连通出管,分离室的下部连通进管,分离室的中部设置滤板,滤板的侧周与分离室的内壁侧周连接,滤板将分离室的内部空间分隔为上下两个空间,上部空间与出管连通,本实用新型在分离室的下部设置了废物排出装置,分离室内部位于滤板下方的区域过滤产生固体结晶物后,会自然沉降到导流管的内部,当导流管内部积聚较多的固体结晶物后,使用者可以开启防水驱动装置和阀门,防水驱动装置带动绞龙旋转,进而使绞龙驱动导流管内部的含有较高浓度固体颗粒的溶液从阀门处排出,从而减少分离室内部固体结晶物的含量,避免分离室轻易堵塞。

标签:
固废
山东 - 济宁 来源:中冶有色网 2023-03-19
农村旱改厕粪污处理方法

本发明的农村旱改厕粪污处理方法,包括:a).旱改厕抽粪;b).粪液絮凝;c).固液分离;d).添加农作物秸秆;e).高温堆肥;f).液体加热;g).有机肥还田。本发明的农村旱改厕粪污处理方法,首先对粪液进行沉降处理,然后将液体与固体粪污分离开来,固体粪污中加入秸秆进行堆肥发酵形成有机肥料;分离后的粪液进行高温(超70℃)加热,以杀死粪液中的病菌和虫卵,使其满足还田的要求;处理后的固体有机肥和肥液作为肥料还田之用,既不会对环境造成污染,又充分发挥了有机肥料的效能,实现了变废为宝,增加了农作物产量,有益效果显著,适于应用推广。

标签:
固废
山东 - 济南 来源:中冶有色网 2023-03-19
污染物一体化处理系统及方法

本发明涉及污染治理技术领域,尤其是污染物一体化处理系统及方法,在各个所述的自集污区域内分别安装有定点集污装置,所述定点集污装置用于收集其周边区域内的固体污染物,水面上的固体污染物依靠水流波纹推力和/或外力实现靠向对应位置处的定点集污装置并被其收集,各所述定点集污装置用于配合外部吊装设备实现收集固体污染并对其分类收集。本发明中的污染物处理系统配合现有的清污船来实现对水库整体进行高效的清洁,各个定点集污装置在近岸一定区域范围内实现快速高效、长期地收集自流至定点集污装置内部的污染物并通过定期的向外吊装清理被收集的污泥等实现对水库的清洁处理,污染后被收集后可实现废物利用,更加绿色环保。

标签:
固废
山东 - 济宁 来源:中冶有色网 2023-03-19
二氯吡啶酸盐原药及其水溶性粒剂的制备方法和应用

本发明公开了一种二氯吡啶酸盐原药及其水溶性粒剂的制备方法和应用,该原药由固体二氯吡啶酸与固体碱性物质直接反应得到。本发明制备过程中物料保持固体状态,产物无需经过结晶过程,简化了合成步骤,提高了收率,降低了能耗,无三废排放,无粉尘产生,安全环保性好,对环境污染较小。制备的二氯吡啶酸水溶性粒剂通过调整辅料的选择和配比,降低了起泡性,提高了崩解速度和溶解度,溶解后溶液中无沉淀,与水剂相比包装、运输、储存方便,成本低,便于应用。

标签:
固废
山东 - 潍坊 来源:中冶有色网 2023-03-19
环境友好型氨氯吡啶酸盐的制备方法

本发明公开了一种氨氯吡啶酸盐的制备方法,属于农药化工技术领域。本发明的制备方法是固体氨氯吡啶酸与固体碱性物质,在搅拌条件下直接反应。本发明制备过程中物料保持固体状态,产物无需经过结晶过程,简化了合成步骤;反应时间短,生产效率高;产品收率高,转化率高,纯度高,水分含量符合标准,溶解度良好,几乎无沉淀产生;降低了能耗,无三废排放,无粉尘产生,安全环保性好,对环境污染较小。

标签:
固废
山东 - 济南 来源:中冶有色网 2023-03-19
固核凝胶颗粒及其制备方法和应用

本发明属于采油工程技术领域,涉及一种固核凝胶颗粒及其制备方法和应用。所述固核凝胶颗粒包括固体粒子和包覆在固体粒子表面的包覆层,以质量百分比计,固体粒子15~55%,包覆层45~85%;所述包覆层为聚合物。该固核凝胶颗粒在35000r/min的转速下剪切30s后的脱离率小于15%。本发明所述固核凝胶颗粒具有较好的黏弹性、较高的膨胀倍数、较好的热稳定性和抗剪切稳定性,可用于制备基于黏弹性颗粒的非均相复合驱油体系,可提高聚合物驱后非均质油藏的采收率。本发明以工业废渣作为固核,原料廉价易得,并实现了资源的重复利用,保证油田应用效果的同时降低了经济成本,减轻了环境污染。

标签:
固废
山东 - 东营 来源:中冶有色网 2023-03-19
多掺量锯泥广场砖及其制备方法

本发明提供了一种多掺量锯泥广场砖,包括以下原料:花岗岩锯泥、钢渣、钾长石、堇青石、膨润土。并经过湿法球磨、均化陈腐、喷雾干燥、干压成型及高温烧制步骤制备而成。本发明的优点是:1、高掺量、多维度利用锯泥,固废资源化利用,属于环保型生产工艺,社会效益显著;2、钢渣也是固废利用,变废为宝,有利于社会和谐发展;3、多掺量固废资源利用的发明,打破了以往只能在实验室烧制成功的问题,可实现批量化生产线生产,技术难度大,但效果明显;4、多掺量固废资源利用的发明,主原料材料零甚至负购买费用,经济效益明显;5、可烧制10×10×2cm甚至20×20×2cm的产品,且产品能够维持稳定形态,不易碎裂。

标签:
固废
山东 - 日照 来源:中冶有色网 2023-03-19
氨氯吡啶酸盐的水溶性粒剂及其制备方法

本发明公开了一种氨氯吡啶酸盐原药及其水溶性粒剂的制备方法和应用,该原药由固体氨氯吡啶酸与固体碱性物质直接反应得到。本发明制备过程中物料保持固体状态,产物无需经过结晶过程,简化了合成步骤,提高了收率,降低了能耗,无三废排放,无粉尘产生,安全环保性好,对环境污染较小。制备的氨氯吡啶酸水溶性粒剂通过调整辅料的选择和配比,降低了起泡性,提高了崩解速度和溶解度,溶解后溶液中无沉淀,与水剂相比包装、运输、储存方便,成本低,便于应用。

标签:
固废
山东 - 济南 来源:中冶有色网 2023-03-19
生物炭无土栽培基质的制备方法

本发明公开一种生物炭无土栽培基质的制备方法,包括:(1)将粉煤灰与农业生物质粉末混合均匀后进行造粒,得前驱体颗粒;然后将该前驱体颗粒干燥后进行碳化处理,得碳化内核颗粒。(2)将碳酸钙粉末、磷酸固体粉末混合均匀后掺入粉煤灰和有机质的混合物中,混合均匀后加入乙醇制备成浆体。(3)将所述碳化内核颗粒浸入浆体中,然后取出碳化内核颗粒干燥,得活性支撑体颗粒。(4)在活性支撑体颗粒中掺入硅酸钠固体粉末混匀,然后洒水拌匀后静置,即得。本发明以固体废弃物为原料,经过改性工艺得到了一种新型无土栽培基质,不仅能够满足作物无土栽培的需求,而且能够对作物起到很好的支撑、固定效果,改善作物在生长过程中出现倒伏的现象。

标签:
固废
山东 - 济南 来源:中冶有色网 2023-03-19
染料中间体对氨基苯酚的合成方法

一种染料中间体对氨基苯酚的合成方法,包括含锆钒硅氧化物的固体超强酸催化剂的制备,硝基苯催化加氢,苯基羟胺催化重排和后处理;其中硝基苯催化加氢所用催化剂为含锆钒硅氧化物的固体超强酸催化剂,苯基羟胺催化重排在含有三(3‑氟苯基)二氯化锑和四苯基溴化锑的四氢呋喃中进行;该方法不使用贵金属催化剂和酸性液体,避免了设备腐蚀和酸性废液问题,对氨基苯酚产率87.3~92.1%、纯度94.1~96.5%,含锆钒硅氧化物的固体超强酸催化剂循环使用50次后,对氨基苯酚产率83.8~89.7%、纯度91.9~93.7%。

标签:
固废
山东 - 潍坊 来源:中冶有色网 2023-03-19
泔水综合利用技术
泔水综合利用技术 892     
 0

本发明提供了一种泔水综合利用技术,包括下列顺序步骤:(1)将泔水进行固液分离;(2)在液相中加入硫酸进行酸洗,除去水相得到油相;(3)对油相水洗至中性;(4)在高温高压下对油相进行水解,除去其中的水分,冷冻后压榨分离出油酸和固体酸。通常所述步骤(4)中的通过真空蒸馏除去油相中的水分;所述步骤(1)分离出的固体部分经干燥后加工成绿色有机肥。该技术可将泔水中的油脂部分加工成皂类表面活性剂、油酸,将泔水变废为宝,将泔水中的固体部分变成绿色有机肥料,避免了环境污染,发挥自身拥有的价值,成为可持续发展的环保项目。

标签:
固废
山东 - 青岛 来源:中冶有色网 2023-03-19
年轻煤下行循环床毫秒热解提质装置

本发明提供年轻煤下行循环床毫秒热解提质装置,煤粉入口设置在烟气提升管下部,烟气提升管顶部设置气固二级分离器,一级分离器固体出口与下行热解反应器顶部连通;二级分离器烟气直接外排,固体出口与一级混合管顶部连通;烧焦提升管的底部设置气体分布器和进气管,顶部设置半焦惯性气固分离器通过载体返料控制器与下行热解反应器顶部连通;半焦二级分离器与一级混合管顶部连通,气体出口通过废热锅炉和引风机与烟气提升管底部连通;下行热解反应器底部设置油气分离器,固体出口通过半焦返料阀与烧焦提升管底部连通,气相出口与油气分馏塔相连,分馏塔设置热解干气、粗苯、煤焦柴油和煤焦重油出口;二级混合管底部与热压成型机相连。

标签:
固废
山东 - 青岛 来源:中冶有色网 2023-03-19
氧化铝赤泥尾砂和长石尾矿混合料的环保处理系统

本实用新型涉及一种氧化铝赤泥尾砂和长石尾矿混合料的环保处理系统。氧化铝赤泥罐连接压滤机进口,压滤机固体出口连接氧化铝赤泥尾砂罐进口,氧化铝赤泥尾砂罐出口和长石尾砂罐出口通过管道连接第一堆场,第一堆场通过翻车连接第二堆场,第二堆场连接反应罐进口,稀盐酸罐和助溶剂罐连接反应罐顶部进口,储水罐连接反应罐一侧进口,反应罐底部出口连接石英砂储存设备,反应罐一侧出口连接后处理罐,压滤机液体出口连接后处理罐。本实用新型实现了对氧化铝赤泥尾砂和长石尾矿的综合处理,处理后得到高品质石英砂,产生的酸性废液与碱性废液发生中和反应,所得液体可以利用,不产生二次污染,无毒环保,有利于大规模生产。

标签:
固废
山东 - 淄博 来源:中冶有色网 2023-03-19
去除海水中悬浮颗粒物的装置

本实用新型提供一种去除海水中悬浮颗粒物的装置,包括蓄水箱,滤桶,滤桶连接驱动电机,滤桶上方设置反冲洗装置。本实用新型能够克服目前生产使用的悬浮颗粒物去除装置容易锈蚀、能耗较高、筛网容易堵塞等不足,本装置可以长期在海水中使用,耐腐蚀、能耗低、自动清洁筛眼、过滤效率高,适用于水处理工程对废水进行固体和液体分离的设备,具体适用于鱼、虾工厂化养殖废水的固液分离。

标签:
固废
山东 - 青岛 来源:中冶有色网 2023-03-19
液体无铁硫酸铝生产系统

本实用新型涉及一种液体无铁硫酸铝生产系统,属于硫酸铝生产设备技术领域。本实用新型解决了现有固体无铁硫酸铝生产中存在的废气处理不完全、自动化程度不高的问题。本实用新型包括铝土矿石前处理,铝土矿石前处理的出料端连接反应釜,反应釜顶部通过管路与硫酸储罐相连通,反应釜通过顶部设置的废气排出管路与尾气冷凝回收装置相连,尾气冷凝回收装置后端连通尾气处理装置,反应釜的底部的出料端与压滤机相连通,压滤机的后部与产品罐相连。

标签:
固废
山东 - 淄博 来源:中冶有色网 2023-03-19
上一页 488 489 490 491 492 ... 500 ... 2000 ... 2016 下一页
共2016页    到第

中冶有色为您提供最新的山东有色金属理论与应用信息,涵盖发明专利、权利要求、说明书、技术领域、背景技术、实用新型内容及具体实施方式等有色技术内容。打造最具专业性的有色金属技术理论与应用平台!

全国热门有色金属设备推荐
展开更多 +
全国热门有色金属技术推荐
展开更多 +

 

江西省隆恩特环保设备有限公司
宣传

报名参会
更多+

报告下载

有色专家
更多+

矿冶科技集团江苏北矿金属循环利用科技有限公司
书记 / 总经理
中国矿业大学(北京)
教授
有研资源环境技术研究院(北京)有限公司
副总经理/教授级高工
矿冶科技集团
中国工程院院士
广东省科学院工业分析检测中心
副主任
赤泥综合利用研究报告2025
推广

热门技术
更多+

推荐企业
更多+

福建省金龙稀土股份有限公司
宣传

发布

在线客服

公众号

电话

顶部
咨询电话:
010-88793500-807