青岛垚鑫智能科技有限公司
宣传

位置:中冶有色 >

有色技术频道 >

分类:
全部
矿山技术
冶金技术
材料制备及加工技术
环境保护技术
分析检测技术
地区:
全部
北京
天津
上海
重庆
河北
山西
辽宁
吉林
黑龙江
江苏
浙江
安徽
福建
江西
山东
河南
湖北
湖南
广东
海南
四川
贵州
云南
陕西
甘肃
青海
内蒙
广西
西藏
宁夏
新疆
其他
其他
展开
 
全部
南京
无锡
徐州
常州
苏州
南通
连云港
淮安
盐城
扬州
镇江
泰州
宿迁

江苏苏州有色金属理论与应用

免费发布技术信息>>
锂电池防爆盖板
锂电池防爆盖板 1012     
 0

本实用新型公开了一种锂电池防爆盖板,包括:盖板、正极极柱、负极极柱、正极密封圈、负极密封圈以及包胶绝缘架,所述正极极柱和负极极柱分别设置在盖板的左右两端,所述正极密封圈设置在正极极柱与盖板之间,所述负极密封圈设置在负极极柱和盖板之间,所述正极极柱和负极极柱上端均套设有包胶绝缘架,所述包胶绝缘架的下端与盖板接触,所述盖板上形成有凸台且所述凸台设置在包胶绝缘架的下端与盖板接触位置的一侧。通过上述方式,本实用新型提供的锂电池防爆盖板,结构简单,实用方便,且节约成本。

标签:
加工技术
江苏 - 苏州 来源:中冶有色网 2023-03-18
防水锂电池组
防水锂电池组 1050     
 0

本实用新型公开了一种防水锂电池组,所述防水锂电池组包括电池组本体(1),所述电池组本体(1)的外侧设置有防护部件(4),所述防护部件(4)的外侧设置有防水薄膜(5),所述防护部件(4)设置在所述电池组本体(1)的每一侧面,所述防水薄膜(5)为铝薄膜,所述防护部件(4)为绝缘软性材料,本实用新型具有更好的防水性能。

标签:
加工技术
江苏 - 苏州 来源:中冶有色网 2023-03-18
具有防水效果的安全型电动自行车用锂电池安装箱

本实用新型公开了一种具有防水效果的安全型电动自行车用锂电池安装箱,包括,箱体气管与连接管,气管固定穿设在箱体两侧,连接管位于气管一端,气管靠近连接管一端固定穿设有第一连接环,连接管靠近气管一端固定穿设有第二加强环,第一连接环与第二加强环连接处外侧套设有连接套,连接套通过螺纹与第一连接环固定连接,气管与连接管之间用于提升其连接密封性能第二密封垫;通过第一连接环与第二加强环连接处外侧套设连接套,在连接管与气管之间放置第二密封垫,第一连接环通过密封环以及第一密封垫与第二加强环密封连接,完成对气管与连接管的连接,方便安装人员将气管与连接管对接效率,提升了锂电池安装箱的安装效率。

标签:
加工技术
江苏 - 苏州 来源:中冶有色网 2023-03-18
锂电池盖板安全防爆装置

一种锂电池盖板安全防爆装置,包括金属制的薄片主体,薄片主体中间区域的正面受压沉陷成沉孔部、反面相应凸出成凸台部,沉孔部的底边缘和凸台部的根边缘之间通过纤弱过渡部连接,形成受压爆裂位置。本实用新型的结构合理,金属制的薄片主体可以利用冲压半剪工艺形成沉孔部、凸台部和纤弱过渡部,加工工艺的精确度较高,容易把控,纤弱过渡部的安全爆裂阈值能够稳定控制调整,使锂电池的安全设计参数也可以明确稳定,改善了电池的可靠性。并且,采用本实用新型结构的薄片主体不仅可用铝材,也能够使用不锈钢等金属材料,选择范围广,适应更多的电池设计要求。

标签:
加工技术
江苏 - 苏州 来源:中冶有色网 2023-03-18
适用于动力锂电池的焊接装置

本实用新型涉及了一种适用于动力锂电池的焊接装置,其包括夹持机构和焊接部。其中,锂电池顶靠与极组装配为预焊组件。上述夹持机构仅具有一个自由度,即沿Z方向进行上下移动。上述焊接部亦仅具有一个自由度,即沿X方向进行前后移动。夹持机构夹持上述预焊组件进行移动,直至使得该预焊组件相对于焊接部具有正确的焊接高度,随后焊接部进行移动,直至其相对于预焊组件具有正确的焊接位置。这样一来,相较于传统,夹持机构仅具有一个方向上的自由度即可,从而大大地简化了其动力装置以及控制系统的设计结构,进而降低了焊接装置的生产制造成本。

标签:
加工技术
江苏 - 苏州 来源:中冶有色网 2023-03-18
锂电池正负极片安装装置

本实用新型公开了一种锂电池正负极片安装装置,包括装置主体,所述装置主体的外表面上方设置有观察窗,所述装置主体的外表面一侧设置有连接槽,且所述连接槽的外表面通过铰链连接有活动门,所述活动门的外表面固定有把手,所述装置主体的一侧设置有第二机箱,所述装置主体的另一侧设置有第一机箱,且所述第一机箱的外表面设置有操作台,装置主体的内部上方设置有探头,且探头为“可转向探头”,在工作时可以更加全面的对装置主体内部的情况进行观察,并将数据反馈至操作台,使用者可以根据操作台所反馈的数据去更好的调整锂电池的角度,解决了操作繁杂,使用者对于正负极片的定位有着很大的缺陷的问题。

标签:
加工技术
江苏 - 苏州 来源:中冶有色网 2023-03-18
锂电池用的防护结构
锂电池用的防护结构 1146     
 0

本实用新型公开了一种锂电池用的防护结构,包括箱体,所述箱体顶部的靠中心位置开设有空腔,所述箱体的内部固定安装有放置板,所述放置板的顶部开设有放置槽,所述放置槽的内壁固定连接有防护垫,所述放置槽的内部设置有两个弧形夹板。该锂电池用的防护结构,通过弧形夹板、挤压垫、缓冲弹簧、阻尼垫、海绵球和防护垫的设计,能够在使用者将电池放入放置槽内部时,对电池进行限位,同时对电池起到良好的保护效果,有效的避免了在运输的过程中电池受到损坏的情况发生,盖板、活动板、滑槽、复位弹簧、海绵填充体和卡槽的设计,可以对电池的顶部起到保护的效果,同时,避免电池的上下移动,对电池进行限位,提高了对电池的防护性。

标签:
加工技术
江苏 - 苏州 来源:中冶有色网 2023-03-18
锂电池充电模块
锂电池充电模块 1012     
 0

本实用新型提供了一种锂电池充电模块,包括外壳,所述外壳内设置有收纳腔,所述收纳腔内设置有若干个充电输出电路板组件,所述外壳的一端设置有与充电输出电路板组件连接的输出端口组,所述外壳另一端设置有与充电输出电路板组件连接的输入端口;所述收纳腔内设置有用于传导散热的分隔板,所述分隔板将收纳腔分隔成若干个用于设置所述充电输出电路板组件的分隔腔;所述外壳上还设置有散热翅片。本实用新型提供了一种操作便捷的锂电池充电模块,具有良好安装集成度和散热稳定性。

标签:
加工技术
江苏 - 苏州 来源:中冶有色网 2023-03-18
基于均衡触发式锂电池物理保护器

本实用新型公开了一种基于均衡触发式锂电池物理保护器,包括受温度控制的断路保护开关和电池检测模块,电池检测模块包括一电压采集单元,电压采集单元分别与MOS管的栅极、第一、第二三极管的基极连接,MOS管的漏极和连接电压采集单元正极,MOS管的源极通过发热单元连接电压采集单元负极,发热单元贴合在断路保护开关的一侧,第一、第二三极管的发射极相互连接,第一、第二三极管的集电极之间串联由第一、第二电阻,第一、第二三极管的集电极与控制器或充电器连接。本实用新型将电池均衡技术和保护触发技术合二为一,形成简单可靠,均衡效果突出,安全保护周全的锂电池保护器,可以有效控制温度异常,大幅提升电池的使用寿命,保证电池的容量。

标签:
加工技术
江苏 - 苏州 来源:中冶有色网 2023-03-18
锂电池激光焊接机的旋转下压机构

本实用新型公开了一种锂电池激光焊接机的旋转下压机构,包括:气缸固定板和设置在气缸固定板上的旋转下压气缸,旋转下压气缸上设有销钉安装块,销钉安装块中部设有通孔;所述旋转下压气缸上连接有旋转推杆,且旋转推杆伸出于销钉安装块的通孔;所述旋转推杆上固定有旋转压头固定块,旋转压头固定块下通过螺栓固定有压条固定块,旋转压头固定块与压条固定块之间的螺栓上套有弹簧;所述压条固定块下固定有压条。通过上述方式,本实用新型能够自动完成锂电池前端的压平整形,工作可靠,效率高。

标签:
加工技术
江苏 - 苏州 来源:中冶有色网 2023-03-18
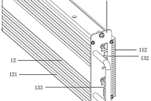
锂电池冷却板
锂电池冷却板 690     
 0

本实用新型公开了一种锂电池冷却板,包括六根平行设置的槽管,六根所述槽管的一端通过连接管相连通,中间两根所述槽管的另一端为进水端,外侧四根所述槽管的另一端为出水端,每根所述槽管内水槽高度为水槽宽度的三分之二,所述槽管的厚度为水槽宽度的十分之一,水槽内两侧分别交错设置有若干挡板,所述挡板与所述槽管倾斜设置,所述挡板与所述槽管之间的角度为45度,所述挡板的宽度为水槽宽度的五分之三;所述挡板上设有若干尖锐凸出部,所述挡板还在每个尖锐凸出部周围周向均布若干通孔,所述通孔孔径为0.5~0.7mm。本实用新型锂电池冷却板,其能提高散热效果。

标签:
加工技术
江苏 - 苏州 来源:中冶有色网 2023-03-18
用于锂电池焊接的超声波焊接机

本实用新型提供一种用于锂电池焊接的超声波焊接机,换能器机架固定在焊接机支撑架上,焊头的下方设有一工作台,工作台与一升降机构连接,升降机构可带动工作台上下移动,升降机构与一水平滑台连接,水平滑台可带动升降机构在水平方向来回滑动,工作台上设有两个工位。采用这种方式,虽然只是简单的更换了移动的部件,但这样换能器机架就可以固定不动,因此只要调试时调节好后,就不会出现共振、啸叫等故障。同时该超声波焊接机在工作台上设置了两个工位,且工作台本身可来回移动,这样当一个工位在进行焊接时,另一个工位就可通过铝片摆片机进行摆片,这样也可有效调高锂电池的焊接效率。

标签:
加工技术
江苏 - 苏州 来源:中冶有色网 2023-03-18
可应用于聚合物锂离子电池包装膜

本实用新型涉及一种可应用于聚合物锂离子电池包装膜,包括改性聚丙烯层、胶粘剂层、铝箔层、改性热熔胶膜层、改性聚对苯二甲酸聚酯层,该膜具有层状结构,所述包装膜由内到外依次为改性聚丙烯层、胶粘剂层、铝箔层、改性热熔胶膜层、改性聚对苯二甲酸聚酯层。本实用新型采用改性热熔胶膜层代替传统热熔胶膜材料,使其具有更好的吸收和释放水蒸汽性能,为聚合物包装膜的阻隔性能提供了更高的保障。该包装膜采用多层复合流延技术生产,工艺技术简单,产品综合性能好,可适合应用于聚合物锂离子电池包装膜要求。

标签:
加工技术
江苏 - 苏州 来源:中冶有色网 2023-03-18
新能源锂电池连接片用自动张紧装置

本实用新型公开了一种新能源锂电池连接片用自动张紧装置,包括支撑板、转动盘、转轴以及弹片夹紧机构,所述支撑板的顶部板体上设有供转轴穿过的轴孔,转动盘的盘体中部设有供转轴穿过的通孔,转轴垂直的穿过轴孔以及通孔并由驱动机构带动转动盘在支撑板上自由转动,弹片夹紧机构包括多个具有两个支撑片且呈三角状设置的支撑弹片,支撑弹片的下部两个支撑片下端部垂直的夹紧于转轴的轴体上,所述支撑弹片的两个支撑片的中部片体的内侧设有相对设置的电磁铁,所述支撑弹片通过支撑架固定于外部固定机构上。所述新能源锂电池连接片用自动张紧装置有效实现了连接片在生产过程中的自动张紧,而且张紧效果好,自动化程度高,因而实用性高。

标签:
加工技术
江苏 - 苏州 来源:中冶有色网 2023-03-18
汽车锂电池检测用防渗漏塑料制品

本实用新型涉及汽车锂电池检测技术领域,具体为一种汽车锂电池检测用防渗漏塑料制品。本实用新型要解决的是防渗漏和放置方便的技术问题。为了解决上述技术的问题,本实用新型提供了一种汽车锂电池检测用防渗漏塑料制品,本实用新型主要由防护底壳、防护顶壳、防渗漏机构和提升机构组成,通过控制多级电动推杆缩短,多级电动推杆缩短拉动第一连接块,使得防护顶壳翻转打开,控制便捷,在检测时,多级电动推杆控制防护顶壳压紧,防护性高,操作简单,出现汽车锂电池泄漏时,电解液流在塑料底壳的内部,不会腐蚀防护顶壳和防护底壳,有效避免电解液渗漏,当出现爆炸或者电池烧毁的情况,内部的塑料底壳以及塑料顶壳都可取下更换,拆卸便捷。

标签:
加工技术
江苏 - 苏州 来源:中冶有色网 2023-03-18
防爆锂电池盖板的加工工装

本实用新型涉及锂电池盖板加工技术领域,尤其是一种防爆锂电池盖板的加工工装,针对现有技术中的锂电池冲压装置将电池盖板从冲压槽内取出的过程不方便的问题,现提出如下方案,其包括底座、安装在底座顶部的底盘、安装在底座顶部的第一安装架、转动安装在底座顶部的第二安装架和驱动第二安装架转动的驱动装置,所述底盘的顶部开设有多个冲压槽,底盘通过传动装置转动安装在底座的顶部,所述第一安装架上安装有与冲压槽配合使用的冲压装置。本实用新型结构合理,不仅可以很方便的将冲压好的锂电池盖板从冲压槽的内部取出,而且可以实现快速的连续式生产,提高了加工的效率。

标签:
加工技术
江苏 - 苏州 来源:中冶有色网 2023-03-18
锂电池分选上模机
锂电池分选上模机 831     
 0

本实用新型公开了一种锂电池分选上模机,包括底座以及均设置在底座上的用于分离不同朝向的锂电池的分拨装置、用于测试锂电池电性并将近似电性分选到一组的分选装置和上模装置;所述分选装置接续设置在分拨装置后方;所述上模装置包括上模单元和模具上料单元;所述上模单元包括均设置在底座上的夹板气缸和输送带三,所述夹板气缸的自由端设置有夹板,所述夹板位于分选装置和输送带三的上方,所述输送带三上设置有模具槽位;所述模具上料单元包括模具通过口和模具支架,所述模具支架的底部设置有模具升降驱动源,所述模具升降驱动源上设置有升降平台。其能够完成锂电池的自动分拨、分选和上模,结构简单,作业效率高,且能够无缝对接后续工序。

标签:
加工技术
江苏 - 苏州 来源:中冶有色网 2023-03-18
生物颗粒烤炉用便携式锂电池供电装置

本实用新型揭示了生物颗粒烤炉用便携式锂电池供电装置,包括内设锂电池组的外壳体、设于外壳体一端的用于对接适配器的充电口、设于外壳体另一端位于端部边缘设置的供电端子、以及与外壳体相互滑动配合卡接的固定壳;所述供电端子外露出固定壳设置,所述固定壳的边缘上设有若干连接孔。本实用新型实现了易于安装的锂电池供电装置,避免转接线外露损伤,方便使用。

标签:
加工技术
江苏 - 苏州 来源:中冶有色网 2023-03-18
锂电冲击钻
锂电冲击钻 1093     
 0

本申请提供一种锂电冲击钻,包括壳体、设置于壳体内的主轴、为主轴传递动力的传动机构、固定于主轴的第一端齿单元、能够与第一端齿单元相啮合的第二端齿单元、驱动第一端齿单元与第二端齿单元啮合的第一操作件,第二端齿单元与第一端齿单元具有第一啮合模式和第二啮合模式,第一啮合模式下的啮合深度与第二啮合模式下的啮合深度不相等;锂电冲击钻还包括第二操作件及第三操作件,第二操作件配置为驱动第二端齿单元,以实现第一啮合模式和第二啮合模式的切换;第三操作件配置为调节主轴的输出扭矩;第一操作件、第二操作件及第三操作件均为转动件且在主轴的延伸方向上依次排列。本申请锂电冲击钻具有多种冲击模式且便于用户进行功能切换。

标签:
加工技术
江苏 - 苏州 来源:中冶有色网 2023-03-18
草坪修剪锂电池割草机用割草刀

本实用新型公开了一种草坪修剪锂电池割草机用割草刀,涉及割草刀技术领域,具体为一种草坪修剪锂电池割草机用割草刀,包括刀座,所述刀座的上表面开设有安装槽,所述刀座上表面开设的安装槽中固定套接有调节套管,所述调节套管的内腔中螺纹连接有调节杆,所述调节杆的顶端固定连接有扭环,所述扭环的底部固定连接有驱动块,所述驱动块的直径大于调节杆自身的直径。该草坪修剪锂电池割草机用割草刀,通过拧动扭环能够使得调节杆进行升降,从而使得驱动座进行升降,进而使得位移块可以在调节柱上发生左右移动,能够实现的改变割草刀的长度,可以有效的利用该装置在各种不同的道路条件下进行割草,大大的提高了该装置的使用性。

标签:
加工技术
江苏 - 苏州 来源:中冶有色网 2023-03-18
锂电池的电连接器
锂电池的电连接器 689     
 0

本实用新型属于连接器技术领域,公开了一种锂电池的电连接器。该锂电池的电连接器包括相互插接的公端及母端,公端包括导电端子组件、保护壳体及基座,导电端子组件固定于保护壳体中,保护壳体能够插入母端,并能够与母端共同封闭导电端子组件,基座包覆于保护壳体背离母端的一侧的外侧壁上,并且保护壳体的外侧壁上设有能够嵌入于基座的多个环形凸台,多个环形凸台沿锂电池的电连接器的插拔方向间隔设置,相邻的两个环形凸台相互靠近的端面中至少有一个端面为锥面。本实用新型使流体材料能够饱满地填充于相邻的两个环形凸台之间所形成的胶缝中,进而提高了基座与保护壳体之间的连接强度,避免在拔插的过程中,出现基座与保护壳体分离的现象。

标签:
加工技术
江苏 - 苏州 来源:中冶有色网 2023-03-18
用于六氟磷酸锂不溶物分析的测定装置

本申请公开了一种用于六氟磷酸锂不溶物分析的测定装置,包括:上封瓶、漏斗、滤瓶和缓冲瓶;所述上封瓶上端设置有进气口和进液口,所述漏斗下端延伸至所述滤瓶内,所述漏斗通过合金加与所述上封瓶连接,所述漏斗和上封瓶之间由上至下设置有微孔滤膜和砂芯,所述滤瓶通过橡胶软管与所述缓冲瓶相连,所述缓冲瓶另一端与真空泵相连。本申请的一种用于六氟磷酸锂不溶物分析的测定装置可以有效解决了六氟磷酸锂不溶物检测不准确的问题,同时保证了在分析检测过程中无有机溶剂逸出至外部环境中,避免了对环境和操作者产生危害。

标签:
加工技术
江苏 - 苏州 来源:中冶有色网 2023-03-18
电动车上用的锂电池防盗系统

本实用新型公开了一种电动车上用的锂电池防盗系统,它包括一可拆卸安装于电动车车体(5)上的锂电池(2),电瓶(1)上设置有一插片(11),所述锂电池(2)与报警装置(3)电性连接构成一回路,该回路上连接有一弹性开关(4),所述插片(11)正对着弹性开关(4)。本实用新型具有防止电动车的电瓶被盗的特点。

标签:
加工技术
江苏 - 苏州 来源:中冶有色网 2023-03-18
软包锂电池装夹机构
软包锂电池装夹机构 1010     
 0

本实用新型公开了一种软包锂电池装夹机构,包括夹具箱,在夹具箱内左右并排设置有两个夹持部,夹持部包括前后间隔设置的四个夹持单元,每个夹持单元对应夹持一组电池;所述夹持单元包括竖直相对设置的固定板和夹紧板,电池置于所述固定板和夹紧板之间,固定板固设在所述夹具箱上,夹紧板可相对于固定板前后移动以松开或夹紧所述电池;所述夹持部四个夹持单元的四块夹紧板通过两根水平轴连接,水平轴可带动四块夹紧板同步前后移动以松开或夹紧电池。该软包锂电池装夹机构,其夹持部上的各夹持单元之间实现了联动,各夹持单元的夹持动作同步,且可同时进行八组电池的装夹操作,提高了软包锂电池装夹机构的装夹效率。

标签:
加工技术
江苏 - 苏州 来源:中冶有色网 2023-03-18
双层充电防爆式锂电池

本实用新型属于锂电池技术领域,尤其为一种双层充电防爆式锂电池,包括电池体,所述电池体的一端固定有正极端子,所述电池体的另一端固定有负极端子,所述电池体的外侧设置有壳体,所述壳体包括外壳和内壳,所述外壳和所述内壳之间具有容腔,所述外壳与所述内壳的中间位置处填充有防爆层,所述内壳与所述外壳的内侧壁粘接有防爆膜;该种双层充电防爆式锂电池,通过将电池壳体设置为内壳和外壳组合式的双层结构,同时在内壳和外壳之间的防爆层加装防爆粉剂,在内壳和外壳的内侧壁粘接防爆膜,在电池因断路或温度过高和其他现象出现穿刺爆炸时,防爆膜可以抑制一部分爆炸压力,减少电池体爆炸现象的出现。

标签:
加工技术
江苏 - 苏州 来源:中冶有色网 2023-03-18
锂电池封装工装结构
锂电池封装工装结构 772     
 0

本实用新型提供一种锂电池封装工装结构。所述锂电池封装工装结构包括固位底座;两个衔接滑板,两个所述衔接滑板均滑动安装在所述固位底座的顶部;两个固定卡座,两个所述固定卡座分别固定安装在两个所述衔接滑板的顶部;两个第一气缸,两个所述第一气缸均设置在所述固位底座的上方,两个所述第一气缸的输出轴分别与两个所述固定卡座相互远离的一侧固定连接;两个承接固板,两个所述承接固板分别固定安装在两个所述固定卡座相互远离的一侧;多个弧形卡槽,多个所述弧形卡槽均开设在两个所述固定卡座相互靠近的一侧。本实用新型提供的锂电池封装工装结构具有操作方便、适用范围广、相应的降低生产成本的优点。

标签:
加工技术
江苏 - 苏州 来源:中冶有色网 2023-03-18
三元锂电池电焊机
三元锂电池电焊机 977     
 0

本实用新型揭示了一种三元锂电池电焊机,其包括:三元锂电池组,包括若干电池模块,若干电池模块的一端分别连接至正极焊钳和负极焊钳的其中之一;若干引弧开关,分别串接在若干电池模块的另一端与正极焊钳和负极焊钳的其中另一之间;若干恒流模块,分别包括第一恒流开关、第二恒流开关、以及储能器件,第一恒流开关和第二恒流开关的一端分别通过储能器件连接至正极焊钳和负极焊钳的其中另一上,第一恒流开关的另一端连接至对应的电池模块,第二恒流开关的另一端连接至正极焊钳和负极焊钳的其中之一上;控制器,其用于控制若干引弧开关、第一恒流开关、以及第二恒流开关的开断。本实用新型的三元锂电池电焊机安全性能高,且成本低。

标签:
加工技术
江苏 - 苏州 来源:中冶有色网 2023-03-18
软包装聚合物锂离子电池专膜用铝箔

本实用新型涉及一种软包装聚合物锂离子电池专膜用铝箔,包括第一涂碳层、第一硅化层、铝箔合金层、第二硅化层、第二涂碳层,该铝箔具有层状结构,所述软包装聚合物锂离子电池专膜用铝箔由内到外依次为第一涂碳层、第一硅化层、铝箔合金层、第二硅化层、第二涂碳层。本实用新型中铝箔采用合金铝具有更好的延展性,合金铝箔表面进行硅化处理可提高铝箔的阻隔性能和防腐性能,同时在铝箔的最外层附加一层含碳涂层,它提供了极佳的静态导电性能,收集活性物质的微电流,从而可以大幅度降低正/负极材料和集流之间的接触电阻,并能提高两者之间的附着能力,可减少粘结剂的使用量,进而使电池的整体性能产生显著的提升,该铝箔满足聚合物锂离子电池软包装膜材料中对铝箔延展性、阻隔性及强粘结性的要求,该实用新型铝箔材料可应用作为软包装膜制备的原材料。

标签:
加工技术
江苏 - 苏州 来源:中冶有色网 2023-03-18
石墨毡锂溴离子液体电容电池

本实用新型涉及一种石墨毡锂溴离子液体电容电池,包括正极和负极,正极和负极均采用石墨毡复合极板分别做电池正、负电极;正极和负极之间采用聚乙烯(PE)作为隔膜,两片石墨纸紧紧地将正极石墨毡复合极板和负极石墨毡复合极板夹住,即从一侧到另一侧依次是石墨纸,正极石墨毡复合极板,聚乙烯(PE)隔膜,负极石墨毡复合极板,石墨纸;该5部分构成一组;并以塑料筐作为电池外壳,注入锂溴离子液体,即构成一组单石墨毡锂溴离子液体电容电池;该电池除了接线端子使用金属外,其它部分没有金属,极大地降低了电池的成本,减少了电池重量,提高了电池的比能量。

标签:
加工技术
江苏 - 苏州 来源:中冶有色网 2023-03-18
用于锂充电电池电压采样的开关矩阵电路

本实用新型公开了一种用于锂充电电池电压采样的开关矩阵电路,包括与待采样的串联锂充电电池个数对应的采样开关,每一采样开关两端分别连接对应的电池电极和电压测量电路,采样开关上设有控制导通与断开的控制端,其特征在于:所述每一采样开关包括一对对称设置的开关管以及一驱动开关管,所述对称设置的开关管的源极和栅极分别互相连通,源极和栅极间连接有电阻,栅极连接至驱动开关管的漏极,驱动开关管的源极接地,栅极构成采样开关的控制端。本实用新型解决了各路开关对应的电极与地之间的电压差不同的问题,实现了多节串联连接的锂充电电池的电压采样;且使得后续电压测量电路得以简化。

标签:
加工技术
江苏 - 苏州 来源:中冶有色网 2023-03-18
上一页 483 484 485 486 487 ... 500 ... 954 下一页
共954页    到第

中冶有色为您提供最新的江苏苏州有色金属理论与应用信息,涵盖发明专利、权利要求、说明书、技术领域、背景技术、实用新型内容及具体实施方式等有色技术内容。打造最具专业性的有色金属技术理论与应用平台!

全国热门有色金属设备推荐
展开更多 +
全国热门有色金属技术推荐
展开更多 +

 

江西省隆恩特环保设备有限公司
宣传

报名参会
更多+

报告下载

有色专家
更多+

中国科学院赣江创新研究院
院长
中南大学
中国工程院 院士
郑州大学
校长/党委书记
昆明理工大学
校长
矿冶科技集团
副所长/研究员
赤泥综合利用研究报告2025
推广

热门技术
更多+

推荐企业
更多+

福建省金龙稀土股份有限公司
宣传

发布

在线客服

公众号

电话

顶部
咨询电话:
010-88793500-807