青岛垚鑫智能科技有限公司
宣传

位置:中冶有色 >

有色技术频道 >

分类:
全部
矿山技术
冶金技术
材料制备及加工技术
环境保护技术
分析检测技术
地区:
全部
北京
天津
上海
重庆
河北
山西
辽宁
吉林
黑龙江
江苏
浙江
安徽
福建
江西
山东
河南
湖北
湖南
广东
海南
四川
贵州
云南
陕西
甘肃
青海
内蒙
广西
西藏
宁夏
新疆
其他
其他
展开
 
全部
南京
无锡
徐州
常州
苏州
南通
连云港
淮安
盐城
扬州
镇江
泰州
宿迁

江苏苏州有色金属理论与应用

免费发布技术信息>>
从废旧锂电池提取铝箔的工艺方法

本发明公开了一种从废旧锂电池提取铝箔的工艺方法,所述的工艺方法包括如下步骤:所述的处理工艺包括如下步骤:1)把回收的废旧电池进行分离,负极材料和钢壳直接回收包装,作为原料外售;2)把分离得到的钴锂膜用NMP溶剂溶解、澄清,清液重新溶解,分离的铝箔水洗干燥后外售。本发明的有益效果是:采用有机溶剂处理液晶玻璃盒,可完整回收液晶显示器的玻璃基片、液晶与蚀刻电极上的铟,最大程度资源化废旧液晶显示屏,环境效益和社会效益明显。

标签:
加工技术
江苏 - 苏州 来源:中冶有色网 2023-03-18
新能源汽车锂电池盖板
新能源汽车锂电池盖板 1104     
 0

本发明涉及锂电池技术领域,具体公开了一种新能源汽车锂电池盖板,包括底部装配有绝缘板的基板基板,所述的顶面绝缘连接有正极块和负极块,所述基板上通透的形成有注液孔,于所述绝缘板下方的正极引片和负极引片分别通过各自的铆钉连接正极块和负极块,所述基板的底面下凸有凸起部,所述凸起部的底面开设有进气槽,所述进气槽的底面开设有若干排气孔,所述凸起部的底面上开设有多个滑孔,所述滑孔通过密封环滑动连接有活塞杆,多个所述活塞杆的底端共同连接有一密封板,所述密封板与进气槽的底面之间连接有拉伸弹簧,所述凸起部的侧面上开设有多个过气孔,多个过气孔分别与多个滑孔连通,本发明结构合理,可以提供稳定的防爆性能。

标签:
加工技术
江苏 - 苏州 来源:中冶有色网 2023-03-18
锂二次电池及其制备方法

本发明公开了一种锂二次电池及其制备方法,该电池包括非水电解液、正极和负极,正极包括第一集流体和设置于第一集流体上的正极材料,正极材料的密度不低于3.5g/cm3,负极包括第二集流体和设置于第二集流体上的负极材料,负极材料的密度不低于1.5g/cm3。非水电解液包括氟代碳酸乙烯酯、氟代醚和三腈化合物;其中,三种成分在非水电解液中的质量百分数依次为3~15%、0.5~8%和0.2~4%。该电池具有高电极密度,且通过采用特定比例的氟代碳酸乙烯酯、氟代醚和三腈化合物作为电解液特征成分,在三种特征成分的配合下,使在较高电极密度的情况下,该锂二次电池具有优异的高温特性和高温存储后的低温输入特性。

标签:
加工技术
江苏 - 苏州 来源:中冶有色网 2023-03-18
锂电池探伤检测机
锂电池探伤检测机 957     
 0

本发明公开了一种锂电池探伤检测机,其技术方案是:包括壳体,所述壳体内部设有检测机构,所述检测机构延伸出壳体外部,所述检测机构包括电机,所述电机设于壳体一侧,所述电机通过输出轴固定连接有转动杆,一种锂电池探伤检测机有益效果是:本发明通过检测块对电池进行按压,再通过推动块将电池从L形板一侧推送到另一侧,最后通过观察白纸表面是否有墨点,从而判断电池是否存在鼓包现象,当白纸表面存在墨点时,说明此电池为残次品,不能用于市场使用,通过这种检测方式,能够迅速地对电池的平整度进行检测,检测效率较高,通过对电池的平整度进行检测,对残次品电池进行了筛选,避免了残次品电池流入市场。

标签:
加工技术
江苏 - 苏州 来源:中冶有色网 2023-03-18
锂电池非水电解液及其应用

本发明涉及一种锂电池非水电解液,添加剂包括碳二亚胺类化合物、硝酸锂以及含硫化合物,其中,含硫化合物为结构式(1)所示物质中的一种或多种和/或结构式(2)所示物质中的一种或多种;结构式(1)为结构式(2)为本发明有效改善了电解液的存储稳定性,避免了酸度和色度的升高的同时,改善了电池的高温循环性能。

标签:
加工技术
江苏 - 苏州 来源:中冶有色网 2023-03-18
锂电池快捷充电设备
锂电池快捷充电设备 703     
 0

本发明公开了一种锂电池快捷充电设备,具体涉及锂电池技术领域,包括壳体,所述壳体上端固定连接有充电放置柜,所述充电放置柜上开设有充电放置槽,所述充电放置槽内活动放置有放置板,所述充电放置柜内位于放置板下方开设有电机槽,所述电机槽内安装有散热电机,所述充电放置柜内位于电机槽两侧对称开设有数量为两个的升降槽,所述升降槽内固定安装有与放置板固定连接的升降调节机构,所述壳体上设置有若干个USB接口,所述壳体内开设有接头容纳槽。本发明通过散热电机可以对终端设备进行散热,放置板的高度可以调节,这样放置板下面会有更多的空间有利于散热,可以保护电源线与插头,在不使用设备时还可以节约储存空间。

标签:
加工技术
江苏 - 苏州 来源:中冶有色网 2023-03-18
锂离子电池复合粘结剂及其制备方法和应用

本发明公开一种锂离子电池复合粘结剂及其制备方法和应用,属于锂离子电池材料技术领域;包括粘结剂组分A和粘结剂组分B,粘结剂组分A由海藻酸钠(SA)、聚乙烯醇(PVA)和聚丙烯酸(PAA)经过交联反应后,再和碳纳米管水系分散液复合制备得到;粘结剂B组分为PVA改性的橡胶乳液;粘结剂组分A和粘结剂组分B的质量比为(2~10):1。本发明的粘结剂组分A具有大量的酯基和羟基,能增强粘结剂与硅颗粒的表面作用力,提高粘结力;本发明的复合粘结剂具有较好的粘结性能,可以提高电极内活性材料与集流体之间的粘结力,极片粘结力可以达到0.45~0.57N/25mm,溶胀率为11.9~13.4%。

标签:
加工技术
江苏 - 苏州 来源:中冶有色网 2023-03-18
汽车锂电车用零部件冷却装置及其使用方法

本发明涉及一种汽车锂电车用零部件冷却装置及其使用方法,属于汽车锂电车生产技术领域,包括传送机构、冲洗支架和废水回收支架,冲洗支架安装在传送机构的顶部位置处,用于输入冷水实现基本的冷却冲洗功能,废水回收支架固定安装在传送机构底部位置处,用于对冷却时产生的废水进行收集回收,冲洗支架上从左至右依次固定安装有第一冲洗机构、第二冲洗机构和第三冲洗机构,实现三个不同阶段的冷却效果,第一冲洗机构、第二冲洗机构和第三冲洗机构均包括接水头、分水管和喷水头,接水头穿设在冲洗支架上,喷水头通过分水管与接水头连接,本发明操作简单,使用便捷,自动化程度高,省时省力,冷却充分且快速,能够有效提高整个生产流程的效率。

标签:
加工技术
江苏 - 苏州 来源:中冶有色网 2023-03-18
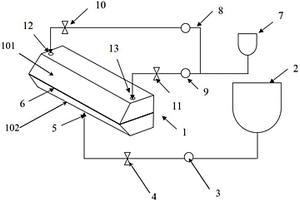
可消除锂电池极片边缘厚边的生产系统

本发明公开了一种可消除锂电池极片边缘厚边的生产系统,包括中空的挤出模头(1),挤出模头(1)的底部开有浆料上料口(5);浆料上料口(5)通过涂敷间隙阀(4)和上料螺杆泵(3)与浆料缓存罐(2)的出料口相连通;挤出模头(1)的顶部左右两端,分别开有左侧入料口(12)和右侧入料口(13);挤出模头(1)的正面开有涂敷狭缝(6);左侧入料口(12)通过左侧针孔阀(10)和左侧蠕动泵(8)与小罐(7)底部的出料口相连通;右侧入料口(12),通过一根设置有右侧针孔阀(11)和右侧蠕动泵(9)的连接管道,与小罐(7)底部的出料口相连通。本发明可以有效地消除锂电池极片边缘厚边的问题,提高电池极片的品质。

标签:
加工技术
江苏 - 苏州 来源:中冶有色网 2023-03-18
锂电池隔膜的收卷方法

本发明提供了一种锂电池隔膜的收卷方法,其能消除或降低隔膜收卷内爆以及翘边的问题,收卷整齐。一种锂电池隔膜的收卷方法,包括如下步骤:A在收卷辊的辊面贴附胶条,将隔膜收卷于贴附有胶条的辊面上;B调节收卷辊和传动辊之间的间距;C压边以将隔膜的边缘展平。步骤A中,收卷辊的辊面上贴附有至少一组胶条,每组胶条沿收卷辊的圆周方向等间隔地排列于收卷辊的辊面上。

标签:
加工技术
江苏 - 苏州 来源:中冶有色网 2023-03-18
聚合物锂电池板喷码机的旋转搬送机构

本发明公开了一种聚合物锂电池板喷码机的旋转搬送机构,包括竖直顶升驱动件、旋转驱动件以及至少一个吸盘组件;旋转驱动件连接于竖直顶升驱动件上,每个吸盘组件均连接于旋转驱动件上;竖直顶升驱动件用于驱动旋转驱动件上下移动,旋转驱动件用于驱动吸盘组件旋转;旋转驱动件包括旋转基座、驱动器、主轴以及同步带轮;旋转基座的底部连接于竖直顶升驱动件上;驱动器安装于旋转基座上,同步带轮套设于驱动器和主轴上,每个吸盘组件均连接于主轴的顶部;驱动器用于驱动主轴旋转。本发明的聚合物锂电池板喷码机的旋转搬送机构,可实现吸盘组件360°旋转,且旋转速率快,取料、下料效率高。

标签:
加工技术
江苏 - 苏州 来源:中冶有色网 2023-03-18
可充电锂电池作为电源发光的渔用网标灯

本发明公开了一种可充电锂电池作为电源发光的渔用网标灯,包括外壳和中间可抽出支架部件,所述外壳上还设有系绳扣,所述外壳上端通过防水圈连接一灯罩;所述中间可抽出支架部件上设有开关、插座,所述中间可抽出支架部件内安装有锂电池,中间可抽出支架部件的顶端还设有LED灯。本发明完全满足渔民海上捕捞要求具有亮度高、有效亮度时间长、高亮度>135小时不变,可充电反复使用200次以上,具有渔民使用方便、费用低、环保、节能等八大优点,是理想的可全面替代传统干电池渔用网标灯,避免海洋污染,还海洋清洁家园。

标签:
加工技术
江苏 - 苏州 来源:中冶有色网 2023-03-18
充电安全性能高的锂电池

本实用新型属于锂电池技术领域,尤其为一种充电安全性能高的锂电池,包括壳体、底座、电解质芯、正极端和负极端,所述壳体内部安装有所述电解质芯,所述电解质芯顶端固定连接有导电杆,所述正极端与所述负极端通过所述导电杆与所述电解质芯连接,所述壳体底端固定连接所述底座,所述底座内部设置有散热片,所述散热片通过螺丝与所述底座螺接固定,所述散热片上端面设有导热板;电池底座内部安装有散热片,电池在充电时,电池内部产生的热量通过导热板传导到散热片上,通过散热片进行散热,散热后的空气通过散热孔排出,在充电时对电池进行散热处理,避免在充电时温度过高,造成电池起火或者爆炸。

标签:
加工技术
江苏 - 苏州 来源:中冶有色网 2023-03-18
三元锂电池铜排件
三元锂电池铜排件 758     
 0

本申请属于锂电池技术领域,公开了一种三元锂电池铜排件,包括分置于电池组底、顶侧的底铜排片及顶铜排片,所述顶铜排片的前后两侧均间隔设置有成排的若干夹定爪,所述顶铜排片上前后对称设置有与两排夹定爪相匹配的对扭机构;所述对扭机构包括前后对称式插装在顶铜排片内的两个轴柱。本申请在顶铜排片的前后两侧设置可转抵的两排夹定爪,能与顶铜排片组成倒U形锁限架,对连组的电池组进行压锁,大大减少电池组受压移位后造成的底铜排片、顶铜排片与电池组电极片的松脱可能,减少电池组受压后的移位几率,大幅提高底铜排片、顶铜排片与电池组电极片的连接强度,促使连组后的电池组能持续、正常工作。

标签:
加工技术
江苏 - 苏州 来源:中冶有色网 2023-03-18
电动车锂电池安装用可调电芯支架

本实用新型公开了电动车锂电池安装用可调电芯支架,包括第一连接支架,所述第一连接支架的侧端位置卡接有第二连接支架,所述第一连接支架、第二连接支架的中心位置均限位连接有电芯,所述第一连接支架包括适配槽架、第一稳固架、纵杆、第二稳固架和第三稳固架,所述第三稳固架的上端通过纵杆与第二稳固架相固定连接,所述第二稳固架的上端通过纵杆与第一稳固架相固定连接,所述第一稳固架、第二稳固架、第三稳固架的一侧位置固定连接有适配槽架。本实用新型为电动车锂电池安装用可调电芯支架,通过连接支架的设置,实现调节连接的目的。

标签:
加工技术
江苏 - 苏州 来源:中冶有色网 2023-03-18
耐高温的新能源锂离子电池

本实用新型公开了一种耐高温的新能源锂离子电池,包括耐磨层,所述耐磨层的背面固定连接有耐高温层,所述耐高温层的背面固定连接有耐腐蚀层,所述耐腐蚀层的内腔固定连接有基层,所述耐高温层的厚度为0.55mm,所述基层的背面固定连接有本体。本实用新型通过耐磨层内含的高纯度纳米二硫化钼,可以有效地增加本体表面的极压性,且耐磨性能好,有效地延长了本体的使用寿命,通过耐高温层内由改性有机硅树脂、耐热体质颜料、助剂和溶剂组成的自干型有机硅涂料,对高温具有很强的抵抗力,有效地保护了基层和本体,防止基层和本体受到高温而损坏,同时解决了市场上常见的新能源锂离子电池普遍存在耐高温效果不好的问题。

标签:
加工技术
江苏 - 苏州 来源:中冶有色网 2023-03-18
锂电池加工用贴标装置
锂电池加工用贴标装置 1161     
 0

本实用新型公开了一种锂电池加工用贴标装置,包括底座,底座上设置有输送装置,输送装置上设置有第一电机,底座上靠近输送装置设置有固定台,固定台上设置有料盘,料盘包括电动转杆、红外线发射装置、红外线接收装置,底座上靠近固定台设置有第一安装板,第一安装板一侧设置有第二电机,第一安装板另一侧设置有转辊,第一安装板上靠近转辊设置有贴标板。本实用新型为一种锂电池加工用贴标装置,当料盘上的贴标卷用完之后,设备会自动停止运行,然后更换新的贴标卷即可,防止产品没有贴标就被输送装置运走,当产品由输送装置运至压板下时,通过气缸带动压板对产品上的标签进加压,使贴标更加牢固,不易脱落。

标签:
加工技术
江苏 - 苏州 来源:中冶有色网 2023-03-18
应用于锂电子电池的组合式绝缘片

本实用新型涉及绝缘片技术领域,且公开了一种应用于锂电子电池的组合式绝缘片,包括绝缘片本体,所述绝缘片本体依次由第一阻燃层、绝缘层、成型层和第二阻燃层组成,所述第一阻燃层下表面通过胶水粘合连接有绝缘层,所述绝缘层下表面通过胶水粘合连接有成型层。该种应用于锂电子电池的组合式绝缘片,其绝缘片本体依次设置有第一阻燃层、绝缘层、成型层和第二阻燃层,通过第一阻燃层和第二阻燃层对绝缘片两侧将阻燃,而绝缘层采用聚丙烯或聚对苯二甲酸乙二醇酯,其起到良好的绝缘效果,配合成型层的成型经线和成型纬线,易于对绝缘片进行折叠和切割,提升绝缘片使用效果,多层的设置提升绝缘片的抗穿透能力。

标签:
加工技术
江苏 - 苏州 来源:中冶有色网 2023-03-18
取片装置及锂电池生产设备

本实用新型提供了一种取片装置及锂电池生产设备,涉及锂电池生产的技术领域,包括叠料平台、升降机构、抖动机构和吸盘机构、极片层数检测传感器;叠料平台用于堆放极片;抖动机构的一端与升降机构连接,抖动机构的另一端与吸盘机构连接;吸盘机构能够吸附叠料平台上的极片,升降机构能够驱动抖动机构和吸盘机构移动;极片层数检测传感器设置在叠料平台上方,用于检测吸盘机构吸附的极片的层数,吸盘机构将叠料平台上的极片吸附,升降机构带动吸盘机构和极片移动一定距离,抖动机构快速抖动,使与吸附极片粘连在一起的极片抖落下去,并利用极片层数检测传感器检测极片的层数,达到每次仅取一张极片,取片稳定性好,工作效率高。

标签:
加工技术
江苏 - 苏州 来源:中冶有色网 2023-03-18
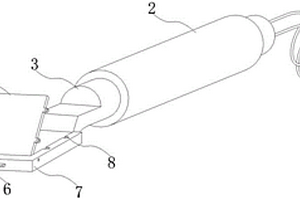
锂电池盖板的耐腐性检具

本实用新型公开了锂电池盖板的耐腐性检具,涉及锂电池检测装置技术领域,针对现有的不能很好的进行检验的问题,现提出如下方案,其包括工作箱,所述工作箱的一侧固定连接有收集箱和处理箱,所述收集箱上侧固定连接有多个压力传感器,所述压力传感器的上侧固定连接有支撑杆,且支撑杆的龙一端固定连接有安装板,所述安装板的上侧螺纹套接有检测盒,所述检测盒的下侧固定连接有导流管,且导流管的另一端滑动套接有与安装板固定连接的连接管,所述连接管的底端连接有第一软管,本实用新型结构简单,使用方便,可以自动进行液体腐蚀和气体腐蚀,然后进行烘干称重,得到部分的腐蚀数据,以减少实验人员的工作强度,方便工作的进行。

标签:
加工技术
江苏 - 苏州 来源:中冶有色网 2023-03-18
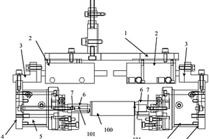
圆柱型锂电池极组短路测试辅助装置

本实用新型公开了一种圆柱型锂电池极组短路测试辅助装置,包括水平横向分布的连接板(1);连接板(1)的底部左右两端,分别固定设置有一个伸缩气缸(2);每个伸缩气缸(2)在相反的一侧具有的输出轴,分别通过一个卡盘安装板连接件(3)与卡盘安装板(4)的上端相连接;两个卡盘安装板(4)的下端在相对的一侧,分别铰接一个夹爪气缸5的一侧;两个夹爪气缸(5)在相对一侧具有的多个输出端,分别与多片夹爪(6)相连接;需要进行短路测试的圆柱型电池极组(100)位于两个夹爪气缸(5)所连接的夹爪(6)之间的位置。本实用新型能够方便地辅助短路测试仪对圆柱型锂电池极组进行短路测试,避免撞弯电池极组的极耳,工作效率高。

标签:
加工技术
江苏 - 苏州 来源:中冶有色网 2023-03-18
锂电池盖帽组件
锂电池盖帽组件 962     
 0

本实用新型公开了一种锂电池盖帽组件,依次包括孔板(1)、绝缘圈(2)、防爆片(3)、顶盖(4)及密封圈(5),所述防爆片(3)设有朝向孔板的一侧的第一凸台(31),所述孔板(1)设有与所述第一凸台(31)相贴合的第二凸台(11),所述第一凸台(31)和所述第二凸台(11)采用焊接连接。本实用新型的一种锂电池盖帽组件,为了达到防爆片和孔板能够直接紧密贴合,防爆片向上隆起一第一凸台,而孔板向下设置第二凸台,这样使二者接触,然后在激光焊接或超声波焊接下使盖帽组件的一侧焊接牵固。其不仅保证了内部不产生热压空气,同时焊接面较薄,无需要焊材,焊接效率高,温度低,减少了能源消耗等优点。

标签:
加工技术
江苏 - 苏州 来源:中冶有色网 2023-03-18
锂电池极卷密封转运车

本实用新型公开一种锂电池极卷密封转运车,包括主箱体、箱门、铰链、万向轮、扣具、密封胶条、间距调节轨道、转运架、辊轴,所述主箱体呈无缝密封的立方体结构,所述箱门通过铰链安装在所述主箱体的一侧面,所述主箱体底部四角设置有万向轮,所述箱门边缘设置有扣具,所述扣具与主箱体拴紧连接,所述箱门的四条边均设置有密封胶条,所述主箱体内部中空,所述主箱体的一侧内壁从上到下水平设置有若干间距调节轨道,所述转运架上设置有与所述间距调节轨道相匹配的滑槽。通过上述方式,本实用新型提供一种锂电池极卷密封转运车,采用全密封转运箱,配合可调节转运架,实现对电池极卷的高效快速安全转运。

标签:
加工技术
江苏 - 苏州 来源:中冶有色网 2023-03-18
用于锂电池检测的高效稳压模块

本实用新型公开了一种用于锂电池检测的高效稳压模块,稳压电路包括分压电阻R1、稳压二极管U1、三极管Q1,数位控制电路输出端一端连接稳压电路输入端正极,数位控制电路输出端另一端通过电阻R1连接稳压电路输入端负极,电阻R1与数位控制电路连接处还连接到稳压二极管U1负极,稳压二极管U1负极还连接三极管Q1基极、电阻R2一端,电阻R2另一端与三极管Q1射极均连接稳压电路输入端正极,稳压二极管U1正极、三极管Q1集电极均连接稳压电路输入端负极,三极管Q1射极还通过电阻RL1连接稳压电路输出端。本实用新型有效避免了工厂在生产检测锂离子电池保护板时,主控IC因耐压问题的损坏,大大提高了可靠性与生产测试效率。

标签:
加工技术
江苏 - 苏州 来源:中冶有色网 2023-03-18
提高锂电池展示安全性的展示架

本实用新型公开了一种提高锂电池展示安全性的展示架,包括货架本体,所述货架本体具有多个储存仓位,所述货架本体上活动设置有用以包裹多个储存仓位的防护罩,所述防护罩采用透明材质,所述货架本体上设置有机械式温控器、吸尘器,所述机械式温控器上设置有设定温度的旋钮,所述吸尘器上设置有用以调节吸尘风力的档位旋钮,至少其中一个所述储存仓位内安置有干燥剂包,所述货架本体的相对两侧设置有通孔,每个通孔内均设置有排风扇,所述排风上设置有强度档位的调节旋钮,所述防护罩与货架本体的外壁与内壁上均涂覆有防火层。本实用新型从温度、通风、干燥、清洁整体上提高了锂电池展示的安全性能。

标签:
加工技术
江苏 - 苏州 来源:中冶有色网 2023-03-18
表面粉料颗粒分布均匀的锂离子电池极片

本实用新型公开了一种表面粉料颗粒分布均匀的锂离子电池极片,其特征在于,包括电池极片主体(1),所述电池极片主体(1)的上下两面分别设置有粉料颗粒分布均匀的粉料颗粒层(2)。实用新型公开的一种表面粉料颗粒分布均匀的锂离子电池极片,其表面粉料颗粒分布均匀,可以保证粉料颗粒分布的均匀一致性,提高最终制备的电池的整体性能,有利于提高电池生产厂家产品的市场应用前景,具有重大的生产实践意义。

标签:
加工技术
江苏 - 苏州 来源:中冶有色网 2023-03-18
锂电池铝塑膜
锂电池铝塑膜 735     
 0

本实用新型属于铝塑包装膜复合材料领域,尤其是一种锂电池铝塑膜,由外向内依次为如下结构:耐热性聚酰亚胺(PI)层、胶黏层、铝箔层、耐腐蚀涂层、胶黏层、热封层,其特征在于,所述热封层的表面设有凹凸网格结构。相对于现有技术,本实用新型热封层的凹凸网格大幅度增加热封比表面积,且热封时形成有力的机械钳锁,可达到更高的热封强度,对锂电池使用安全性提供了可靠的保障。

标签:
加工技术
江苏 - 苏州 来源:中冶有色网 2023-03-18
锂离子电池反转连接片
锂离子电池反转连接片 1081     
 0

本实用新型涉及一种锂离子电池反转连接片,它包括柱形本体、一体设置于所述本体周面上且与其任一端面相平齐的外延部以及一体设置于所述外延部自由端的环体;所述外延部的轴心线与所述本体的轴心线相重合;所述外延部与所述本体周面之间形成的夹角为锐角,且其厚度在所述本体向所述环体的方向上逐渐减小;所述环体与所述本体的轴心线相垂直。这样既能提高连接强度,又能提高确保在短路时能够及时熔断,提高了锂离子电池的安全性能。

标签:
加工技术
江苏 - 苏州 来源:中冶有色网 2023-03-18
方形锂电池组件
方形锂电池组件 1163     
 0

本实用新型公开了一种方形锂电池组件,包括复数个电芯叠加构成电芯组,以及与所述电芯组连接的一电极引出电路板,其特征在于:所述电芯组外侧环设有捆扎结构,所述捆扎结构包括两块夹板及至少一组捆扎件,所述夹板与所述电芯平行布置,且分设于电芯组的两侧,并经所述捆扎件连接两夹板,构成夹板内侧壁与对应侧所述电芯的外侧壁紧配合。本实用新型通过捆扎结构对电芯组的锁紧力,避免因极片间的膨胀而使电池组件的稳固性下降,有效提高电池组件的充放电循环能力,延长锂电池的使用寿命。

标签:
加工技术
江苏 - 苏州 来源:中冶有色网 2023-03-18
稳固的应用于锂电池的片式温度传感器

本实用新型公开了一种稳固的应用于锂电池的片式温度传感器,属于锂电池技术技术领域,包括传感器以及连接在电池上的巴片,所述传感器的输入端连接有传导片,且传导片与巴片连接,所述传感器末端连接有数据线,所述传导片的前半段设置成平板状结构,同时在传导片的平板部前端开设有多个贴合槽,所述传导片的下表面开设有定位槽,所述巴片的上表面开设有连接槽,且连接槽的结构与传导片的平板部结构相同。为了使得传导片与巴片的连接进一步更加稳固,在巴片上开设连接槽,将传导片置于连接槽内,此时连接槽对传导片的左右位置进行约束,防止由于外力或者震荡导致传导片从巴片的左右方向脱离,通过压盖又能对传导片进行加压增加稳定。

标签:
加工技术
江苏 - 苏州 来源:中冶有色网 2023-03-18
上一页 482 483 484 485 486 ... 500 ... 954 下一页
共954页    到第

中冶有色为您提供最新的江苏苏州有色金属理论与应用信息,涵盖发明专利、权利要求、说明书、技术领域、背景技术、实用新型内容及具体实施方式等有色技术内容。打造最具专业性的有色金属技术理论与应用平台!

全国热门有色金属设备推荐
展开更多 +
全国热门有色金属技术推荐
展开更多 +

 

江西省隆恩特环保设备有限公司
宣传

报名参会
更多+

报告下载

有色专家
更多+

郑州大学
副院长/教授
中国科学院赣江创新研究院
院长
江西理工大学
副校长
中南大学
中国工程院院士
昆明理工大学
校长
赤泥综合利用研究报告2025
推广

热门技术
更多+

推荐企业
更多+

福建省金龙稀土股份有限公司
宣传

发布

在线客服

公众号

电话

顶部
咨询电话:
010-88793500-807