青岛垚鑫智能科技有限公司
宣传

位置:中冶有色 >

有色技术频道 >

分类:
全部
矿山技术
冶金技术
材料制备及加工技术
环境保护技术
分析检测技术
地区:
全部
北京
天津
上海
重庆
河北
山西
辽宁
吉林
黑龙江
江苏
浙江
安徽
福建
江西
山东
河南
湖北
湖南
广东
海南
四川
贵州
云南
陕西
甘肃
青海
内蒙
广西
西藏
宁夏
新疆
其他
其他
展开
 
全部

有色金属技术理论与应用

免费发布技术信息>>
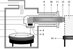
升降式传输装置及悬挂式检测流水线

本实用新型公开了一种升降式传输装置及悬挂式检测流水线,属于无损探伤技术领域。包括:机架、驱动机构、升降导轨、多个滑动小车和多个夹爪。升降导轨包括竖直安装在所述机架两侧升降机构,滑动安装在所述升降机构上、且始终位于驱动机构上方的安装板,通过连接杆固定安装在安装板下方、并留有预定间隙的两个传输导轨;滑动小车位于所述驱动机构和传输导轨之间,可沿着所述传输导轨滑动,夹爪分别安装在所述滑动小车底部,并穿过两个传输导轨之间的间隙。本实用新型通过在传输导轨上设计相升降机构,通过调整导轨的位置实现对滑动小车、夹爪和待检测零件的自动升降,方便用户对待检测零件进行检测,提高检测效率。

标签:
无损检测
江苏 - 无锡 来源:中冶有色网 2023-03-19
应用于窄间隙环焊缝的超声检测探头夹持装置

本实用新型属于无损检测领域,具体涉及一种应用于窄间隙环焊缝的超声检测探头夹持装置。本实用新型的技术方案如下:一种应用于窄间隙环焊缝的超声检测探头夹持装置,包括壳体、填充块、定位螺栓副和夹紧螺栓副,所述壳体的正面为开口,所述壳体的一端为手持部,另一端为夹头;所述填充块放置在所述手持部的端头处,所述定位螺栓副将所述填充块与所述手持部的两个侧壁固定安装在一起;所述夹头的端面处设有豁口,用于放置超声检测探头的导线;所述手持部靠近所述夹头处的两个侧壁上对称设有通孔,所述夹紧螺栓副串装在所述通孔中。本实用新型能够实施窄间隙环焊缝的超声检测,具有操作简单、成本低、制作简单、适用性强、工作效率高的特点。

标签:
无损检测
辽宁 - 沈阳 来源:中冶有色网 2023-03-19
用于球形储罐探伤检测的爬壁机器人

一种用于球形储罐探伤检测的爬壁机器人,其特征在于它包括带车架的车体、驱动装置、吸附装置、电气部件和无损探伤模块;其结构简单,容易实现,且成本低;可以实现探伤爬壁机器人球形储罐曲面进行焊缝缺陷检测,具备一定的越障能力及可靠的定位能力,可以准确反馈故障位置,检测精度提高,探伤结果更加精确,避免了人工检测方式带来的危险及人为因素导致的检测误差。

标签:
无损检测
天津 - 天津 来源:中冶有色网 2023-03-19
孵化蛋品质在线自动检测分选设备

本实用新型公开了一种孵化蛋品质在线自动检测分选设备,涉及禽蛋检测技术领域。本设备包括送蛋装置(100)、照蛋装置(200)、吸蛋装置(300)、出蛋装置(400)、感知模块(500)、视觉模块(600)、控制模块(700)及执行模块(800);送蛋装置(100)、照蛋装置(200)、吸蛋装置(300)和出蛋装置(400)依次连接。本方法运用计算机视觉技术和机械执行机构相配合,通过一系列的图像处理及模式识别,实现对整盘孵化蛋品质的智能、无损检测并自动分选。本实用新型设计合理可行、操作简便,效果明显,适用于蛋品孵化及品质检测行业,还可应用到其他的农产品检测中,具有良好的应用推广前景。

标签:
无损检测
湖北 - 武汉 来源:中冶有色网 2023-03-19
基于太赫兹波的烟箱缺条在线检测设备

本实用新型涉及一种基于太赫兹波的烟箱缺条在线检测设备,包括太赫兹波成像装置和用于传输烟箱的输送带,太赫兹波成像装置设置在输送带的检测区,太赫兹波成像装置包括左检测模块和右检测模块,左检测模块和右检测模块位于烟箱的两侧;左检测模块和右检测模块分别包括太赫兹波发射面和太赫兹波接收面,太赫兹波发射面用于向烟箱发射太赫兹波;太赫兹波接收面用于接收烟箱内的烟条反射回来的太赫兹反射波;在线检测设备包括信息处理模块。其有益效果是:采用太赫兹波发生器发出的连续太赫兹波为光源,直接对烟箱内的条烟进行探测并成像,信号强且得到的二维影像,更加直观,能够快速、无损、在线实时地检测出缺条等问题。

标签:
无损检测
云南 - 昆明 来源:中冶有色网 2023-03-19
用于检测深裂纹的圆形相切式涡流探头

本实用新型属于电磁无损检测技术领域,涉及用于检测深裂纹的圆形相切式涡流探头。所述探头包括激励元件、检测元件和固定架(9);所述激励元件包括大激励线圈(1)、大激励线圈绕线盘(6)、小激励线圈(2)和小激励线圈绕线柱(7);所述大激励线圈(1)与小激励线圈(2)内切;所述检测元件包括检测线圈支座(11)、检测线圈绕线柱(8)、磁场屏蔽板(5)、检测线圈(3)和磁场屏蔽筒(4);所述磁场屏蔽板(5)、检测线圈(3)和磁场屏蔽筒(4)依次套在检测线圈绕线柱(8)上,检测线圈(3)位于磁场屏蔽板(5)和磁场屏蔽筒(4)形成的屏蔽外壳内。本实用新型探头探测深度大、效率高。

标签:
无损检测
宁夏 - 银川 来源:中冶有色网 2023-03-19
致密层原油突破压力的电磁检测方法及设备

本发明提供一种致密层原油突破压力的电磁检测方法及设备,包括采用驱替液驱替一岩心样品中的原油,所述岩心样品设于一岩心夹持器内,所述岩心夹持器的两端管线内分别设有电磁发射器和电磁接收器;每隔设定时长记录所述驱替过程中向岩心样品施加的压力数据以及电磁接收器接收的电磁信号数据;根据所述压力数据和电磁信号数据确定原油突破压力,本发明利用电磁波检测原油驱替地层水过程中电磁信号的变化,从而实现原油突破压力的检测和确定,更加符合地下原油充注突破的实际情况,该方法具有检测无损、检测深度大、安全快捷以及对原油和地层水驱替过程检测灵敏等优点。

标签:
无损检测
北京 - 北京 来源:中冶有色网 2023-03-19
基于Lamb波时间场法在钢管主梁中的损伤检测方法

本发明公开了一种基于Lamb波时间场法在钢管主梁中的损伤检测方法,包括如下步骤:环境搭建:在对实际钢管主梁焊缝结构进行无损检测时,所采用的设备主要包括压电传感器、计算机系统、信号采集设备、耦合剂;检测环境参数设置:在检测时,首先确定检测环境下的增益大小,根据经验选择,对比了20dB和30dB时的接收信号,确定增益为30dB时五波峰更加明显,效果较好;钢管主梁焊缝损伤数据处理及分析;基于时间场法进行损伤识别;不同程度损伤的识别。本发明对损伤位置的识别精度较高,取得明显的检测应用效果。

标签:
无损检测
北京 - 北京 来源:中冶有色网 2023-03-19
用于装配式墙体检测的中子透射成像系统及其应用

本发明公开了一种用于装配式墙体检测的中子透射成像系统及其应用,涉及无损检测技术领域,包括设置在被检测装配式墙体两侧的用于发射快中子的中子发射机总成和用于接收热中子的中子接收机总成,所述中子发射机总成和中子接收机总成分别固定安装在可带动其在与被检测装配式墙体所在竖直面平行的竖直面上进而二维平面运动的第一驱动装置和第二驱动装置上,所述中子发射机总成与第一驱动装置连接,所述中子接收机总成与第二驱动装置连接,且第一驱动装置和第二驱动装置分别与主控制装置连接,同时本发明还提供一种利用上述技术的检测方法;本发明可有效检测建筑墙体内的连接质量,可信度高。

标签:
无损检测
安徽 - 合肥 来源:中冶有色网 2023-03-19
TR与Duffing系统相结合的超声导波小缺陷定位检测方法

本发明公开了一种TR与Duffing系统相结合的超声导波小缺陷定位检测方法,属于无损检测信号分析领域,步骤如下:在管道的一端面激发超声导波信号,使超声导波遍历管道的所有位置;在激发端附近的另一端面接收超声导波回波信号并记录超声导波管道中传播的时间历程曲线;利用改进型杜芬混沌系统对超声导波回波信号进行检测与分析,提取并识别淹没在噪声中的小缺陷信息;将得到的带有小缺陷信息的信号进行时间反转后再进行二次激发;接收反转信号。本发明能够很好的抑制噪声,得到小缺陷微弱信号,精确识别管道中的小缺陷位置提高缺陷的检测效率,降低维修成本,能有效延长超声导波检测的范围,提高微弱裂纹缺陷的检测的灵敏度,具有实际的工程应用价值。

标签:
无损检测
浙江 - 杭州 来源:中冶有色网 2023-03-19
用于奥氏体不锈钢锅炉管道内氧化皮堆积检测的探头

本实用新型属于无损检测技术中的氧化皮检测领域,涉及一种用于奥氏体不锈钢锅炉管道内氧化皮堆积检测的探头,该探头包括:探头外壳、两块用于产生稳定磁场的永磁体、线性霍尔器件、放大器,该探头可在不损坏管道的前提下对管道内氧化皮堆积进行检测,以电压的大小表示被测管道内氧化皮堆积的重量,操作流程简便,检测灵敏度高,可实现对奥氏体不锈钢管道内氧化皮堆积量的有效检测。

标签:
无损检测
北京 - 北京 来源:中冶有色网 2023-03-19
薄膜厚度微区成像的检测装置及方法

本发明公开了一种薄膜厚度微区成像的检测装置及方法,属于薄膜厚度无损检测的技术领域,所述检测装置包括:计算机,分别与计算机通信连接的光源发生器和面阵检测器;所述光源发生器用于产生波长可调的单色光;照明及成像光路,所述照明及成像光路用于将单色光垂直或接近垂直方向入射到样品表面的待测区域,并将反射光收集并成像到面阵检测器上;检测过程包括:检测过程包括:通过计算机控制光源发生器进行波长扫描和面阵检测器进行逐个波长反射图像的采集,并获得不同波长的反射光图像,通过数据处理方法将反射光图像转变为薄膜厚度分布图像,以达到通过获得成像范围内大量点的薄膜厚度,能应用于分析厚度不均匀薄膜,预期在材料腐蚀、光学镀膜、半导体工业等领域具有良好应用前景的目的。

标签:
无损检测
四川 - 绵阳 来源:中冶有色网 2023-03-19
便携式在役管道力学性能检测设备

本发明提供了一种便携式在役管道力学性能检测设备,属于材料的力学性能无损/微损检测技术。其技术方案为:一种便携式在役管道力学性能检测设备,其特征在于,包括主机底板,所述主机底板下方设置有管道夹持机构,还包括可以上下运动的检测机构,所述检测机构贯穿设置在所述主机底板内部以及所述管道夹持机构的上部,还包括为所述检测机构提供动力的传动机构。本发明的有益效果为:不破坏管道完整性,体积小,质量轻,固定快捷,测量精确的力学性能检测设备,在实现设备的小型化、轻量化的基础上提高设备的精度。

标签:
无损检测
北京 - 北京 来源:中冶有色网 2023-03-19
免充气轮胎均匀性检测装置

本实用新型公开了一种免充气轮胎均匀性检测装置,属于轮胎检测设备领域。包括基座;安装座,其为圆柱体,安装座中心轴线平行于水平方向设置,安装座直径与待测轮胎内径相等;第一驱动单元,其与基座固定连接,第一驱动单元输出端与安装座一端面中心轴线部分传动式连接,为安装座绕中心轴线转动提供驱动力;还包括检测机构,其由光轴与转动式连接在光轴上的轴承组成。本实用新型的装置通过将轮胎套在安装座上,安装座带动轮胎转动,检测机构放置在转动轮胎的胎面上,通过检测机构的跳动与否即可判断轮胎均匀性是否存在问题,操作简单省时省力且本装置成本低,对待测轮胎无损坏,具有结构简单、设计合理、易于制造的优点。

标签:
无损检测
安徽 - 马鞍山 来源:中冶有色网 2023-03-19
基于k邻近算法的焊接缺陷电涡流检测方法

本发明属于无损检测技术领域,涉及一种基于k邻近算法的焊接缺陷巨磁电阻涡流检测方法,包括:选择多个类型的焊缝样本作为训练样本,测量每个样本同一时刻下的四路输出信号,提取信号的峰峰值,方差和斜率变化作为样本特征量,构造训练样本集合;从每个类型的焊缝样本中选取k组样本特征量,在对待测样本的检测过程中,测量待测样本四路巨磁电阻传感器输出信号的峰峰值,方差和斜率变化特征量,结合建立好的训练样本集合,分别计算该样本的特征量与训练样本集合中所选取的每个类型的焊接样本的样本特征量的相似度;其中,与待测样本之间平均相似度最大的训练样本焊缝类型即为待测样本的焊缝类型。本发明具有计算简单,结论清晰,且测量过程简单的优点。

标签:
无损检测
天津 - 天津 来源:中冶有色网 2023-03-19
基于电磁超声Lamb波S1模态群速度的金属板应力检测方法

本发明公开了一种基于电磁超声Lamb波S1模态群速度的金属板应力检测方法。本方法采用电磁超声激发探头激发Lamb波,并根据激励线圈的特定间距,激发出特定模态Lamb波,并精准识别Lamb波的S1模态,利用Lamb波的S1模态群速度对应力变化的高灵敏度来对金属板进行应力检测。与传统的体波应力检测相比较,在相同的加载应力下速度变化率有显著提升,可用于无损检测领域中薄板应力分布的测量研究。

标签:
无损检测
天津 - 天津 来源:中冶有色网 2023-03-19
单透镜型自动检测晶片基底二维形貌和温度的装置

本发明公开了一种单透镜型自动检测晶片基底二维形貌和温度的装置,属于半导体材料无损检测技术领域。该单透镜型自动检测晶片基底二维形貌和温度的装置在光束入射至晶片基底之前,将透镜设置于分光平片之后,而在形成第二种反射光束之后,将透镜设置于分光平片之前,这样,只需要应用一个透镜即可,无需选用两个透镜,或者,在选用激光器和探测器时,无需它们自身集成有透镜,使得检测晶片基底二维形貌的装置的成本降低。

标签:
无损检测
北京 - 北京 来源:中冶有色网 2023-03-19
检测塑化剂的方法及装置

本发明提供了一种检测塑化剂的方法及装置,通过飞秒激光产生的太赫兹时域光谱对标准品和待测溶液进行检测,分析不同浓度的标准品光谱和待测溶液的光谱,可以得到样品的吸收系数,折射率等光学参数,通过比较待测溶液光学参数与标准品光学参数来确定待测溶液的浓度范围,不会破坏被检测物质的成分,操作简便,实现了低成本、高精度的塑化剂含量的无损检测。

标签:
无损检测
北京 - 北京 来源:中冶有色网 2023-03-19
小型化多光程池的西林瓶泄露检测装置及方法

本发明公开了无损西林瓶泄露检测技术领域的一种小型化多光程池的西林瓶泄露检测装置及方法,箱体外壳的内腔中嵌入安装有激光驱动电路和调制与解调电路,所述激光探测组件包括弧形设备定位板、定位板固定架、多光程池、探测器、激光器和准直器,利用可调谐半导体激光光谱技术,通过设计好的小型化多光程池,对西林瓶内气体进行检测,实现高精度、快速、在线检测等优点基于可调谐半导体激光光谱技术的方法,解决了传统西林瓶检测技术破坏样品,无法定量测量,无法在线测量等问题;基于矢量计算的方法,可根据西林瓶的尺寸信息定制适合的小型化多光程池,解决了激光单程检测光程过短,灵敏度低的问题。

标签:
无损检测
山西 - 太原 来源:中冶有色网 2023-03-19
重型燃机带涂层透平叶片基体裂纹涡流检测系统及方法

本发明公开了一种重型燃机带涂层透平叶片基体裂纹涡流检测系统及方法,属于无损检测领域,该检测系统包括涡流仪、涡流检测探头等。涡流检测探头与涡流仪连接,对比试样上开设有若干矩形槽。该检测方法对带涂层透平叶片基体裂纹信号敏感度高,能够有效检出最小尺寸为深度=0.1mm、长度=2mm的带涂层透平叶片基体裂纹缺陷,涡流检测探头能够与叶片型面良好贴合,减小因涡流检测探头摇晃和提离产生的干扰,涡流检测探头底部密封块的柔性橡胶泥层和绝缘胶布层便于拆卸、更换,涡流检测工艺参数中设置有涡流信号报警范围,检测员能够清晰区分裂纹信号和正常信号,操作简单易学。

标签:
无损检测
陕西 - 西安 来源:中冶有色网 2023-03-19
基于可见光、太赫兹融合光谱技术的叶菜类蔬菜叶片重金属镉的检测装置及方法

本发明公开了基于可见光、太赫兹融合光谱技术的叶菜类蔬菜叶片重金属镉的检测装置及方法,检测装置包括:太赫兹发射器、太赫兹探测器、离轴抛物面镜、电控样品台、可见光图像摄像仪、卤素灯光源、测量模块、控制模块、分析模块、模式转换键、计算机等。检测过程中,通过模式转换键转换采集模式,分别采集样品的可见光光谱和太赫兹光谱。提出叶片重金属镉含量的高精度检测方法,通过竞争性自适应重加权采样法和迭代保留信息变量法分别对可见光光谱和太赫兹光谱进行特征选择,在融合特征光谱的基础上利用新型群体智能算法—灰狼优化算法对最小二乘支持向量机进行参数优化,并建立叶片重金属镉的定量回归模型,实现镉含量的快速、精确及无损检测。

标签:
无损检测
江苏 - 镇江 来源:中冶有色网 2023-03-19
基于电阻抗成像技术的检测系统和方法

本发明公开了一种基于电阻抗成像技术的检测系统和方法。本发明的系统,包括涂设在待检测基材上的导电涂层、均匀分布在导电涂层上的多个接收电极、与任意两个接收电极通过导线连接的电源、与剩下接收电极通过导线连接的数据采集装置、与数据采集装置和电源电连接的中央处理器和对待检测基材施加压力的万能试验机。该方法采用上述系统进行检测。本发明的系统通过导电涂层随着基体材料加载受力拉伸导致电阻发生变化的情况,检测出其内部裂缝情况,可以实时检测和监测基体材料损坏程度,为结构质量监测做出贡献,真正达到无损检测的目的,本发明的方法新颖、简便、低成本、可操作性强。

标签:
无损检测
湖北 - 武汉 来源:中冶有色网 2023-03-19
原位光学检测装置
原位光学检测装置 1146     
 0

本发明公开一种原位光学检测装置,应用于原子层沉积设备,包括光学测试系统和光学镜头配套组件,光学测试系统设置在原子层沉积设备的反应腔室外部,光学镜头配套组件包括镜头腔和设置在镜头腔内的光学镜头、转角组件和光学镜头延长管,转角组件两端分别连接光学镜头和光学镜头延长管;光学测试系统通过光学组件与光学镜头延长管连接,形成测试光路;镜头腔通过第一法兰组件固定在反应腔室的侧壁上。本发明可进行光学无损检测,并且可以在光学原位检测的辅佐下控制薄膜初始生长阶段的模式。同时,在原子层沉积系统中,可进一步的设计和开发新的人工改性半导体材料,为各种高质量、具有特异性能的二维薄膜的制备,提供有力的理论及实验基础。

标签:
无损检测
北京 - 北京 来源:中冶有色网 2023-03-19
用于模拟不同倾斜角度热疲劳裂纹的涡流检测试块

本实用新型属于无损检测涡流检测领域,特别涉及一种用于模拟水冷壁管的不同倾斜角度热疲劳裂纹的涡流检测试块,该涡流检测试块包括试块基体及设置在试块基体表面的七个模拟不同倾斜角度的热疲劳模拟裂纹,试块基体为管式试块,七个模拟裂纹的几何中心位置处于试块基体的同一条母线上,七个模拟裂纹方向垂直于试块基体管壁表面。本实用新型在试块基体上加工了裂纹,有效模拟了真实裂纹的大小及分布,用于初步判断所检测的裂纹缺陷具有方向性,以保证检测结果的准确性;其次用于调节涡流检测时的灵敏度大小,对其进行定量分析,以判定被检件实际缺陷的大小,提高了检测的效率和检测的质量。

标签:
无损检测
天津 - 天津 来源:中冶有色网 2023-03-19
车用催化剂涂层均匀性检测方法及装置

一种车用催化剂涂层均匀性检测方法及装置,以放射源作为信号源,以待测样品匀速经过信号源的同时检测透过待测样品后的辐射信号,经过分析后得到涂层的均匀性及涂敷位置的检测。本发明用于检测催化剂上涂层的均匀性及涂覆位置,该方法通过放射源发射射线,穿过置于样品支架上的载体或催化剂,样品支架在驱动马达的驱动下匀速通过放射源,上端传感器接收射线信号,通过分析传感器接收到的放射源信号,检测催化剂上涂层的均匀性及涂敷位置。本方法快速方便、检测精度高,用于催化剂涂层的无损检测,可实现在线采集,降低质量风险,并大大节约时间及成本。

标签:
无损检测
上海 - 上海 来源:中冶有色网 2023-03-19
镍基带孔零件内壁检测方法及装置

本发明涉及高温零件无损检测技术领域,特别涉及镍基带孔零件内壁检测方法及装置。镍基带孔零件内壁检测方法包括以下步骤:1)使用涡流检测模块和内窥镜检测模块分别对镍基带孔零件的内壁进行检测;2)对涡流检测模块和内窥镜检测模块的检测结果进行综合分析形成最终结论。通过使用功能互补的涡流检测模块和内窥镜检测模块对镍基带孔零件内壁进行检测,可以实现镍基带孔零件内壁任何方向的裂纹检测,解决了目前的镍基带孔零件内壁采用其他检测方法检测效果差的问题。

标签:
无损检测
河南 - 郑州 来源:中冶有色网 2023-03-19
倒装焊器件内部检测方法

本发明涉及倒装焊器件内部检测方法,包括以下步骤:按常规将被测对象和传感器安置到位并作好检测前的准备;调节传感器,向下聚焦至表面波;继续向下聚焦至底部填充胶与芯片界面波;将该波形置于门设置内,使用反射模式进行界面扫描;选择图片结构相同的区域作为检测点,保存检测点波形和振幅图;观察相同结构处的灰度,若灰度有差异,且各检测点的波形有差异、振幅差异达到10%,可判定倒装焊器件存在缺陷,若灰度无差异或灰度有差异但波形有差异、振幅差异小于10%,则继续向下聚焦对底部填充胶与基底界面进行检测。采用本发明,可对倒装焊器件内部的所有结构进行全面检测,而且无损、准确、便捷、灵活。

标签:
无损检测
湖北 - 孝感 来源:中冶有色网 2023-03-19
基于波型转换的TOFD近表面盲区缺陷定位检测方法

一种基于波型转换的TOFD近表面盲区缺陷定位检测方法,属于无损检测领域。该方法采用一套包括TOFD超声检测仪、检测探头、校准试块、扫查装置的超声检测系统进行TOFD检测。TOFD探头发射的纵波遇到缺陷后会发生衍射,当入射角度达到临界值时会发生纵波?横波或横波?纵波的波型转换。根据B扫查图像中不同类型波声程之间的几何关系,构建缺陷端点位置求解模型,通过测量变型波最短声程在垂直方向的投影距离d′,变型波交点与其声程最短位置间的水平方向投影距离S,结合探头中心距2S、纵波声速Cl与横波声速Cs,则缺陷端点至检测面距离d可通过公式计算得到,实现近表面盲区缺陷的定位。该方法不需要提取原始A扫描信号进行分析及后处理,可操作性强,具有较好的工程应用价值。

标签:
无损检测
辽宁 - 大连 来源:中冶有色网 2023-03-19
相控阵超声成像检测半自动压力式耦合装置

本实用新型公开了一种相控阵超声成像检测半自动压力式耦合装置,涉及无损检测领域,包括装置本体外壳,装置本体外壳内的中部成型有打气筒,打气筒内滑动配合安装有打气棒,打气棒的上端通出装置本体外壳设置,装置本体外壳的侧边固定安装有耦合剂喷水皮管,耦合剂喷水皮管的里端通入装置本体外壳设置,耦合剂喷水皮管的外端固定安装有压力控制开关阀,压力控制开关阀的外端固定连接有变径管,变径管的外端固定连接有水管,水管的直径小于耦合剂喷水皮管的直径,水管的外端固定连接有相控阵超声探头;通过打气棒增加装置本体外壳内的压力,加压后相控阵超声检测耦合剂水注入到相控阵超声探头与被检管道接触面,保证耦合良好,提高检测效率。

标签:
无损检测
广东 - 深圳 来源:中冶有色网 2023-03-19
非接触式胶丝检测系统
非接触式胶丝检测系统 1039     
 0

本实用新型涉及检测设备技术领域,公开了一种非接触式胶丝检测系统,包括机架和检测装置,第一导丝架设有两个且分别设置在机架的两端,第二导丝架设有两个且分别设置在两个第一导丝架的上方,第一导丝架上设有多个第一导向槽,第二导丝架上设有多个第二导向槽,在平行于Z轴的投影方向上,第一导向槽与第二导向槽相互交错布置;第一压丝辊设有两个且设置检测装置的前后两侧,并位于两个第一导丝架之间,第一压丝辊的安装高度等于或低于第一导丝架的安装高度;检测装置为非接触式光学直径测量仪,检测装置与胶丝的移动方向相对倾斜;采用本实用新型,能节约占用空间,整体结构简单,并能无损伤地测量胶丝直径且检测准确度高。

标签:
无损检测
广东 - 江门 来源:中冶有色网 2023-03-19
上一页 2039 2040 2041 2042 2043 ... 5000 ... 10000 ... 20000 ... 30000 ... 32465 下一页
共32465页    到第

中冶有色为您提供最新的有色金属技术理论与应用信息,包括矿山技术、冶金技术、材料制备及加工技术、环境保护技术和分析检测技术等有色技术信息。打造最具专业性的有色金属技术理论与应用平台!

全国热门有色金属设备推荐
展开更多 +
全国热门有色金属技术推荐
展开更多 +

 

江西省隆恩特环保设备有限公司
宣传

报名参会
更多+

2025年10月15日 ~ 17日
2025年10月17日 ~ 19日
2025年10月31日 ~ 11月02日
2025年11月07日 ~ 09日

报告下载

有色专家
更多+

武汉工程大学
教授
湖南科技大学
所长/教授
西安建筑科技大学
院长/教授
北京航空航天大学、中国工程院
院士
长沙有色冶金设计研究院有限公司
正高级工程师/中国铝业首席工程师/全国有色金属行业设计大师/国家注册采矿工程师
赤泥综合利用研究报告2025
推广

热门技术
更多+

推荐企业
更多+

福建省金龙稀土股份有限公司
宣传

发布

在线客服

公众号

电话

顶部
咨询电话:
010-88793500-807