青岛垚鑫智能科技有限公司
宣传

位置:中冶有色 >

有色技术频道 >

分类:
全部
矿山技术
冶金技术
材料制备及加工技术
环境保护技术
分析检测技术
地区:
全部
北京
天津
上海
重庆
河北
山西
辽宁
吉林
黑龙江
江苏
浙江
安徽
福建
江西
山东
河南
湖北
湖南
广东
海南
四川
贵州
云南
陕西
甘肃
青海
内蒙
广西
西藏
宁夏
新疆
其他
其他
展开
 
全部

有色金属技术理论与应用

免费发布技术信息>>
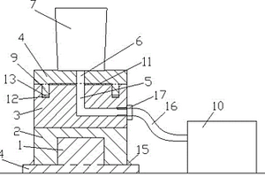
V型发动机缸体贴合度自动检测试验机

本发明涉及一种V型发动机缸体贴合度自动检测试验机,属于机械制造领域。包括缸体定位夹紧单元、翻转单元、测试单元、控制单元。缸体定位夹紧单元固定在翻转台上,翻转装置驱动翻转台左右翻转30°,并且使翻转台稳定保持在水平位置。翻转装置固定安装在所述试验台上。优点在于:整体结构紧凑、稳动,使用安全、可靠,刚性好,能够避免加工过程中的抖动问题。采用气动夹紧方式,提高装夹效率。一次装夹,缸体贴合度并排同时检测,提高型发动机缸体贴合度检测效率;贴合度检测采用无损检测技术,避免对缸体产生破坏报废,提高检测精度,降低检测成本。

标签:
无损检测
吉林 - 长春 来源:中冶有色网 2023-03-19
HPLC检测药品中乙二胺含量的方法

本发明具体涉及一种HPLC检测药品中乙二胺含量的方法,主要是将本身无紫外吸收的乙二胺通过衍生化反应得到具有紫外吸收的衍生产物来实现的。本发明采用高效液相色谱法检测乙二胺的含量,其检测结果精准,基线平整,峰形对称,稳定性高、重复性好、分离度高、检测限低、灵敏度高,且对仪器无损伤。

标签:
无损检测
四川 - 成都 来源:中冶有色网 2023-03-19
调频脉冲序列电磁涡流激励热波层析成像检测系统及方法

调频脉冲序列电磁涡流激励热波层析成像检测系统及方法,它涉及一种热波层析成像检测系统及方法。本发明所述检测系统包括计算机、第一USB数据线、函数发生器、第一BNC数据线、第二USB数据线、脉冲触发器、第三USB数据线、电磁涡流电源、电源线、电磁涡流线圈、二维移动台、焦平面红外热像仪、一维移动台、第二BNC数据线、以太网线和同步触发器。本发明属于导电材料缺陷、损伤的无损检测与评价领域。

标签:
无损检测
黑龙江 - 哈尔滨 来源:中冶有色网 2023-03-19
超声波快速检测制造过程中的锅筒内壁裂纹的方法

一种超声波快速检测制造过程中的锅筒内壁裂纹的方法,其包括步骤:S1:在锅筒内放置一超声波发射器并向四周发射超声波;S2:将所述锅筒按照结构分为若干个区分成多个区;S3:在各区沿所述锅筒的内径转动360度接受超声波;S4:用生产吊机将锅筒移走将锅筒移走开启按照步骤S3进行操作;S5:将所述步骤S3、S4中的各区相应的超声波接受器接受到的信号输入到信号分析仪中进行比对;根据信号的异同判断是否在有裂纹;S6:根据重合的时间点计算出现裂痕位置。本发明提供的超声波快速检测制造过程中的锅筒内壁裂纹的方法可以无损的精确检测出在造锅筒出现缝隙裂痕的地方,保证了制造过程中锅筒的安全使用,增加了在造锅筒的缺陷检测效率。

标签:
无损检测
安徽 - 马鞍山 来源:中冶有色网 2023-03-19
打码及码源检测与控制的方法及装置

本发明公开了一种打码及码源检测与控制的方法,在合法的节目上叠加一个对节目源没有损害的并且能检测到的标记信号,此过程即是对节目进行软件打码。本发明还开发了一种打码及码源检测与控制装置。本发明能高效、准确地实现网络广播电视播出安全,防患非法链接,可彻底杜绝非法节目错播造成的政治事故和重大事故;打码信号对节目可以是无损的,不会造成因为打码信号的存在,对节目信号的影响;可以有效防患网络界面上的弹窗现象,净化网络环境;硬件打码器解决传输过程的节目打码,简化打码过程,减少人为打码劳动;检测和控制软件自动运行,自主判断,无需人为干预,可有效预防人为过程的不可靠性和不安全性。

标签:
无损检测
安徽 - 合肥 来源:中冶有色网 2023-03-19
植物叶片含水量在线检测装置和方法

本发明公开了一种植物叶片含水量在线检测装置和方法。该装置包括检测箱、第一电极片、第二电极片、频率测量装置和计算机,检测箱内设有SAW谐振检测器和稳压电源,稳压电源与SAW谐振检测器的电源端电连接,SAW谐振检测器的两个检测端分别与第一电极片和第二电极片电连接,SAW谐振检测器的输出端与频率测量装置的输入端电连接,频率测量装置的输出端与计算机电连接。该方法通过SAW谐振检测器对待测植物叶片进行检测,SAW谐振检测器输出信号的频率经非线性随机共振处理后得到特征值M,将特征值代入含水量比例预测公式计算得到植物叶片含水量。本发明能够快速、准确、无损地在线检测出植物叶片的含水量。

标签:
无损检测
浙江 - 杭州 来源:中冶有色网 2023-03-19
高压开关设备中四氟化碳的在线检测装置

本发明公开了一种高压开关设备中四氟化碳的在线检测装置,包括安装于高压开关设备气源法兰盘处的法兰座、安装于所述法兰座外侧的气体红外检测变送器,气体红外检测变送器包括光源座、探测器座、安装于所述光源座安装孔的光源本体、安装于探测器座安装孔的探测器本体、安装于所述光源座和所述探测器座顶面的顶盖,以及分别安装于所述光源座和探测器座的光源窗口片和探测器窗口片,所述光源座、探测器座和顶盖之间构成气室,所述气室相对应的所述法兰座面积上设有气孔,光源窗口片位于所述光源本体的出射方向上,所述探测器窗口片位于探测器本体的前方。该高压开关设备中四氟化碳的在线检测装置可以无损在线检测CF4气体,保证电气设备质量。

标签:
无损检测
重庆 - 重庆 来源:中冶有色网 2023-03-19
多功能的充电器生产用检测设备

本实用新型公开了一种多功能的充电器生产用检测设备,包括检测架,所述检测架的上端外侧设置有两个旋转盘,所述检测架固定安装在底座上所述旋转盘上分布有多个放置机构,所述底座上端在检测架的下端通过支撑柱固定安装有输送装置,所述输送装置的中部外端在底座设置有金属探伤仪,所述金属探伤仪的右侧在底座上固定安装有推料机构,所述旋转盘的右侧在检测架安装有检测探头,所述检测架的两侧在相对应的旋转盘的下端固定安装有横板,所述横板上设置有收集箱,所述横板的相离一侧上端设置有竖板,本装置能够实现对充电器插座部分进行自动化外观和无损检测,且能将不良品和良品分开,大大提高了工作效率和实用性。

标签:
无损检测
广东 - 梅州 来源:中冶有色网 2023-03-19
在役受热面薄壁管超声检测标准试块

在役受热面薄壁管超声检测标准试块,包括试块本体,所述试块本体包括预设数量的弧面体结构和1个长方体结构,试块本体的材质与在役受热面薄壁管的材质相同,弧面体结构和长方体结构的上端面分别设置为上检测面,弧面体结构和长方体结构的下端面分别设置为下检测面;所述上检测面和下检测面上均设置有预设数量模拟裂纹缺陷的凹槽,所述凹槽分别设置在弧面体结构的上检测面和下检测面的弧面顶端,本实用新型能够对缺陷进行精确的定位及定量,避免了误判,提高了检测的精度和效率,降低了成本,满足了电力系统无损检测的需要。

标签:
无损检测
山东 - 济宁 来源:中冶有色网 2023-03-19
基于高光谱成像及电阻抗的玉米种子活力检测装置

本实用新型公开一种基于高光谱成像及电阻抗的玉米种子活力检测装置,包括:储存有待测玉米种子的料盒,该料盒的底部连接有一个或多个输出单粒种子的滑槽;安装有检测板的传送带,检测板上设有接纳滑槽输出的种子的检测孔,每个检测孔内设有电极对;与电极对连接的阻抗分析仪,用于通过电极向种子施加激励电流,根据电极对间的电阻抗数据;安装在传送带上方的高光谱成像装置,用于对检测孔内的玉米种子进行实时成像;计算机,用于对电阻抗数据和高光谱数据进行综合分析,对玉米种子活力进行分级;位于传送带一端的收集容器,内设有至少两个容纳槽,用于接受不同活力等级的玉米种子。本实用新型具有无损、自动化程度高、检测快速、筛选高效等优点。

标签:
无损检测
浙江 - 杭州 来源:中冶有色网 2023-03-19
超声波检测系统及水浸式探伤方法

本申请涉及一种超声波检测系统及水浸式探伤方法,属于无损探伤检测的技术领域,其中,一种超声波检测系统包括超声波检测主体、设在超声波检测主体上的水槽箱、设在超声波检测主体上的变角度调节超声探头装置和设在水槽箱内的工件放置台;所述变角度调节超声探头装置位于工件放置台的上方;所述变角度调节超声探头装置包括安装在超声波检测主体上的移动组件、设在移动组件上的安装板、与安装板固定连接的机械手和设在机械手上的用于产生变角度超声波射入到工件表面的第一探头。本申请能使弧形件或具有弧面的工件中的人工缺陷更易被检出。

标签:
无损检测
北京 - 北京 来源:中冶有色网 2023-03-19
核电汽轮机枞树型叶片根部超声相控阵检测方法

本发明属于核电站汽轮机设备无损检测技术领域,具体涉及一种核电汽轮机枞树型叶片根部超声相控阵检测方法,目的是针对在不拆卸核电汽轮机低压转子的叶片的状态下,采用超声相控阵检测技术,克服常规超声检测因叶片之间间距狭小、叶根结构复杂、信号识别困难等不足,通过四种扫查方式交叉扫查,实现叶片第一齿根全体积覆盖和第二、三齿根部分覆盖,并对缺陷进行准确定量,以防止汽轮机叶片叶根断裂事故的发生。其特征在于:它包括系统标定、开始检测和显示的判断与定量的步骤。本发明具有无需拆装叶片实施超声检测,缩短检修时间;四种扫查方式交叉扫查、相互补充,实现对枞树型叶根第一齿根部位的全体积覆盖检测;可以实现扇形扫查和深度聚焦。

标签:
无损检测
浙江 - 嘉兴 来源:中冶有色网 2023-03-19
工作叶片检测定位装置及定位方法

本发明涉及航空发动机叶片无损检测技术领域,具体为一种用于工作叶片检测装置及定位方法。本发明工作叶片检测定位装置包括L形底座(1)、榫头定位座(2)、叶身定位座(3)、虎钳夹具(6)。本发明根据工作叶片发动机坐标系,利用榫头定位座(2)、叶身定位座(3)确定工作叶片的6个定位点,构建工作叶片坐标系,然后用虎钳夹具(6)夹持工作叶片榫头,并移出榫头定位座(2)、叶身定位座(3)所在的位置,同时移出过程保持工作叶片原有坐标系。所述夹持有工作叶片的虎钳夹具(6)作为整体用于后续CT扫描检测,满足叶片夹具对叶片工业CT扫描无遮挡的要求,该夹具操作简便、稳定性强、检测精度高,具有广泛的适用性。

标签:
无损检测
北京 - 北京 来源:中冶有色网 2023-03-19
用于超声导波检测焊缝的收发一体式阵列传感器的设计

本发明公开了一种用于超声导波检测焊缝的收发一体式阵列传感器及其检测方法,属于无损检测技术领域。具体涉及一种采用超声导波对接焊缝缺陷检测的收发一体式阵列传感器的设计,由聚酰亚胺薄膜,镀铜电极,和单位压电晶片组成,所述聚酰亚胺薄膜分割成多个并排的区域,每一个区域上均表贴两个有一定间隔且相对放置的T型镀铜电极,单位压电晶片电极两端分处在所述两个相对放置的T型镀铜电极之上。仅需一个传感器就可以完成全部的检测过程,同时可以随意设定接收和发射晶片组合,方便不同位置晶片发射出信号和所接收到信号的比较,方便实验,利于操作。

标签:
无损检测
江苏 - 镇江 来源:中冶有色网 2023-03-19
基于傅立叶变换近红外光谱分析技术的药品检测系统

本发明属于红外光谱检测技术领域,特别涉及一种基于傅立叶变换近红外光谱分析技术的药品检测系统,包括光源,光源射出的红外干涉光经过第一光纤耦合器入射至第一光纤中,从第一光纤的探头中射出的光线照射在待检测药品上,待检测药品漫反射或透射的光线被第二光纤的探头接收后依次经过第二光纤、第二光纤耦合器入射到检测单元上,检测单元将接收到的光信号转换成电信号后输出至处理单元,处理单元进行傅立叶逆变换处理后得到含有药品成分信息的红外光谱图。利用傅立叶变换近红外检测技术,高效地测量不同性质的药品,减少检测时间和降低操作难度,根据实际药品的物理状态,使用漫反射光纤探头或透射光纤探头检测药品,适合制药过程的分析和药品的无损快速检测。

标签:
无损检测
安徽 - 合肥 来源:中冶有色网 2023-03-19
汽车座椅电机检测系统
汽车座椅电机检测系统 1029     
 0

本实用新型提供了一种汽车座椅电机检测系统,其包括:一电源回路以及相互并联地连接于所述电源回路中的待检电机与信号处理电路;所述电源回路包括用于接入检测电源的电源接口,以及依次串接于所述电源接口的压敏电阻、极性保护器和电流保护器;所述信号处理电路包括一检测信号接口,所述信号处理电路通过所述检测信号接口连接于所述待检电机。本实用新型针对汽车座椅电机的霍尔信号进行检测,过程包括对输入的监测电源的处理,以确保对电机无损、对外部复杂环境中电磁干扰的处理、以及对电机霍尔信号的处理及结果传输。

标签:
无损检测
山东 - 烟台 来源:中冶有色网 2023-03-19
晶片阵列角度可调式相控阵超声波探头及其组装和检测方法

本发明公开了一种晶片阵列角度可调式相控阵超声波探头及其组装和检测方法,所述探头包括探头基体和楔块,所述探头基体包括探头外壳、锁止装置、晶片阵列模块、连接轴、耦合剂导管和探头线缆;所述探头外壳用于安装晶片阵列模块;所述楔块整体为梯形体,下部加工成为曲面,其曲率与被检管道曲率相匹配;所述探头基体和楔块通过连接螺钉连接。本发明与相控阵超声波检测仪配合使用可快捷、高效地对中小径管道焊接接头内部质量进行无损检测,尤其适用于奥体不锈钢小径管焊接接头相控阵检测。本发明设有超声波耦合剂导流通道,探头移动时耦合剂可连续、精准地供给到工件与探头之间的检测面,耦合剂用量小、均匀性好。

标签:
无损检测
山东 - 济南 来源:中冶有色网 2023-03-19
基于GaAs双层像增强器的近红外波段远程拉曼检测仪

本实用新型提供了一种基于GaAs双层像增强器的近红外波段远程拉曼检测仪,主要包括785nm纳秒脉冲激光器、窄带滤光片、收集物镜、光栅光谱仪、GaAs像增强器、门控模块、时序模块、耦合透镜和CCD探测器。本实用新型是一种近红外波段的远程拉曼检测技术,在农业、烟草、食品、医药、刑侦、海关、安检、血液检测等应用中具有探测距离远、无损探测、非接触测量、灵敏度高、荧光干扰小、信噪比高等优势。

标签:
无损检测
陕西 - 西安 来源:中冶有色网 2023-03-19
管座角焊缝磁性检测的快速扫查装置

一种管座角焊缝磁性检测的快速扫查装置,包括固定于管体外表面周圈的固定装置,固定装置外表面中部区域开有凹槽,凹槽内放置有能够绕固定装置滑动的滑动装置,滑动装置的侧部固定有连接杆,连接杆外端通过手拧螺丝连接吊杆,吊杆在平行于管道轴线的平面内能进行角度调节,以及在管道轴线方向能进行伸缩,吊杆的下端固定有探头固定装置,探头固定装置在平行于管道轴线的平面内能进行角度调节,探头固定装置下端固定有测磁传感器,测磁传感器正对管座角焊缝实现磁性检测,测磁传感器通过数据连接线连接工控机;本实用新型装置可以使传感器在焊缝表面匀速稳定的旋转从而进行无损检测,同时可以克服磁性检测方法直接在焊缝表面移动扫查时的不利因素。

标签:
无损检测
陕西 - 西安 来源:中冶有色网 2023-03-19
用于航天器推进剂加注的小管径气流两相流的检测装置

本发明公开了一种用于航天器推进剂加注的小管径气流两相流的检测装置,该检测装置包括有分流器、起旋器、气泡检测器、切向导管、管接头和超声波探头。切向导管连接在分流器与起旋器上,起旋器与气泡检测器之间连接有管接头,超声波探头安装在气泡检测器上。本发明检测装置利用超声波信号检测气液两相流中气泡大小、数目以及气液两相流流量,属于无损检测设备。其外形小巧,结构紧凑,是专为检测航天器推进剂加注管道中的气液两相流而设计的。

标签:
无损检测
北京 - 北京 来源:中冶有色网 2023-03-19
工业级的超声自动扫描成像检测设备

本发明属于无损检测技术,涉及一种用于航空、航天、电子、兵器、船舶、冶金、钢铁、交通、建筑等领域中复合材料及金属材料大型结构的工业级的超声自动化扫描成像检测设备。检测设备包括超声自动扫描系统、超声自动扫描控制与成像系统和多通道超声系统。本发明设计采用多轴并行数控上浮式超静稳扫描机构和超声柔性自适应跟踪阵列声学扫描技术,极大地提高了大型结构的超声自动化扫描成像检测效率和成像质量,可实现不同规格大型复合材料等结构的工业级高效超声自动扫描成像检测,检测分辨率和表面盲区达0.13mm,在20通道检测时,比手工扫查检测效率至少提高50倍,比传统单通道超声自动扫描检测提高20倍。

标签:
无损检测
北京 - 北京 来源:中冶有色网 2023-03-19
钢丝绳涡流热成像缺陷检测装置

本实用新型公开了一种钢丝绳涡流热成像缺陷检测装置,涉及钢丝绳无损检测技术领域,提出的钢丝绳涡流热成像缺陷检测装置,基于涡流热成像法进行钢丝绳的热成像,响应速度快,可以对快速运动的钢丝绳进行在线检测;在获取钢丝绳的热图像数据时,不用与钢丝绳接触,无需耦合剂,受外来因素的影响很小;传统的钢丝绳检测难以准确的判断缺陷形位信息,本方案通过钢丝绳温度分布模型图能够准确的表征缺陷部位的形状信息和位置信息。

标签:
无损检测
四川 - 成都 来源:中冶有色网 2023-03-19
高温管道射线检测隔热层结构

本实用新型是对高温、高压金属管的一种无损检测方法及其装置,一种高温管道射线检测隔热层结构,在进行高温射线检测所用的胶片(2)与高温管道(1)的管壁之间增加柔性的隔热层(3),其特征在于所述隔热层(3)自靠近高温管道(1)的管壁向外,依次的五层:内保护层(3a)为聚酯纤维非纺织布压膜;粘合胶水层(3b)为耐高温硅胶;阻热层(3c)为玻璃纤维毛毡内衬;粘合胶水层(3d)为耐高温硅胶;外面保护层(3e)为聚酯纤维非纺织布压膜;采用本技术方案,在应用射线检测方法时不必再将高温管道进行预先降温,节约了降温的时间,提高了工作效率。取消了为检测特别的降温工序,也节约了能源,有极大的经济和社会效益。

标签:
无损检测
上海 - 上海 来源:中冶有色网 2023-03-19
除水垢着色渗透检测剂及其制备方法

本发明一种除水垢着色渗透检测剂,属于一种以毛细作用原理为基础的检查表面开口缺陷的无损检测方法技术领域。检测剂由苏丹红IV、奈、航空煤油、吐温-60、三乙醇胺油酸皂、二甲基奈和磷酸组成;苏丹红IV、奈和磷酸与除水垢着色渗透检测剂之间的质量体积比分别为1g/100ml、1g/100ml和0.8g/100ml;航空煤油、吐温-60、三乙醇胺油酸皂和二甲基奈在除水垢着色渗透检测剂中的体积百分比分别为65%、10%、10%和15%。本发明具有提高了锅炉汽包渗透检测的灵敏度,确保了锅炉安全运行的可靠性,延长锅炉使用寿命,减少锅炉检修工作量,节约检修资金的优点。

标签:
无损检测
甘肃 - 酒泉 来源:中冶有色网 2023-03-19
坩埚检测用辅助固定装置

本实用新型公开了一种坩埚检测用辅助固定装置,包括支撑柱、套设在支撑柱上的旋转座、连接在旋转座顶部的负压吸附座和插设在负压吸附座顶部的初定位台;所述负压吸附座内开设有与真空泵的抽气嘴连通的负压抽气通道,所述初定位台上开设有与所述负压抽气通道连通的竖向通孔;所述初定位台的上表面开设有用于初定位坩埚的凹槽,凹槽、竖向通孔和初定位台均同轴布设。本实用新型通过设置真空泵吸附坩埚,对坩埚的外表面不会造成损伤,能够实现无损检测,使坩埚在一次固定后可检测的侧壁面积极大,避免坩埚的频繁安拆,且通过设置旋转座控制坩埚旋转,使检测人员无需频繁移动检测方位,使检测点更加均匀,从而使检测结果更加可靠。

标签:
无损检测
陕西 - 西安 来源:中冶有色网 2023-03-19
用于焊缝检测设备的防脱落结构

本实用新型涉及核电站无损检验领域,具体涉及一种用于大直径马鞍面焊缝检测设备的防脱落结构。由于马鞍面接缝需要磁吸爬行小车带探头进行检测,磁吸爬行小车存在脱落的风险;在运动的时候,由于运动距离不均匀,还存在检测不准确的风险。本装置包括:连接带、拉紧带、铰接块、配重小车、磁吸附小车。所述的连接带与铰接块分段铰接,形成若干弧形连接段,构成开口环状结构;配重小车两端与铰接块相连,位于环状结构的中间位置;开口环状机构的两端连接带各铰接一个拉紧带。本实用新型避免检测设备在围绕水平接管的外圆作圆周爬行运动时出现坠落情况;对设备的自重进行平衡,减少设备从水平接管圆周高处向低处运动时重力对设备运动控制的不利影响。

标签:
无损检测
湖北 - 武汉 来源:中冶有色网 2023-03-19
用于建筑幕墙检测的毫米波近场高精度三维成像方法

本发明提供一种用于建筑幕墙检测的毫米波近场高精度三维成像方法,包括如下步骤:布置检测所需软硬件条件,设置毫米波雷达设备参数;通过机械运动设备实现毫米波雷达设备对既有建筑幕墙实体进行全面扫描检测;将接收到的包含幅值、相位信息的反射信号及设备定位及姿态信息通过有线或无线网络传输方式实时上传至上位机;上位机调用修正BP算法将反射回波信号转化为成像图。本发明采用毫米波,具有较好的穿透特性,实现无损检测,并且由于非电离的特性,不会对人体造成伤害;可以重建出三维层析图像,同时提高了重建图形的精度,修正了自由空间重建算法的误差,实现了对传统玻璃、石材等幕墙后的金属连接件的三维成像。

标签:
无损检测
广东 - 深圳 来源:中冶有色网 2023-03-19
组件锆条厚度检测系统
组件锆条厚度检测系统 1054     
 0

本发明公开了一种组件锆条厚度检测系统,以计算机软件为核心,通过运动控制卡控制底座平台上的二维传动装置,带动超声波探头在水槽内的工件上方做扫查运动,通过超声波探伤仪获取超声波探头所获取的数据。该系统以计算机软件为媒介,对运动控制系统和数据采集系统进行协调使用,通过伺服电机构建高精度运动系统,满足组件锆条厚度位置的高精度定位,通过超声波检测系统,满足对组件锆条无损厚度检测,并把检测结果通过计算机软件进行展示和存储。

标签:
无损检测
四川 - 成都 来源:中冶有色网 2023-03-19
大尺寸硅单晶片表面有机物沾污的红外镜反射检测方法

本发明公开了一种大尺寸硅单晶片表面有机物沾污的红外镜反射检测方法。本发明使用傅立叶变换红外光谱仪对300mm大尺寸硅单晶片进行表面检测,将经碱性抛光液处理后的300mm大尺寸硅单晶片作为样品放入镜反射附件样品台,对样品进行红外扫描,得到镜反射红外光谱图,与表面洁净的硅单晶片红外反射图谱进行对比,根据图谱峰出现的位置,在波数为3400cm-1-2800cm-1和1700cm-1-1460cm-1位置处出现强吸收,表明硅单晶片表面含有抛光液残留。本发明方法在整个检测过程中不需要对样品进行任何处理,对样品不会造成任何损坏,是一种先进的无损检测方法。

标签:
无损检测
天津 - 天津 来源:中冶有色网 2023-03-19
离合式盘件超声相控阵自动成像检测装置和方法

本发明公开了一种离合式盘件超声相控阵自动成像检测装置和方法,属于无损检测技术领域,包括超声检测仪、运动控制装置、计算机和支撑框架,支撑框架上开设有两个滑槽,支撑框架上设置有探头,支撑框架上设置有两组夹持机构,两组夹持机构与探头相连,支撑框架上设置有被检盘件,支撑框架上开设有半圆形凹槽,本发明采用了立式设计,有效适用于双探头一发一收检测方案,同时充分考虑了超声相控阵检测技术特点,满足焊接式整体叶盘焊缝区域的高灵敏度超声检测需求,该方法在实际检测工作中取得了较好的效果,可实现整体叶盘焊缝区域的超声相控阵快速成像检测。

标签:
无损检测
北京 - 北京 来源:中冶有色网 2023-03-19
上一页 2038 2039 2040 2041 2042 ... 5000 ... 10000 ... 20000 ... 30000 ... 32465 下一页
共32465页    到第

中冶有色为您提供最新的有色金属技术理论与应用信息,包括矿山技术、冶金技术、材料制备及加工技术、环境保护技术和分析检测技术等有色技术信息。打造最具专业性的有色金属技术理论与应用平台!

全国热门有色金属设备推荐
展开更多 +
全国热门有色金属技术推荐
展开更多 +

 

江西省隆恩特环保设备有限公司
宣传

报名参会
更多+

2025年10月15日 ~ 17日
2025年10月17日 ~ 19日
2025年10月31日 ~ 11月02日
2025年11月07日 ~ 09日

报告下载

有色专家
更多+

郑州大学
中国工程院 院士
郑州大学
副院长/教授
中南大学
中国工程院 院士
昆明理工大学
教授
任灵宝金源矿业股份有限公司
技术发展部经理
赤泥综合利用研究报告2025
推广

热门技术
更多+

推荐企业
更多+

福建省金龙稀土股份有限公司
宣传

发布

在线客服

公众号

电话

顶部
咨询电话:
010-88793500-807