青岛垚鑫智能科技有限公司
宣传

位置:中冶有色 >

有色技术频道 >

分类:
全部
矿山技术
冶金技术
材料制备及加工技术
环境保护技术
分析检测技术
地区:
全部
北京
天津
上海
重庆
河北
山西
辽宁
吉林
黑龙江
江苏
浙江
安徽
福建
江西
山东
河南
湖北
湖南
广东
海南
四川
贵州
云南
陕西
甘肃
青海
内蒙
广西
西藏
宁夏
新疆
其他
其他
展开
 
全部
武汉
黄石
十堰
宜昌
襄阳
鄂州
荆门
孝感
荆州
黄冈
咸宁
随州
恩施土家族苗族自治州
仙桃
潜江
天门

湖北有色金属理论与应用

免费发布技术信息>>
锂电池入壳装置
锂电池入壳装置 743     
 0

一种锂电池入壳装置,其结构包括升降装置、横杆、电池夹具、软垫层、固定板、压力传感器、动力机构,固定板与软垫层活动连接,软垫层设在固定板的上面,固定板通过压力传感器与动力机构相连接,压力传感器设于固定板与动力机构的中间,固定板的顶部与升降装置固定连接,升降装置与固定板活动连接,升降装置连接于横杆,横杆与升降装置相互垂直,横杆与软垫层相互平行,横杆上设有电池夹具,电池夹具设在横杆的底部。其中,该入壳装置采用滑轨式升降装置,能够使电池夹具在支架上上下移动,移动不阻碍,大大提高了工作效率。

标签:
加工技术
湖北 - 荆门 来源:中冶有色网 2023-03-18
锂电池滚槽装置
锂电池滚槽装置 860     
 0

一种锂电池滚槽装置,包括操控箱、固定机座消音器和机箱,所述操控箱的外表面固定安装有工作指示灯,且工作指示灯的一侧设有电子显示计,所述电子显示计的底部固定安装有滚槽开关。其设有消音器、电子显示计和红外测距仪,能够吸收装置产生的噪音,减小装置对周围环境的噪音污染,为工作人员营造一个舒适的工作环境,并能显示滚槽过程中的电池数量,便于人们对生产过程的统计计算,还可以在滚槽过程中,对电池的位置进行精确测距,便于人们进行位置调整,这样可以提高生产过程的精准度,提高产品的质量,适用不同工作状况,带来更好的使用前景。

标签:
加工技术
湖北 - 荆门 来源:中冶有色网 2023-03-18
混动汽车用锂离子电池工作健康状态检测方法

本发明公开一种混动汽车用锂离子电池工作健康状态检测方法,该方法包括以下步骤:S1:确定电池工作健康状态参数以及影响参数;S2:按照采样周期采集车辆行驶状态、路面平整度、电池剩余SOC值,确定电池理想工作功率;S3:按照采样周期同时采集环境温度、电池温度和电池的实际工作功率,并确定电池的工作健康状态系数S;S4:根据工作健康状态系数确定电池工作健康状态。本发明通过综合多方面因素,并根据电池实际工作功率和理想工作功率以及电池的工作温度,能够确定电池的工作健康状态系数,更加准确反应电池的实际状态,具有美好的应用前景。

标签:
加工技术
湖北 - 武汉 来源:中冶有色网 2023-03-18
铬掺杂的镍钴锰锂离子电池正极材料及其制备方法

本发明公开了一种铬掺杂的镍钴锰锂离子电池正极材料,其分子式为LiaNixCoyMnzCrbO2;本发明还公开了该正极材料的制备方法。本发明通过将镍钴锰单晶复合前驱体和纳米级铬的氧化物进行超高速预混合,再将镍钴锰单晶复合前驱体和纳米级铬的氧化物的混合料与普通镍钴锰多晶复合前驱体高速混合,提高混合效果,因为单晶复合前驱体机械强度高,可以采用超高速混合而不至于破碎,同时单晶复合前驱体可以起到碰撞介质的作用,将纳米级铬的氧化物充分打散,使掺杂元素和主元素充分混合。

标签:
加工技术
湖北 - 荆门 来源:中冶有色网 2023-03-18
方形锂电池模组等效建模及参数反求方法

本发明涉及一种方形锂电池模组等效建模及参数反求方法,包括步骤1确定等效模组建模方式;步骤2建立半均质和均质化等效模组模型;步骤3对精细化电池模组进行挤压冲击仿真模拟,记录载荷‑位移数据;步骤4对等效模组施加与相同的外载和边界,输出载荷‑位移数据,定义参数为应力缩放系数和外壳厚度;步骤5通过比较精细化模组与等效模组载荷‑位移曲线,将均方误差值作为目标函数,构成反问题模型;步骤6选取合适的代理模型及优化算法使目标函数达到最小值,取目标函数最小时应力缩放系数和模组外壳厚度的值。本发明提出了采用参数反求的方式对电池模组进行简化等效建模,为平衡仿真模型开发计算精度和效率问题提供了选择。

标签:
加工技术
湖北 - 武汉 来源:中冶有色网 2023-03-18
Na离子与非金属共掺杂碳纳米管的制备方法及锂离子电池

本发明提出了一种Na离子与非金属共掺杂碳纳米管的制备方法及锂离子电池,通过Na离子掺杂,其半径小、掺杂位阻小,掺杂量大;非金属原子可进入石墨片层,对碳纳米管起活化分散作用;通过Na离子与非金属共掺杂,使碳纳米管表面活性反应位点增多,可在电池活性材料中构建稳定的导电网络,有利于电池材料性能发挥;本专利所制备的Na离子与非金属共掺杂碳纳米管,由于结构中其他原子的引入,增强了与电池活性材料的表面接触,提高了匀浆后浆料的稳定性;同时,掺杂后的Na离子与非金属共掺杂碳纳米管由于同时引入Na离子和非金属原子,碳纳米管间团聚情况缓解,提高了碳纳米管在溶剂中的分散性。

标签:
加工技术
湖北 - 武汉 来源:中冶有色网 2023-03-18
锂电池隔膜拉伸机防褶皱夹具

本发明公开了一种锂电池隔膜拉伸机防褶皱夹具,包括底座,所述底座上表面固定连接有两个第一板件,所述底座上表面固定连接有涡流管,所述涡流管的两个输出端分别固定连接有冷气管、热气管,两个所述第一板件之间设置有展平机构;所述展平机构包括两个第一滑块,所述第一滑块与对应的第一板件滑动连接,所述第一滑块贯穿滑动连接有若干第六杆件。优点在于:本发明在隔膜进入拉伸机前,对膜边进行展平,通过展平滚轮拉扯膜料两边,展平膜面,解决有折现象,使得拉伸折皱明显降低,提高收得率,同时可以在拉伸前对隔膜进行预热,避免温度较低的隔膜拉伸将隔膜撕破,且可以自动对隔膜表面进行除尘,避免后续人工操作,大大降低劳动强度。

标签:
加工技术
湖北 - 襄阳 来源:中冶有色网 2023-03-18
适用于涂布工艺的锂锰正极浆料及其制备方法

适用于涂布工艺的锂锰正极浆料,它由如下组份组成,各成分在总量中的重量百分比为:电解二氧化锰:43-48%,导电炭黑:1-2%,胶体石墨1-2%,羧甲基纤维素钠:0.5-1%,丁苯橡胶乳液:2-3%,去离子水:45-50%?。本发明相对于PTFE(聚四氟乙烯树脂)粘结剂体系的常规配方而言主要解决了如下问题:①浆料不易出现固液分层现象;②浆料与铝箔基体结合牢固,制作出来的正极片不易掉粉;③配方中溶剂为去离子水,未用到昂贵的有机溶剂,有效降低了生产成本。本发明还同时公布了这种正极浆料的制备方法。

标签:
加工技术
湖北 - 武汉 来源:中冶有色网 2023-03-18
锂离子电池电极活性物质前驱体碳酸锰镍

本发明公开了一种锂离子电池电极活性物质前驱体碳酸锰镍,步骤是:A、将镍离子、锰离子摩尔比、摩尔数的二价镍盐和摩尔数的二价锰盐的混合物,用水溶解,配成A溶液;将摩尔量为上述二价镍盐和二价锰盐镍锰摩尔数总量的碳酸盐沉淀剂、及表面活性剂的混合物,分别依次加入水、助剂和溶剂,搅拌至碳酸盐沉淀剂及表面活性剂溶解,无固体沉淀、溶液透明,配成B溶液;B、在不断搅拌B溶液情况下,将A溶液注入B溶液,继续搅拌;C、将B步反应混合物离心分离,用水洗涤至无硫酸根或者碳酸根检出或洗出液、抽滤,干燥,得到碳酸锰镍前驱体。该材料形貌规则、粒径均一,合成原料丰富、低廉;合成步骤简便、设备简单、条件易控、反应时间短。

标签:
加工技术
湖北 - 孝感 来源:中冶有色网 2023-03-18
解决钛酸锂电池胀气失效的方法

一种解决钛酸锂电池胀气失效的方法,包括化成工艺和陈化工艺,化成工艺先依次以0.01C~0.1C电流恒流充电2~20h、以0.1C~0.2C电流恒流充电1~7h、以0.2C~0.5C电流恒流充电0.5~1h,再以0.5C~1C电流恒流放电3h,然后以0.5C恒流恒压充电3h、放电3h,并循环3~6次,最后以1C恒流恒压充电2h、放电2h,并循环3~6次即可。该设计不仅可防止电池胀气、提升电池放电功率、实现快速充电能力以及良好的使用寿命,而且不良品产生几率低、加工周期短。

标签:
加工技术
湖北 - 武汉 来源:中冶有色网 2023-03-18
锂电池隔离膜的涂布系统及涂布方法

本发明公开了一种锂电池隔离膜的涂布系统及涂布方法,该方法包括:配置涂布所需的纺丝原液,并将纺丝原液置于供液料槽中;将隔离膜放置于静电纺丝装置中;采用静电纺丝的方法对隔离膜的表面进行连续喷丝涂布,以得到厚度可控的纤维丝涂层作为隔离膜的功能涂层。通过上述方式,本发明能以简单的工艺方法在隔离膜表面制备出有均匀孔隙的功能涂层。

标签:
加工技术
湖北 - 武汉 来源:中冶有色网 2023-03-18
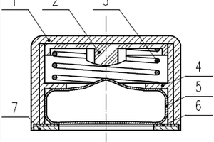
贮备式锂-亚硫酰氯电池的激活机构

本发明公开了一种贮备式锂‑亚硫酰氯电池的激活机构,包括底部开口的罐体以及安放在罐体内的中隔板,所述的罐体底部固定有支撑环,中隔板将罐体分成上下两个腔体,上部腔体内装配有质量块以及位于质量块下方的弹簧,所述的弹簧将质量块压缩于上部腔体内,下部腔体内设置有安瓿瓶,安瓿瓶与支撑环之间设置有缓冲垫,支撑环将缓冲垫压于安瓿瓶底部并固定,安瓿瓶内密封电解液;在发射过载下,质量块压缩弹簧向安瓿瓶方向运动并将其撞破,释放电解液激活电池工作;而在勤务处理过程中,质量块压缩弹簧运动距离不足以接触安瓿瓶,可保证电池不会误激活。

标签:
加工技术
湖北 - 武汉 来源:中冶有色网 2023-03-18
聚合物涂层隔膜和锂离子电池

本申请公开了一种聚合物涂层隔膜和锂离子电池。本申请的聚合物涂层隔膜,包括基膜和涂覆在基膜至少一个表面的聚合物涂层,其中,聚合物涂层为规则的点状阵列的非全覆盖涂层,并且,沿基膜的纵向和横向分别设计有没有涂层的留白区域。本申请的聚合物涂层隔膜,通过特殊设计的涂层结构,提高了聚合物涂层隔膜吸收电解液的速度和吸收量,提高了电解液浸润性,降低了聚合物涂层对隔膜透气性的影响,提高了聚合物涂层隔膜的透气性和离子电导率。因此,使用本申请的聚合物涂层隔膜,能够提高电池的循环和倍率性能,延长电池使用寿命。

标签:
加工技术
湖北 - 武汉 来源:中冶有色网 2023-03-18
污泥/生物质共热解焦炭包覆磷酸铁锂的正极材料及其制备方法和应用

本发明公开了一种污泥/生物质共热解焦炭包覆磷酸铁锂的正极材料及其制备方法和应用。所述方法包括以下步骤:1)将污泥和生物质干燥后混合,在通入保护性气体的条件下进行热解炭化,酸洗,得到污泥/生物质共热解焦炭;2)采用所述的污泥/生物质共热解焦炭和LiFePO4前驱体溶液制成溶胶,干燥后煅烧,得到污泥/生物质共热解焦炭包覆的正极材料。本发明的方法可以使污泥/生物质共热解焦炭包覆LiFePO4后大幅提高正极材料的导电性和离子扩散速率,可实现快速充放电,改善极化现象,所得电池具有优异的倍率性能和循环性能。

标签:
加工技术
湖北 - 荆门 来源:中冶有色网 2023-03-18
锂电池正极材料的回收装置

本实用新型涉及回收设备领域,公开了一种锂电池正极材料的回收装置,包括底座,所述底座的顶部内壁滑动安装有支撑框,支撑框的顶部固定安装有破碎筒,破碎筒的内部转动安装有转轴,转轴的外侧固定安装有多个第一横杆,第一横杆的外侧固定安装有多个破碎刀片,支撑框的外侧转动安装有竖直轴与连接轴,竖直轴的顶端与转轴的外侧底部均固定安装有链轮,两个链轮上传动连接有同一个链条,支撑框的内壁上转动安装有蜗杆,连接轴的外侧固定安装有蜗轮,所述蜗杆与蜗轮相互啮合。本实用新型具有以下优点和效果:本实用新型通过设置的转轴,转轴的转动带动多个破碎刀片进行转动,能够对材料进行破碎处理,提高破碎效率。

标签:
加工技术
湖北 - 十堰 来源:中冶有色网 2023-03-18
锂电池极片上料装置
锂电池极片上料装置 958     
 0

本实用新型提出了一种锂电池极片上料装置,包括用于叠放极片的载料装置,载料装置包括安装板、升料组件及限位组件,其中,升料组件包括承载板及顶升气缸,顶升气缸用于驱动承载板相对于安装板上下移动;限位组件,围合在承载板四周,包括第一限位装置及第二限位装置,第一限位装置对称设置有两组,分别位于承载板一组对边两侧的安装板上,第二限位装置对称设置有两组,分别位于承载板另一组对边两侧的安装板;还包括夹紧组件,夹紧组件对称设置有两组,分别位于第一限位装置上,两组夹紧组件相互配合以对承载板上除最顶面极片以下的极片进行水平夹持。本实用新型可以避免取料机构一次抓取多个极片问题的出现,使得叠片作业顺利进行,提高了工作效率。

标签:
加工技术
湖北 - 武汉 来源:中冶有色网 2023-03-18
锂离子电池密封钉结构

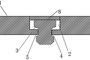
本实用新型采用的技术方案是:一种锂离子电池密封钉结构,包括顶盖和塑胶密封钉;其中顶盖设置于电芯表面;顶盖上设置有注液口;塑胶密封钉卡设于注液口内部,塑胶密封钉的外壁与注液口的内壁之间存在用于电芯内的氦气抽离的间隙;所述注液口在远离电芯的端口内设置有金属密封钉;所述金属密封钉的边缘与注液口的远离电芯的端口边缘焊接。本实用新型有效解决当前铝壳动力电池氦检失效问题。

标签:
加工技术
湖北 - 武汉 来源:中冶有色网 2023-03-18
锂电池储能系统电池簇动力线接线组件

本实用新型提出了一种锂电池储能系统电池簇动力线接线组件,电池箱之间通过两动力线的插接连接件插接并电性连接,可以减少导电排与动力连接器的设置,减少接触电阻,降低系统中由接触电阻造成的热损失和电流损耗;设置OT端子,配合螺栓紧固连接在端板顶部,能快速实现稳定的电性连接;电池箱四面敞开,便于散热,配合接线面板上开设的过线槽,便于穿线和后期维护;高压箱及电池箱在机架上的摆放,便于就近通过动力线连接,也便于后期检修和维护。

标签:
加工技术
湖北 - 武汉 来源:中冶有色网 2023-03-18
方形锂电池焊缝耐压测试工装

本实用新型提供了一种方形锂电池焊缝耐压测试工装,包括待测电芯、第一仿形压块、升降组件、第二仿形压块、充气组件和抵紧组件;待测电芯上设置有加压孔,该加压孔设置在待测电芯一沿着水平长度延伸方向的侧表面上,加压孔处可拆卸的设置有封堵件;升降组件设置在第一仿形压块的正上方,升降组件靠近地面的一端设置有第二仿形压块,升降组件驱动第二仿形压块抵持在待测电芯开设加压孔的表面上;第二仿形压块上设置有贯通的第一通孔,充气组件固定设置在第一通孔内,充气组件还与气源连通;抵紧组件水平的设置在第一仿形压块的一侧,且抵紧组件正对待测电芯的顶盖设置,抵紧组件抵紧在顶盖的防爆阀的外表面上。

标签:
加工技术
湖北 - 武汉 来源:中冶有色网 2023-03-18
锂电池充电宝侧边框加工工装

本实用新型提供了一种锂电池充电宝侧边框加工工装,包括底板、竖直固定连接在底板顶面的安装板和固定连接在安装板侧面顶部用于放置侧边框的固定块,固定块顶部固定连接有两个固定凸起,固定凸起与侧边框的USB孔的大小相等且位置对应,固定块的顶部开设有加工腔,加工腔位置与侧边框的条形孔对应,固定块的长度与侧边框内部宽度相等,固定凸起至安装板侧壁的最短距离等于侧边框中USB孔至边框外壁的距离。本实用新型解决了现有技术中存在的侧边框开口时夹持不稳定的问题,产生了提高侧边框的加工效率的效果。

标签:
加工技术
湖北 - 宜昌 来源:中冶有色网 2023-03-18
锂电池的负极材料及其生产方法

本发明涉及一种锂电池的负极材料及其生产方法,其特征在于包括活性物质亚氧化钛、纳米球形镀银硅微粉和粘接剂,所述活性物质亚氧化钛、纳米球形镀银硅微粉及粘接剂的重量比为:17:2:1。其生产步骤为:一、原料脱水,二、制浆。其优点为:亚氧化钛具有高导电性和稳定性,有效降低电池内阻,提高动力电池的比功率,适应动力电池深度循环需求;添加纳米硅粉以提升电池容量。

标签:
加工技术
湖北 - 咸宁 来源:中冶有色网 2023-03-18
钕掺杂的镍钴锰锂离子电池正极材料及其制备方法

本发明公开了一种钕掺杂的镍钴锰锂离子电池正极材料,其分子式为LiaNixCoyMnzNdbO2;本发明还公开了该正极材料的制备方法。本发明通过将镍钴锰单晶复合前驱体和纳米级钕的氧化物进行超高速预混合,再将镍钴锰单晶复合前驱体和纳米级钕的氧化物的混合料与普通镍钴锰多晶复合前驱体高速混合,提高混合效果,因为单晶复合前驱体机械强度高,可以采用超高速混合而不至于破碎,同时单晶复合前驱体可以起到碰撞介质的作用,将纳米级钕的氧化物充分打散,使掺杂元素和主元素充分混合。

标签:
加工技术
湖北 - 荆门 来源:中冶有色网 2023-03-18
用于锂电池薄膜边料牵引装置

本发明公开了一种用于锂电池薄膜边料牵引装置,包括底座,所述底座上固定连接有立柱,所述立柱分为第一柱体和第二柱体,所述第一柱体和第二柱体对称设置,所述第一柱体位于第二柱体的左侧,所述第一柱体和第二柱体之间设有输送装置,所述底座上设有减震装置,所述底座上通过减震装置连接有第一安装板。本发明通过减震装置可以实现减震,减缓零件的损坏,通过夹持装置可以将边料的废料不断的移动到输送带的中心处,从而便于收集,然后主收集装置结构简单,操作容易,造价成本相比传统的较低。

标签:
加工技术
湖北 - 武汉 来源:中冶有色网 2023-03-18
用于锂电池模组振动测试的固定工装

一种用于锂电池模组振动测试的固定工装,固定底框由两组支杆组焊接而成,一组支杆组沿待测试电池模组的长度方向设置,另一组支杆组沿待测试电池模组的宽度方向设置;两个可调角铁焊接于沿待测试电池模组的长度方向设置的支杆组两外侧支杆的相对面上,每个可调角铁两端部均开设有沿待测试电池模组的长度方向延伸的长条通槽;两个固定支架包括沿待测试电池模组的宽度方向设置的底杆、立于底架中部的竖杆,底杆两端部设两个与长条通槽配合的安装固定孔,竖杆内侧连有支撑锁紧块,支撑锁紧块上开设有两个与待测试电池模组固定安装孔配合的固定螺孔;结构简单、安装方便、调节便捷、通用性高。

标签:
加工技术
湖北 - 襄阳 来源:中冶有色网 2023-03-18
退役锂电池余电释放装置

本实用新型涉及一种退役锂电池余电释放装置,包括放电电路,放电电路包括电压比较器、直流电源、指示灯、多个负载电阻、单刀多掷开关,每个负载电阻的两个接线端分别与单刀多掷开关的一个不动端和电压比较器两个接线端中的一个电连接,指示灯的两个接线端分别与单刀多掷开关的动端和电压比较器剩余接线端电连接,直流电源的两个接线端分别与电压比较器的两个接线端电连接。本实用新型的有益效果为:装置制作简单、成本低,相对于化学放电装置可以省去化学品安全问题和后期材料购买、处理问题,装置在放电过程中不会产生噪音、废气、废水、废渣等环保问题。

标签:
加工技术
湖北 - 武汉 来源:中冶有色网 2023-03-18
纽扣式锂离子电池
纽扣式锂离子电池 929     
 0

本实用新型公开了一种纽扣式锂离子电池,包括正极壳、负极盖、密封圈以及电芯、电解液,其特征在于:还包括绝缘卷绕塑料体以及间隔镶嵌于绝缘卷绕塑料体内的正极耳和负极耳,所述绝缘卷绕塑料体同轴位于电芯中心形成的轴向通道内,所述正极耳一端紧贴绝缘卷绕塑料体外壁与电芯焊接、另一端从绝缘卷绕塑料体下端穿出后与正极壳焊接,所述负极耳一端紧贴绝缘卷绕塑料体外壁与电芯焊接、另一端从绝缘卷绕塑料体上端穿出后与负极盖焊接。本实用新型正负极耳通过注塑镶件的方式与绝缘卷绕塑料体形成整体,绝缘卷绕塑料体将其牢固连接,极耳稳定性好、安全性高。绝缘卷绕塑料体为空心结构,方便绕芯时卷针插入,同时方便焊接负极耳。

标签:
加工技术
湖北 - 武汉 来源:中冶有色网 2023-03-18
低成本电池顶盖及锂电池

本实用新型提出了一种低成本电池顶盖及锂电池,包括:顶盖片,所述顶盖片长度方向两端分别开设有贯通的安装孔;极柱,设置有两个,分别用于与安装孔进行配合,所述极柱包括底盘及柱体,所述底盘设置于顶盖片的下表面,柱体固定设置在底盘上表面且从顶盖片的安装孔穿出;密封圈,设置在安装孔与极柱之间,用于使极柱与顶盖片之间密封;绝缘环,套设在柱体上,绝缘环的底面与顶盖片的顶面相接触,绝缘环与柱体之间设置有卡紧结构。本实用新型的电池顶盖结构简单,同时装配工序简单,无需激光焊接、冲压或铆接,装配成本更低;同时极柱与顶盖片装配后,可以直接通过极柱底端的底盘与电芯上的极耳连接,取消了转接片,电池的成本进一步降低。

标签:
加工技术
湖北 - 武汉 来源:中冶有色网 2023-03-18
锂锰一次电池注液安全检测机构

本实用新型的一种锂锰一次电池注液安全检测机构,包括机架、气缸固定板、探针检测装置、压板、横板、升降气缸、直线轴承、连接轴、顶板、取料机械手装置、气缸安装板、前进气缸、垫块、机械手移动辅助伺服电机和沙箱等。本实用新型实现能自动对电池进行温度及电压的检测和自动取走检测不合格的电池,其的检测过程无需人工参与,其不但检测精度高、检测效率高和检测效果好,使检测过程变得严谨有序,其还实现能大大降低工人的劳动强度和降低企业的劳务成本,使用更加方便,实用性强,其解决了传统是采用人工的操作方式来对注液后的电池进行安全检测而导致其具有检测效率低、检测精度低、检测效果低、工人的劳动强度大和企业的劳务成本高的问题。

标签:
加工技术
湖北 - 武汉 来源:中冶有色网 2023-03-18
锂离子动力电池固定用散热性能好的电池盒

本实用新型公开了一种锂离子动力电池固定用散热性能好的电池盒,包括固定座,所述固定座的顶部外壁开设有凹槽,且凹槽的底部内壁通过螺钉固定有减震弹簧,所述减震弹簧的顶部外壁通过螺钉固定有外盒,所述外盒的顶部外壁通过螺钉固定有盒盖,且盒盖的顶部外壁通过螺钉固定有把手,所述外盒的底部内壁通过螺钉固定有内盒,且内盒的内壁粘接有海绵层,所述固定座的一侧外壁通过螺钉固定有水箱,且水箱的底部内壁通过螺钉固定有水泵,所述水泵的输出端套接有循环管,且循环管远离水泵的一端与水箱相连通。本实用新型起到双重的散热作用,散热效果好,防止盒体内热量过高造成电池的烧坏,提高了电池的使用寿命。

标签:
加工技术
湖北 - 天门 来源:中冶有色网 2023-03-18
锂电池极片称重分选装置

本实用新型公开了锂电池极片称重分选装置,包括称重托盘、基座和红外测距仪,所述基座顶部一端设置有控制器,所述基座顶部底端通过转轴转动连接有输送传送带,所述基座顶部靠近输送传送带中部焊接有传感器框架,所述传感器框架内部中心处设置有红外测距仪。本实用新型中,在输送传送带的顶部设置有红外测距仪,由于极片的厚度固定,所以,通过测量极片的高度,可以判断极片的数量,再根据数量判断重量是否合格,这样的分选方式,能够同时进行多个极片的称重,极大的加快了分选的效率,且对于极片的数量没有要求,进一步提高了分选的速度。

标签:
加工技术
湖北 - 荆门 来源:中冶有色网 2023-03-18
上一页 517 518 519 520 521 ... 1138 下一页
共1138页    到第

中冶有色为您提供最新的湖北有色金属理论与应用信息,涵盖发明专利、权利要求、说明书、技术领域、背景技术、实用新型内容及具体实施方式等有色技术内容。打造最具专业性的有色金属技术理论与应用平台!

全国热门有色金属设备推荐
展开更多 +
全国热门有色金属技术推荐
展开更多 +

 

江西省隆恩特环保设备有限公司
宣传

报名参会
更多+

报告下载

有色专家
更多+

矿冶科技集团有限公司
党委书记 / 董事长
辽宁忠旺集团
教授级高工
中南大学
教授、博士生导师
北京科技大学、中国科学院
院士
清华大学
研究员
赤泥综合利用研究报告2025
推广

热门技术
更多+

推荐企业
更多+

福建省金龙稀土股份有限公司
宣传

发布

在线客服

公众号

电话

顶部
咨询电话:
010-88793500-807