青岛垚鑫智能科技有限公司
宣传

位置:中冶有色 >

有色技术频道 >

分类:
全部
矿山技术
冶金技术
材料制备及加工技术
环境保护技术
分析检测技术
地区:
全部
北京
天津
上海
重庆
河北
山西
辽宁
吉林
黑龙江
江苏
浙江
安徽
福建
江西
山东
河南
湖北
湖南
广东
海南
四川
贵州
云南
陕西
甘肃
青海
内蒙
广西
西藏
宁夏
新疆
其他
其他
展开
 
全部
南京
无锡
徐州
常州
苏州
南通
连云港
淮安
盐城
扬州
镇江
泰州
宿迁

江苏南京有色金属理论与应用

免费发布技术信息>>
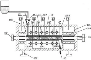
独立式电化学储能锂离子电池簇绝缘电阻监测装置

本实用新型公开了储能电池绝缘电阻技术领域的一种独立式电化学储能锂离子电池簇绝缘电阻监测装置,旨在解决现有技术中电池簇绝缘电阻监测功能相互干扰,测量精度低,操作和使用安全性低的技术问题,包括单片机、正极直流接触器连接电池簇的正极母线主接触器、负极直流接触器连接电池簇的负极母线主接触器、正极绝缘开关电路和负极绝缘开关电路连接待监测绝缘电阻;单片机连接定时器和采样电路、单片机连接电池簇管理单元。避免了电池簇绝缘电阻监测装置与PCS系统同时接入造成的相互干扰,测量精度低,操作和使用安全性低的技术问题,可以更灵活配置绝缘电阻测量功能。

标签:
加工技术
江苏 - 南京 来源:中冶有色网 2023-03-18
锂电池的方形标准模块

本实用新型公开了一种锂电池的方形标准模块,包括由成排对齐设置的第一组电芯、第二组电芯和第三组电芯组成的模块本体,位于第一组电芯的两侧和第三组电芯的两侧分别设有PC隔板,在位于模块本体两端的PC隔板的外侧分别设有环氧板;所述模块本体的电极端卡罩有集成盖板,所述集成盖板的中间卡设有与所述模块本体的电极进行焊接的极片,位于极片的顶端卡设有模块压板。在电芯之间安放绝缘的PC隔片、两端设环氧板,从而可以直接将组成该标准模块的电芯、PC隔片和环氧板一起包大胶,提高了组装效率,且保证了后续焊接面的平整度;从而简化电池组组装,降低成本。

标签:
加工技术
江苏 - 南京 来源:中冶有色网 2023-03-18
用于锂电池清洗过滤和实时监测pH值的装置

本实用新型公开了一种用于锂电池清洗过滤和实时监测pH值的装置,包括:箱体、进水管、第一连接管、第二连接管、出水管、电机和过滤筒;箱体两侧分别设有第一进水口和第一出水口,箱体内安装有pH计和第一过滤器;进水管穿过第一进水口与第一过滤器内部连通;第一连接管的一端穿过第一出水口与箱体内部连通,另一端连接电机抽水口;过滤筒包括圆筒和第二过滤器,第二过滤器位于圆筒内部,圆筒设有第二进水口和第二出水口;第二连接管的一端连接电机出水口,另一端穿过第二进水口与第二过滤器的内部连通;出水管一端穿过第二出水口连通圆筒内部。本实用新型可实时监测箱体中水的pH值,提高电池清洗效率和品质;过滤器过滤沉淀物,保护喷淋装置。

标签:
加工技术
江苏 - 南京 来源:中冶有色网 2023-03-18
生产三元锂电材料的螺旋推进气氛烧结炉

本发明涉及一种生产三元锂电材料的螺旋推进气氛烧结炉,包括炉体、动力系统及支撑机构;还包括位于炉体内的贯通式炉膛、炉胆、位于炉体上方的进料口、位于炉体下方的出料口、穿过贯通式炉胆的螺旋式输送杆、连接炉胆的保护气体输入及气体压力控制装置和温度控制装置;所述炉胆前后贯穿所述贯通式炉膛,炉胆两端均采用密封机构密封;所述进料口连接至炉胆的一端、炉胆的另一端连接至出料口;其中,炉胆的前、中、后段根据不同的温度分为三个工艺区间,为第一段工艺区、第二段工艺区间和第三段工艺区间。本发明可以实现连续式生产,在确保降低工作区间氧含量的同时,实现材料沿进料口‑炉胆‑出料口的顺利流动,兼顾了材料的性能与生产效率。

标签:
加工技术
江苏 - 南京 来源:中冶有色网 2023-03-18
陶瓷隔膜的修饰方法及其在锂电池中的应用、涂覆工艺

本发明公开一种陶瓷隔膜的修饰方法及其在锂电池中的应用、涂覆工艺,属于电池的技术领域。包括:步骤101、将氧化铝粉装入氧化锆球磨罐中,经酒精湿法球磨12小时后在管式炉内80℃烘干2小时,氮气保护气氛,得氧化铝粉末;步骤102、将氧化铝粉末和陶瓷粉末均匀混合放入球磨罐中,并加入去离子水混合球磨2小时后,于管式炉内120℃烘干2小时,得混合粉末待用。发明避免了现有技术中在陶瓷浆料中加入一些有机粘结剂,如聚氨酯、胶黏剂,由于陶瓷粉末与粘结剂的相容性问题,极易造成陶瓷掉分等情况。

标签:
加工技术
江苏 - 南京 来源:中冶有色网 2023-03-18
废旧锂电池的放电方法

本发明公开了一种废旧锂电池的放电方法,将膏体涂在废旧电池上且通过膏体将废旧电池的正极和负极连接以形成回路,从而实现废旧电池放电,其中,所述膏体具备导电能力且其体积电阻率小于103Ω.cm。

标签:
加工技术
江苏 - 南京 来源:中冶有色网 2023-03-18
锂电池生产废水的生物强化处理工艺

本发明属于废水处理技术领域,公开了一种锂电池生产废水的生物强化处理工艺,包括以下步骤:1)将废水引入水解酸化池,在水解酸化池中投加Enterobacter sp.NJUST50菌株和活性污泥进行水解酸化处理,所述菌株保藏编号为CCTCC NO:M2019128;2)出水引入至缺氧反应池,投加Enterobacter sp.NJUST50和厌氧活性污泥进行缺氧反应处理;3)出水引入至好氧反应池,投加Enterobacter sp.NJUST50和好氧活性污泥进行好氧处理;4)出水引入至缺氧滤池,在滤池内投加Enterobacter sp.NJUST50和厌氧活性污泥进行处理;5)出水引入至曝气生物滤池,在滤池内投加Enterobacter sp.NJUST50和好氧活性污泥的污泥混合物进行处理。本发明提供的组合处理方法在实现高效的生物降解的同时有效降低成本,提高系统稳定性。

标签:
加工技术
江苏 - 南京 来源:中冶有色网 2023-03-18
锂电池极片自动卷绕方法

本发明公开了一种锂电池极片自动卷绕方法,是让方形卷针安装在卷轴上并匀速转动,收卷材料,在径向上形成心形轨迹,使卷绕进入方形针的材料在任意时刻均保持水平且匀速地绕进卷针;本发明提供的运动轨迹很好地解决了卷绕机在卷绕材料过程中材料上下波动的问题。

标签:
加工技术
江苏 - 南京 来源:中冶有色网 2023-03-18
激光水平仪用锂电池包

本实用新型公开了一种激光水平仪用锂电池包,包括壳体、电芯、通电口和固定槽,所述壳体的内部均安装有电芯,所述固定槽底端的一侧设置有固定结构,所述固定结构包括伸缩弹簧、套管、滑杆和推板,所述套管均固定在固定槽底端的一侧,所述套管的内部插设有滑杆,所述滑杆的外侧套设有伸缩弹簧。本实用新型通过向一侧拉扯滑杆,使滑杆带动推板向一侧运动,同时带动伸缩弹簧向一侧收缩,紧接着将壳体放入固定槽的内部,通过松开滑杆使伸缩弹簧做复位运动,推动推板向壳体运动,从而使壳体与固定槽紧密贴合固定,通过滑杆在套管的内部滑动防止伸缩弹簧左右晃动,由此实现了此装置的固定功能,防止装置使用时脱落。

标签:
加工技术
江苏 - 南京 来源:中冶有色网 2023-03-18
高能量密度及长寿命的锂离子电池

本实用新型公开了一种高能量密度及长寿命的锂离子电池,包括电池主体,电池主体顶部的两侧均设置有电极极柱,电极极柱底端的外部设置有极柱封座,电池主体的正面设置有正面封盖,电池主体背面设置有背面封盖,正面封盖和背面封盖的内部均开设有多个放热槽,放热槽的内部设置有导热机构,导热机构包括外接导热柱,位于正面的外接导热柱中心的背面固定连接有内接导热柱,内接导热柱的背面与电池主体的表面接触。本实用新型通过将背面封盖和正面封盖分别安装在电池主体的外部,可以防止电池主体的表面被压迫从而影响电池主体的充放电稳定性,同时可以防止外部污渍侵染电池主体的表面,有利于延长电池主体整体使用寿命。

标签:
加工技术
江苏 - 南京 来源:中冶有色网 2023-03-18
配有柱状锂电极的原位电化学实验装置

本实用新型公开了一种配有柱状锂电极的原位电化学实验装置,包括底座、试验筒、滴液机构、小型电机、旋转台和密封上盖,底座采用圆形结构设计,底座上表面固定安装有试验筒,试验筒内部底端固定安装有下隔板,下隔板下方且位于试验筒内部固定安装有小型电机,小型电机两侧均固定安装有蜂窝护板,小型电机的输出轴贯穿下隔板固定安装有旋转台,旋转台上设置有试验容器,试验容器上方两侧均设置有滴液机构,小型电机可带动旋转台进行旋转,从而通过旋转台的旋转带动试验容器进行旋转,当试验容器在旋转时,滴液机构的混合支脚可对试验容器内的电解液进行快速搅拌,从而使其快速进行混合,加快试验反应速度,有效提高试验效率,使用性能佳。

标签:
加工技术
江苏 - 南京 来源:中冶有色网 2023-03-18
锂电池包装托盘的堆层和/或分层装置

一种锂电池包装托盘的堆层和/或分层装置,包括滚筒输送机构、X轴直线驱动机构、Z轴直线驱动机构、吸盘组件及托盘检测组件;所述滚筒输送机构具有一进料端,所述滚筒输送机构上沿其输送方向设置有一定位区域,以及分别对应所述定位区域前后左右四周方向设置的四组磁性开关,所述滚筒输送机构上对应各组所述磁性开关均设置有一组旋转伸缩机构,该旋转伸缩机构具有一旋转伸缩杆,本实用新型的堆层和/或分层装置,通过滚筒输送机构连续输送托盘,配合滚筒输送机构上的磁性开关和旋转伸缩机构构成的定位组件,能够对输送的托盘进行定位,通过X轴直线驱动机构、Z轴直线驱动机构及托盘检测组件构成的抓取机构可实时抓取堆叠在一起的托盘,将其分层逐个输送至下一清洗线设备。

标签:
加工技术
江苏 - 南京 来源:中冶有色网 2023-03-18
复合电芯的锂离子电池隔膜

本实用新型提出一种复合电芯的锂离子电池隔膜,包括聚烯烃层,所述聚烯烃层数量为两个,且聚烯烃层一侧通过胶接有电解质存放层,所述电解质存放层顶部及底部均通过胶接有聚烯烃层,所述聚烯烃层横截面为长方形,所述电解质存放层横截面也为长方形,且聚烯烃层边长是电解质存放层边长的1.0倍,聚烯烃层变宽是电解质存放层边宽的1.0倍,综上所述,此实用新型提高了电池的使用寿命,增强了电池的安全性。

标签:
加工技术
江苏 - 南京 来源:中冶有色网 2023-03-18
快速拆卸锂电池塑料包装箱

本实用新型公开了一种快速拆卸锂电池塑料包装箱,包括托盘,与托盘相固定连接的安装座,与安装座相连的中空围板,与中空围板相连的盖体;所述安装座包括四根异形管以及将四根异形管连接成四边形的包角连接体,所述异形管上设有围板卡槽,中空围板固定在卡槽内。本实用新型通过异形管和包角连接体的结构设计,通过多重固定机构,能够有较强的固定力,防止箱体崩塌,经测试达到国际海关出口危险货物包装箱的要求,同时容易快速拆卸和安装,安装方便搬运省力,省去了全螺丝固定的铝合金箱体的拆卸和安装的不便;本实用新型除异形管外,均为塑料制品,成本为铝合金箱体的25%左右,大大降低了生产、物流和保管成本。

标签:
加工技术
江苏 - 南京 来源:中冶有色网 2023-03-18
用于方形锂离子电池极片的除粉装置

本实用新型涉及一种用于方形锂离子电池极片的除粉装置。包括位于电池极片上方且靠近电池极片设置的超声波发生装置,所述的超声波发生装置固定在制片机或卷绕机上。由上述技术方案可知,本实用新型通过在电池极片的上方设置超声波发生装置,利用超声波能量将电池极片表面的粉尘震落,再通过真空管将粉尘吸至粉尘收集盒内,高效去除电池极片表面的粉尘,有效控制杂质被带入到电池内,降低了电池短路率,提高了产品质量。

标签:
加工技术
江苏 - 南京 来源:中冶有色网 2023-03-18
锂动力电池模组
锂动力电池模组 761     
 0

本实用新型涉及一种锂动力电池模组,包括若干置于箱体内的电池组,各电池组串联或并联后的正极端、负极端分别与箱体一侧的正极接线柱、负极接线柱联接,该电池组包括电池夹和电池芯,该电池夹的两侧分别装填槽,装填槽内分别并联有若干电池芯,电池夹一侧装填槽内各电池芯并联构成的电池芯组A与另一侧装填槽内各电池芯并联构成的电池芯组B串联联接对于本实用新型的一种优化,各电池组之间以及电池芯组A与电池芯组B之间均通过若干连接铜排串并联。

标签:
加工技术
江苏 - 南京 来源:中冶有色网 2023-03-18
扣式锂锰一次电池正极片结构

本实用新型公开了一种扣式锂锰一次电池正极片结构,主要是在圆形的正极片体中设计有凹槽。结构合理,使用方便,既能增加正极片边缘强度,降低电解液浸泡正极片的烂片率,又能电池在放电过程中,随着材料的消耗,正极片在轴向方向膨胀,使得正负极片之间紧密接触,有效降低电池内部电阻,从而提高电池的放电容量。

标签:
加工技术
江苏 - 南京 来源:中冶有色网 2023-03-18
磷酸铁锂电池BMS关于SOC预测的方法

本发明涉及电池管理技术领域,尤其为一种磷酸铁锂电池BMS关于SOC预测的方法,电池组中的单体电池并联使用,利用主控模块控制测控模块和整车的控制器进行通信,主控模块中设置电流采集单元,利用霍尔电流传感器对电流进行采集,设置测控模块,测控模板包括温度检测模块和电压采集单元,用于电动汽车上的电池电压检测,使电池处于静止模式,采用开路电压法对SOC的初始值进行估算,当车辆电池处于非静止模式,采用安时积分法对SOC值进行计算,本发明中,考虑电池的静止状态,以及充放电状态,采用开路电压法和安时积分法对SOC值进行计算,并且结合电池的温度系数和循环寿命系数,对输出的SOC值进行修正调整,可以进一步的提高SOC预测的准确性。

标签:
加工技术
江苏 - 南京 来源:中冶有色网 2023-03-18
用于多节锂电池保护芯片的断线检测系统

一种多节锂电池保护芯片的断线检测系统,包括逻辑时序电路、电平移位电路和断线检测电路,逻辑时序电路产生初始断线检测时序信号给电平移位电路,经电平移位电路得到最终的断线检测时序信号传递给断线检测电路,断线检测电路设有与电池节数相同数量的断线检测单元,各断线检测单元的输出信号分别输入至断线检测信号输出单元,该输出单元输出信号连接保护芯片IC的充、放电控制端子,正常状态没有发生断线时,充放电控制端子输出高电平,充放电NMOS管开启,进行正常的充电和放电,任一节电池发生断线现象时,断线检测信号输出单元的输出信号控制充、放电控制端子输出低电平,充放电NMOS管关闭,实现断线状态下系统的充电及放电保护。

标签:
加工技术
江苏 - 南京 来源:中冶有色网 2023-03-18
软包锂电池热失控气体过滤收集装置及其操作方法

本发明公开了一种软包锂电池热失控气体过滤收集装置,其结构包括:钢针驱动装置、加热装置、气体转移装置、气体收集装置、中和剂过滤装置、电池固定装置以及底座支撑结构,其特征是:所述底座支撑结构固定连接加热装置,中和剂过滤装置、电池固定装置、加热装置依次环套,用密封圈固定,中和剂过滤装置、气体转移装置、气体收集装置通过连接管连接,钢针驱动装置穿过中和过滤系统固连钢针,整个气体过滤收集装置均固定在底座支撑结构的相应位置。优点:所述箱体可拆卸,便于电池的安装和取出;箱体内壁的泄爆片在电池发生爆炸时,可起到防护作用;该装置稳定达到热失控目的,对气体进行过滤调整,易于操作和推广。

标签:
加工技术
江苏 - 南京 来源:中冶有色网 2023-03-18
基于化学原位沉积法制备磷酸铁锂复合材料的制备工艺

本发明公开了一种基于化学原位沉积法制备磷酸铁锂复合材料的制备工艺,将LiFePO4/(C+RGO)复合材料超声分散于乙醇中,滴加稀硫酸,搅拌并逐滴加入CuCl2和NaOH水溶液,形成共沉淀,搅拌,静置、过滤、洗涤、真空干燥后煅烧,冷却,制得目标复合材料。其利用化学原位沉积法结合高温处理在材料表面原位包覆具有导电性且性能稳定的CuO纳米颗粒,抑制了电解液对活性物质的腐蚀,减小Fe溶解于LiPF6的可能性,避免材料容量下降,提高材料循环性能。金属氧化物纳米颗粒填充了LiFePO4颗粒间的空隙,修复了石墨烯碳材料包覆的不连续性,形成一层完整连续的纳米导电层,增强材料的电子电导率;具有极大的经济效益。

标签:
加工技术
江苏 - 南京 来源:中冶有色网 2023-03-18
用于锂电池BMS均衡设备

本发明涉及控制系统技术领域,且公开了一种用于锂电池BMS均衡设备,包括检测控制电路和功率控制电路,所述功率控制电路和通道切换电路统称为均衡充电电路,所述检测控制电路用于检测每个电池单体的电压参数,并按照预先设定的控制参数进行相关功能控制,所述功率控制电路,用于控制均衡电路的传输功率、充电电流、极限电压,通过检测控制电路和功率控制电路对电池组中电压偏低的电池单体均衡能量的方式使之上升到合理的电压范围,来实现对电池组中的电池单体电压均衡控制,可以更好的控制电池组内每个电池单体之间的均衡状态,不会因某个单体电压过低,而对其他单体放电,造成能量损失,且使操作和控制变得更简便。

标签:
加工技术
江苏 - 南京 来源:中冶有色网 2023-03-18
纳米纤维素和纳米二氧化硅复合制备锂电池隔膜的方法

本发明是一种纳米纤维素和纳米二氧化硅复合制备锂电池隔膜的方法,该方法包括以下步骤:a)制备纳米纤维素;b)制备纳米纤维素和纳米二氧化硅复合隔膜。本发明的优点:(1)有利于包装废弃物的有效利用;(2)光学透明度,波长在600nm处的透光率达到80%;(3)热膨胀系数低,热稳定性高。

标签:
加工技术
江苏 - 南京 来源:中冶有色网 2023-03-18
锂电池化成夹具
锂电池化成夹具 958     
 0

本发明涉及一种锂电池化成夹具,包括用于装载电池的托盘、设置在托盘左右两侧的支撑板一与支撑板二、可伸缩侧压机构、真空泵、空气压缩机和电磁阀;所述可伸缩侧压机构包括若干对侧压平板、设置在每对侧压平板之间的若干个可伸缩气囊以及连接各个可伸缩气囊的气体管路;所述气体管路通过电磁阀分别与真空泵及空气压缩机相连;所述支撑板一和支撑板二的内侧分别设有一对导杆;所述导杆上滑动连接有连接块,且该连接块与气体管路固定相连。本发明为可用于电池化成但不限于化成的夹具,可有效解决电池化成胀气问题,实现化成工艺机械化和自动化生产。本发明具有结构简单、易于实施等特点。

标签:
加工技术
江苏 - 南京 来源:中冶有色网 2023-03-18
有利于锂离子电池散热的复合相变涂层的制备方法

本发明提供一种有利于锂离子电池散热的复合相变涂层的制备方法,是通过在80℃水浴条件下,将相变剂石蜡熔融,加入凹凸棒土,使相变剂封装于具有孔道结构的凹凸棒土中而形成相变前驱体,再将相变前驱体与氧化铝溶胶混合、球磨分散得到均匀的浆料,然后进行涂覆而形成复合相变涂层。本发明采用石蜡作为相变剂,相变潜热大,凹凸棒土为相变剂吸附载体,内部表面积大,具有良好的吸附性能,在减小涂层厚度的同时增加了石蜡相变剂的吸附量,氧化铝溶胶为成膜基体,其优良的导热性能可以克服石蜡导热系数低的缺点,有效提高了涂层的导热散热性能,将复合相变涂层涂覆在电池外壳,电池内部温度可降低2‑5℃,达到了高效散热的目的。

标签:
加工技术
江苏 - 南京 来源:中冶有色网 2023-03-18
锂硫电池正极用硫/二氧化硅核壳纳米结构的制备方法

一种锂硫电池正极用硫/二氧化硅核壳纳米结构的制备方法,将表面活性剂分散到硫酸溶液中,滴加硫代硫酸钠的水溶液,搅拌0.5~24小时,将产物洗涤并干燥,得到硫颗粒产物;随后,将上述硫颗粒和表面活性剂分散到乙醇溶液中,依次加入水、氨水和正硅酸乙酯溶液,室温反应0.5~12小时,将产物洗涤并干燥,得到所述硫/二氧化硅核壳纳米结构。本发明以硫颗粒为模板,采用正硅酸乙酯的水解缩聚过程包覆纳米多孔二氧化硅,利用纳米多孔二氧化硅对硫活性物质的固定和催化作用,更加有效地抑制电极过程中活性物质的流失、提高电极循环稳定性以及倍率性能,获得高性能复合硫正极材料。

标签:
加工技术
江苏 - 南京 来源:中冶有色网 2023-03-18
锂硫电池复合电极的正极材料及其制备方法和应用

本发明提供一种锂硫电池复合电极的正极材料及其制备方法和应用。所述正极材料包括三维碳纳米纤维基底材料,所述三维碳纳米纤维基底材料为三维多孔碳网结构,所述三维碳纳米纤维基底材料上设置有吸附点,所述吸附点用于吸附钴铁合金纳米颗粒。所述制备方法包括:将三维碳纳米纤维基底材料的原料浸泡在金属混合盐溶液中,得到前驱体,再将所述前驱体依次经干燥处理和高温还原处理,得到所述正极材料。本发明通过碳网络的多孔结构有效接触可溶性中间多硫化物,促进硫的利用,加速含硫物种在电催化过程中的电化学动力学。制备方法采用简单的浸渍‑还原法,优化了单体的电子结构,提高了催化活性。

标签:
加工技术
江苏 - 南京 来源:中冶有色网 2023-03-18
三元锂电池放电废气治理用高效喷淋系统

本发明公开了一种三元锂电池放电废气治理用高效喷淋系统,包括:喷淋塔、排气烟囱、风机、一号储液箱以及二号储液箱,所述风机的输入端通过出气管道与喷淋塔的顶部连接,风机的输出端通过管道与排气烟囱连接,所述喷淋塔的内部自上而下依次设有除雾器、一号喷淋装置、一号洗气层、环形水箱、二号喷淋装置、二号洗气层。本发明将两个喷淋塔堆叠组合,可以在保证废气处理效果的同时,大大减小占地面积,可以广泛运用于工业废气处理中。

标签:
加工技术
江苏 - 南京 来源:中冶有色网 2023-03-18
维度可控的二氧化钒纳米材料的合成方法及锂离子电池

本发明公开了一种维度可控的二氧化钒纳米材料的合成方法,其采用新颖的高温混合水热法可控合成不同维度VO2(B)纳米材料,包括一维(1D)VO2(B)纳米带、二维(2D)VO2(B)纳米片和三维(3D)分级多孔碳包覆的VO2(B)(VO2(B)@C)微?纳结构,制备得到的材料可以广泛用于锂离子电池电极材料,其中3D分级多孔VO2(B)@C微?纳结构展示了极其优异的电化学性能,表明这种技术是具有十分广阔的应用前景的。

标签:
加工技术
江苏 - 南京 来源:中冶有色网 2023-03-18
锂硫电池加工用软包包装设备

本实用新型公开了一种锂硫电池加工用软包包装设备,包括第一支撑柱、冲压热成型机构、工作台和转动盘,所述第一支撑柱的上设置有第一辊轮,所述第一辊轮上连接有PVC卷材,所述第一支撑柱的一侧设置有冲压热成型机构,所述冲压热成型机构的一侧设置有泡壳冲切机构,所述泡壳冲切机构的底部安装有第三丝杠,且第三丝杠的一端固定连接有第五伺服电机,所述第三丝杠上铰接有第三移动座,本实用新型通过启动电热板,电热板就会加热,然后启动第四气缸,第四气缸就会带动第七固定板向下运动,第七固定板就会带动电热板向下运动,电热板接触到电池的外包装后,电热板就会把外包装融化,这样,电池就会进行封口,方便快捷。

标签:
加工技术
江苏 - 南京 来源:中冶有色网 2023-03-18
上一页 516 517 518 519 520 ... 964 下一页
共964页    到第

中冶有色为您提供最新的江苏南京有色金属理论与应用信息,涵盖发明专利、权利要求、说明书、技术领域、背景技术、实用新型内容及具体实施方式等有色技术内容。打造最具专业性的有色金属技术理论与应用平台!

全国热门有色金属设备推荐
展开更多 +
全国热门有色金属技术推荐
展开更多 +

 

江西省隆恩特环保设备有限公司
宣传

报名参会
更多+

报告下载

有色专家
更多+

太原理工大学
院长/教授
广东省科学院资源利用与稀土开发研究所
教授
武汉理工大学
外籍院士/教授
中冶沈勘秦皇岛工程技术有限公司
原矿山院院长/教授级高工
江西省科学院应用化学研究所
副主任/副研究员
赤泥综合利用研究报告2025
推广

热门技术
更多+

推荐企业
更多+

福建省金龙稀土股份有限公司
宣传

发布

在线客服

公众号

电话

顶部
咨询电话:
010-88793500-807