青岛垚鑫智能科技有限公司
宣传

位置:中冶有色 >

有色技术频道 >

分类:
全部
矿山技术
冶金技术
材料制备及加工技术
环境保护技术
分析检测技术
地区:
全部
北京
天津
上海
重庆
河北
山西
辽宁
吉林
黑龙江
江苏
浙江
安徽
福建
江西
山东
河南
湖北
湖南
广东
海南
四川
贵州
云南
陕西
甘肃
青海
内蒙
广西
西藏
宁夏
新疆
其他
其他
展开
 
全部
济南
青岛
淄博
枣庄
东营
烟台
潍坊
济宁
泰安
威海
日照
滨州
德州
聊城
临沂
菏泽

山东有色金属理论与应用

免费发布技术信息>>
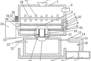
煤化工废水的预处理装置

本实用新型公开了一种煤化工废水的预处理装置,包括蒸发室和管道,蒸发室顶部连通有管道,管道另一端连通有固定块,管道中部设有除沫器,蒸发室内固定连接有搅拌机构,固定块底部连通有受液罐,受液罐内安装有处理组件。本实用新型通过固定块、受液罐和处理组件作用,处理组件与固定块底部的出水口连通,处理组件对固定块排出的液体进行过滤处理,通过过滤层层过滤掉废液中的杂质及小颗粒,实现液体中的固液分离,固体颗粒截留于过滤层内,液体处于受液罐内底部,通过支脚对壳体进行支撑,顶盖和壳体螺纹连接,便于壳体的拆卸,方便筒体去除,利于对过滤层进行及时清理。

标签:
固废
山东 - 德州 来源:中冶有色网 2023-03-19
实验室污水废水综合处理设备

本实用新型属于实验室污水废水处理技术领域,尤其是实验室污水废水综合处理设备,包括箱体,所述箱体的底部内壁转动安装有转轴,所述转轴的顶部固定有放置板,所述放置板的顶部固定有两个竖板,两个竖板之间转动安装有横管,所述横管的顶部设有加料管,所述箱体的顶部开设有开孔,加料管的顶部贯穿开孔,加料管与开孔的内壁设有间隔,所述放置板的一侧固定有竖直设置的轨道板,轨道板的一侧滑动安装有调节块,调节块上铰接有调节杆,所述调节杆的一端与横管铰接,所述横管的一端铰接有密封板;本实用新型对沉淀进行转动离心脱水,实现固体和液体分离彻底,分离效果好,电动化取出污水处理的沉淀,无需人工去除沉淀,节省人工,提高使用质量。

标签:
固废
山东 - 潍坊 来源:中冶有色网 2023-03-19
内科护理用废弃物回收装置

本实用新型公开了一种内科护理用废弃物回收装置,包括回收箱,所述回收箱为中空结构,所述回收箱的顶部贯穿设置有槽口;所述槽口的外表面设置有两组对称布置的置物槽,其中两组所述置物槽的内部嵌合安装有第一挡块,两组所述第一挡块相互靠近的表面安装有储污桶,两组所述第一挡块的顶部均安装有拉杆,所述储污桶的顶部设置有插孔,所述插孔的内部嵌合安装有插杆,所述插杆的顶部安装有置物框,所述置物框的底部嵌合安装有筛网。本实用新型通过安装有回收箱、置物槽、第一挡块、储污桶、插孔和插杆,拉动拉杆,接着使第一挡块不再与置物槽嵌合,接着向上拉动置物框,直至使插杆不再与插孔嵌合,接着就可以对筛网内的固体废弃物进行处理。

标签:
固废
山东 - 聊城 来源:中冶有色网 2023-03-19
微振动吸热废水预热净冷水交换器

本实用新型涉及印染、造纸等行业产生的热废水的热回收技术领域,适用于含有固体杂质的热废水的热交换器。由箱体1、振动锤轴23、偏心托板凸点22、若干个夹心圆锥曲线轮2、主轮轴3、电机6、减速机7、若干个蛇形挡水板9、净冷水进口12等组成。电机6减速机7连接主轮轴3转动,若干个蛇形挡水板9与箱体1连接,在若干个夹心圆锥曲线轮2壳两端上有若干凹凸坑、竖曲线槽,内置夹心板与两凹凸壳焊接在主轮轴3上,主轮轴3有净冷水进口12连接到夹心圆锥曲线轮2再连接主轮轴3净热水出口13,振动锤支架21与箱体1连接砸在夹心圆锥曲线轮2外径上产生振动,壳体不易结垢、堵塞的弊端,免清洗,易维护。

标签:
固废
山东 - 枣庄 来源:中冶有色网 2023-03-19
用于医疗废水处理的臭氧杀菌过滤装置

本实用新型公开了一种用于医疗废水处理的臭氧杀菌过滤装置,包括杀菌箱,所述杀菌箱内壁的顶部固定连接有臭氧发生器,所述杀菌箱内壁的底部固定连接有水箱,所述臭氧发生器底部的左侧连通有管道,所述管道的底部与水箱的顶部连通,杀菌箱内壁的底部且位于水箱的前端固定连接有水泵,水泵的顶部连通有进水管,臭氧发生器的底部固定连接有过滤箱,进水管远离水泵的一端贯穿至进水管的内部,过滤箱内壁顶部的右侧设置有漏斗。本实用新型解决了现有的臭氧杀菌设备不具有过滤功能,导致废水中的固体垃圾造成堵塞的问题,减少了人工清理的劳动力,也减少了臭氧杀菌设备维护的成本,提高了臭氧设备的实用性。

标签:
固废
山东 - 潍坊 来源:中冶有色网 2023-03-19
新型废液桶
新型废液桶 887     
 0

本实用新型提出一种新型废液桶,包括桶体,一种新型废液桶,包括桶体,及滤桶,所述滤桶通过隔板纵向分隔成两个容纳腔室;所述滤桶上设有将滤桶放入桶体后使滤桶挂在桶体上的挂钩;滤桶底板上设有若干个通孔;滤桶顶端中部铰接有盖体,盖体通过翻转可分别覆盖在两个容纳腔室的任意一个腔室上方。本实用新型的结构十分简单,本实用新型通过在滤桶使得桶体内的样本管枪头等固体与液体进行分离。

标签:
固废
山东 - 青岛 来源:中冶有色网 2023-03-19
可调化学专业用废液收集装置

本实用新型公开了一种可调化学专业用废液收集装置,包括底座,所述底座的上端左侧固定连接有箱体,所述底座的上端右侧固定连接有罐体,所述箱体的内部中间部位竖直固定连接有第一挡板,所述箱体的内部位于第一挡板的左右两侧分别设置有第二储存箱和第一储存箱。本实用新型中,按动第一按钮和第三按钮可以启动第一液压缸,从而将第一箱盖和第二箱盖开启,便于实验人员将废液倒入箱体内,其中,第二储存箱为储存液体和固液混合的物质,第一储存箱为储存固体物质,从而起到固液分离,且启动罐体上的风扇可以将第一储存箱和第二储存箱内挥发的气体吸入到罐体内,在经过第二过滤网的过滤吸收再排放到外界。

标签:
固废
山东 - 枣庄 来源:中冶有色网 2023-03-19
苯甲酸钠生产用固液废料分离处理设备

本实用新型涉及化工生产相关作业领域具体是一种苯甲酸钠生产用固液废料分离处理设备,包括机箱,所述机箱内分为入液腔和预处理腔,所述入液腔和预处理腔之间设置有复合过滤网,所述机箱的两侧分别设置有排料架和出料架,所述排料架的顶部设置有导轨,所述导轨内安装有滑动块,所述滑动块外端安装有推杆,所述推杆的杆端安装有清理刷,所述复合过滤网的末端安装有出料盖板,所述出料盖板通过活动轴安装在机箱的侧壁上,所述出料架上安装有横向螺杆,所述横向螺杆上安装有传动套,所述出料盖板的外板面上安装有连接栓,所述传动套与连接栓通过拉杆相连接。本申请在固液分离后,快速对固体或者液体废料进行预处理,高效作业,避免影响作业工序。

标签:
固废
山东 - 枣庄 来源:中冶有色网 2023-03-19
高浊度废水净化装置
高浊度废水净化装置 1158     
 0

本实用新型公开了一种高浊度废水净化装置,包括净化罐、泵机,进水管上连通有混凝剂罐,导管上设有节流阀,导管通过横向设置的混流管与净化罐的底端连通,导管与混流管、混流管与净化罐均采用切向连接;净化罐内设有顶端开口的收集腔,收集腔底端连通有储存腔;该净化装置中的液体流速低、能耗少、且设备运行及维护的成本低,装置操作简单、净化效果好,能够处理悬浮固体含量超过500mg/L,甚至达到5000mg/L以上的高浊度废水。

标签:
固废
山东 - 济南 来源:中冶有色网 2023-03-19
化学实验用化学物品废料回收箱

本实用新型公开了一种化学实验用化学物品废料回收箱,包括。有益效果在于:通过设置液体收集槽和固体收集槽,在对化学物品废料进行回收时能够进行分类处理,避免混合产生化学反应,并且在对液体进行收集时,不同的液体进行分类放置,以便于后期倾倒丢弃时进行处理。

标签:
固废
山东 - 济宁 来源:中冶有色网 2023-03-19
化学实验废液贮存装置

本实用新型涉及一种实验器材,尤其为一种化学实验废液贮存装置,其方案为:预处理罐上部设有漏斗和入料口;预处理罐下部为储存罐盖,两者之间设有手控阀;储存罐盖下方为储存罐。本实用新型可将固体和液体进行分离,方便后期处理;并可防止废液有害成分会发污染周围环境。

标签:
固废
山东 - 德州 来源:中冶有色网 2023-03-19
新型养殖废水的处理装置

本实用新型公开了一种新型养殖废水的处理装置,包括栅格过滤器,所述栅格过滤器的一侧通过管道连接有调节池,所述调节池的内侧通过管道连接到抽液泵,所述抽液泵的排出端连接有三通管道,所述三通管道的一端连接有固液分离机,所述三通管道的另一端连接有污泥泵,所述固液分离机的固体排出端通过管道连接有好痒堆肥池,所述固液分离机的液体排出端通过管道连接有初沉机,本实用新型设置了安装滑道、连接滑槽和插杆,由于碳氮比较低,特别是采用厌氧发酵后,有机物得到了进一步去除,碳氮比更加低,无法满足氨氮的去除,需要额外投加碳源,增加了企业的运行成本,影响养殖废水的处理装置使用的环保性的问题。

标签:
固废
山东 - 青岛 来源:中冶有色网 2023-03-19
降低废水硬度的方法
降低废水硬度的方法 896     
 0

一种降低废水硬度的方法,包括酸化步骤、曝气步骤、软化絮凝步骤、分离步骤、过滤步骤,所述酸化步骤、曝气步骤、软化絮凝步骤、分离步骤、过滤步骤依次进行。其有益效果是:易于操作,节省人力;减少了药剂的加药量,同时减少了固体废物的产生;可以调节水的PH值;降低了成本。

标签:
固废
山东 - 德州 来源:中冶有色网 2023-03-19
利用废旧锂离子电池三元正极材料制备三元材料前驱体及回收锂的方法

本发明属于三元材料前驱体制备技术领域,具体涉及一种利用废旧锂离子电池三元正极材料制备三元材料前驱体及回收锂的方法。将废旧锂离子电池正极原料焙烧,筛分得到三元正极材料和铝箔;将三元正极材料用苛性碱溶液浸出,过滤得到滤液和滤渣;滤液中加入碳酸盐反应,得到碳酸锂固体;用易挥发性酸浸出滤渣;向浸出液中加入还原剂,加热至沸腾除去易挥发性酸;调整浸出液中镍、钴、锰摩尔比;将调整镍、钴、锰摩尔比以后的浸出液与氨水溶液、苛性碱溶液并流加入至含有氨水溶液的反应釜中,在惰性气体保护下共沉淀。本发明实现了制备三元材料前驱体的同时,又回收了锂,降低了生产成本,产品质量高,经济性好,实现了镍钴锰锂资源的定向循环。

标签:
固废
山东 - 淄博 来源:中冶有色网 2023-03-19
分步蒸发结晶分离回收废水中碳酸钾及对甲苯磺酸钾

本发明(名称为:分步蒸发结晶分离回收废水中碳酸钾及对甲苯磺酸钾)涉及一种碳酸钾、碳酸氢钾与对甲苯磺酸钾的分离回收工艺。该混合物可通过如下方法分离:在废水中加入与碳酸氢钾等摩尔量氢氧化钾,将碳酸氢钾转变为碳酸钾,再蒸除适量水,降温至适当温度恒温,过滤出不溶固体即为对甲苯磺酸钾,烘干备用;过滤所得液体蒸发至干,烘干即得碳酸钾。回收所得对甲苯磺酸钾在适当溶剂中,适当温度下,经与适当氯化试剂反应制得对甲苯磺酰氯,再与L‑乳酸乙酯在适当缚酸剂存在下反应制得L‑乳酸乙酯对甲苯磺酸酯。

标签:
固废
山东 - 青岛 来源:中冶有色网 2023-03-19
废旧钴酸锂电池正极材料的回收方法

本发明属于锂离子电池材料制备领域,具体涉及废旧钴酸锂电池正极材料的回收方法。本发明的制备方法包括以下步骤:(1)将废旧钴酸锂电池正极材料与硫酸亚铁混合,加水调浆;向浆体中加入盐酸或硫酸溶液,并陈化;反应结束后,加入氢氧化钠或氢氧化钾中和余酸;(2)过滤以完成液固分离,浸出液中加入氢氧化钠或氢氧化钾,调节浸出液pH值至10.0实现钴、锂分离,过滤以完成液固分离,固体渣即为Co(OH)2。本发明的回收方法,采用常用且廉价的硫酸亚铁还原钴酸锂,回收钴、锂,中和余酸并除铁,操作简单,具有较高的推广应用价值,钴、锂回收率高。

标签:
固废
山东 - 青岛 来源:中冶有色网 2023-03-19
医疗废水多级处理装置

本发明公开了一种医疗废水多级处理装置,涉及医疗器械领域,包括处理箱,排出斜管位于处理箱内,处理箱内的顶端固定连接两个弧形分离板两个弧形分离板的顶部固定连接,弧形分离板内嵌设有分离滤网,处理箱内的两侧均固定连接分离侧箱,分离侧箱内设有垃圾排出机构,本发明通过设置弧形分离板和分离滤网能够将污水与固体垃圾进行分离,通过设置垃圾排出机构能够将固体垃圾排出处理箱外,通过设置缓冲球能够对水流进行缓冲,便于后续污水中大比重杂质沉淀的稳定进行,通过设置沉淀分离装置能够在对污水沉淀的同时将大比重沉淀物进行分离排出,实现污水的进一步分离处理,对污水的处理具有多级化效果,处理效果好。

标签:
固废
山东 - 潍坊 来源:中冶有色网 2023-03-19
化学实验废液贮存处理装置

本实用新型涉及化学过滤技术领域,尤其是一种化学实验废液贮存处理装置,包括箱体,所述箱体的上端中部设有进料口,所述箱体的内部设有第一滤板和第二滤板,所述箱体的外部右侧设有第一支撑板,所述第一支撑板的上方安装有第一电动伸缩装置,所述箱体的外部右侧设有第二支撑板,所述第二支撑板的上方安装有第二电动伸缩装置,所述第三出渣口与第二出渣口远离箱体的一端设有废料箱,所述第二滤板的下端设有操作箱,所述操作箱的下端设有储放箱,本实用新型结构简单,不仅处理工艺齐全,能够对化学试剂中的固体杂质进行较为彻底的处理,而且对化学试剂进行提纯,保证了化学试剂使用中的纯度,实用性强。

标签:
固废
山东 - 济南 来源:中冶有色网 2023-03-19
苯酚丙酮废水蒸发脱盐预处理装置

本实用新型涉及一种苯酚丙酮废水蒸发脱盐预处理装置,采用降膜蒸发器加上OSLO蒸发结晶器组合工艺,错流操作,溶液流向为:原料液经冷凝水预热器预热→二效降膜蒸发器→三效降膜蒸发器→四效降膜蒸发器→一效OSLO蒸发结晶器→浓缩晶浆排出,固液分离后母液返回一效OSLO蒸发结晶器继续参与蒸发,固体回收处理。该实用新型工艺合理设计工艺流程及设备选型,解决了苯酚丙酮废水蒸发脱盐装置系统运行不稳定,焦油堵管的问题,提高了生产效率。

标签:
固废
山东 - 青岛 来源:中冶有色网 2023-03-19
基于物理吸附耦合光芬顿氧化技术处理废水的装置

本实用新型公开了一种基于物理吸附耦合光芬顿氧化技术处理废水的装置,包括吸附处理池、芬顿氧化池、膜分离器、净水池;所述吸附处理池的出水口与所述芬顿氧化池连通;所述芬顿氧化池的出水口与所述膜分离器连通;所述膜分离器的液体出口与所述净水池连通;所述膜分离器的固体出口与所述芬顿氧化池连通;所述芬顿氧化池内设置有pH计、膜分布器、供光装置;所述膜分布器的进料口与设置在所述芬顿氧化池上部的双氧水进口连通;所述膜分布器的表面设置有多孔光催化剂层;所述吸附处理池内设置有多层吸附组件。该装置可有效除去废水中的污染物,效率高,且装置结构简单,方便维护。

标签:
固废
山东 - 潍坊 来源:中冶有色网 2023-03-19
高效吸附有机废水的环保材料

本发明公开了一种高效吸附有机废水的环保材料,其特征在于,包括下列重量份数的物质:二氯化铁10-35份,羟乙基纤维素11-32份,蒙脱石粘土增稠剂1-3份,锐钛矿型钛白粉2-4份,固体石酯3-8份,硬脂酸2-6份,硬脂酸盐1-8份,硬脂酰胺3-9份。本发明的有益效果是:可以大量吸附难降解有机污染物,吸附后在外加磁场的作用下有机污染物随着磁性纳米材料迅速从水中分离,达到对污染物的高效去除和废水净化的目的,具有较强的实用价值。

标签:
固废
山东 - 青岛 来源:中冶有色网 2023-03-19
废水处理臭氧催化高级氧化用催化剂的制备装置

本实用新型公开了一种废水处理臭氧催化高级氧化用催化剂的制备装置,包括机体,所述机体的内部设置有压板,所述压板的两侧分别固定连接有连接板,所述机体的两侧且对应连接板处设置有第一开口,且连接板穿过第一开口并延伸至外部,所述机体外壁的两侧且对应第一开口处固定连接有固定框,所述固定框的内部转动连接有第一螺杆,且第一螺杆与连接板螺纹连接,所述第一螺杆的一端贯穿固定框并延伸至外部。本实用新型中,第一电机带动压板在机体内部滑动,使得压板挤压臭氧催化剂固体,被挤压的臭氧催化剂固体通过成型口形成条状,运行第二电机,第二电机带动切割刀片旋转,对穿过成型口的臭氧催化剂固体进行切割形成颗粒状臭氧催化剂。

标签:
固废
山东 - 济南 来源:中冶有色网 2023-03-19
全自动废切削液处理设备

本实用新型公开了一种全自动废切削液处理设备,包括支撑底座,所述支撑底座上端沿水平方向依次设有过滤桶、油水分离桶与消毒净化桶,所述过滤桶的外侧设有输入管,所述过滤桶的内部设有过滤装置,所述过滤装置将过滤桶内部分隔成第一腔室、第二腔室,且第一腔室与输入管连通,所述过滤桶的底部连接有第三传送管,且第三传送管的另一端延伸至油水分离桶的内部并连接有预处理箱,所述第三传送管上设有第一传送泵。本实用新型净化效果好,可去除废切削液中含有的固体杂质、病毒、细菌、发酵菌体,排放时不会对自然造成伤害,可达到国家排放标准。

标签:
固废
山东 - 青岛 来源:中冶有色网 2023-03-19
畜禽养殖废水的处理装置

本实用新型公开了一种畜禽养殖废水的处理装置,包括顺次连接的预处理单元、强化生化处理单元、污泥处置单元,预处理单元包括顺次连接的格栅池、粪污集水池、固液分离机、絮凝沉淀池、调节池;固液分离机的回收端连接有固体堆肥单元;强化生化处理单元包括顺次连接的ABR高效厌氧反应器、强化A/O反应池和二沉池;二沉池的出液端连接有清水池,污泥处置单元包括污泥浓缩池和污泥处理机;固体堆肥单元包括有机肥车间。本装置具有工艺操作简单、水力停留时间短、运行成本低等优点,实现了粪污资源化利用,既消除污染,又化害为利,促进经济发展。

标签:
固废
山东 - 青岛 来源:中冶有色网 2023-03-19
用于调节水泥生产废气温度的装置

本发明公开了一种用于调节水泥生产废气温度的装置,包括用于安装在废气通路上的调温塔,在调温塔内设有温度传感器,还包括相对于调温塔外置的用于控制调温塔内各部分元器件工作的服务器,调温塔侧部设有烟气进口,调温塔的顶部了具有烟气出口,温度传感器用于安装在烟气出口位置,调温塔内部上方设有喷淋机构,调温塔底部具有承接喷淋机构喷出的液体并对液体进行固液分离二次利用的承接部;本发明烟气在调温塔内形成“S”形线路移动,此时通过漏水孔不断流出的液体与高温烟气能够实现充分接触,提高降温效果,将固体混合物通过三个接水盘分离处理,从而减少整体放在一个独立分离器分离,而通过三种不同精度和功率的分离器,从而提高分离效率。

标签:
固废
山东 - 枣庄 来源:中冶有色网 2023-03-19
废变压器油的再生制备方法

本申请涉及变压器油加工的技术领域,公开了一种废变压器油的再生制备方法,主要包括以下步骤:步骤S1:酸洗:向处理罐中添加酸性溶液,对废变压器油进行酸洗得到M1;步骤S2:调平:向处理罐中加入碱性溶液,对M1进行碱洗,并将M1的PH调至6‑8.5得到M2;步骤S3:脱硫:向处理罐中添加脱硫剂,利用脱硫剂对M2中的含硫杂质进行吸附得到M3;步骤S4:加热:通过处理罐对M3进行加热,对M3中的水分进行蒸发得到M4;步骤S5:过滤:将处理罐中的M4输送进入板框过滤机,利用板框过滤机对M4中的固体杂质进行过滤,得到可以再次使用的变压器油。本申请具有减少资源浪费的效果。

标签:
固废
山东 - 济南 来源:中冶有色网 2023-03-19
提高胶乳废水提取物吸附容量的方法

一种提高胶乳废水提取物吸附容量的方法,其特征在于,包括以下步骤:将水性胶乳生产废水去除悬浮物后混合均匀,加入高价金属离子,搅拌反应5‑30min,形成不溶性固体胶乳粒子提取物;分离出提取物;脱水,破碎;将提取物低温干燥,形成多孔状提取物;将干燥后的胶乳粒子提取物在N2保护下以10℃/min的升温速率升温至600‑800℃,炭化处理1‑4h,降至室温取出提取物破碎成100‑200目左右的颗粒状;用0.5‑1mol/L的酸溶液溶出高价金属离子后水洗去除,至洗液为中性后过滤并烘干,得到最终产物,提高吸附容量。

标签:
固废
山东 - 青岛 来源:中冶有色网 2023-03-19
医疗垃圾废液缸
医疗垃圾废液缸 855     
 0

本实用新型提出一种医疗垃圾废液缸,包括:外桶,其内壁上设有一圈环形承托件,其外壁上设有把手,该外桶侧壁的底端设有排液阀;内桶,其放置于承托件上,所述内桶的外侧壁上对称设有一对把手,上述把手位于外桶上方;该内桶的外侧壁顶部设有外螺纹;该内桶的桶底中心处设有一通孔,所述通孔上设有一排液管;内桶盖,其内壁设有与内桶外螺纹配合的内螺纹。本实用新型通过在内桶桶底上设置通孔,在通孔上设置排液管,如试验结束后,将试验废液通过排液管倒入外桶内,然后将使用后的枪头及样本管等放在由排液管与内桶侧壁围成的区域内,当区域内盛满固体垃圾时,将内桶盖盖合在内桶上,可将盖合的内桶直接投掷到垃圾袋中,并且枪头不会散落。

标签:
固废
山东 - 青岛 来源:中冶有色网 2023-03-19
农牧场有机废弃物循环利用系统

农牧场有机废弃物循环利用系统,包括农场、养殖场、液体有机肥厂、固体有机肥厂四个单元,每个单元设置有输入和输出;其特征在于:系统中包含两个子循环系统,两个子循环系统的起点和终点均为农场,两个子循环系统分别为:①、液肥生产子循环系统,②、固肥生产子循环系统,固肥生产子循环系统包含三个有机物质循环链;两个子循环系统包含同时处于两个子循环系统中的共有单元,共有单元的输出,在所涉及的两子循环系统中共享;本实用新型实现了真正意义上的农牧业有机废弃物循环利用;尤其是粪水的加工利用,解决了长期困扰人们的一道难题,实现了粪水的无害化利用;系统内生产的产品均是绿色、有机、生态无公害的。

标签:
固废
山东 - 济宁 来源:中冶有色网 2023-03-19
有机废弃物资源化集成装置

本实用新型公开了一种有机废弃物资源化集成装置,包括预处理系统、高浓度厌氧发酵系统、沼液净化系统、好氧发酵系统、沼气净化系统和控制系统。装置储液仓中的粪污水自流进入预发酵仓,固体废弃物经粉碎后进入预发酵仓,物料均质预发酵后泵入一级厌氧发酵仓,两级厌氧发酵仓之间设自流口,且均设搅拌装置和加热管。厌氧发酵后经固液分离,沼渣落入好氧发酵仓内堆肥,沼液自流至沼液暂存仓。通过集气管道将装置前端的臭气收集并输送至好氧发酵仓为沼渣发酵提供曝气,并利用仓内已腐熟良好的沼渣吸附臭气分子。厌氧发酵产生的沼气经净化后暂存于柔性气柜,供发电使用。本实用新型具有集成程度高、占地面积小、运行成本低、不产生臭气等优点。

标签:
固废
山东 - 济南 来源:中冶有色网 2023-03-19
上一页 515 516 517 518 519 ... 2000 ... 2016 下一页
共2016页    到第

中冶有色为您提供最新的山东有色金属理论与应用信息,涵盖发明专利、权利要求、说明书、技术领域、背景技术、实用新型内容及具体实施方式等有色技术内容。打造最具专业性的有色金属技术理论与应用平台!

全国热门有色金属设备推荐
展开更多 +
全国热门有色金属技术推荐
展开更多 +

 

江西省隆恩特环保设备有限公司
宣传

报名参会
更多+

报告下载

有色专家
更多+

中国科学院赣江创新研究院
院长
武汉科技大学
校学术委员会主任 / 教授
北京科技大学
主任/教授
辽宁忠旺集团
教授级高工
中南大学、中国工程院
院士
赤泥综合利用研究报告2025
推广

热门技术
更多+

推荐企业
更多+

福建省金龙稀土股份有限公司
宣传

发布

在线客服

公众号

电话

顶部
咨询电话:
010-88793500-807