青岛垚鑫智能科技有限公司
宣传

位置:中冶有色 >

有色技术频道 >

分类:
全部
矿山技术
冶金技术
材料制备及加工技术
环境保护技术
分析检测技术
地区:
全部
北京
天津
上海
重庆
河北
山西
辽宁
吉林
黑龙江
江苏
浙江
安徽
福建
江西
山东
河南
湖北
湖南
广东
海南
四川
贵州
云南
陕西
甘肃
青海
内蒙
广西
西藏
宁夏
新疆
其他
其他
展开
 
全部
郑州
开封
洛阳
平顶山
安阳
鹤壁
新乡
焦作
濮阳
许昌
漯河
三门峡
商丘
周口
驻马店
南阳
信阳
济源

河南有色金属理论与应用

免费发布技术信息>>
锂电池的定位装置及其定位机械手

本实用新型涉及一种锂电池的定位装置及其定位机械手,该定位装置包括机架,机架上安装有定位机械手,定位机械手包括固定架,固定架上设置有可水平移动的拨动件,拨动件上设置有用于与锂电池挡止配合的拨动面。这种锂电池的定位装置通过自动化控制定位机械手,定位机械手可以快速准确的将多个电池槽中的锂电池移动到设定的位置,与传统的人工手动移动锂电池到设定的位置相比,这种定位装置能够方便快速的移动锂电池到设定位置,极大地提高了生产效率,实现了锂电池检测的自动化。

标签:
加工技术
河南 - 焦作 来源:中冶有色网 2023-03-18
锂电池生产用传输装置
锂电池生产用传输装置 1206     
 0

本实用新型涉及锂电池生产技术领域,尤其涉及一种锂电池生产用传输装置,解决了现有技术中锂电池生产时用的传输装置,在传输汇集的过程中没有缓冲结构,容易使锂电池在传输过程中的碰撞,造成锂电池内部元件损坏的情况发生的问题,包括底板、传输带、连接隔板、连接装置、液压杆和减震板,所述底板的上端焊接设置有一对相互平行的安装板,且所述安装板相互靠近的一端侧壁均螺钉固定有液压杆,所述液压杆的一端螺钉固定在连接隔板上,所述连接隔板的一端侧壁安装设置有连接装置,控制第一电机和第二电机的通电启动,带动旋转杆和皮带辊的转动,使传输带可以做循环运转,对放置在其上端的锂电池进行输送,带到对锂电池生产过程中的输送作用。

标签:
加工技术
河南 - 驻马店 来源:中冶有色网 2023-03-18
锂离子动力电池用负极材料的制备方法

本发明涉及一种锂离子动力电池用负极材料的制备方法,属于锂离子电池技术领域。该方法包括如下步骤:1)将石墨材料或中间相碳微球或沥青热解碳加入掺杂剂溶液中,温度为10-80℃,浸渍5-60h,过滤,烘干,得掺杂前驱体;所述掺杂剂为水溶性锂化合物或水溶性锂化合物和过渡金属盐;2)将步骤1)制得的掺杂前驱体与包覆碳源混匀,在保护气氛下,800-2800℃保温2-20h,冷却,即得;所述包覆碳源与所述掺杂前驱体的质量比为0.5-20:100。本发明的锂离子动力电池用负极材料的制备方法,提高了负极材料的导电性,并减少了不可逆锂损失,提高了负极材料的比容量和循环性能。

标签:
加工技术
河南 - 洛阳 来源:中冶有色网 2023-03-18
锂离子电池热失控早期预警系统

本实用新型公开了一种锂离子电池热失控早期预警系统,涉及锂电池检测技术领域,包括防护外壳和锂离子电池本体,所述防护壳盖的中部设置有防尘滤网,所述防尘滤网的中部固定安装有微型蜂鸣器,所述防护外壳的内部设置有放置座,所述横杆的两端均与防护外壳的内侧壁固定连接,所述放置座与横杆之间设置有缓冲机构,所述缓冲机构包括剪式移动杆、第一滑块、第二滑块和缓冲弹簧,所述锂离子电池本体的上端固定连接有气密性装置。通过气密性装置和探测元件的配合设置,当锂离子电池本体发生过热情况时,探测元件对气密性装置内部的参数信号并将参数信号输送至警示灯和微型蜂鸣器,提醒人们及时对锂离子电池本体进行检查。

标签:
加工技术
河南 - 南阳 来源:中冶有色网 2023-03-18
负极片、制备方法及采用该负极片的锂离子电容器

本发明公开了一种负极片、制备方法及采用该负极片的锂离子电容器,该负极片包括集流体和设在集流体上的极耳;集流体的一侧或两侧设有负极活性物质层,所述负极活性物质层表面设有锂金属层,该锂金属层与所述极耳电接触。本发明的负极片,在负极活性物质层表面设有锂金属层,且该锂金属层与极耳电接触;该负极片利用锂金属层进行负极补锂,电解液能够快速浸润;锂金属层与极耳直接电接触,全部锂金属都能与负极极片实现电化学短路,电子传输路径短,补锂效率高;在应用于锂离子电容器制成卷绕式或叠片式电芯时,每层负极极片都能均匀的嵌锂,进而提高了正负极活性物质的利用率。

标签:
加工技术
河南 - 洛阳 来源:中冶有色网 2023-03-18
含纳米颗粒的锂基润滑脂及其制备方法

本发明属于润滑剂制备技术领域,具体涉及一种含纳米颗粒的锂基润滑脂及其制备方法。含纳米颗粒的锂基润滑脂,其重量百分含量组成为:通用锂基润滑脂97-99%、纳米SiO2?0.5-1.5%和纳米MoS2?0.5-1.5%。按重量百分含量组成,称取通用锂基润滑脂、纳米SiO2和纳米MoS2;将纳米SiO2和纳米MoS2超声分散在乙醇中;将分散好的纳米SiO2和纳米MoS2连同乙醇一起加入到通用锂基润滑脂中,混匀,即得成品。本发明以通用锂基润滑脂为基准,添加纳米SiO2和纳米MoS2颗粒,使得改性后获得的润滑脂的抗磨性更好,承载能力更强。

标签:
加工技术
河南 - 郑州 来源:中冶有色网 2023-03-18
锂离子电池无害化处理方法及系统

本发明涉及一种锂离子电池无害化处理方法及系统,属于锂离子电池技术领域。本发明的锂离子电池无害化处理方法包括如下步骤:将锂离子电池破碎,得到锂离子电池破碎料;将所得锂离子电池破碎料置于密闭反应腔内抽真空处理,然后对锂离子电池破碎料进行蒸汽反应处理,反应后抽真空处理;蒸汽反应处理过程中收集蒸汽反应产生的气体。锂离子电池无害化处理系统包括用来将锂离子电池进行破碎的安全破碎系统,蒸汽反应系统,所述蒸汽反应系统包括用来供锂离子电池破碎料进行反应的密闭的蒸汽反应腔,所述蒸汽反应腔上设置有蒸汽进口及尾气出口。本发明的锂离子电池无害化处理方法和装置能够实现锂离子电池的彻底无害化,具有较高的电解液去除率。

标签:
加工技术
河南 - 洛阳 来源:中冶有色网 2023-03-18
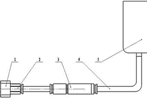
锂电池内部气体收集装置

本实用新型涉及一种锂电池内部气体收集装置,包括连接头、气管、单向阀和气体收集器,所述连接头用于连接锂电池出气口,所述气管两端分别连接所述连接头和气体收集器,气管中串设有单向阀,气体通过该单向阀流入气体收集器中;本实用新型通过连接头与锂电池出气口相连,并在气管中串设单向阀,当锂电池内产生大量的气体,锂电池内部的气压大于外部的气压时,气体从锂电池内流出,通过气管进入气体收集器,单向阀阻止气体回流,从而使气体存储于气体收集器中,该装置安装简单、操作方便、且能防止气体倒流。?

标签:
加工技术
河南 - 洛阳 来源:中冶有色网 2023-03-18
锂离子固体电解质及其制备方法

本发明涉及一种锂离子固体电解质及其制备方法,属于锂离子电池技术领域。本发明的锂离子固体电解质,化学组成为LiaNabR(3‑a‑b)/2ApB1‑pXmY1‑m;式中,R选自+2价的金属离子,A、B独立选自SO42‑、SeO42‑中的一种,X、Y独立选自‑1价的氯离子、氟离子中的一种,2.45≤a≤3,0≤b≤0.45,0≤(3‑a‑b)/2≤0.05,0≤p≤1,0≤m≤1。本发明的锂离子固体电解质,具有优良的锂离子电导性和热力学稳定性,具有三维等同的超快离子传输能力,扩散激活能更低,锂离子电导率更高,且与锂离子电池电极具有良好的电化学兼容性。

标签:
加工技术
河南 - 郑州 来源:中冶有色网 2023-03-18
提高磷酸铁锂电池一致性筛选方法

一种提高磷酸铁锂电池一致性筛选方法,包括以下步骤:对锂电池进行0.5~1C恒流放电,截止电压为2500mV;搁置5~20分钟;再次对锂电池进行0.2~0.3C恒流放电,截止电压为2000mV;搁置2~5分钟;对两次恒流放电的锂电池以0.2~0.3C较小电流恒流充电至3~8%SOC;搁置12~36h;对锂电池进行OCV电压测试;按照0.5~2Ah以内的容量极差和10~30mV以内的压差对锂电池进行分档;将同一档内锂电池的出货SOC调整为相同SOC。本发明可有效改善动力电池组在充放电时的末端压差,提高电池组动态一致性。

标签:
加工技术
河南 - 新乡 来源:中冶有色网 2023-03-18
锂电池供电的校准电焊机上电流电压表装置

一种锂电池供电的校准电焊机上电流电压表装置,包括校准装置本体,其后面板上设置有电压输入端子、电流输入端子、锂电池充电端子、校准装置保险等;校准装置散热口设置在校准装置本体两侧;校准装置提手设置在校准装置本体的前面板两侧,前面板设置有校准装置电源开关、校准装置电源指示灯、信号转换开关。锂电池固定在校准装置本体的底板上,导轨固定在校准装置本体的底板上,直流电流传感器、交流电流传感器,直流电压传感器、交流电压传感器、电压采集模块、电流采集模块卡在导轨上。电压传感器、电流传感器、数据采集模块、无纸记录仪采用锂电池供电,解决了工作现场给校验仪供电不方便以及220V电压波动对校验仪造成损伤的问题。

标签:
加工技术
河南 - 洛阳 来源:中冶有色网 2023-03-18
锂电池注液孔清理装置

锂电池注液孔清理装置,有效的解决了锂电池注液孔清理不干净,影响产品质量等问题,其包括机架,机架底端设有多个限位块,限位块之间安装有锂电池,锂电池上设有注液孔,机架内上下滑动连接有横板,横板内均布设有多个竖直方向的转动轴,转动轴下端同轴固定有与注液孔上下对应的圆盘,圆盘下端固定有吸液棉,横板上固定有与转动轴同轴固定连接的微型电机,横板上端固定有方形框,机架上端固定有气缸,气缸内设有活塞杆,活塞杆下端与方形框固定连接。

标签:
加工技术
河南 - 郑州 来源:中冶有色网 2023-03-18
锂电配料涂布用具有称重功能的上料装置

本实用新型涉及锂电池制造技术领域,具体为一种锂电配料涂布用具有称重功能的上料装置,一种锂电配料涂布用具有称重功能的上料装置,包括移动底座,所述套筒内滑动连接有活塞杆,所述套筒侧壁上设有与活塞杆配合用于限制活塞杆滑动的限位组件,所述活塞杆顶端设有顶壁缺失的配料壳,所述配料壳内侧壁上转动连接有配料板,所述配料板上间隔设有三组称重台,通过驻停装置对移动底座的位置进行限位后,将搅拌设备置于移动底座上,根据搅拌设备的高度来对配料壳的高度进行调节,通过调节活塞杆的高度来带动配料壳的高度,增加输料效率,将生产锂电池所需材料分别置于三组称重台上,通过三组称重台来确定配制所需材料的重量。

标签:
加工技术
河南 - 平顶山 来源:中冶有色网 2023-03-18
锂电池智能充电装置
锂电池智能充电装置 1072     
 0

本发明涉及一种锂电池智能充电装置,包括连接处理器的电源,处理器控制连接充电计时电路,充电计时电路电连接充电单元,在充电计时电路和充电单元之间的线路上设有控制开关A,充电单元电连接安装有锂电池的电池插座,处理器控制连接电压检测电路,电压检测电路电连接控制单元,制单元电连接电池插座,在控制单元和电池插座之间的线路上还设有控制开关B,控制开关B由控制单元控制开合关。本发明的优点:当需要充电时,通过充电单元对锂电池进行充电,当锂电池的电量充满时,控制单元使得控制开关B断开;当线路出线问题时,通过充电计时电路所得到的信号断开控制开关A,使得锂电池与电源断开,起到断电保护作用,使得锂电池与电源断开。

标签:
加工技术
河南 - 新乡 来源:中冶有色网 2023-03-18
锂离子电池废液过滤净化装置

本发明公开了一种锂离子电池废液过滤净化装置,包括第一箱体,所述第一箱体顶部的左侧连通有第一进料管,所述第一箱体的内部固定连接有第一过滤板,所述第一箱体的底部固定连接有第二箱体,所述第二箱体的左侧设置有过滤器。本发明通过第一箱体、第一进料管、第一过滤板、第二箱体、过滤器、第三箱体、电机、第一齿轮、第二齿轮、旋转杆、支撑杆、混合桨、挡板、出料管、第二过滤板、排水管和第二进料管的设置,使锂离子电池废液过滤净化装置具有净化效果好的优点,提升了净化装置的净化效率,降低了锂离子电池废液的净化成本,同时解决了传统的锂离子电池废液过滤净化装置净化效果差的问题。

标签:
加工技术
河南 - 许昌 来源:中冶有色网 2023-03-18
锂离子电池高安全隔膜及其制备方法和应用

本发明公开了一种锂离子电池高安全隔膜及其制备方法和应用,属于电化学电池隔膜技术领域。锂离子电池高安全隔膜的制备方法包括:将纳米弹性体与高分子材料混合均匀后加入造孔剂、塑化剂,加热得到混合物熔体,然后依次经挤出流延、双向拉伸、热定型后得到在高分子膜上分散着纳米弹性体的隔膜材料;隔膜材料上的纳米弹性体随着环境温度的升高体积逐渐膨胀,当达到一定温度时,膨胀的纳米弹性体致使隔膜的孔径逐渐变小,直至锂离子不能通过,电化学反应停止;当环境温度降低时,纳米弹性体逐渐收缩,隔膜纳米微孔逐渐恢复,电化学反应继续进行,最终实现“开关”孔隙的效果,有效提高锂离子电池在充放电过程中的安全性和可靠性。

标签:
加工技术
河南 - 新乡 来源:中冶有色网 2023-03-18
废锂电池处理系统
废锂电池处理系统 876     
 0

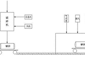
本实用新型公开了一种废锂电池处理系统,属于废电池处理领域,包括锂电池废料输料装置、破碎机、气流分选筛、粉碎机、分析机、第一分级筛、第二分级筛、第一比重分选机、第二比重分选机、引风机、集料器以及脉冲净化器。锂电池废料输料装置输出端连接破碎机,破碎机输出端连接气流分选筛,气流分选筛一输出端通过引风机连接到集料器一,气流分选筛另一输出端连接粉碎机,粉碎机输出端连接分析机,分析机一输出端连接第一分级筛、另一输出端经引风机连通集料器二。本实用新型系统完整,一套系统可实现废锂电池的回收、分离的完整操作,无需其他设备配合,钴、铝分离彻底、纯度高,自动化程度高,生产效率快。

标签:
加工技术
河南 - 郑州 来源:中冶有色网 2023-03-18
耐低温的磷酸铁锂电池
耐低温的磷酸铁锂电池 1008     
 0

本实用新型提供一种耐低温的磷酸铁锂电池,属于的磷酸铁锂电池技术领域,该一种耐低温的磷酸铁锂电池包括电池盒和盒盖,所述电池盒四周外壁设置有保温板,盒盖一侧外壁加热板,盒盖插接在电池盒四周内壁,一个保温板一侧外壁开有第二放置槽;本实施例通过设置有加热板,当电池温度较低时,给电池加热,在电池盒四周内壁上设置有保温板,用于对电池进行保温,保持电池盒内温度的恒定;通过设置有电动推杆,当电池盒内温度较高,通过电动推杆的伸缩将第一固定板顶出,能够及时将电池盒内的热量散出,防止由于磷酸铁锂电池长期处于高温状态下,导致寿命损耗;通过设置有把手,把手设置在第一放置槽内,方便拿取把手,移动整体装置。

标签:
加工技术
河南 - 南阳 来源:中冶有色网 2023-03-18
防水防漏液电动工具专用锂电池组

本实用新型公开了一种防水防漏液电动工具专用锂电池组,包括箱体,箱体顶部外壁的四周均开设有柱槽,且柱槽底部内壁的轴心处开设有插槽,箱体的顶部外壁上盖接有箱盖,且箱盖底部外壁的四周均焊接有柱台,柱台底部外壁的轴心处焊接有柱杆。本实用新型箱盖通过锁紧螺杆盖接在箱体的顶部,而柱台和柱杆分别插接在柱槽和插槽的内部,使得箱盖和箱体之间连接更加紧凑,同时密封垫有效的提升了箱体与箱盖之间连接的密封性,换热翅片板通过限位板和涡簧的作用滑动连接在翅片槽的内部,使得石墨烯散热板与锂电池本体相贴合,进而提升了锂电池本体在箱体内部的稳定性,同时使锂电池本体具有了很好的抗震作用。

标签:
加工技术
河南 - 新乡 来源:中冶有色网 2023-03-18
废旧磷酸铁锂正负极活性物质的分离回收方法

本发明属于二次资源回收与利用技术领域,具体涉及一种废旧磷酸铁锂正负极活性物质的分离回收方法,所述分离回收方法包括以下步骤:将废旧磷酸铁锂电池正负极活性物质置于运输皮带上并置于交流电下,并在交流电环境中添加一个静电场,废旧磷酸铁锂电池正负极活性物质实现分离。本发明磷酸铁锂与碳粉分离率可高达95%以上,分选精度高,而且清洁环保,分离回收成本低。

标签:
加工技术
河南 - 郑州 来源:中冶有色网 2023-03-18
锂离子电池隔膜用粘结剂、制备方法及使用该粘结剂的隔膜

本发明公开了一种锂离子电池隔膜用粘结剂、制备方法及使用该粘结剂的隔膜,该粘结剂包含以下重量份数的原料:水溶性聚合物0.5~1份、柔性链段单体1~10份、刚性链段单体1~10份、引发剂0.01~0.05份、增塑剂1~10份。本发明的锂离子电池隔膜用粘结剂,与无机物混合后用作锂离子电池隔膜的涂层材料,提高隔膜的热稳定性和抗热收缩性能,从而解决现有锂离子电池隔膜由于热稳定性差而导致的容易发生内部短路问题,使隔膜具有良好的安全性和耐过充性能;同时,粘结剂含有极性基团,与无机物紧密粘合,改善隔膜的润湿性和保液性;在具有刚性链段的同时引入柔性链段,从而改善其力学性能,保证其粘结力和隔膜的柔韧性。

标签:
加工技术
河南 - 洛阳 来源:中冶有色网 2023-03-18
锂离子扣式电池
锂离子扣式电池 1147     
 0

本发明公开了一种容量高、循环寿命长的锂离子扣式电池,包括正极壳、正极片、负极壳、电解液层、锂片、隔膜,还包括有泡沫镍负极片,由上到下依次为负极壳、泡沫镍、锂片、电解液层、隔膜、电解液层、正极片、正极壳。进一步优选方案,所述正极片为石墨正极片。进一步优选方案,所述正极片为二氧化锰正极片。本发明中的泡沫镍有弹性和导电性,有效保证了负极壳、泡沫镍、锂片、电解液层、隔膜、电解液层、正极片、正极壳之间能够有效接触,确保电池能正常使用。本发明结构的电池制作技术比现有制作技术制造出的电池合格率高。采用石墨正极片的电池,可以重复充电使用,电池的容量也有明显提高,循环寿命得到有效延长。

标签:
加工技术
河南 - 新乡 来源:中冶有色网 2023-03-18
锂电池极片生产消除粉尘用工作台

本实用新型公开了一种锂电池极片生产消除粉尘用工作台,包括工作台台面,所述台面上设置有除尘通孔,在台面下方布置有用于吸附粉尘通过除尘通孔以消除台面上粉尘的吸尘装置。本实用新型所提供的锂电池极片生产消除粉尘用工作台在台面上设置有除尘通孔,台面下为布置吸尘装置,这样当吸尘装置工作时,台面上的粉尘通过除尘通孔沉降,从而有效消除台面上的大量粉尘,降低锂电池的短路率,降低锂电池极片生产工序中所产生的粉尘对锂电池生产的影响,改善锂电池生产质量,减少粉尘对操作工的伤害,降低锂电池生产中质检工作的强度。

标签:
加工技术
河南 - 洛阳 来源:中冶有色网 2023-03-18
锂电池电芯烘烤专用夹具

本实用新型涉及锂电池生产设备技术领域,且公开了一种锂电池电芯烘烤专用夹具,包括两组烘烤座,两组所述烘烤座的左侧分别与若干组烘烤管的顶端和底端连通,所述烘烤管的左侧与分流管的右端连通,若干组所述分流管的左端均与总流管的右侧连通,所述总流管的前端和后端分别与两组堵头螺接。该锂电池电芯烘烤专用夹具,通过压缩弹簧的拉动,推板朝向限位板移动,进而使得两组滑杆相向移动,并且两组夹板将锂电池电芯夹紧在两组限位板的中部,进而使得锂电池电芯在烘烤过程中能够保持固定,通过两组烘烤座表面的出气孔输入热气流对锂电池电芯进行烘烤,使得锂电池电芯的烘烤较为均匀。

标签:
加工技术
河南 - 南阳 来源:中冶有色网 2023-03-18
电动汽车锂电池托盘型材

本实用新型公开了一种电动汽车锂电池托盘型材,具体涉及锂电池托盘技术领域,包括型材主体,所述型材主体顶部设有多个挤压板,所述型材主体内部设有螺纹杆,所述螺纹杆两侧均设有限位块,两个所述限位块底部均设有第一连接组件,所述螺纹杆外周面活动套设有多个滑块。本实用新型通过转动相应位置的两个螺纹套,从而解除对滑块的挤压固定,水平移动挤压板使得橡胶垫与锂电池模组相接触,反转相应位置的两个螺纹套从而对滑块进行挤压固定,进而使得相应位置的两个挤压板对锂电池模组进行挤压固定,同理对其他锂电池模组进行挤压固定,结构简单,方便对锂电池模组进行限位,锂电池模组不易脱落,使用效果好,同时适用范围广。

标签:
加工技术
河南 - 郑州 来源:中冶有色网 2023-03-18
包角可调的一体式锂电池极片分条刀架装置

本实用新型涉及圆柱充电电池制造领域,具体说是一种包角可调的一体式锂电池极片分条刀架装置;包括刀架本体,所述刀架本体内垂直上下设置有上刀辊和下刀辊,锂电池极片从所述上、下刀辊之间穿过,所述上、下刀辊相对滚动对锂电池极片进行裁切;还包括包角调节机构,所述包角调节机构对称固定设置于上、下刀辊裁切缝两侧的刀架本体上,所述包角调节机构的竖直高度与上、下刀辊裁切缝竖直高度对应设置;本实用新型的包角可调的一体式锂电池极片分条刀架装置,该刀架装置能够通过刀架本体两侧设置的包角调节机构调节压辊本体的上下浮动范围,来控制锂电池极片对下刀辊的包角大小,最终实现减少分切后极片的波浪边、掉粉等问题。

标签:
加工技术
河南 - 新乡 来源:中冶有色网 2023-03-18
柱式锂电池
柱式锂电池 1095     
 0

本实用新型是一种电池,它是由壳体、盖组、正极柱、锂片、底膜、边膜、正极碳包、盖膜和集流片连接而成,在壳体中,锂片、边膜、正极碳包依次圈叠,边膜位于锂片和正极碳包之间;底膜位于正极碳包下面,盖膜位于正极碳包上面;正极柱上点焊集流片,插入到正极碳包内;集流片下端呈锥状,其材质可采用不锈钢网、镍网等;壳体与盖组焊接且边缘平齐;本实用新型的优点是,集流效果好,大大提高柱式锂电池的产品质量和可靠性。

标签:
加工技术
河南 - 濮阳 来源:中冶有色网 2023-03-18
大容量锂电池包电源管理系统

本实用新型涉及一种大容量锂电池包电源管理系统,用于管理锂电池构成的电池包,所述电池包中包括若干个并联的电源模块,所述电源模块中包括相互连接的电源模块管理单元和电池组控制单元,每个所述电源模块连接一个第二充电机,所述大容量锂电池包电源管理系统包括与所述电源模块管理单元连接的电池包管理单元,所述电池包管理单元连接一个第一充电机,还包括用于快充/慢充模式切换、实现所述电源模块独立快充的选择单元。采用本实用新型所述的大容量锂电池包电源管理系统,解决了快充和慢充两种不同充电模式对于充电机和充电控制的差异化要求,在快充模式下可以降低断流均衡所使用的单刀双掷开关的工作电流要求,并保证充电管理的快速可靠响应。

标签:
加工技术
河南 - 郑州 来源:中冶有色网 2023-03-18
锂电池放电的装置
锂电池放电的装置 866     
 0

本实用新型公开了一种锂电池放电的装置,包括放电滚筒和传动设备,所述放电滚筒一端设置进料口,另一端设置出料口,所述放电滚筒内部设置有螺旋叶片,所述放电滚筒内部放置有固体颗粒导电介质,所述放电滚筒两端分别设置有滚道,一端设置有链轮,所述传动设备进一步包括减速电机和传动链,所述减速电机与所述传动链配合安装,所述传动链与所述链轮配合安装。采用了本实用新型的技术方案,不仅实现了锂电池残余电量的快速释放,而且能够使导电介质与锂电池自然分离,使锂电池的处理回收系统连续高效运转。

标签:
加工技术
河南 - 新乡 来源:中冶有色网 2023-03-18
隧道施工用锂电池牵引机车

本实用新型公开了一种隧道施工用锂电池牵引机车,所述车体中安放位于减速箱后方的交流电机,所述行走装置侧上方设置有减速箱,所述锂电池储能模块设置在车体中间部位交流电机的上部;所述制动装置设置在前后行走车轮之间,所述变频器位于操作控制系统的后方,其通过电缆线连接位于车体正上方的锂电池储能模块,锂电池储能模块上安装有动力航插、通信插件和多芯航插,其中动力航插供充电时使用,通信插件连接到驾驶的监视器上,多芯航插连接到整车电气系统上。本实用新型能够反复充电数十万次,寿命长、充电时间短、充电效率高且免维护。

标签:
加工技术
河南 - 郑州 来源:中冶有色网 2023-03-18
上一页 496 497 498 499 500 ... 993 下一页
共993页    到第

中冶有色为您提供最新的河南有色金属理论与应用信息,涵盖发明专利、权利要求、说明书、技术领域、背景技术、实用新型内容及具体实施方式等有色技术内容。打造最具专业性的有色金属技术理论与应用平台!

全国热门有色金属设备推荐
展开更多 +
全国热门有色金属技术推荐
展开更多 +

 

江西省隆恩特环保设备有限公司
宣传

报名参会
更多+

报告下载

有色专家
更多+

中国科学院赣江创新研究院
院长
南昌航空大学
副院长/教授
中国矿业大学
教授
中南大学
中国工程院院士
北京科技大学
教授
赤泥综合利用研究报告2025
推广

热门技术
更多+

推荐企业
更多+

福建省金龙稀土股份有限公司
宣传

发布

在线客服

公众号

电话

顶部
咨询电话:
010-88793500-807