青岛垚鑫智能科技有限公司
宣传

位置:中冶有色 >

有色技术频道 >

> 电冶金技术

分类:
全部
矿山技术
冶金技术
材料制备及加工技术
环境保护技术
分析检测技术
 
全部
火法冶金技术
湿法冶金技术
电冶金技术
真空冶金技术
地区:
全部
北京
天津
上海
重庆
河北
山西
辽宁
吉林
黑龙江
江苏
浙江
安徽
福建
江西
山东
河南
湖北
湖南
广东
海南
四川
贵州
云南
陕西
甘肃
青海
内蒙
广西
西藏
宁夏
新疆
其他
其他
展开
 
全部
南京
无锡
徐州
常州
苏州
南通
连云港
淮安
盐城
扬州
镇江
泰州
宿迁

江苏苏州有色金属电冶金技术理论与应用

免费发布技术信息>>
粉末冶金双联齿轮及其制备方法

本发明公开了一种粉末冶金双联齿轮,按质量份数,由以下粉末原料配方压制而成:水雾化铁粉100份、铜粉2.0-2.5份、石墨粉0.5-0.8份、镍粉2.0-3.0份、钼粉0.4-0.8份、铬粉1.0-1.5份、钴粉0.2-0.5份、微粉蜡0.5-0.8份;其制备步骤为:先对粉末原料进行分步混合,然后经压制、烧结、热处理、表面振动研磨后得到最终产品双联齿轮,生产出的粉末冶金双联齿轮具有高精度、高强度、高硬度等优点。

标签:
电冶金技术
江苏 - 苏州 来源:中冶有色网 2023-03-18
冶金矿机用防爆式离合器

本实用新型公开了一种冶金矿机用防爆式离合器,包括飞轮和罩壳,所述罩壳安装在飞轮的右端,所述飞轮左端外壁上连接有发动机连接座,所述罩壳右端中心处内部套接有分离轴承,所述飞轮右侧的罩壳内部设置有从动盘,本新型通过改进该冶金矿机用防爆式离合器上推动压盘进行复位的两个压簧结构,把传统的两个整根固定的压簧改进为两个新型的可变式压簧,而两个新型的可变式压簧在能够正常推动压盘向左活动的同时又能够通过调节自身位置来改变推力的大小,这样能够使得推动压盘向左压动摩擦片时两个可变式压簧的压力能够被精确控制,从而能够使得可变式压簧在向左推动压盘来带动摩擦片与飞轮接触时所产生的复位压力能够达到一个平衡值。

标签:
电冶金技术
江苏 - 苏州 来源:中冶有色网 2023-03-18
粉末冶金高效挤出装置
粉末冶金高效挤出装置 1156     
 0

本实用新型公开了一种粉末冶金高效挤出装置,包括上底板、左底板和右底板,其特征在于:所述上底板下表面设置安装有上底座,所述上底座下表面通过螺钉安装有凸模,所述左底板上表面设置安装有左底座,所述左底座上表面通过螺钉安装有左凹模,所述右板上表面设置安装有右底座,所述右底座上表面通过螺钉安装有右凹模。本实用新型是一种结构合理,加工高质高效,使用寿命较长的粉末冶金装置。

标签:
电冶金技术
江苏 - 苏州 来源:中冶有色网 2023-03-18
铝镁共混铜基粉末冶金复合材料及其制备方法

本发明公开了一种铝镁共混铜基粉末冶金复合材料及其制备方法,成分及各成分质量百分含量为:铝15%~25%,镁10%~15%,银0.25%~1.35%,钨0.6%~1.8%,钼0.18%~0.48%,锡0.05%~0.46%,二氧化硅1.2%~3.8%,碳化硅0.18%~1.56%,五氧化二磷0.25%~0.86%,余量为铜。在冶金粉末材料中添加二氧化硅、碳化硅和五氧化二磷,能有效提高制备得到的复合材料的韧性,并且可以降低材料密度,电阻率低,降低输送能耗,减少损失。

标签:
电冶金技术
江苏 - 苏州 来源:中冶有色网 2023-03-18
用于粉末冶金推杆式烧结炉的预热装置

本发明公开了一种用于粉末冶金推杆式烧结炉的预热装置,安装于脱蜡装置前端,所述用于粉末冶金推杆式烧结炉的预热装置包括炉体,所述炉体前端设有送料管,所述炉体包括加热区和预热区,所述加热区与所述预热区之间设有隔板,所述隔板通过炉体内设置的凹槽可以上下移动,所述隔板上面设有缝隙,所述加热区包括加热装置。本发明具有脱蜡功能和产品不易爆裂等特点。

标签:
电冶金技术
江苏 - 苏州 来源:中冶有色网 2023-03-18
粉末冶金原料用振动筛网

本实用新型属于冶金原料的相关领域,具体公开了一种粉末冶金原料用振动筛网,包括侧板,侧板设置有两个,每个侧板相对外侧的顶部均固定连接有连接座,连接座底部的一侧固定连接有固定板,固定板的一侧安装有转轴件,转轴件的一侧连接有转板。本实用新型采用转轴件,配合转板以及安装板,便于根据实际安装需求调节安装位置,十分方便,采用气缸,实现伸缩杆的伸缩,进而带动筛网的上下移动,实现物料筛选作业,在筛网上下移动过程中,滑块在滑槽处上下移动,使其移动更加稳定,导料斜板将物料始终导入至筛网处,而防溅板则避免工作时物料的飞溅,更加人性化,而筛网的四角处为圆角结构,避免物料被卡入至内壁的边角处,十分方便。

标签:
电冶金技术
江苏 - 苏州 来源:中冶有色网 2023-03-18
钢铁冶金行业精轧机润滑油用烧结金属纤维滤芯

本实用新型公开了一种钢铁冶金行业精轧机润滑油用烧结金属纤维滤芯,包括复合过滤材料层,该复合过滤材料层由至少两层烧结金属纤维毡组成,各层烧结金属纤维毡沿流体流入的方向孔径由大到小逐层递减,本实用新型的过滤材料层是多层结构的烧结金属纤维,过滤材料层是通过折波的方式来增加过滤面积,从而提高滤芯的流量,这种滤芯克服了传统玻纤滤芯耐水性差,纳污能力小和使用寿命短的缺点,特别适合钢铁冶金行业精轧机润滑油过滤净化,这种结构的滤芯也可以用于液压油过滤的精密滤芯。

标签:
电冶金技术
江苏 - 苏州 来源:中冶有色网 2023-03-18
抗氧化镁基复合材料及其粉末冶金制备方法

本发明公开了一种抗氧化镁基复合材料及其粉末冶金制备方法,按以下原料重量份数配比制成:碳化硅15-30份、钼粉12-25份、铜粉13-26份、镍粉11-27份、铁粉10-20份、钛粉2-12份、镁粉35-60份。上述各组分经混合、烧结、冷却即可获得一种抗氧化镁基复合材料。

标签:
电冶金技术
江苏 - 苏州 来源:中冶有色网 2023-03-18
冶金固废处理转底炉烟气系统防堵方法

本发明公开一种冶金固废处理转底炉烟气系统防堵方法,通过调控转底炉烟气系统内的温度及流场,尤其是将系统内的各个节点温度范围控制在能够同时避开产生高温沾堵及低温沾堵的温度范围,使得系统内不会产生高温沾堵及低温沾堵,解决了转底炉冶金粉尘固废处理锌铁回收过程中烟气系统堵塞的问题,可实现转底炉连续运行。

标签:
电冶金技术
江苏 - 苏州 来源:中冶有色网 2023-03-18
粉末冶金致密化零件及其制造工艺

本发明属于粉末冶金技术领域,具体涉及一种粉末冶金致密化零件及其制造工艺。该工艺主要包括以下步骤:该工艺主要包括以下步骤:(S1)配料、(S2)压制、(S3)烧结、(S4)整形多元致密、(S5)热处理。该工艺材料利用率高;模具直接成型,生产效率高;车削加工少;整体成本低;质量稳定性好。其中,多元致密整形工艺,即能将工件整体密度提高到7.4 g/cm3以上,又能将局部、表面提高到接近100%理论密度水平,工件机械性能显著提升,达到16MnCr5钢材95%左右强度。此外,针对实际工况要求苛刻的情况,例如外齿齿侧和齿根位置,该工艺可以把相应部位密度提高到7.6 g/cm3以上,有效深度大于0.15mm,达到大部分汽车高强度齿轮的使用要求。

标签:
电冶金技术
江苏 - 苏州 来源:中冶有色网 2023-03-18
耐高温粉末冶金连杆的制备方法

本发明公开了一种耐高温粉末冶金连杆的制备方法,铜粉60‑65份、硅化锆15‑25份、锡粉2‑8份、石墨4‑9份、纳米陶瓷粉10‑20份、氯化镓3‑8份、助剂4‑9份、纳米碳化钛6‑8份、氧化锰3‑6份、氮化硅4‑8份、氧化铍3‑5份,其中助剂由1,6‑己二醇二丙烯酸酯、氢化牛脂胺、铋酸钠按照重量比6:1‑4:4组成的。本发明制造的耐高温粉末冶金连杆具有硬度高、耐磨性好,配合稀土元素和纳米颗粒,改善了金相结构,组织致密,微观结构良好,孔隙很少,结构刚度、硬度、耐疲劳性能、抗拉强度性能优良。

标签:
电冶金技术
江苏 - 苏州 来源:中冶有色网 2023-03-18
粉末冶金用润滑剂及其制备方法

本发明提供了一种粉末冶金用润滑剂及其制备方法,该润滑剂包括:硬脂酸钡、硬脂酰乳酸钠、丙烯酰胺、过硫酸铵、石蜡、硼砂、甲基丙烯酸二甲胺基乙酯、三氯羟基二苯醚、烯丙基磺酸钠、N?苯基?α?萘胺、羧甲基淀粉、2,3?环氧丙基三甲基氯化铵、羟基亚乙基二膦酸、苯基三乙氧基硅烷。制备方法是先将各组分搅拌混合,再将混合物料依次进行真空加热和常温加热,最后研磨至粒径为300~500μm,即得。本发明的润滑剂具有优异的润滑性能,添加到铁基粉末冶金材料中后能显著改善材料性能。

标签:
电冶金技术
江苏 - 苏州 来源:中冶有色网 2023-03-18
粉末冶金渗铜零件的生产工艺

本发明公开了一种粉末冶金渗铜零件的生产工艺,包括以下步骤:根据零件特征,进行合理分模,使零件便于用粉末冶金技术成形;然后根据使用强度和材料特征,合理选用原材料,充分利用烧结渗铜进行焊接,使零件达到要求。采用本发明技术方案,生产出来的产品质量稳定可靠且工作效率提高了,与传统的机加工制造方式相比,生产周期和制造成本大大减少。

标签:
电冶金技术
江苏 - 苏州 来源:中冶有色网 2023-03-18
加工粉末冶金多台阶零件的模具

本发明公开了一种加工粉末冶金多台阶零件的模具。其包括凹模和冲头模具组件,凹模包括凹模本体和用于固定零件的模套,模套开设有第一通孔,冲头模具组件包括第一冲头模具、第二冲头模具、第三冲头模具、第四冲头模具和第五冲头模具,第二冲头模具位于第一通孔上方,且开设有供第一冲头模具进入的第二通孔,第三冲头模具位于第一通孔下方,且开设有供第四冲头模具进入的第三通孔,第四冲头模具开设有供第五冲头模具进入的第四通孔。本发明的模具可同时对粉末冶金多台阶零件进行加工、一次成形、加工尺寸精确、成本降低。

标签:
电冶金技术
江苏 - 苏州 来源:中冶有色网 2023-03-18
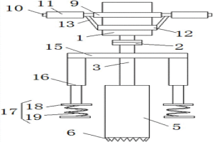
粉末冶金磁力开关静铁芯成型用模具

本实用新型公开了粉末冶金磁力开关静铁芯成型用模具,其包括模具座,所述模具座为环状,所述模具座内侧具有两个柱状凸出块,所述模具座内部设置有环状的上模和下模,所述上模、下模表面均设置有两个滑动凹槽,所述凸出块位于滑动凹槽内,在所述模具座内,所述上模、下模沿凸出块上下运动;所述上模的底端面设置有环状突出肋,所述上模内部具有上顶轴;所述下模的内侧设置有底模,所述底模的上端面具有下顶轴,在所述底模的上端面上,所述下顶轴外具有环形槽,所述下顶轴插在上顶轴内;本实用新型的模具各部位相互上下嵌套拼装而成,定位精度高,采用粉末冶金工艺制造的产品精度高,光洁度好,模具部件上下移动便可以实现成型,速度快,生产效率高。

标签:
电冶金技术
江苏 - 苏州 来源:中冶有色网 2023-03-18
快速散热的陶瓷粉末冶金模具

本实用新型公开了冶金模具领域的一种快速散热的陶瓷粉末冶金模具,包括工作箱,工作箱上端安装有支撑架,支撑架底端设置有空腔,工作箱后端安装有固定板,通过液压油缸和物料块将物料块内部物料输送至空腔内部,由气缸底端的压块将物料按压成型,再由工作箱内部设置的输送杆将成型物料顶出输送,有效提高装置自动化加料生产和工作效率,节约人工成本,节省人力物力;通过在输送台内壁两侧均安装冷气带,冷气带两侧均连通有冷气管,冷气管底端连通有冷气装置,将加热处理的物料进行降温散热处理,将物料快速降温,避免温度过高影响生产,同时将温度降低有利于保护工人收取物料安全不会烫伤,有效提高装置安全性。

标签:
电冶金技术
江苏 - 苏州 来源:中冶有色网 2023-03-18
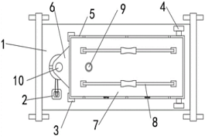
粉末冶金制品的运输容纳装置

本发明公开了一种粉末冶金制品的运输容纳装置,其特征在于,包括:箱体,箱体为方形,且其中有两相对的侧壁上均设置有一横向的第一滑槽以及若干纵向的第二滑槽,第二滑槽的顶部与第一滑槽连通,箱体内还设有第一隔板,第一隔板通过其两端各自设有的一凸块可沿该第一横槽滑动,凸块的宽度小于第二横槽的槽宽,第一隔板上端还设有若干第一凹槽,第一凹槽上卡接有第二隔板,第二隔板下端设有若干用于卡接第一隔板的第二凹槽。在本发明中,根据压坯的尺寸调节第一隔板和第二隔板间距,此时有第一隔板和第二隔板作为支撑固定,不会产生裂纹和掉边、掉角现象而且摆放有规律,不会产生滑落现象,装卸时,因为压胚被固定,所以也不会产生磕碰。

标签:
电冶金技术
江苏 - 苏州 来源:中冶有色网 2023-03-18
冶金离子膜电解槽
冶金离子膜电解槽 1176     
 0

本实用新型公开了冶金离子膜电解槽,包括电解槽本体,电解槽本体内壁的顶部固定安装有若干个阳极腔室,若干个电解槽本体上安装有若干个位于阳极腔室一侧的阴极板,若干个阳极腔室均包括阴极导电铜排、阴极铜排限位板、阳极导电铜排、阳极铜排限位板和隔板,隔板一侧的一端安装有阴极铜排限位板,阴极铜排限位板远离隔板的一侧安装有阴极导电铜排,隔板上安装有位于阴极铜排限位板一侧的阳极铜排限位板,本实用新型冶金离子膜电解槽,通过设置阳极腔室,利用隔板将阳极区和阴极区彻底分开,阳极区的溶液单独循环,阴极区的溶液单独循环,阳极区和阴极区的气体单独收集并利用,减少了在制作始极片的过程中金属的浪费。

标签:
电冶金技术
江苏 - 苏州 来源:中冶有色网 2023-03-18
超细冶金粉末的研磨装置

本实用新型涉及冶金粉末加工技术领域,具体揭示了超细冶金粉末的研磨装置,包括支撑架和置物框,支撑架的正面为“U”形结构,两个支撑架之间的中央设有研磨筒,研磨筒顶部的中央开设有入料口,研磨筒内壁底部的中央固定连接有筛选板,研磨筒内壁左右两侧的中央均固定连接有第二轴承,置物框左右两侧的顶部均固定连接有连接柱,连接柱远离置物框的一侧固定连接有固定柱,两根固定柱分别与两个第二轴承的内环相固定连接,置物框的顶部铰接有筛选框,筛选框的顶部开设有筛选网孔;本实用新型能够在研磨过程中对物料进行筛选,避免大颗粒物料埋入粉末状物料的现象发生,极大的提高了研磨效率。

标签:
电冶金技术
江苏 - 苏州 来源:中冶有色网 2023-03-18
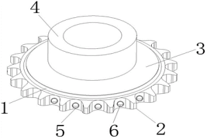
自润滑式粉末冶金齿轮
自润滑式粉末冶金齿轮 1025     
 0

本实用新型提供了自润滑式粉末冶金齿轮,包括轮体、齿体以及盖体,轮体的一侧开设有过油槽,与过油槽相通开设有若干个出油槽,出油槽包括有活动槽以及位于活动槽两端的流通槽;活动体,活动体活动连接于活动槽,活动体的侧部开设有过流槽,过流槽的长度方向与活动体的活动方向相同,且过流槽的两端均贯穿活动体的两侧,过流槽正对于活动槽贴合于盖体的一侧;位于活动体两侧的弹性件以及传动件,传动件远离活动体的一端可位于齿体的外部或内部,弹性件远离活动体的端部抵触于活动槽的内壁,传动件与流通槽的内壁之间留有设定间隙;导油筒,导油筒连接于盖体的中部,且导油筒与过油槽相通。本实用新型提供的自润滑式粉末冶金齿轮能够降低人工成本。

标签:
电冶金技术
江苏 - 苏州 来源:中冶有色网 2023-03-18
铁基粉末冶金摩擦材料及其制造工艺

本发明涉及一种铁基粉末冶金摩擦材料及其制造工艺,各组份以重量计包括铁50%-60%,铜15%-20%,锰1%-3%,石墨3%-5%、氧化锆1%-2%,氧化硅3%-6%,碳化硅2%-3%以及2%-3%的聚烯烃基聚合物。其制造工艺为:首先按照配比铁粉和铜粉组分原料充分混合,静置1-2小时后再加入剩余原料机混30分钟,过筛。将混合好的粉料按照规格压模成压坯,压坯单位面积承受的压制压力为300-500MPa。在通氢气的条件下升温至800-900度,保持2-3小时,保持烧结压力8-10MPa,最后降温至80度以下出炉,得到铁基粉末冶金摩擦材料。本发明克服了现有技术中材料磨损较大,易断裂,摩擦系数不稳定等技术缺陷。

标签:
电冶金技术
江苏 - 苏州 来源:中冶有色网 2023-03-18
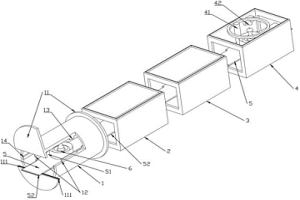
粉末冶金转子加工用能够自动上料的运输装置

本实用新型公开了一种粉末冶金转子加工用能够自动上料的运输装置,包括支撑杆,所述支撑杆的内壁与第一电动机的表面固定连接,所述支撑杆的一侧与固定杆的表面固定连接,所述支撑杆的侧面开设有转孔,所述转孔的内壁与第一电动机的输出端滚动连接,所述第一电动机的输出端与转杆的一端固定连接,所述转杆的表面与凸轮的内壁固定连接。该粉末冶金转子加工用能够自动上料的运输装置,通过启动第二电动机,第二电动机的输出端使活动轮转动带动传送带传动,转子落至L型板的表面,启动第一电动机,第一电动机的输出端带动转杆转动,使凸轮顶动L型板的一端,从而转子滑落至运输箱壳的内部,达到了自动上料的效果。

标签:
电冶金技术
江苏 - 苏州 来源:中冶有色网 2023-03-18
粉末冶金自动下料机构
粉末冶金自动下料机构 1037     
 0

本实用新型公开了一种粉末冶金自动下料机构,包括:取料机构、自动翻转机构和输送过渡机构,所述取料机构包括电动滑台模组、第一气缸和用于吸附工件的第一吸附装置,所述第一气缸固定安装在所述电动滑台模组的横移滑块上,所述第一吸附装置与所述第一气缸连接;所述自动翻转机构包括第一电机、由所述第一电机驱动旋转的第一转盘、安装在所述第一转盘上的第二气缸和与所述第二气缸连接的第二吸附装置;所述输送过渡机构包括第二电机、由所述第二电机驱动旋转的第二转盘和档条,所述档条安装在所述第二转盘顶部并弯曲形成下料通道。本实用新型一种粉末冶金自动下料机构,可有效防止对工件造成损伤,提高工作效率,保障生产有序进行。

标签:
电冶金技术
江苏 - 苏州 来源:中冶有色网 2023-03-18
粉末冶金汽车座椅无极手动调角器限位块

本实用新型公开了一种粉末冶金汽车座椅无极手动调角器限位块,包括管状主体(1),所述主体(1)内侧设置有轮齿(2),主体(1)外设置有竖向固定槽(3)和竖向加强筋(4);主体(1)一端具有裙边(7),在裙边(7)上,主体(1)外设置有阶梯状凸出块(5),凸出块(5)具有多个方向一致的限位齿(6);在裙边(7)背面,限位齿(6)位置处分别具有凹面(10);在限位齿(6)外,裙边(7)表面设置有圆弧槽(11);本实用新型的限位块采用粉末冶金工艺制造,具有较高的轮廓精度和强度,针对手动无级调角器,强度高、间隙和体积小、解锁和组装方便、加工精度要求及成本低。

标签:
电冶金技术
江苏 - 苏州 来源:中冶有色网 2023-03-18
用于粉末冶金的原料混合装置

本实用新型提供一种用于粉末冶金的原料混合装置,包括:底座;所述混合装置固定安装于所述底座顶部的一侧,所述混合装置包括安装柱,所述安装柱的一侧设置有活动槽,所述活动槽的中间设置有安装腔,所述安装腔的内部固定安装有电机,所述电机输出轴的一端固定安装有转动板;混合桶,所述混合桶固定安装于所述转动板的一侧。本实用新型提供一种用于粉末冶金的原料混合装置,通过电机输出轴转动带动混合桶转动,带动混合桶转动对内部多种原料搅拌混合,风机吹出的风被吹风腔扩散,将混合腔和送料腔表面沾染的粉末吹入收集带中,方便对混合桶的内腔壁上沾染的粉末进行收集,无需工人人工清理,减轻了操作人员的工作量,降低了对原料粉末的浪费。

标签:
电冶金技术
江苏 - 苏州 来源:中冶有色网 2023-03-18
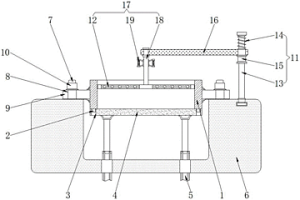
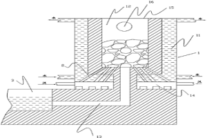
带冷却机构的粉末冶金模具

本实用新型公开了一种带冷却机构的粉末冶金模具,包括底板、粉末收集单元和冷却单元;底板:上表面中部设置有隔热板,所述隔热板的上表面设置有底座,所述底板的上表面设置有四个支撑柱,所述支撑柱两个为一组,所述支撑柱的上端连接顶板的下表面;粉末收集单元:包含有横板、紧固螺栓、电液推杆二、收集管、安装块、转动块、吸盘、安装板和移动组件,所述横板为两个且横板的两端分别连接在两组支撑柱上,横板的上表面开设有通槽,两个横板的相对侧面开设有滑槽,本装置能够对工作时多余的粉末材料进行收集利用,能够对冶金模具进行完全降温,保证降温的效果,有利于生产效率的提高,具有实用性。

标签:
电冶金技术
江苏 - 苏州 来源:中冶有色网 2023-03-18
粉末冶金自动排坯机
粉末冶金自动排坯机 1173     
 0

本实用新型公开了一种粉末冶金自动排坯机,包括:输送机构、排坯机构、堆垛机构和周转车,所述输送机构包括垂直分布的第一皮带输送机构和第二皮带输送机构,排坯机构包括第一推料装置和第二推料装置,所述第一推料装置设置在所述第一皮带输送机构一侧,所述第二推料装置设置在所述第二皮带输送机构一侧;堆垛机构包括机械手、升降机构和横移机构,所述升降机构安装在所述横移机构上,所述升降机构上安装有叉板,所述机械手能够将由所述第二推料装置成排推出的工件转移至所述叉板上。本实用新型一种粉末冶金自动排坯机,能够实现全自动化排坯操作,大大提高了工作效率,减少人工投入,降低生产成本。

标签:
电冶金技术
江苏 - 苏州 来源:中冶有色网 2023-03-18
用于粉末冶金注塑管状工件的萃取装载工装

本实用新型提供一种用于粉末冶金注塑管状工件的萃取装载工装,包括两端面开口的边框,所述边框的一开口端面镶嵌有钢丝网,另一开口端面卡扣有多根承载柱;所述承载柱的一端设有凸台,所述承载柱的两端分别通过设置在边框外的凸台和弹力夹固定在边框上,所述承载柱位于边框内的柱身上夹套管状工件。本实用新型能使粉末冶金注塑管状工件在萃取中不变形,且能保持完整良好的直线度,也不会使工件产生裂纹,大大提升了工件良率;同时该工装具有成本低、功能强、易操作、易清洗、使用寿命长等优点,可在管状工件的萃取工艺中大量运用。

标签:
电冶金技术
江苏 - 苏州 来源:中冶有色网 2023-03-18
深孔钻机用粉末冶金摩擦材料的制备方法

本发明提供了一种深孔钻机用粉末冶金摩擦材料的制备方法,先取碳化硅,加至氢氧化钠溶液浸泡,加热,保温,过滤后,将固体物烘干,于氨基树脂中浸泡,取出后用乙醇水溶液清净后烘干,得到改性碳化硅;再取氮化硼、水、丙二醇,混合,得到混合物;然后将改性碳化硅与混合物混合,烘干,球磨后,得到预制粉;最后将预制粉、硫化亚铜、锡粉、镍粉、硫化钼、钨粉、磷化铝、硫酸钡、大豆卵磷脂混合,放入冶金成形压力机中压制成型后烧结,即得。本发明的摩擦材料具有良好的力学性能和摩擦性能。

标签:
电冶金技术
江苏 - 苏州 来源:中冶有色网 2023-03-18
粉末冶金点火开关锁舌

本实用新型公开了一种粉末冶金点火开关锁舌,包括块状本体(1),本体(1)一端的两侧形成有第一伸出臂(2)和第二伸出臂(3),在第一伸出臂(2)、第二伸出臂(3)的外侧均设置有矩形槽(6),所述第一伸出臂(2)比第二伸出臂(3)长,第一伸出臂(2)长出第二伸出臂(3)的前端部分(5)低于本体(1)高度,本体(1)上端面与第一伸出臂(2)前端部分(5)的上端面之间通过斜面(4)连接,第二伸出臂(3)的上端面与本体(1)的上端面在同一平面上,第二伸出臂(3)的上端面与下端面之间距离小于本体(1)的上端面与下端面之间的距离,本实用新型结构结构简单,在保证正常功能的基础上,有利于粉末冶金的直接压制精密成形。

标签:
电冶金技术
江苏 - 苏州 来源:中冶有色网 2023-03-18
上一页 33 34 35 36 37 ... 43 下一页
共43页    到第

中冶有色为您提供最新的江苏苏州有色金属电冶金技术理论与应用信息,涵盖发明专利、权利要求、说明书、技术领域、背景技术、实用新型内容及具体实施方式等有色技术内容。打造最具专业性的有色金属技术理论与应用平台!

全国热门有色金属设备推荐
展开更多 +
全国热门有色金属技术推荐
展开更多 +

 

江西省隆恩特环保设备有限公司
宣传

报名参会
更多+

报告下载

有色专家
更多+

昆明理工大学
教授
赣州江钨钨合金有限公司
工程师
矿冶科技集团
中国工程院院士
长沙有色冶金设计研究院有限公司
正高级工程师/中国铝业首席工程师/全国有色金属行业设计大师/国家注册采矿工程师
中南大学
教授
赤泥综合利用研究报告2025
推广

热门技术
更多+

推荐企业
更多+

福建省金龙稀土股份有限公司
宣传

发布

在线客服

公众号

电话

顶部
咨询电话:
010-88793500-807