青岛垚鑫智能科技有限公司
宣传

位置:北方有色 >

有色技术频道 >

> 电冶金技术

分类:
全部
矿山技术
冶金技术
材料制备及加工技术
环境保护技术
分析检测技术
 
全部
火法冶金技术
湿法冶金技术
电冶金技术
真空冶金技术
地区:
全部
北京
天津
上海
重庆
河北
山西
辽宁
吉林
黑龙江
江苏
浙江
安徽
福建
江西
山东
河南
湖北
湖南
广东
海南
四川
贵州
云南
陕西
甘肃
青海
内蒙
广西
西藏
宁夏
新疆
其他
其他
展开
 
全部
南京
无锡
徐州
常州
苏州
南通
连云港
淮安
盐城
扬州
镇江
泰州
宿迁

江苏苏州有色金属电冶金技术理论与应用

免费发布技术信息>>
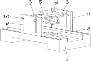
粉末冶金清洗干燥涂油自动线及其清洗干燥涂油方法

粉末冶金清洗干燥涂油自动线,包括机架,其特征在于,所述机架上顺次安装有清洗装置、烘干装置和涂油装置;所述清洗装置包括超生清洗槽,所述超生清洗槽的进料端和出料端分别安装有进料台和吹干风机,所述吹干风机与漩涡风机连接,超生振盒安装在超生清洗槽内,所述超生清洗槽的出料端安装有吸雾风机;本发明的有益效果:本发明设备经多次试验工艺、研发、设计,对规格微小,类似于米粒状态的产品清洗,干燥效果显著提高50%,比起行业内的设备及原系列设备,突出了清洁度、干燥度,使用户产品得到提高,适合推广使用。

标签:
电冶金技术
江苏 - 苏州 来源:北方有色网 2023-03-18
粉末冶金用锥孔式双锥混料装置

本发明涉及一种粉末冶金用锥孔式双锥混料装置,包括:左、右两个轴架,以及转轴安装在所述轴架上的双锥罐,左、右两个轴架上的转轴分别连接所述双锥罐的两个侧边,双锥罐中部的内壁上设置有锥孔板,锥孔板上密集排布有若干个锥孔,所述锥孔的大口和小口分别设置在锥孔板的两侧,相邻两个锥孔的大口朝向不同。本发明在现有技术的双锥混料装置的基础上,增加了锥孔板,这样无需增加多余的动力或传动机构就能够对不同层面上的粉末进行翻层,同时板结结块的粉末也能够通过孔隙被快速分解打散,翻转过程中从锥尖上坠落的粉末快速撞击锥孔板,打散效果更好;缺口的设置能够然已经粉末化的料尽快从缺口落下,而块状的则会落在锥孔板上。

标签:
电冶金技术
江苏 - 苏州 来源:北方有色网 2023-03-18
快速烧结粉末冶金制成铝基复合材料及其制备方法

本发明公开了一种快速烧结粉末冶金制成铝基复合材料及其制备方法,包括铝合金外囊和铝基复合材料层,所述铝合金外囊开设有中心沉孔,该中心沉孔内设有有铝基复合材料层。本发明利用铝合金作为难以与铝合金结合的硬(异)质颗粒粉末包裹外层,将纯铝粉末与硬(异)质颗粒粉末加入其中,通过挤压成型制成铝基复合材料,操作简单,制成方便,且方便后续融入铝合金,值得推广及应用。

标签:
电冶金技术
江苏 - 苏州 来源:北方有色网 2023-03-18
粉末冶金产品含镍元素原材料的烧结工艺

本发明公开了一种粉末冶金产品含镍元素原材料的烧结工艺,本烧结工艺所使用的烧结炉包括高温烧结区和冷却区,所述烧结炉设有与冷却区的腔体相通的氮气管,所述氮气管设置在冷却区靠近高温烧结区的端部,通过所述氮气管向冷却区的原材料吹氮气。本烧结工艺无需购买使用专用的原料,只是通过向普通的铁网铜碳原料中添加镍元素,再结合在冷却区安装氮气管,就可以得到与淬火处理后一样的表面硬度;而且虽然减少了淬火工艺,烧结后的零件仍具有一定的韧性,省去用原料及进口烧结炉的高成本。

标签:
电冶金技术
江苏 - 苏州 来源:北方有色网 2023-03-18
冶金连铸冷却水的智能控制方法

本发明公开了一种冶金连铸冷却水的智能控制方法,根据生产经验数据库的初始参数通过温度场计算模型进行一冷水量和二冷水量的计算控制可以保证初始投产的顺利进行;然后在生产过程中采集长期的铸机监控数据,通过温度场计算模型的反算功能对各项计算参数进行学习优化,一方面可以使该铸机的模型计算精度提高,水量控制更加合理,随着生产的进行不断提高铸坯质量,另一方面可以反向优化生产经验数据库,使初始参数更趋于优化。

标签:
电冶金技术
江苏 - 苏州 来源:北方有色网 2023-03-18
粉末冶金材料和高强度齿轮制造方法

本发明提供一种粉末冶金材料,包括以下质量百分比的原料:机油0.1‑0.2%、钼粉0.86‑0.95%、镍粉1.8‑2.3%、石墨0.6‑0.8%、润滑剂0.5‑0.6%,其余为铁粉。本发明的制造高强度齿轮的方法,包括步骤:将铁粉、钼粉、镍粉、石墨、润滑剂混合均匀;将上述原料压制成型;在氮氢混合气体中,坯件先在600‑720℃进行低温烧结,烧结时间为30‑60分钟;在810‑920℃进行中温烧结,烧结时间为1‑1.5小时;再在1180‑1220℃进行高温烧结,烧结时间为2‑5小时;坯件在水冷套管冷却2‑3小时后出炉。本发明适合于批量的工厂生产;制得的产品强度高,硬度大,性能优良且稳定。

标签:
电冶金技术
江苏 - 苏州 来源:北方有色网 2023-03-18
原位合成氧化铝增强铁基粉末冶金合金的方法

本发明公开了原位合成氧化铝增强铁基粉末冶金合金的方法,包括以下步骤:(1)首先将铁粉进行氧化处理,氧化处理的氧化温度为100~300℃,氧化时间0.5~1h;(2)在氧化处理后的铁粉中加入铝粉和硬脂酸锌进行球磨,铝粉加入含量为总质量的1%~10%,加入的硬脂酸锌含量为总质量的1%~2%;(3)将合金粉末通过压制、烧结,烧结温度为1000~1150℃,温度上升速率为10~20℃/min,烧结后保温;本发明方法中第二相粒子为原位生成,避免了传统外加增强体方式中繁琐的增强体预处理工序,可大大提高生产效率;通过这种方法制备的复合材料,增强体是在金属基体内形核、长大的,所以增强体表面无污染,基体和增强体的相溶性良好,界面结合强度较高,能有效的提高产品的力学性能。

标签:
电冶金技术
江苏 - 苏州 来源:北方有色网 2023-03-18
高精可控式粉末冶金连续成型机

本实用新型公开了高精可控式粉末冶金连续成型机,包括成型机外架、高精调节架、自动调节架、上模具和下模具,本实用新型通过设置的高精调节架,在调整上下模具之间精度位置时,通过在高精调节架内部伺服电机的作用下,能够使连接履带带动两组螺纹杆一起转动,在螺纹杆转动时,螺纹杆表面的两组转动螺环能够进行移动,在转动螺环移动时,其中间的活动滑块能够随之移动,进而能够使与活动滑块内侧连接的自动调节架在高精调节架内侧移动,以此方式能够调整上、下模具之间的位置距离,并且在活动滑块移动时,活动滑块外侧连接的位移传感器能够感应位置偏移距离,从而实现对上、下模具距离的精确位置调整。

标签:
电冶金技术
江苏 - 苏州 来源:北方有色网 2023-03-18
致密均匀的金属粉末冶金注射成型模具

本实用新型公开了一种致密均匀的金属粉末冶金注射成型模具,包括顶板、第一固定板、底部固定板和第四固定板,所述底部固定板顶部的两侧通过螺钉固定安装有底座,所述底部固定板顶部的中心位置设置有第三固定板,且第三固定板的顶部通过螺钉固定安装有第二固定板,所述第二固定板和第三固定板之间设置有推杆,所述第二固定板的顶部连接有弹簧,弹簧的顶部连接有第四固定板,本实用新型把进水口和出水口分别接在注射机上的相应位置,通过往进水管中通入冷水,冷水就会在进水管中流动,流入到模具中,然后从出水管中流出,经过冷水的循环,带走产品的热量,从而实现了对产品进行冷却的目的。

标签:
电冶金技术
江苏 - 苏州 来源:北方有色网 2023-03-18
同步带轮粉末冶金用成型模具

本实用新型公开了一种使用寿命长、成品率高的同步带轮粉末冶金用成型模具,包括中模座、上冲、穿入中模座中用于成型工件中间止转安装通孔的芯棒,中模座中可拆卸地设有用于成型工件外侧面的中模芯,中模芯上部设有用于成型工件上部圆盘部侧面及底面的成型槽,中模芯下部设有成型工件上齿牙的若干条状成型凸块,芯棒上活动套设有上部穿入中模芯用于成型工件下底面的下冲;下冲上部外侧面设有与中模芯上条状成型凸块相配合的若干凹槽;上冲上设有用于成型工件上表面的成型槽,上冲上设有供芯棒上端穿入的中部通孔,所述上冲上设有与中部通孔相连通的水平贯穿的排气口。

标签:
电冶金技术
江苏 - 苏州 来源:北方有色网 2023-03-18
粉末冶金推杆式烧结炉

本发明公开了一种粉末冶金推杆式烧结炉,包括推杆控制装置、第一烧结炉体和第二烧结炉体,所述推杆控制装置的高温隔离钼位于炉管内,所述炉管内设置有碳舟皿,所述炉管安装在第一烧结炉体和第二烧结炉体上,所述第一烧结炉体位于第二烧结炉体一侧,所述炉管的进料区和出料区位于炉管外侧,所述第一烧结炉体和第二烧结炉体上侧设置有真空泵和红外激光测温仪,所述真空泵通过真空管和炉管连接,所述炉管上设置有测温口,所述测温口和红外激光测温仪位置相对,所述第一烧结炉体和第二烧结炉体上侧设置有加热块。本发明通过碳舟皿的承放面上涂覆有防粘接层,能够避免工件和碳舟皿粘结,进而避免工件报废,且结构简单,设计合理。

标签:
电冶金技术
江苏 - 苏州 来源:北方有色网 2023-03-18
湿法冶金离子交换膜电解槽

本发明公开了一种湿法冶金离子交换膜电解槽,包含电解腔、阳极和阴极;所述电解腔的上部设置有阳极和阴极;所述阳极和阴极分布在电解腔上部的两侧;所述阳极上设置有至少两个阳极腔;所述阳极腔上端一侧设置有阳极进液管;所述阳极腔上端的另外一侧设置有阳极腔连接管;所述阳极腔上设置有离子交换膜;所述两个阳极腔的中间设置有阴极板;所述电解腔的上部设置有溢流口;所述电解腔的下部设置有阴极进液口;所述电解腔上端不设置有排气口。本发明阴阳极分区,阳极区和阴极区的气体单独收集并利用;有利用工人操作;需要碱去调节ph值;提高电积的电流密度,减少电解槽数量,降低项目投资;降低环境污染;减少工人操作强度,自动化程度高。

标签:
电冶金技术
江苏 - 苏州 来源:北方有色网 2023-03-18
多台阶汽车离合器粉末冶金盘毂

本实用新型公开了一种多台阶汽车离合器粉末冶金盘毂,包括圆柱形盘体(1),所述盘体(1)内侧具有花键(2),所述盘体(1)外设置有定位环(3),所述盘体(1)凸出定位环(3),所述定位环(3)上具有均匀分布的定位凸台(4),所述定位凸台(4)之间形成有定位槽;所述定位环(3)外设置有第一定位件(5)和第二定位件(6),所述第一定位件(5)的外轮廓具有三角齿形(7),所述第二定位件(6)的外轮廓具有安装燕尾槽(8);所述第一定位件(5)、第二定位件(6)交错设置在定位槽内;本实用新型盘毂结构紧凑,为多台阶结构,产品外形尺寸精度高,方便安装。

标签:
电冶金技术
江苏 - 苏州 来源:北方有色网 2023-03-18
冶金用钢包
冶金用钢包 1022     
 0

本实用新型公开了一种冶金用钢包,包括:钢包本体,在钢包本体的左右两侧分别转动连接有一个吊耳,所述吊耳包括:第一、第二耳板,连接轴与第一、第二耳板的下段部相连,第一耳板靠近钢包本体,第二耳板远离钢包本体,在第一、第二耳板的上段部之间穿设有销轴,销轴的小端依次穿过第一、第二耳板后向外伸出于第二耳板,在伸出于第二耳板的销轴的小端上设置有环槽,在环槽中卡设有一块固定板,固定板通过螺栓与第二耳板相连,在第二耳板的外侧壁上设置有能够防止销轴被撞的防撞板。本实用新型的优点在于:方便安装,连接结构稳定,能够防止行车钩子与销轴发生碰撞,提高了吊装钢包时的安全性,也提高了钢包的使用期限。

标签:
电冶金技术
江苏 - 苏州 来源:北方有色网 2023-03-18
冶金机械卷筒部件的棱锥套抛光装置

本实用新型公开了一种冶金机械卷筒部件的棱锥套抛光装置,包括支撑板和抛光机构,支撑板顶部设有第一丝杆和第一电机,第一丝杆外壁设有第一连接块,第一连接块顶部设有连接筒,连接筒内壁设有连接板和第二电机,连接板外壁设有反向丝杆和第三电机,反向丝杆外壁设有第二连接块,第二连接块外壁设有连接杆,连接杆外壁设有夹持机构,支撑板顶部设有第二丝杆和第四电机,第二丝杆外壁设有第三连接块,抛光机构底部设有第一支撑条。本实用新型可对棱锥套进行自动抛光作业,提高工作效率和操作人员的安全性,可对不同大小的棱锥套进行夹持固定,提高装置的利用率,可对待抛光的棱锥套进行前后移动,方便棱锥套进行抛光作业。

标签:
电冶金技术
江苏 - 苏州 来源:北方有色网 2023-03-18
粉末冶金起动机行星架

本实用新型公开了一种粉末冶金起动机行星架,包括行星架底板,所述行星架底板上设置有花键孔和多个柱销安装孔,所述花键孔安装在行星架底板中部,所述柱销安装孔分布在花键孔外,所述花键孔的孔口设置有倒角;在所述柱销安装孔处,所述行星架底板上底面设置有凸台,所述行星架底板下底面设置有凹槽,本实用新型增加了内花键口部导向结构(倒角),优化了花键轴的装配性。柱销安装孔处设置的凹槽,易于装配。柱销安装孔处设置的凸台,优化了和行星齿轮的端面配合,使传动更优化,减小和行星齿轮的端面接触面,减小底板平面度的影响,也减小了转动噪音。

标签:
电冶金技术
江苏 - 苏州 来源:北方有色网 2023-03-18
粉末冶金加工模具自动化送料装置

本实用新型公开了粉末冶金加工模具自动化送料装置,包括底板和储料桶,所述储料桶的一侧下端位置固定连接有送料管,所述送料管的一端穿过第一通孔与出料瓶固定连接,所述第一通孔位于第一侧板的内部,所述出料瓶上表面固定连接有第一电机,本实用新型中螺纹杆与螺纹槽转动,从而带动下模具在第一侧板和第二侧板之间滑动,下模具滑动至出料瓶下方时,距离传感器可检测到与第二侧板之间的距离,达到预设值,通过控制模块控制第二电机停止运行,第一电机通过转轴带动挡片转动,材料从出料口倒进下模具内,完成自动上料,避免人工添加耗时费力,有利于提高工作效率。

标签:
电冶金技术
江苏 - 苏州 来源:北方有色网 2023-03-18
粉末冶金产品成形取料装置

本实用新型涉及一种粉末冶金产品成形取料装置,包括驱动组件、取料组件和送料组件。驱动组件包括固定架、伺服电机、丝杆、第一滑块和气缸,伺服电机水平设置固定架上,丝杆水平连接在伺服电机输出轴,第一滑块连接在丝杆上,气缸竖直设置在第一滑块的外侧面;取料组件包括移动臂、触点载盘和吸盘,移动臂水平设置,且移动臂一端连接在气缸的下端,触点载盘固定在移动臂的另一端,吸盘可拆卸的螺纹连接在触点载盘的下方,吸盘为电磁铁,吸盘具有三个且三个吸盘等间距周向设置;送料组件包括送料传送带,吸盘用于在送料传送带的输出端拿取中间产品。本实用新型采用磁吸的方式,能够降低生坯出现变形或开裂的风险,从而提高产品合格率。

标签:
电冶金技术
江苏 - 苏州 来源:北方有色网 2023-03-18
精密机床用高强度高密封性能的冶金螺母

本实用新型涉及五金零件技术领域,具体揭示了一种精密机床用高强度高密封性能的冶金螺母,包括上旋拧体和下旋拧体,下旋拧体顶部的中央一体成型有竖直设置的中心柱,下旋拧体底部的中央开设有凹槽,凹槽的内侧胶黏固定有垫环;所述上旋拧体的外侧为上旋拧部,上旋拧部的棱角两侧均从上到下开设有开槽,中心柱的顶端与内旋拧通道的底部之间设有一套环。本实用新型通过在上旋拧部外侧的棱角处开设的三角形条形开槽,有效增加了上旋拧部外侧棱角的受力抗压性,通过在下旋拧部的底部设置垫环,以及在上旋拧部和下旋拧部之间设置的套环,再结合套环和垫环的结构设计,能够使得该螺母具备良好的密封性,为螺母的使用提供了便利。

标签:
电冶金技术
江苏 - 苏州 来源:北方有色网 2023-03-18
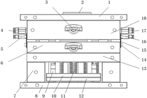
便于拆卸的粉末冶金压制用模具

本实用新型涉及一种便于拆卸的粉末冶金压制用模具,包括夹座、左半模体、右半模体和冲模,所述左半模体与右半模体之间形成用于冲模冲压的型腔,所述的夹座包括左夹板和滑动连接于下模座上的右夹板,所述的左夹板与右夹板之间形成用于夹持左半模体与右半模体的夹持腔,所述左夹板与右夹板的一端铰接,所述的左夹板上开设有弧形槽,所述的右夹板上转动连接有用于穿设于弧形槽中的弧形板,所述的右夹板与下模座之间设置有定位机构,达到方便左半模体和右半模体脱出的目的。

标签:
电冶金技术
江苏 - 苏州 来源:北方有色网 2023-03-18
全自动粉末冶金非金属过滤装置

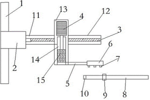
全自动粉末冶金非金属过滤装置,包括机架,其特征在于,所述机架上依次安装有超生漂洗装置、烘干装置和浸泡装置;所述超生漂洗装置、烘干装置和浸泡防锈装置均与电气控制柜连接有输电线路组;所述超生漂洗装置包括上料台,所述上料台出料端顺次安装有线圈退磁机、喷淋冲洗槽、溢流槽、超声波清洗槽、清洗水刀、吹液槽、喷淋漂洗槽、浸泡漂洗槽和吹干槽,其中:喷淋冲洗槽连接有喷淋管,超声波清洗槽内安装有超生振板,浸泡漂洗槽的上方安装有清洗吹液头,吹干槽上方安装有吹干风机;本实用新型的有益效果:本实用新型设备经多次试验工艺、研发、设计,对工件表面的非金属颗粒有很强的清洗效果,使用户工件质量得到提高,适合推广使用。

标签:
电冶金技术
江苏 - 苏州 来源:北方有色网 2023-03-18
粉末冶金凸轮轴正时齿轮定位压装工具

本实用新型提供了一种粉末冶金凸轮轴正时齿轮定位压装工具,包括:螺纹柱,位于定位压装工具本体外侧,所述螺纹柱通过内螺纹与定位压装工具本体相连接;固定柱筒,位于定位压装工具本体上端,所述固定柱筒左右侧固定有延长块;推动柱头,位于固定柱筒上端,所述推动柱头下端连接有活动柱;柔性压紧板,位于活动柱下端,所述柔性压紧板外侧压紧有正时齿轮本体。本实用新型解决了人工安装时,无法牢固固定正时齿轮,导致正时齿轮发生转动,安装位置产生偏差,影响正时齿轮定位压装效率的问题。

标签:
电冶金技术
江苏 - 苏州 来源:北方有色网 2023-03-18
冶金设备用物料运输装置

本实用新型公开了一种冶金设备用物料运输装置,包括支撑架,所述支撑架顶部两侧安装有输送带保护罩,所述支撑架底部两侧对称安装有支撑腿,所述支撑架底部左端安装有驱动电机,所述驱动电机的输出端连接有传动带,所述传动带的一端与驱动电机传动连接,另一端与传动轮传动连接,本实用新型结构简单,稳定可靠,方便移动,操作简便,通过凸轮电机带动凸轮转动,使凸轮导杆在凸轮上上下运动,来带动传送带震动,通过传送带上的物料同时震动,抖落物料上的杂质以及水分,并通过在传送带的边缘处设置收集斜板,可以使在传送带上传送的物料在受到震动时,不会由于震动而掉落,会通过收集斜板的保护,弹回到传送带上,继续进行传送。

标签:
电冶金技术
江苏 - 苏州 来源:北方有色网 2023-03-18
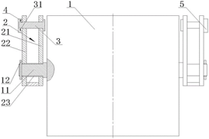
带冷却隔板的冶金炉内冷却板

本实用新型涉及一种带冷却隔板的冶金炉内冷却板,包括冷却板本体,冷却板本体带有内腔,冷却板本体的下表面带有弧形贴合面,冷却板本体的上表面两侧对称固接纵向设置的第一冷却条及第二冷却条,第一冷却条横向固接多个间隔布置的第一冷却隔板,第二冷却条横向固接多个间隔布置的第二冷却隔板,第一冷却板的端部置于第二冷却隔板的间隔中,第二冷却板的端部置于第一冷却隔板的间隔中。本实用新型的冷却条及冷却隔板可焊接与冷却板本体上,其制造工艺简单,降低了成本;通过于冷却板本体上设置间隔布置的冷却板,利于冷却时热气流的散发,提高了冷却效果。

标签:
电冶金技术
江苏 - 苏州 来源:北方有色网 2023-03-18
冶金用高精度上料称重系统和LF精炼炉

本实用新型涉及一种冶金用高精度上料称重系统,包括至少一个料斗,且料斗的入料口处设置至少一个第二称重模块,料斗的出料口处设置第一振动给料器;称重料仓,且称重料仓的入料口处设置至少一个第一称重模块,料斗的出料口处设置第二振动给料器;旋转溜管,其一端连通第二振动给料器,其另一端连通加料溜管;料斗通过第二称重模块和第一振动给料器将物料称重后落入称重料仓,称重料仓通过第二振动给料器和旋转溜管向加料溜管输送物料。本实用新型提高了系统精度、可靠性和稳定性。

标签:
电冶金技术
江苏 - 苏州 来源:北方有色网 2023-03-18
可快速降温的粉末冶金钛合金紧固件加工用研磨装置

本实用新型公开了一种可快速降温的粉末冶金钛合金紧固件加工用研磨装置,降温组件,降温组件包括气泵,气泵的出风端通过管道连通有三通管,移动框的底部固定连接有环体,环体通过软管与三通管连通,环体的底部固定连接有筒体,研磨块的顶部开设有环形滑槽,筒体转动连接于环形滑槽内,本实用新型在研磨结束后,电缸带动研磨块上移复位,移动板挤压延时开关启动气泵,气泵出风端的风通过三通管喷至钛合金紧固件上,对其进行有效降温处理,气泵出风端的气体通过三通管和软管注入环体,通过第一通槽和第二通槽注入多个U型通槽内,研磨块内部的气体快速流动,对研磨块进行快速降温处理,防止研磨块受热变形,影响了研磨的精准度。

标签:
电冶金技术
江苏 - 苏州 来源:北方有色网 2023-03-18
高精度粉末冶金汽车点火开关锁舌的制备方法

本发明公开了一种高精度粉末冶金汽车点火开关锁舌的制备方法,包括以下步骤:1)按以下重量百分比组分配料:1.6~1.9%羰基镍粉、0.5~0.6%钼粉、1.35~1.65%电解铜粉、0.5~1%胶体石墨、0.35~0.45%高分子润滑脱模剂,其余为水雾化铁粉;2)混粉;3)温压成形;4)烧结;5)光整;6)超声波洗净;7)真空浸油;本发明的方法生产的产品密度高,强度高,表面粗糙度好,产品无微细裂纹。

标签:
电冶金技术
江苏 - 苏州 来源:北方有色网 2023-03-18
粉末冶金制备耐磨耐蚀高熵合金齿轮的成型方法

本发明公开了一种粉末冶金制备耐磨耐蚀高熵合金齿轮的成型方法,选择单质金属粉Al、Mn、Co、Fe和预合金粉Ni‑Cr‑B‑Si‑C按一定比例进行球磨混合制备高熵合金粉末,采用温压制成毛坯,然后在齿轮成型模具中压制齿轮,经表面渗氮后,可以形成心部以固溶体为主的AlCoFeMnNi高熵合金,而表面为氮化物(AlN、CrN)增强的高熵合金层,具有较高的耐磨性和耐蚀性,该齿轮可用于磨损、腐蚀的场合。

标签:
电冶金技术
江苏 - 苏州 来源:北方有色网 2023-03-18
韧性粉末冶金轴套及其制备方法

本发明公开了一种韧性粉末冶金轴套及其制备方法,该轴套由以下质量份的各组分组成:石墨16?28份、氧化锌4?18份、铜粉5?13份、锆英砂5?17份、硼化钨2?19份、锌粉4?13份、微粉蜡5?12份、炭黑7?24份、硫化锰2?11份。本发明制得的轴套抗弯曲强度和冲击韧性高,同时制备工艺简单,条件可控,具有良好的市场前景。

标签:
电冶金技术
江苏 - 苏州 来源:北方有色网 2023-03-18
冶金炉内冷却板
冶金炉内冷却板 918     
 0

本发明涉及一种冶金炉内冷却板,包括冷却板本体,冷却板本体带有内腔,冷却板本体的一侧带有弧形贴合面,冷却板本体的另一侧表面对称固接多个冷却条,相对称的冷却条间呈V字形结构。本发明结构简单,通过于冷却板本体上设置呈V字形结构的冷却条,使冷却时热气流的排出顺畅,从而提高冷却效果。

标签:
电冶金技术
江苏 - 苏州 来源:北方有色网 2023-03-18
上一页 25 26 27 28 29 ... 43 下一页
共43页    到第

北方有色为您提供最新的江苏苏州有色金属电冶金技术理论与应用信息,涵盖发明专利、权利要求、说明书、技术领域、背景技术、实用新型内容及具体实施方式等有色技术内容。打造最具专业性的有色金属技术理论与应用平台!

全国热门有色金属设备推荐
展开更多 +
全国热门有色金属技术推荐
展开更多 +

 

江西省隆恩特环保设备有限公司
宣传

报名参会
更多+

报告下载

有色专家
更多+

有研科技集团有限公司
中国工程院 院士
长沙矿冶研究院有限责任公司
中国工程院院士
北京科技大学
教授
洛阳有色矿业集团有限公司
生产技术部经理
中国矿业大学(北京)
教授
赤泥综合利用研究报告2025
推广

热门技术
更多+

推荐企业
更多+

福建省金龙稀土股份有限公司
宣传

发布

在线客服

公众号

电话

顶部
咨询电话:
010-88793500-807