青岛垚鑫智能科技有限公司
宣传

位置:中冶有色 >

有色技术频道 >

> 电冶金技术

分类:
全部
矿山技术
冶金技术
材料制备及加工技术
环境保护技术
分析检测技术
 
全部
火法冶金技术
湿法冶金技术
电冶金技术
真空冶金技术
地区:
全部
北京
天津
上海
重庆
河北
山西
辽宁
吉林
黑龙江
江苏
浙江
安徽
福建
江西
山东
河南
湖北
湖南
广东
海南
四川
贵州
云南
陕西
甘肃
青海
内蒙
广西
西藏
宁夏
新疆
其他
其他
展开
 
全部
南京
无锡
徐州
常州
苏州
南通
连云港
淮安
盐城
扬州
镇江
泰州
宿迁

江苏苏州有色金属电冶金技术理论与应用

免费发布技术信息>>
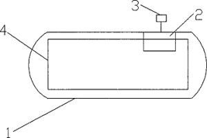
冶金葫芦吊钩隔热装置

本实用新型涉及一种冶金葫芦吊钩隔热装置,包括吊装组件和隔热组件;吊装组件包括吊钩本体和套设在吊钩本体外侧的横梁;隔热组件包括隔热板,隔热板包括第一隔热板和第二隔热板,第一隔热板与第二隔热板的一侧均设置有矩形缺口,两个矩形缺口相对设置,第一隔热板和第二隔热板拼接后,两个矩形缺口拼接形成供吊钩本体穿过的通孔;第一隔热板与第二隔热板的外侧均包覆有隔热片,第一隔热板与第二隔热板均与横梁连接。本实用新型通过在吊钩本体上加设隔热板,在隔热板表面包覆隔热片,保护吊钩本体不受高温破坏,延长使用寿命。

标签:
电冶金技术
江苏 - 苏州 来源:中冶有色网 2023-03-18
粉末冶金设备用成型剂回收装置

本实用新型揭示了粉末冶金设备用成型剂回收装置,包括罐体、仿形设于罐体顶部的上夹套层、仿形设于罐体底部的下夹套层、设于罐体侧壁的连通其内部的用于充入成型剂蒸汽和惰性气体气流的入口、设于罐体顶部的连通其内部的用于排出惰性气体气流的出口、以及设于罐体端部的连通其内部的用于排出成型剂液体的排料阀;所述上夹套层内设有可交替作用的热源和冷源,所述下夹套层内设有均布的热源。本实用新型实现了解决回收装置内壁成型剂遇冷附着的问题。

标签:
电冶金技术
江苏 - 苏州 来源:中冶有色网 2023-03-18
粉末冶金制品整形机的送料装置

本实用新型公开了一种粉末冶金制品整形机的送料装置,包括机壳和盛放盒;所述盛放盒位于机壳上侧,所述盛放盒底端焊接在机壳上侧,所述机壳内部设置有电动机,所述电动机通过螺栓固定安装在机壳内部,所述电动机上端设置有轴杆,所述轴杆底端通过螺栓固定安装在电动机上侧,所述轴杆上侧设置有转盘,所述转盘通过螺栓固定安装在轴杆上侧,所述转盘位于盛放盒底端,所述盛放盒中间位置设置有导料板,所述导料板一端与盛放盒之间相互焊接,所述盛放盒一端设置有出料口,所述出料口焊接在盛放盒一侧。本实用新型转盘在旋转时,带动转盘上侧的物料进行转动,物料在转动时,通过导料板的作用,将物料导向出料口处,可以进行自动且较为稳定的上料。

标签:
电冶金技术
江苏 - 苏州 来源:中冶有色网 2023-03-18
节能冶金用有害气体处理装置

本实用新型涉及气体处理装置技术领域,尤其为一种节能冶金用有害气体处理装置,包括箱体和第一电机,所述箱体的内壁后端面固定连接有第一电机,所述第一电机的主轴末端固定连接有扇叶,所述箱体的内壁后端面固定连接有过滤层,所述箱体的内侧固定连接有吸附层,所述箱体的内壁后端面固定连接有第一活性炭板,所述箱体的左端固定连接有水管,所述水管的前端面固定连接有单向阀,所述箱体的左端固定连接有机壳,所述机壳的内侧转动连接有转盘,所述转盘的前端面转动连接有活塞杆,本实用新型有害气体经过滤层等装置吸附净化后,再进行排放,不仅不会污染空气,也不会威胁到人的身体健康,具有巨大的经济效益和广泛的市场前景,值得推广使用。

标签:
电冶金技术
江苏 - 苏州 来源:中冶有色网 2023-03-18
便捷型粉末冶金连接件

本实用新型涉及一种便捷型粉末冶金连接件,包括连接件本体,其特征在于:所述连接件本体包括固定部、伸出部、第一连接部、第二连接部、凸部、第一弹簧和第二弹簧,固定部的外周具有外螺纹;固定部的外周沿其周向向形成有伸出部,伸出部的远端向固定部的一端方向伸出有第一连接部,伸出部的远端向固定部的另一端方向伸出有第二连接部;第一连接部的内壁和固定部的外壁之间形成第一容纳间隙,固定部上套设有第一弹簧且第一弹簧位于第一容纳间隙内;第二连接部的内壁和固定部的外壁之间形成第二容纳间隙,固定部上套设有第二弹簧且第二弹簧位于第二容纳间隙内;第一连接部的外周沿其周向形成有凸部;第一连接部的内径自伸出部至第一连接部的远端逐渐增大。

标签:
电冶金技术
江苏 - 苏州 来源:中冶有色网 2023-03-18
汽车自动驻车系统高强度高精度粉末冶金零件

本实用新型公开了一种汽车自动驻车系统高强度高精度粉末冶金零件,其特征在于:包括给汽车减速的第一中间板、第一行星齿轮、第二中间板、第二行星齿轮,所述第一中间板与第二中间板连接,所述第一中间板上设置多个第一柱状销钉,所述第一中间板通过第一柱状销钉连接第一行星齿轮,所述第二中间板上设置多个第二柱状销钉,所述第二中间板通过第二柱状销钉连接第二行星齿轮。本实用新型具有体积小、精度高、强度高的性能。替代原有结构零件实现传动机构低成本、小型化、轻量化、低噪音的要求,同时采用柱状销钉定位结构保证了结构整体精度和紧凑性。

标签:
电冶金技术
江苏 - 苏州 来源:中冶有色网 2023-03-18
粉末冶金冲头
粉末冶金冲头 1209     
 0

本发明公开了一种粉末冶金冲头,该冲头由多个独立的单个冲头组合而成,每个单个冲头包括冲头主体和冲头安装底座,冲头安装底座设置于冲头主体的非工作端,多个独立的单个冲头通过冲头安装底座装配于模具压盖上。采用本发明的分体冲头生产后,可以有效的控制产品上的尺寸,在模具材料选用上既节约了模具材料,也能针对性的对变形进行补偿,切实提高了产品质量,节约了模具制作成本;通过生产验证,采用该发明的下冲,产品尺寸完全控制稳定,模具寿命提高,且模具成本大幅度降低。

标签:
电冶金技术
江苏 - 苏州 来源:中冶有色网 2023-03-18
稀土催化剂及其粉末冶金制备方法

本发明公开了一种稀土催化剂及其粉末冶金制备方法,由以下组分按重量份数配比组成:铂18~36份、锂13~30份、钌15~32份、石墨11~25份、草酸钙8~24份、硝酸钠13~26份、硅酸钙8~22份、乙酸25~40份、无水乙醇22~44份。本发明将稀土元素与石墨结合,并经粉末化、酸洗、高温煅烧等过程制备获得的稀土催化剂具有良好的耐高温性能,且活性成分分布均匀,催化寿命长等优点。

标签:
电冶金技术
江苏 - 苏州 来源:中冶有色网 2023-03-18
粉末冶金
粉末冶金 785     
 0

本发明公开了一种粉末冶金,在基础原料粉低合金钢粉JDYTAB中增加组分润滑剂、MCF-078,各组分的加入量以基础原料粉低合金钢粉JDYTAB的质量为基数计,润滑剂为0.7%、MCF-078为0.3%。本发明的优点是采用特殊的原料配比,使生产出的产品性能指标高,光泽度好,稳定性好,不易出现断裂等现象,使用寿命长,适用范围广,可用于生产齿轮、内外转子、出力轴等。

标签:
电冶金技术
江苏 - 苏州 来源:中冶有色网 2023-03-18
粉末冶金电磁阀零件的连续整形机构

本实用新型是一种粉末冶金电磁阀零件的连续整形机构,包括装料工装和机台定位工装,所述装料工装上设有若干个仿形产品弹夹,所述仿形产品弹夹内装有相应形状的产品零件,在所述装料工装与机台定位工装之间设有两工位机械夹具,其第一工位位于装料工装上方,第二工位位于机台定位工装上方,用于将产品零件连续的从仿形产品弹夹内一一取出并放置在机台定位工装内,所述机台定位工装跟随相应的机台机械运动角度挨个运转至整形工位,连续对产品零件进行整形。本实用新型将传统的人工操作优化为连续整形机构来操作,提高生产效率,降低人工成本,保证产品的一致性,并且有效避免安全事故发生。

标签:
电冶金技术
江苏 - 苏州 来源:中冶有色网 2023-03-18
用于冶金机械传送设备的导辊

本实用新型公开了一种用于冶金机械传送设备的导辊,涉及传送用导辊设备技术领域,包括支撑架、安装块、辊轴、辊套、第一空腔、油箱、进油通道、转轴、第二齿轮、转盘、连接杆、限位板、通槽、轴承、第一齿轮、固定块、第二空腔、滑块、压缩弹簧、滚珠、警示灯、活动杆和开关。本实用新型通过设置第二齿轮、第一齿轮、限位板和轴承,辊套运动时,进油通道自动向第一空腔中喷洒润滑油,减少辊套与辊轴之间的摩擦,从而减少辊套的摩擦损耗,保证装置的工作效果,通过设置滑块、压缩弹簧和活动杆,当轴承出现损坏后,活动杆按压开关使警示灯开启,对于工作人员进行提示,保证了装置的安全性。

标签:
电冶金技术
江苏 - 苏州 来源:中冶有色网 2023-03-18
冶金粉末的淬火装置
冶金粉末的淬火装置 1045     
 0

本实用新型提供了一种冶金粉末的淬火装置,包括架体,设置在架体上的炉体,以及驱动炉体转动的驱动机构;炉体整体呈球形,炉体上设置有两个架设在架体上的连接杆,两个连接杆的延长线位于同一条直线上,并且经过炉体的球心;炉体的炉壁内设置有空腔,炉体内侧壁上设置有与空腔贯通的淬火枪;驱动机构包括设置在其中一个连接杆上第一转动齿轮,与第一转动齿轮啮合的第二转动齿轮,以及驱动第二转动齿轮转动的驱动电机。本实用新型炉体内部金属粉末在翻滚中进行淬火,保证彻底均匀的淬火,保证产品质量。

标签:
电冶金技术
江苏 - 苏州 来源:中冶有色网 2023-03-18
冶金自动换刀铣样机
冶金自动换刀铣样机 1216     
 0

本实用新型一种冶金自动换刀铣样机,包括机架、研磨机构、换刀机构、位移机构和上料机构,所述机架上设置有工作台,所述工作台上安装有二爪卡盘,所述二爪卡盘的一侧设置有换刀机构,所述机架上竖直设置有支撑板,所述支撑板上安装有位移机构,所述位移机构上安装有研磨机构和上料机构,所述研磨机构位于上料机构的一侧;本实用新型通过设置有换刀机构,在需要更换铣刀时,通过位移机构带动研磨机构移动,配合换刀机构进行铣刀的更换,能进一步提高本铣样机的操作便捷性,更换方便的作用,值得推广使用。

标签:
电冶金技术
江苏 - 苏州 来源:中冶有色网 2023-03-18
用于冶金设备的减震装置

本实用新型公开了一种用于冶金设备的减震装置,包括底座,所述底座顶部两侧固定连接有支撑竖板,所述支撑竖板顶部两侧均固定连接有第一弹性钢板,所述第一弹性钢板上方设置有第二弹性钢板,所述第二弹性钢板上方设置有第三弹性钢板,所述第一弹性钢板、第二弹性钢板与第三弹性钢板两侧外部共同紧密套装有第一卡箍,所述第二弹性钢板与第三弹性钢板两侧外部共同紧密套装有第二卡箍,且所述第一卡箍位于第二卡箍之间,该装置结构简单,安装方便,减震效果好,结构稳定,能够多级减震,分担震动的力,能够减缓不同程度的震动力,减少受弹簧弹性系数的影响,能够避免弹簧受力挤压发生径向错位,具有广泛的应用前景。

标签:
电冶金技术
江苏 - 苏州 来源:中冶有色网 2023-03-18
转子Rotor粉末冶金模具结构

本实用新型公开了一种转子Rotor粉末冶金模具结构,包括阴模内腔,水冷模,阴模套,阴模压板,阴模芯和水冷槽,所述阴模套和所述水冷模上下连接,且所述水冷模与所述阴模内腔连接,所述阴模压板安装在所述水冷槽的边上,所述阴模压板与所述阴模芯相连接。采用本实用新型技术方案,解决了上冲在成形过程中产生阴模破损问题,从而延长模具的使用寿命,降低生产成本;降低了成形过程中模具发热问题,从而提高模具寿命和改善产品在成形过程的稳定性,降低产品裂纹风险。

标签:
电冶金技术
江苏 - 苏州 来源:中冶有色网 2023-03-18
粉末冶金高温烧结成型工艺方法及其工艺系统

本发明公开了一种粉末冶金高温烧结成型工艺方法及其工艺系统,通过工艺系统进行烧结成型,具体包括以下步骤:首先通过多个所述配料单元按配比分别称取不同的配料,再同步倒入所述搅拌筒内,通过所述布料转盘进行均匀布料以及各配料与水的初步混合,再通过所述搅拌系统进行配料的充分搅拌混合;通过所述送料布料装置承接搅拌好的配料,并送入所述烧结室内,同时通过所述送料布料装置完成对所述成型模具的布料;利用微波加热烧结成型,最后收集成品。本发明通过配料阀、自动配料系统以及搅拌筒的相互配合,实现自动配料、搅拌以及出料过程的相互协调,以提高整个过程的工作效率;采用微波加热的方法,以减少烟气污染,整个装备结构合理紧凑。

标签:
电冶金技术
江苏 - 苏州 来源:中冶有色网 2023-03-18
粉末冶金双驱动轮毂及其生产工艺

本发明公开了一种粉末冶金双驱动轮毂及其生产工艺,该双驱动轮毂由以下质量百分比的原料制备而成:Cu为1.8%‑2.23%、C为0.54%‑0.66%,余量为Fe。采用本发明所述生产工艺生产的轮毂,可以满足商用车对双驱动轮毂尺寸精度的要求;比传统锻造工艺节约近40%成本,提高了材料利用率,降低了产品重量,满足汽车轻量化发展要求。因此,采用本发明所述生产工艺制备的双驱动轮毂具有较高的性能。

标签:
电冶金技术
江苏 - 苏州 来源:中冶有色网 2023-03-18
新型粉末冶金去毛刺机床

本发明公开了一种新型粉末冶金去毛刺机床,包括机架以及水平设置在机架上且可升降的工作台,工作台上设有一通过旋转装置驱动旋转的刷头,刷头下端固定设置有若干刷丝,其特征在于,刷头正下方设有用于固定工件的固定座,固定座的底部连接在一气缸的气缸臂上,该气缸用于推动固定座升降。将工件置于固定座上,气缸工作,气缸臂上行,推出固定座向上至与刷丝接触,刷丝旋转对工件进行打磨,去毛刺,采用这次方式,无需操作人员进行手动停机,就能够实现对工件自动化打磨而且能够连续生产,提高了生产效率。

标签:
电冶金技术
江苏 - 苏州 来源:中冶有色网 2023-03-18
粉末冶金用模具吊装装置

本实用新型公开了一种粉末冶金用模具吊装装置,包括底座,底座的上表面固定有底板,底板的上表面通过限位槽以及转动槽分别设有限位环和转动环,限位环和转动环的上表面共同固定有安装座,安装座的上表面设有支撑架,支撑架的一端设有吊葫芦,安装座的内部呈中空状态并卡设有伸缩套板;本装置在各零件的相互配合下,可对装置底部的配重板进行移动,进而使得装置吊装模具时的稳定性有所提升,从而降低了装置在使用时易倾倒现象的发生,且模具吊装完成后配重板可缩回,并不会对装置的移动造成影响;同时通过安装座转动的方式,使得模具吊装过程中,装置可更灵活的调整模具位置,进而有利于模具吊装的使用。

标签:
电冶金技术
江苏 - 苏州 来源:中冶有色网 2023-03-18
粉末冶金成型机台机械手

本实用新型公开了一种粉末冶金成型机台机械手,包括辅助件本体,所述辅助件本体一端为固定端,另一端为机械手端,所述固定端包括锥形槽口,该锥形槽口的两端槽壁外表面上开设卡口,所述机械手端包括成对设置在辅助件本体上下两侧的翼部。

标签:
电冶金技术
江苏 - 苏州 来源:中冶有色网 2023-03-18
粉末冶金零件快速脱蜡装置

本实用新型公开了一种粉末冶金零件快速脱蜡装置,包括:加热腔,其顶部设置有加热部和隔离板;所述加热部包括平行且间隔设置的若干根多孔管,每根多孔管的两端分别设置有火焰喷嘴,火焰喷嘴将燃料点燃并引导火焰向多孔管内部喷射;所述隔离板平行且间隔设置于加热部的下方,隔离板采用多孔结构。本实用新型采用多孔管和隔离板,与传统工艺中直接采用喷嘴燃烧的方式相比,可以减少火焰直接燃烧到产品上造成的脱碳;由火焰喷嘴自多孔管两端向中间喷射火焰以实现供热,使热量分布更为均匀,避免局部加热温度过高造成的脱碳。

标签:
电冶金技术
江苏 - 苏州 来源:中冶有色网 2023-03-18
用于粉末冶金推杆式烧结炉的脱蜡装置

本实用新型公开了一种用于粉末冶金推杆式烧结炉的脱蜡装置,安装在预热装置和烧结炉之间,包括罐体、进料管、脱蜡排出管、废气出口管和收蜡系统,所述罐体的前端与所述进料管连接,所述罐体通过若干脱蜡排出管与所述收蜡系统连接,所述废气出口管连接在所述罐体的侧面。本实用新型提高了产品质量和生产效率,保护设备不易变形开裂等特点。

标签:
电冶金技术
江苏 - 苏州 来源:中冶有色网 2023-03-18
用于电冶金金属析出的固液分离装置

本实用新型公开了一种用于电冶金金属析出的固液分离装置,包括箱体、连接筒和底座,连接筒的一端设置有箱体,另一端设置有底座,内置箱的内侧壁上固定安装有电磁块,电磁块通过电源插孔与外界电源电性连接,当分离时,打开电磁块可以将溶液中的金属物吸附到其表面上,分离更加彻底,连接筒的内部设置有主转轴,主转轴通过转动杆与电机相连接,转槽与主转轴相连接,在分离过程中,先通过主转轴将内置箱旋转起来,使其内部溶液混合的更加均匀,提高了电磁块的吸附质量,箱体的外表面上固定安装有药箱,药箱通过连接管与内置箱相连通,在分离过程中,可以通过药箱往内置箱内加入催化药片,消除掉溶液内的杂质与污染物,提高析出金属的质量。

标签:
电冶金技术
江苏 - 苏州 来源:中冶有色网 2023-03-18
带台阶粉末冶金产品用整形模具

本实用新型涉及一种带台阶粉末冶金产品用整形模具,包括芯棒、中模、上冲件以及下冲件。中模套设在芯棒外周,中模包括模芯以及套设在模芯外周且与模芯相配合的模套,模套包括上模套以及与上模套相配合的下模套,上模套的上部设置有台阶部Ⅰ,台阶部Ⅰ设置在模芯上部且与模芯相配合,台阶部Ⅰ上设置有导向部,导向部延伸至模芯内,下模套上设置有台阶部Ⅱ,台阶部Ⅱ设置在模芯下部且与模芯相配合;上冲件可滑动地套设在芯棒外周且位于中模上部,上冲件具有朝中模的运动行程;下冲件可滑动地套设在芯棒外周且位于中模下部,下冲件具有朝中模的运动行程。特定结构的设置解决了一体化成型的模芯在整形过程中台阶处容易开裂的问题。

标签:
电冶金技术
江苏 - 苏州 来源:中冶有色网 2023-03-18
粉末冶金推杆式烧结炉的预热装置

本实用新型公开了一种用于粉末冶金推杆式烧结炉的预热装置,安装于脱蜡装置前端,包括炉体,所述炉体前端设有送料装置,所述炉体内设有挡板,所述挡板将炉体分为预热区和加热区,所述挡板设有连通预热区和加热区的通孔,所述通孔口径可变,所述加热区设有加热装置。本实用新型具有脱蜡功能和产品不易爆裂等特点。

标签:
电冶金技术
江苏 - 苏州 来源:中冶有色网 2023-03-18
犁形片磁性材料粉末冶金模具

本实用新型公开了模具领域的一种犁形片磁性材料粉末冶金模具,包括底座,底座上端安装有定模,定模内侧设置有导热层,导热层外侧设置有加热片,定模上端安装有动模,动模上端安装有两个连接片,两个连接片上端中部安装有伸缩杆,伸缩杆外侧安装有弹簧,通过定模内部设置加热片和导热层,使犁形片在挤压成型后,可通过加热片使犁形片温度升高,使犁形片实现加热功能,犁形片在移动时不易松散,提高犁形片的质量,有效提高犁形片的生产效率和模具的功能性;通过模具上端安装伸缩杆和弹簧,使模具在进行挤压时,可渐进式进行下压,有效提高犁形片内材料粉末的密度,使成型犁形片的质量更高,提高了模具的实用性。

标签:
电冶金技术
江苏 - 苏州 来源:中冶有色网 2023-03-18
异型产品用粉末冶金压制模具

本实用新型涉及一种异型产品用粉末冶金压制模具,包括:相互配合以形成用于成型产品的中空模腔的左半模体和右半模体;下模座;与所述中空模腔相配合用于冲压产品的上冲模;插接于所述下模座、用于夹持所述左半模体和所述右半模体的夹座,所述夹座包括相互配合的左夹板和右夹板,所述左夹板和所述右夹板的内壁与所述左半模体和所述右半模体相贴合;以及,套设在所述夹座上用于箍紧所述左夹板和右夹板的卡箍。由于左半模体和右半模体通过左夹板和右夹板夹紧固定,再进行脱模时只需松开卡箍,将左夹板和右夹板拔出即可将左半模体和右半模体拆出,而不会出现左半模体和右半模体与夹座卡紧的状态,因此脱模更加容易。

标签:
电冶金技术
江苏 - 苏州 来源:中冶有色网 2023-03-18
粉末冶金高力学性能钛合金紧固件的生产工艺

本发明公开了一种粉末冶金高力学性能钛合金紧固件的生产工艺,包括如下步骤:配料;混料:将称重好的配料除润滑剂和机油外均研磨制成粉末放入混料机中搅拌;磨料:将混合均匀的粉料放入高能球磨机中破碎成钛合金粉末;压制:将磨好好的原料放入紧固件模具中压制;烧结:将压制好的毛坯通过烧结网送入烧结炉内进行高温烧结,浸油:将烧结后的成品降温,然后通过网袋送入浸油机内进行浸油;精整:对毛坯进行精加工,获得符合尺寸精度要求的紧固件。本发明提高合金的强度,使合金具有更均匀的显微组织和更好的力学性能。该方法效率高、成本低、材料利用率高,适于大批量的生产。

标签:
电冶金技术
江苏 - 苏州 来源:中冶有色网 2023-03-18
用于粉末冶金推杆式烧结炉的缓冷装置

本发明公开了一种用于粉末冶金推杆式烧结炉的缓冷装置,安装于烧结炉与冷却炉之间,包括炉体、缓冷风机和控制系统,所述缓冷风机设置在所述炉体的内壁尾端,所述缓冷风机与所述控制系统连接,所述炉体为三氧化二硫炉,所述三氧化二硫炉内设有运输机构,所述三氧化二硫炉的内胆外包覆玻璃纤维等保温材料,所述三氧化二硫炉外层包覆铁皮。本发明具有产品质量稳定,不易变形和保护设备不易损坏等特点。

标签:
电冶金技术
江苏 - 苏州 来源:中冶有色网 2023-03-18
用粉末冶金制造齿轮出力轴的工艺

本发明公开了一种用粉末冶金制造齿轮出力轴的工艺,将基础铁粉和其它配方粉材经搅拌—成形—烧结—车槽—热处理—振动研磨—油浸包装制成齿轮出力轴。本发明的优点是将零件偏位在成形步骤通过模具一次性成形得到,简化工艺步骤,提高产品表面质量,改善了原工艺的不利影响,减少了生产原料,更好的提高了生产效率、降低生产成本。

标签:
电冶金技术
江苏 - 苏州 来源:中冶有色网 2023-03-18
上一页 27 28 29 30 31 ... 43 下一页
共43页    到第

中冶有色为您提供最新的江苏苏州有色金属电冶金技术理论与应用信息,涵盖发明专利、权利要求、说明书、技术领域、背景技术、实用新型内容及具体实施方式等有色技术内容。打造最具专业性的有色金属技术理论与应用平台!

全国热门有色金属设备推荐
展开更多 +
全国热门有色金属技术推荐
展开更多 +

 

江西省隆恩特环保设备有限公司
宣传

报名参会
更多+

报告下载

有色专家
更多+

武汉科技大学
校学术委员会主任 / 教授
中国矿业大学
副院长/教授
红河学院
研究员
中国铝业集团有限公司
中国铝业股份有限公司党委书记
清华大学
研究员
赤泥综合利用研究报告2025
推广

热门技术
更多+

推荐企业
更多+

福建省金龙稀土股份有限公司
宣传

发布

在线客服

公众号

电话

顶部
咨询电话:
010-88793500-807