青岛垚鑫智能科技有限公司
宣传

位置:中冶有色 >

有色技术频道 >

分类:
全部
矿山技术
冶金技术
材料制备及加工技术
环境保护技术
分析检测技术
地区:
全部
北京
天津
上海
重庆
河北
山西
辽宁
吉林
黑龙江
江苏
浙江
安徽
福建
江西
山东
河南
湖北
湖南
广东
海南
四川
贵州
云南
陕西
甘肃
青海
内蒙
广西
西藏
宁夏
新疆
其他
其他
展开
 
全部
南京
无锡
徐州
常州
苏州
南通
连云港
淮安
盐城
扬州
镇江
泰州
宿迁

江苏无锡有色金属理论与应用

免费发布技术信息>>
两步法制备高羟基磷灰石含量壳聚糖基接骨板材料的方法

本发明公开的一种两步法制备高羟基磷灰石含量壳聚糖基接骨板材料的方法,步骤包括:将无水氯化钙粉末加入到壳聚糖酸溶液中,再加入尿素,搅拌形成透明均一的混合液,静置脱泡。将混合溶液注入单开口平板模具中,采用两步法制备凝胶,先将其浸入NaOH凝固浴中再转移至Na2HPO4转化浴中,脱模水洗后烘干,制得高羟基磷灰石含量壳聚糖基接骨板材料。本发明使用了尿素作为添加剂,得以实现高钙离子含量的均相溶液体系,所得复合材料中羟基磷灰石含量可高达95%,具有良好的生物相容性、可降解性和骨生长诱导性。无机物含量沿厚度方向呈梯度分布,可诱导骨细胞迁移,促进骨传导和伤口愈合,作为骨修复材料具有良好的实际应用价值。

标签:
复合材料
江苏 - 无锡 来源:中冶有色网 2023-03-18
大丝束碳纤维复丝拉伸性能测试试样及其制样方法

本发明涉及一种大丝束碳纤维复丝拉伸性能测试试样及其制样方法,属于材料性能测试领域。所述方法包括:施加张力将不小于24k的碳纤维复丝缠绕在框架上;将缠绕复丝的框架进行浸胶、沥胶、加热固化,冷却后将浸胶复丝裁剪成复丝段;在所述复丝段的两端分别粘贴一组金属或复合材料加强片,其中,每组包括相对设置的两片加强片,所述两片加强片中的至少一片的内表面上贴附有结构胶膜,且贴附时空出了所述内表面的中部区域和四周边缘区域,所述复丝段两端位于所述中部区域内;给所述加强片加压,加热固化,得到测试试样。本发明提高了加强片的力学性能及复丝与加强片的粘接强度,避免了制得的试样在拉伸试验中出现加强片撕裂破坏及纤维脱粘滑移的问题。

标签:
复合材料
江苏 - 无锡 来源:中冶有色网 2023-03-18
块状碳化硼气凝胶的制备方法

本发明涉及一种块状碳化硼气凝胶的制备方法,属于复合材料制备工艺技术领域。通过无水乙醇和去离子水作为溶剂,优选硼源和间苯二酚、甲醛、柠檬酸按一定摩尔比例进行搅拌,得到溶液为淡黄色复合凝胶。湿凝胶经过老化和溶剂置换,再采用超临界干燥技术进行干燥处理得到碳化硼前驱体,在惰性气氛保护下经过碳热还原技术得到耐高温多功能碳化硼气凝胶。本发明制备出的耐高温多功能碳化硼气凝胶制备方法不仅具有制备工艺简单可靠,原料丰富简单,不仅可以有效的解决气凝胶高温不稳定的缺点,还在核设备领域具有潜在应用前景。

标签:
复合材料
江苏 - 无锡 来源:中冶有色网 2023-03-18
MgSO4-MgO体系复合材的改性剂及其复合材

本发明公开了一种MgSO4‑MgO体系复合材的改性剂及其复合材,属于复合材料技术领域;该改性剂包含木质素磺酸钙、磷酸二氢盐和十二水合硫酸铝钾;本发明的改性剂中通过木质素磺酸钙、磷酸二氢盐和十二水合硫酸铝钾的加入,三者共同协同,使MgSO4‑MgO体系复合材的养护时间得到控制,并有效的提高了产品强度,提高复合材的性能。

标签:
复合材料
江苏 - 无锡 来源:中冶有色网 2023-03-18
碳纤维车门窗框加强板及其成型工艺

本发明涉及汽车车门窗框加强板领域,具体来说是一种碳纤维车门窗框加强板及其成型工艺,一种碳纤维车门窗框加强板,所述碳纤维车门窗框加强板由多个碳纤维层依次叠加组成。本发明采用纯碳纤维层结构支撑汽车车门窗框加强板,具体重量轻,强度高,耐腐蚀,减振性好,耐疲劳等优点;碳纤维车门窗框加强板是汽车车门的功能件及附件的主要安装载体,碳纤维复合材料的应用提高了车门的刚度及模态,避免了因刚度及耐久疲劳问题带来的内板开裂,车门异响,附件功能异常等问题,并且本发明采用金属模压成型工艺,解决了碳纤维产品尺寸精度和表面质量问题。

标签:
复合材料
江苏 - 无锡 来源:中冶有色网 2023-03-18
氮掺杂碳包覆碲化锌纳米线的制备方法及其作为钠离子电池负极材料的应用

本发明公开了一种氮掺杂碳包覆碲化锌纳米线的制备方法及其作为钠离子电池负极材料的应用,首先利用水热法合成碲纳米线,通过与硝酸银溶液室温搅拌转化成碲化银纳米线,再利用离子交换反应与硝酸锌溶液反应转化成碲化锌纳米线,最后用盐酸多巴胺包覆碲化锌纳米线,再经氩气或者氮气氛围下高温煅烧即获得氮掺杂碳包覆碲化锌纳米线。本发明复合材料制备方法简单,原料廉价易得,所得材料用做钠离子电池负极循环稳定性好、比容量高,可作为一种优异的钠离子电池负极材料。

标签:
复合材料
江苏 - 无锡 来源:中冶有色网 2023-03-18
铁氧体基材的FCCL材料及其制造方法

本发明提供一种铁氧体基材的FCCL材料及其制造方法,所述FCCL材料呈层状结构,包括:至少一层导电层和至少一层绝缘层相间叠加,所述导电层和绝缘层之间采用胶粘剂粘结,所述绝缘层中至少有一层绝缘层含有铁氧体。本发明的FCCL材料可直接作为FPC行业的FCCL基材来使用,也可直接用于宽频的电磁频蔽,具有良好的电磁屏蔽效果。利用该复合材料FCCL材料制造的线路板比传统的FPC及后续贴合铁氧体模组比较有着一体性好、不宜剥离、厚度相对薄、生产效率高、成本优势等的优点。

标签:
复合材料
江苏 - 无锡 来源:中冶有色网 2023-03-18
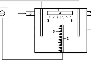
新型温控电动冲床
新型温控电动冲床 1005     
 0

本发明公开了一种新型温控电动冲床,其特征在于,包括底座(1),在底座(1)上设置滑柱(2),在滑柱(2)上设置冲头(3),在滑柱(2)顶部设置固定键(4),在滑柱(2)一侧设置电机(5),另一侧设置转子(6),在转子(6)上设置摇柄(7),在电机(5)上设置通风口(8),在冲头(3)上设置温度计(9),在温度计(9)旁设置报警器(10),本发明的有益效果是:本发明设计合理,结构简单。该新型温控电动冲床在工作时,将达到预期效果,大多滑柱都需要有耐高温要求配置,而此发明从材料上达到了要求,滑柱采用加强复合材料,使其加固提高使用安全性。

标签:
复合材料
江苏 - 无锡 来源:中冶有色网 2023-03-18
无纬布针刺喉衬喷管
无纬布针刺喉衬喷管 1183     
 0

本发明公开了一种无纬布针刺喉衬喷管,包括喷管壳体、喉衬以及绝热层,喷管壳体入口设有喉衬,喉衬与喷管壳体之间设有绝热层;喉衬为分段结构,分段部位在柱段结构往喷管出口方向3mm~5mm范围内,喉衬长度与柱段结构厚度比值为3.11~3.5;所述喉衬采用无纬布针刺C/C复合材料制成。本发明生产周期短、效率高、成本低,具备良好的力学性能。

标签:
复合材料
江苏 - 无锡 来源:中冶有色网 2023-03-18
C<sub>60</sub>包合物及其制备方法和应用

本发明的一种C60包合物,由以下重量份的原料制取:C60占85~90份、润滑添加剂占10~15份;C60包合物为由润滑添加剂在高压、高温条件下填充到经开笼处理的C60的空腔内得到的零维纳米碳复合材料。润滑添加剂为二烃基五硫化物、油酸、油酸乙二醇酯、硫化异丁烯、二硫化苄和磷酸三乙酯中的一种。本发明的C60包合物以C60为主体分子,先将C60开笼,开笼过程中可在开口处键合活性化学基团,提高C60在润滑油的分散稳定性和溶解性。在摩擦过程中,C60包合物随润滑油渗入到摩擦区域,包合物被挤压和变形,润滑添加剂从破裂的C60释放,并通过物理或化学的吸附生成润滑膜起润滑作用,从而提高C60的减摩、抗磨和极压性能。

标签:
复合材料
江苏 - 无锡 来源:中冶有色网 2023-03-18
新型消音钻孔机
新型消音钻孔机 1009     
 0

本发明公开了一种新型消音钻孔机,其特征在于,包括底座(1),在底座(1)上主件(2),在主件(2)上设置把手(3),在主件(2)一侧设置开关(4),在主键(2)下设置钻头(5),在底座(1)上设置工作台(6),在底座(1)下设置轮子(7),在轮子(7)上设置消音三角带(8),本发明的有益效果是:本发明设计合理,结构简单。该新型消音钻孔机在工作时,将达到预期效果,大多钻头都需要有耐高温要求配置,而此发明从材料上达到了要求,钻头采用加强复合材料,使其加固提高使用安全性。

标签:
复合材料
江苏 - 无锡 来源:中冶有色网 2023-03-18
复合型SERS印迹探针的制备并用于选择性检测氯酚

本发明提供了一种复合型SERS印迹探针的制备方法和用途,步骤1、SiO2/GO‑Au复合纳米球的制备;步骤2、SiO2/GO‑Au复合型SERS印迹探针的制备。本发明将拉曼检测技术与分子印迹技术相结合,使其产物具有灵敏的检测性与高度的选择性;将用具有有化学惰性的GO,拥有完美的透光率的二氧化硅纳米粒子,稳定、敏感的金纳米粒子组装的SiO2/GO‑Au复合材料基底,装载多巴胺,再运用ATRP技术,并与分子印迹技术相结合,使其聚合产物表现出完美的SERS检测特性和对2,6‑DCP的选择性能,能够应用于对2,6‑DCP的检测。提供了一种新颖、简单、环境友好的分析方法,拓宽了SERS的应用。

标签:
复合材料
江苏 - 无锡 来源:中冶有色网 2023-03-18
聚烯烃光量子透气膜及其制备方法

本发明公开了一种聚烯烃光量子透气膜及其制备方法,涉及高分子复合材料技术领域。本发明的聚烯烃光量子透气膜的原料由按质量计的35‑50%聚烯烃树脂混合物、45‑60%无机填料和3‑5%助剂组成,无机填料包括光量子材料。本发明的聚烯烃光量子透气膜借助量子点的光量子效应、特殊的光谱响应所带来的特殊生物活性,以提供优异的生物活性保鲜功能:一方面,膜的高透气性促进氧气和二氧化碳的扩散,有效稀释植物呼吸产生的二氧化碳,减缓厌氧菌的繁殖和植株腐败;另一方面,量子点释放的光量子场能够作用于植物细胞,抑制其水分的挥发,同时激活细胞或激发细胞的活性,延缓腐败变质,实现了高品质保鲜效果。

标签:
复合材料
江苏 - 无锡 来源:中冶有色网 2023-03-18
玻璃棉毡用耐高温阻燃胶黏剂及其制备方法

本发明公开了一种玻璃棉毡用耐高温阻燃胶黏剂及其制备方法,是由改性酚醛树脂,助剂,软化水组成,所述改性酚醛树脂是在氢氧化钠的催化作用下在酚醛树脂中加入尿素、三聚氰胺和氧化石墨烯三者共同改性而成,所述助剂由固化剂、偶联剂、pH调节剂和软化水组成。氧化石墨烯改性酚醛树脂提高胶黏剂的耐热性能和力学性能,大大提升了复合材料的性能稳定性,尿素、三聚氰胺同时改性酚醛树脂,改性后树脂的韧性和柔软度得到增强,耐热性、耐老化性提高,且无游离甲醛、游离酚释放。三者共同改性酚醛树脂制备得到的胶黏剂具有优异韧性、柔软度、耐水性能、耐老化性能、耐高温性能和阻燃性能,减少了对人体的危害,达到环保的要求。

标签:
复合材料
江苏 - 无锡 来源:中冶有色网 2023-03-18
电化学与光催化协同处理高浓度有机废水的装置和方法

本发明涉及废水处理技术领域,尤其涉及一种电化学与光催化协同处理高浓度有机废水的装置和方法。在导电材料制作成为的基底上,涂覆有C3N4/大孔碳复合材料,然后进行电化学和光催化协同处理高浓度有机废水,具有装置结构简单,废水净化效率高,能够回收利用有用气体的特点。

标签:
复合材料
江苏 - 无锡 来源:中冶有色网 2023-03-18
木塑型材及其制备方法
木塑型材及其制备方法 1127     
 0

本发明提供一种纤维增强的共挤木塑型材及其制备方法,该木塑型材包括基板和共挤层,所述共挤层通过共挤均匀包覆在基板的外表面上。所述基板由以下质量份的原料组成:100份普通木塑复合材料、10~60份长纤维增强热塑性材料;所述共挤层由以下质量份的原料组成:100份共挤层聚合物、10~50份粘接树脂、10~50份相容剂、5~20份填料、0.2~2份抗氧剂、0.2~2份紫外线吸收剂、0.5~5份色母料。该木塑型材使用长纤维进行增强改性,并使型材充分结晶后再缓慢冷却,因而具有较高的强度和刚度。另外,该木塑型材在制备过程中不直接使用增强纤维,而是使用长纤维增强热塑性材料作为纤维的来源,由于纤维被包覆在热塑性塑料中,因此不会在生产过程中飘散。

标签:
复合材料
江苏 - 无锡 来源:中冶有色网 2023-03-18
横向肋增强玄武岩短切纤维束芯柱的微筋及制备方法

一种横向肋增强玄武岩短切纤维束芯柱的微筋及制备方法,属于新型复合材料领域。微筋包括:短切单丝纤维、短切纤维束芯柱、粘结浸润剂、连续纤维和横向肋。其中,短切单丝纤维和连续纤维均为玄武岩纤维;短切纤维束芯柱由500‑1500根平行单丝纤维通过粘结浸润剂集束粘结、硬化、切断形成,横向肋由连续玄武岩纤维横向垂直缠绕纤维束芯柱形成。微筋具有高弹模,高抗拉强度,尤其是较高的截面刚度,可改善在混凝土搅拌过程中的结团现象,使微筋在基体中分布更加均匀;同时微筋表面的横向肋可提高微筋与混凝土基体的粘结强度与韧性;此外,微筋具有良好的耐腐蚀性,可改善混凝土的耐久性。

标签:
复合材料
江苏 - 无锡 来源:中冶有色网 2023-03-18
微生物燃料电池阳极材料的制备方法

本发明公开了一种微生物燃料电池阳极材料的制备方法,属于燃料电池复合材料技术领域。本发明先将氧化石墨烯和氯化亚砜加热回流反应后,再与炔丙醇加热回流反应,得炔基化的氧化石墨烯,随后将炔基化的氧化石墨烯和聚苯乙烯反应,得聚苯乙烯改性氧化石墨烯;将碳纳米管与水混合超声,接着加入多元胺,加热搅拌混合,接着加入卡波姆,搅拌反应,过滤,干燥,即得改性碳纳米管,依次取聚苯乙烯改性氧化石墨烯,改性碳纳米管,复配金属盐溶液和纳米金属粉搅拌混合后,用尿素溶液调节pH至,再经水热反应,再用氢气还原,过滤,洗涤和干燥,得微生物染料电池阳极材料。本发明提供的微生物燃料电池阳极材料具有良好的导电效率。

标签:
复合材料
江苏 - 无锡 来源:中冶有色网 2023-03-18
多层复合类金刚石薄膜材料及其制备方法

本发明公开了一种多层复合类金刚石薄膜材料及其制备方法。该多层复合类金刚石薄膜通过掺杂Ti含氢非晶碳和无掺杂含氢非晶碳周期性按比例交替沉积获得。本发明制备的Ti‑DLC/α‑C:H薄膜具有高结合强度、高韧性、优良的减摩耐磨性,涂覆于切削刀具加工玻璃纤维增强复合材料可使得刀具寿命提高2倍,且相对传统单层类金刚石涂层刀具寿命可提高48%。本发明制备工艺先进、生产效率高、成本低,易于工业化生产,具有推广价值。

标签:
复合材料
江苏 - 无锡 来源:中冶有色网 2023-03-18
热熔胶撒粉复合机
热熔胶撒粉复合机 820     
 0

一种热熔胶撒粉复合机,其特征在于:所述的机架(1)由放卷机构Ⅰ(2)、撒粉装置(3)、烘箱装置(4)、压合装置(5)、收卷装置(6)与放卷机构Ⅱ(7)组成,所述的放卷机构Ⅰ(2)设在机架(1)的左端,放卷机构Ⅱ(7)设在机架(1)的右端;所述的放卷机构Ⅰ(2)与放卷机构Ⅱ(7)之间从左到右依次连接有撒粉装置(3)、烘箱装置(4)、压合装置(5)、收卷装置(6);放卷机构Ⅰ(2)提供布料Ⅰ,撒粉装置(3)将热熔胶粉撒在布料Ⅰ的上表面,通过烘箱装置(4)熔化;再通过压合装置(5)将放卷机构Ⅱ(7)提供的布料Ⅱ压合在布料Ⅰ上,收卷装置(6)进行收卷工作。本发明,撒粉平均,产生的复合材料质量高。

标签:
复合材料
江苏 - 无锡 来源:中冶有色网 2023-03-18
便携式抗爆容器
便携式抗爆容器 957     
 0

本发明公开了便携式抗爆容器,包括端盖组件和球形容器,端盖组件与球形容器通过多齿结构啮合连接,所述端盖组件包括盖板,所述盖板上设有U形把手,所述U形把手两个对称分布的立柱上装配有固定镶块,所述盖板下部设有球面膜,所述球面膜与所述盖板固定连接;所述球形容器包括金属内筒、聚脲弹性体材料层和网兜,所述金属内筒外壁喷涂有聚脲弹性体材料层,球形容器内设置有网兜。本发明提供的便携式抗爆容器利用新型防护材料的特点,将高强钢与球面膜的刚柔结合,设计出防护强度高、密封效果好的抗爆容器端盖组件;容器主体设计成聚脲‑金属复合材料球形壳体,相比于一般的抗爆容器,具有更高的抗爆性能参数。

标签:
复合材料
江苏 - 无锡 来源:中冶有色网 2023-03-18
超级电容器的工作电极及其制备方法

本发明公开了一种超级电容器的工作电极及其制备方法,通过第一混合溶液的制备,第二混合溶液的制备,沉淀物的获取和干燥这四步制备电极的主要材料Fe3O4‑Mn3O4@POPD纳米复合材料,以泡沫镍为基体,以乙炔黑、粘粘剂聚偏氟乙烯和N‑甲基吡咯烷酮溶液为辅助材料,制备超级电容器的工作电极,按照本发明中制备方法制备的工作电极的电化学性能较好,它具有较高的比电容、优异的倍率性能和出色的循环稳定性,在电流密度为1 A.g‑1时,比电容1455.9 F.g‑1,在电流密度为3 A.g‑1时,比电容仍能达到846.9 F.g‑1,循环2500次后,电容仍还有78%~78.3%。

标签:
复合材料
江苏 - 无锡 来源:中冶有色网 2023-03-18
高温太阳光谱选择性吸收薄膜及其制备方法

本发明公开了一种高温太阳光谱选择性吸收薄膜及其制备方法。该薄膜由沉积在基底上的金属红外高反射层、扩散阻挡层、吸收层和减反射层依次组成,其中金属红外高反射层为金属Ti、Cr、Al或Cu中的一种;扩散阻挡层为Cr2O3;吸收层为金属和陶瓷的复合材料,其中第一吸收层中金属的体积分数大于第二吸收层中金属的体积分数;减反射层为Cr2O3。其制备方法为:采用直流或中频反应溅射制备薄膜,针对不同的膜层材料通过控制气体流量和溅射功率控制其成分和含量。本发明的薄膜结构简单,金属粒子高温稳定性佳,吸收层在高温使用过程中膜层稳定不易紊乱,可广泛应用于太阳能中高温光热利用领域。

标签:
复合材料
江苏 - 无锡 来源:中冶有色网 2023-03-18
空心球加强防撞舱壁
空心球加强防撞舱壁 717     
 0

本发明公开了空心球加强防撞舱壁,包括:内层安全壳,套至于内层安全壳外部的外层安全壳和堆舱;内层安全壳包裹于堆舱外部;内层安全壳由多个空间多面体单元组成;每一个空间多面体单元内部为空心结构,多面体单元的外壁通过多个正六边形板和多个正五边形板相互连接围成;其中,每一个空间多面体单元内部填充有胶粘质复合型的阻尼材料;上述技术方案通过空间多面体的构造巧妙地达到了既提高安全壳防撞能力又大幅度减轻安全壳的重量的功效,而且由于多面体内部填充的复合材料温度范围非常广泛,提升了安全壳的耐高温能力;同时,复合物的胶黏性又增加了一道防线。

标签:
复合材料
江苏 - 无锡 来源:中冶有色网 2023-03-18
基于柔性电极的免疫传感器

本发明公开了一种基于柔性电极的免疫传感器及其应用,属于生物传感器技术领域。所述的免疫传感器,包括柔性电极,所述柔性电极包括柔性电极基底和固定在柔性电极基底表面的生物分子探针,所述柔性电极基底的组成材料包括聚乳酸和石墨烯。本发明提供的免疫传感器上生物分子探针与待测靶物质特异性结合后,发生阻抗变化,通过检测阻抗变化计算出溶液中待测靶物质溶度。本发明采用聚乳酸和石墨烯复合材料制备的电极基底为柔性材料,聚乳酸分子上含有丰富的羧基基团可用来固定生物分子探针并保持其生物活性;聚乳酸基体中掺入石墨烯改善电极材料的导电性和柔韧性,大大提升传感器的性能。

标签:
复合材料
江苏 - 无锡 来源:中冶有色网 2023-03-18
可遮盖发热区域的石墨烯碳纳米管复合发热膜的制备方法

本发明利用PCT功能材料与石墨烯、碳纳米管复合形成快速升温热敏浆料,并形成可变电阻发热膜,通过复合材料的利用,能够减少陶瓷PTC材料的使用,同时,增加碳系导电材料的利用,能够提高产品环保性能,另外,本申请利用石墨烯作为电热转换媒介,能够提高导电率,碳纳米管起插层作用,使材料稳定性极好,克服了单一使用PTC材料或石墨烯材料制备发热膜中存在的加工成型难度大、室温电阻率高、脆性强、导电性能差的技术问题。同时利用石墨烯和碳纳米管的高导电性,提高了PTC功能材料在低温下的导电性和高温下的电阻大幅提高,提高发热膜的使用安全性。

标签:
复合材料
江苏 - 无锡 来源:中冶有色网 2023-03-18
一类高功率钠离子电池正极材料及其制备方法

本发明公开了一类高功率钠离子电池正极材料及其制备方法,该钠离子电池正极材料为Na4y+z‑xFex(P2O7)yFz/C复合材料,其中,碳的质量百分比为0~50%;钠元素、铁元素、磷元素、氟元素的摩尔比为(3~8):(3~5):(3.5~8):(0.8~3)。本发明钠离子电池正极材料具备快速充放电能力,功率密度高达50000W/kg,且充放电循环稳定、成本低廉,能满足大规模储能钠离子电池的应用要求。

标签:
复合材料
江苏 - 无锡 来源:中冶有色网 2023-03-18
阻燃型PC的生产工艺
阻燃型PC的生产工艺 1031     
 0

本发明公开了一种阻燃型PC的生产工艺,具体包括如下步骤:S1、原材料的选取;S2、原材料的干燥;S3、原材料的称量与混合;S4、原材料熔融共混;S5、压片剪裁制得产品。本发明与常规阻燃型PC的生产工艺相比,采用间苯二酚二苯基磷酸酯(RDP)复配葫芦脲(CB[6])对聚碳酸酯(PC)进行无卤阻燃改性,阻燃效果最好,由于间苯二酚二苯基磷酸酯(RDP)复配葫芦脲(CB[6])阻燃体系的加入改善了PC热稳定性,提高了阻燃复合材料的残炭率。

标签:
复合材料
江苏 - 无锡 来源:中冶有色网 2023-03-18
改性聚丙烯树脂
改性聚丙烯树脂 853     
 0

本发明公开了一种改性聚丙烯树脂,属于复合材料领域,具有良好的抗刮擦性的同时,还具有良好的强度。本发明包括:按质量比各物质为:聚丙烯树脂为50%‑85%,填充剂为9%‑30%,耐刮擦剂为0.5%‑10%,交联剂为0.1%‑5%,相容剂为1%‑10%,抗氧化剂为0.1%‑1%,液体光稳定剂为0.5%‑5%。

标签:
复合材料
江苏 - 无锡 来源:中冶有色网 2023-03-18
光电活性层以及在柔性光电-压电混合能源电池中的应用

本发明涉及一种光电活性层以及在柔性光电‑压电混合能源电池中的应用,属无机/有机复合材料的制备及柔性电子器件制备,特别是涉及纳米混合能源电池制备的技术领域。将噻吩基可溶性共轭聚合物与纳米二氧化钛超声复合后过滤得到滤液,采用氧化铟锡‑聚萘二甲酸乙二醇酯为柔性基底,超声清洗柔性基底表面,烘干后吸取滤液滴到柔性基底中央,旋涂得到噻吩基可溶性共轭聚合物/纳米二氧化钛光电活性层薄膜。再次采用旋涂法将其与压电活性层薄膜集成,同时旋涂聚(3,4‑乙撑二氧噻吩):聚苯乙烯磺酸盐导电液作为导电液膜并用聚乙烯吡咯烷酮作为缓冲层对其进行修饰有利于导电液成膜,简化了制备工艺、提高了混合电池的电输出,从而拓宽了应用领域。

标签:
复合材料
江苏 - 无锡 来源:中冶有色网 2023-03-18
上一页 523 524 525 526 527 ... 1079 下一页
共1079页    到第

中冶有色为您提供最新的江苏无锡有色金属理论与应用信息,涵盖发明专利、权利要求、说明书、技术领域、背景技术、实用新型内容及具体实施方式等有色技术内容。打造最具专业性的有色金属技术理论与应用平台!

全国热门有色金属设备推荐
展开更多 +
全国热门有色金属技术推荐
展开更多 +

 

江西省隆恩特环保设备有限公司
宣传

报名参会
更多+

报告下载

有色专家
更多+

中国矿业大学
教授
蒙纳士苏州校区
中国工程院外籍院士/校长
中南大学
中国工程院院士
赣州江钨钨合金有限公司
副总经理
赣州有色冶金研究所有限公司
副主任/高级工程师
赤泥综合利用研究报告2025
推广

热门技术
更多+

推荐企业
更多+

福建省金龙稀土股份有限公司
宣传

发布

在线客服

公众号

电话

顶部
咨询电话:
010-88793500-807