青岛垚鑫智能科技有限公司
宣传

位置:中冶有色 >

有色技术频道 >

分类:
全部
矿山技术
冶金技术
材料制备及加工技术
环境保护技术
分析检测技术
地区:
全部
北京
天津
上海
重庆
河北
山西
辽宁
吉林
黑龙江
江苏
浙江
安徽
福建
江西
山东
河南
湖北
湖南
广东
海南
四川
贵州
云南
陕西
甘肃
青海
内蒙
广西
西藏
宁夏
新疆
其他
其他
展开
 
全部
南京
无锡
徐州
常州
苏州
南通
连云港
淮安
盐城
扬州
镇江
泰州
宿迁

江苏无锡有色金属理论与应用

免费发布技术信息>>
抗腐聚苯硫醚及其制备方法

本发明涉及一种抗腐聚苯硫醚及其制备方法,属于复合材料技术领域,进一步提高聚苯硫醚的抗腐蚀性能。本发明的抗腐聚苯硫醚由100重量份聚苯硫醚、1‑5重量份纳米二氧化硅、6‑8重量份甲壳素纤维、2‑5重量份硅烷偶联剂、15‑20重量份聚四氟乙烯、5‑10重量份叶蜡石粉、3‑5重量份羟丙基纤维素、2‑3重量份环氧树脂、0.5‑3重量份抗氧剂、2‑4重量份硅酮粉、1‑3重量份增韧剂和4‑8重量份马来酸酐接枝线性低密度聚乙烯组成。该抗腐聚苯硫醚较现有聚苯硫醚更耐氧化性酸。

标签:
复合材料
江苏 - 无锡 来源:中冶有色网 2023-03-18
杂原子掺杂碳材料/Ni-MOF复合电催化剂的制备

本发明属于新型能源技术领域,尤其是一种杂原子掺杂碳材料/Ni‑MOF复合电催化剂的制备。本发明主要是利用N、S元素共掺杂的协同效应来改变相邻碳原子的电荷密度,导致基体材料中自旋密度重新分配,从而在所制备的复合催化剂材料中形成了丰富的活性位点,有利于催化反应进行,进而改善了MOF基材料的催化性能。以葡萄糖为碳源、硫脲作为硫源和氮源、氯化锌为结构导向剂,采用水热法初步合成碳材料并进行去锌处理,洗涤后在110℃烘干,再经管式炉高温碳化,得到硫、氮掺杂多孔碳(SNPC)材料。再采用水热法制备杂原子掺杂碳材料与Ni‑MOF的复合电催化剂(SNPC/Ni‑MOF),经过测试发现复合材料的电解水性能得到明显改善。

标签:
复合材料
江苏 - 无锡 来源:中冶有色网 2023-03-18
用于胆红素吸附的氨基酸改性有机锂皂石的制备方法

本发明公开了一种用于胆红素吸附的氨基酸改性有机锂皂石的制备方法,包括如下步骤:1)配制改性剂溶液、锂皂石分散液;在70~80℃条件下,将改性剂溶液与锂皂石分散液混合均匀,反应,直至反应结束,得到分散液I;2)配制浓度为0.1~0.5mol/L的氨基酸水溶液;将氨基酸水溶液与分散液I混合均匀,在pH值为4.5~6.5、70~80℃条件下,反应,直至反应结束,经抽滤、洗涤、干燥,得到用于胆红素吸附的氨基酸改性有机锂皂石。该制备方法制得的氨基酸改性有机锂皂石纳米复合材料对胆红素溶液的去除率高达98%。

标签:
复合材料
江苏 - 无锡 来源:中冶有色网 2023-03-18
超掺杂层次孔碳材料及其制备方法

一种超掺杂层次孔碳材料及其制备方法,其主要涉及复合材料领域。该超掺杂层次孔碳材料的制备方法通过直接热处理的方式将碱性木质素原位转变合成超掺杂层次孔碳材料,其不但使得最终超掺杂层次孔碳材料形成层次孔结构,而且其掺杂原子比例也达到了10‑30at%;通过设置不同的掺杂气体作为掺杂气氛的组分,使得层次孔碳材料能够获得不同的掺杂元素;通过对不同的掺杂元素进行热处理参数的调节,实现异质原子和孔结构可控的超掺杂层次孔碳材料。因此,上述的超掺杂层次孔碳材料的制备方法不但工艺简单,而且制备出来的超掺杂层次孔碳材料具备较高的掺杂比,故其具有重要的推广应用价值。

标签:
复合材料
江苏 - 无锡 来源:中冶有色网 2023-03-18
竹缠绕复合三通管件的制备方法

本发明公开了一种竹缠绕复合三通管件的制备方法,该方法包括如下步骤:(1)缠绕制备三通母管,该三通母管为竹缠绕复合管,径向由内至外依次包括内衬层、结构层和外防护层,其包括主母管和支母管;(2)在缠绕制备的所述主母管和支母管上划线切割;(3)将所述主母管和支母管的切割边缘打磨出内衬层;(4)将支母管与主母管上打磨出的内衬层对接,在对接处糊制内衬层,之后固化;(5)待糊制的内衬层固化后,在糊制的内衬层上糊制纤维增强复合材料结构层,之后固化,固化后进行外表面防腐处理,制备获得所需的三通管件。本发明操作简单、效率高、对模具要求低,制备获得的三通具有尺寸精度高、强度性能好等优点。

标签:
复合材料
江苏 - 无锡 来源:中冶有色网 2023-03-18
中强多孔超高分子量聚乙烯纤维及制备方法

本发明公开了一种中强多孔超高分子量聚乙烯纤维及制备方法,该纤维是超高分子量聚乙烯作为原料,通过冻胶纺丝法制备UHMWPE冻胶原丝,采用一级拉伸、定长萃取和干燥、二级拉伸的工艺制备。可实现UHMWPE纤维功能化,其产品具有高孔隙率、中等强度、抗冲击性、耐磨、耐腐蚀等特点,可作为吸附材料使用或中等强度的复合材料使用,如海水提铀、治理琥珀污染、建筑工业等。

标签:
复合材料
江苏 - 无锡 来源:中冶有色网 2023-03-18
包括玄武岩纤维配筋的砼支护桩

本发明公开了一种包括玄武岩纤维配筋的砼支护桩,砼支护桩为柱状结构,所述砼支护桩靠近土层一侧竖直方向的截面积不小于远离土层的任意位置竖直方向的截面积,所述砼支护桩包括玄武岩纤维配筋,所述砼支护桩外边缘形状发生变化处均设置有玄武岩纤维配筋。该发明的优点在于:本发明中玄武岩纤维配筋是以玄武岩纤维为增强材料,以合成树脂为基料,并加入辅助剂经拉挤工艺和表面处理形成的一种复合材料,其优点是耐腐蚀、强度高,重量轻,作为支护桩的配筋大大提高了支护桩的抗裂能力。砼支护桩形状的设置在减少材料的基础上增大了砼支护桩与土层的接触面积,并且本发明中使用玄武岩纤维配筋和位置的设置可以增强砼支护桩的抗裂能力。

标签:
复合材料
江苏 - 无锡 来源:中冶有色网 2023-03-18
锰酸锂与氧化石墨烯及碳纳米管复合气凝胶及其制备方法和应用

本发明公开了一种锰酸锂与氧化石墨烯及碳纳米管复合气凝胶及其制备方法和作为水系锂离子电池正极材料的应用。该材料主要是先由氧化石墨烯、碳纳米管和锰酸锂形成水凝胶前驱体,然后再经冷冻干燥,得到复合气凝胶材料。该材料中的氧化石墨烯可构建内部相通的三维网络结构,碳纳米管穿梭于该网络,可提高气凝胶的导电性,锰酸锂均匀地包封于导电性能好的三维网络中。相对于现有技术,本发明所得复合气凝胶作为水系锂离子电池的正极材料,显示出优势的循环稳定性和高的倍率性能。该复合材料的制备方法简便、易行,是一种理想的水系锂离子电池正极材料的制备方法。

标签:
复合材料
江苏 - 无锡 来源:中冶有色网 2023-03-18
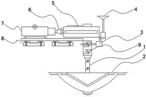
新型降噪表面曝气机
新型降噪表面曝气机 999     
 0

本发明公开了一种新型降噪表面曝气机,其特征在于,包括转轴(1),在转轴(1)下设置倒伞型叶轮(2),在转轴(1)上设置控制器(3),在控制器(3)上设置升降装置(4),在升降装置(4)旁设置减速器(5),通过联轴器(6)连接三相异步电动机(7),在三相异步电动机(7)下设置固定垫块(8),在转轴(1)上设置降噪三角带(9),本发明的有益效果是:本发明设计合理,结构简单。该新型降噪表面曝气机在工作时,将达到预期效果,大多转轴都需要有耐高温要求配置,而此发明从材料上达到了要求,转轴采用加强复合材料,使其加固提高使用安全性。

标签:
复合材料
江苏 - 无锡 来源:中冶有色网 2023-03-18
环氧树脂基中子屏蔽材料及其制备方法

本发明公开了一种环氧树脂基中子屏蔽材料及其制备方法,该材料由环氧树脂基体复合碳化硼填料制备而成,其中所用的环氧树脂为邻甲酚醛环氧树脂,固化剂为酚醛树脂,固化促进剂为咪唑或咪唑类化合物。本发明还公开了其制备方法。本发明制备的环氧树脂/碳化硼复合材料具有优异的中子屏蔽性能。本发明工艺操作简单,成本低,易于推广。

标签:
复合材料
江苏 - 无锡 来源:中冶有色网 2023-03-18
降低重金属活性的土壤调理剂、制备方法及其改良方法

本发明提供一种降低重金属活性的土壤调理剂、制备方法及其改良方法,降低重金属活性的土壤调理剂,含有以下重量份的成分:壳聚糖/氧化石墨烯复合材料,20‑30份;硅酸盐,5‑10份;熟石灰,15‑25份;膨润土,3‑5份;生物质废料,5‑10份;有机肥,20‑25份;腐殖酸,1‑3份;粘结剂,1‑3份。根据本发明实施例的降低重金属活性的土壤调理剂,不仅具有成本低、可操作性强等优点,还能防止重金属再度活化,降低化肥使用量,节约种植成本。

标签:
复合材料
江苏 - 无锡 来源:中冶有色网 2023-03-18
铁与氮元素共掺杂的碳纳米纤维催化剂的制备方法

本发明公开了一种铁与氮共掺杂碳纳米纤维催化剂的制备方法,包括:制备含有铁和氮元素的纺丝溶液;利用步骤S1中的纺丝溶液制备成纳米复合纤维膜的步骤;将步骤S2中的纳米复合纤维膜碳化,得到铁与氮共掺杂碳纳米纤维催化剂。该方法实现了铁、氮元素及碳纳米纤维的有机融合和同步一体化制备,工艺过程简单、易于规模化生产。该催化剂具有较高的比表面和孔隙率,通过铁原子和氮原子的掺杂调节了复合材料的电荷特性,具有优异的氧还原催化活性和耐久性,在质子交换膜燃料电池中展示了良好的应用前景。

标签:
复合材料
江苏 - 无锡 来源:中冶有色网 2023-03-18
采暖设备用耐腐隔热材料

本发明属于室内取暖设备配件材料技术领域,具体涉及一种采暖设备用耐腐隔热材料,包括以下重量份的原料:聚氯乙烯58‑64份、黑荆树皮粉22‑28份、粒状二氧化硅4‑7份、芳砜纶纤维2‑6份、氯化钙1‑3份、云母鳞片2‑6份、碳黑微粒5‑7份、氧化镁1‑3份、稳定剂8‑10份。本发明相比现有技术具有以下优点:本发明中耐腐隔热材料隔热性能良好,无毒性,导热系数小于0.02W/(m·K),耐腐蚀能力强,原料间相互配合提高复合材料的机械强度,其中碳黑微粒在使用前的处理能够有效改善材料的耐腐蚀性能,其中黑荆树皮粉的使用有助于提高材料的隔热性能,同时能提高材料的使用耐久性,用于烟囱,能够延长其使用寿命。

标签:
复合材料
江苏 - 无锡 来源:中冶有色网 2023-03-18
基于碳纳米管及石墨烯复配体系的聚烯烃基导电母粒及其制备方法

本发明提供了一种基于碳纳米管及石墨烯复配体系的聚烯烃基导电母粒及其制备方法;首先将碳纳米管和石墨烯分别均匀分散在易挥发的惰性溶剂中,分别经超声处理装置处理1h,然后将处理好的分散液按照比例与原料在高速搅拌机中搅拌,然后与相容剂按照一定比例在室温下进行混合后,通过双螺杆进行熔融挤出,制备成导电母粒。本发明制备的复合材料导电性能优异,易于添加,可广泛应用于注塑、挤出以及改性等领域。

标签:
复合材料
江苏 - 无锡 来源:中冶有色网 2023-03-18
内置高阻尼耗能材料的加固抗震剪力墙

本发明属于建筑技术领域,特别涉及了一种内置高阻尼耗能材料的加固抗震剪力墙。有益效果是防水、防腐效果好,设置的端角固定肋可有效防止墙体结构在承载时轻易发生整体滑移或变形,受力性能良好,设置的L形抗滑移连接件使得墙体结构连接成整体,保证墙体结构连接性能,FRP复合材料管对高阻尼耗能材料提供均匀的侧压力和有效的约束,形成两阶段受力体系—在小震和中震作用下通过设置的加气混凝土、高阻尼耗能材料可有效提高墙体结构的延性、耗能变形能力,在大震作用时通过低屈服点耗能钢板屈服耗能,抵抗地震荷载,钢板斜撑提高墙体的承载力,采用加气混凝土降低了墙体自重、钢材消耗量小、成本较低,并且保证剪力墙结构的抗震耗能能力。

标签:
复合材料
江苏 - 无锡 来源:中冶有色网 2023-03-18
新型立式船用自吸离心泵

本发明公开了一种新型立式船用自吸离心泵,包括泵体(1),在泵体(1)上设置进水口(2),在泵体(1)上方置挡水圈(3),挡水圈(3)连接联轴器(4),联轴器(4)连接电机(5),在泵体(1)另一侧设置出水口(6)。本发明的有益效果是:本发明设计合理,结构简单。该新型自动排风混流泵在工作时,将达到预期效果,大多泵都需要有防爆要求配置,而此发明从材料上达到了要求,采用加强复合材料,使其加固提高使用安全性。

标签:
复合材料
江苏 - 无锡 来源:中冶有色网 2023-03-18
新型消音可移动混流泵

本发明公开了一种新型消音可移动混流泵,包括泵体(1),在泵体(1)上设置进料口(2),在泵体(1)旁设置挡水圈(3),挡水圈(3)连接联轴器(4),联轴器(4)连接电机(5),在泵体(1)与电机(5)下设置基座(6),在泵体(1)另一侧设置出料口(7),在基座(6)上设置轮子(8),在轮子(8)上设置消音三角带(9)。本发明的有益效果是:本发明设计合理,结构简单。该新型消音可移动混流泵在工作时,将达到预期效果,大多泵都需要有防爆要求配置,而此发明从材料上达到了要求,采用加强复合材料,使其加固提高使用安全性。

标签:
复合材料
江苏 - 无锡 来源:中冶有色网 2023-03-18
新型防水立式船用自吸离心泵

本发明公开了一种新型防水立式船用自吸离心泵,包括泵体(1),在泵体(1)上设置进水口(2),在泵体(1)上方置挡水圈(3),挡水圈(3)连接联轴器(4),联轴器(4)连接电机(5),在泵体(1)另一侧设置出水口(6),防水罩(7)安装在电机(5)外部。本发明的有益效果是:本发明设计合理,结构简单。该新型自动排风混流泵在工作时,将达到预期效果,大多泵都需要有防爆要求配置,而此发明从材料上达到了要求,采用加强复合材料,使其加固提高使用安全性。在电机外部安装防水罩,使泵工作起来更加安全可靠。

标签:
复合材料
江苏 - 无锡 来源:中冶有色网 2023-03-18
散热热压机
散热热压机 848     
 0

本发明公开了一种散热热压机,其特征在于,包括支架(1),在支架(1)内设置热压板(2),在热压板(2)底部设置升降台(10),在升降台(10)下设置液压缸(3),在液压缸(3)旁设置输油口(4),通过输油管道(5)连接油箱(6),在油箱(6)下设置电机(7),在液压缸(3)下设置基座(8),在支架(1)一侧设置控制电箱(9),在电机(7)上设置排风扇(11),本发明的有益效果是:本发明设计合理,结构简单。该散热热压机在工作时,将达到预期效果,大多热压板都需要有耐高温要求配置,而此发明从材料上达到了要求,热压板采用加强复合材料,使其加固提高使用安全性。

标签:
复合材料
江苏 - 无锡 来源:中冶有色网 2023-03-18
新型调速管道离心泵
新型调速管道离心泵 824     
 0

本发明公开了一种新型过滤管道离心泵,其特征在于,包括泵体(1),在泵体(1)内设置转轴(2),在转轴(2)上设置叶片(3),在泵体(1)两侧设置进水口(4)和出水口(5),在泵体(1)下设置基座(6),在基座(6)上消音三角带(7),在进水口(4)和出水口(5)中设置调节式螺母(8)。本发明的有益效果是:本发明设计合理,结构简单。该新型过滤管道离心泵在工作时,将达到预期效果,大多泵都需要有防爆要求配置,而此发明从材料上达到了要求,采用加强复合材料材料,使其加固提高使用安全性。消音三角带的设置将大大减少泵在工作时而产生的噪声,优化泵工作时的环境,保护环境,调节式螺母的设置将可调节液体在管道中的流速与流量。

标签:
复合材料
江苏 - 无锡 来源:中冶有色网 2023-03-18
纳米纤维素增强的可生物降解复合薄膜及其制备方法

本发明公开了一种纳米纤维素增强的可生物降解复合薄膜及其制备方法,所述复合薄膜包括以下重量百分比的各组分:聚乳酸:60~80%,改性淀粉:10~20%,纳米原纤化纤维素:0~5%,聚乙二醇:10~20%。其方法主要是以聚乳酸为基料,通过添加改性淀粉降低其成本;并且,通过聚乙二醇包覆的方法对高压均质方式制备的纳米原纤化纤维素进行改性,将纳米原纤化纤维素/聚乙二醇复合材料作为增强相加入聚乳酸/改性淀粉复合体系;最后,基于溶液浇注法制备得到可生物降解复合薄膜。本发明方法制备工艺简单、过程环保,纳米原纤化纤维素在聚乳酸中分散良好,所制备的可生物降解复合薄膜具有良好的稳定性、优异的力学性能和生物相容性。

标签:
复合材料
江苏 - 无锡 来源:中冶有色网 2023-03-18
全无机非铅钙钛矿复合TiO<sub>2</sub>纳米线及其制备方法

本发明提供了一种全无机非铅钙钛矿复合TiO2纳米线及其制备方法,属于纳米复合新材料技术领域。具体制备方法的步骤为:通过水热法制备钛酸盐纳米线;对所制备的钛酸盐纳米线进行离子交换,制备钛酸纳米线,再进行晶化处理,制备得到TiO2纳米线;对所制备的TiO2纳米线进行全无机非铅钙钛矿的复合,制备得到一种全无机非铅钙钛矿复合的TiO2纳米线。该复合材料充分发挥了TiO2纳米线结构的优势,可使其吸收太阳能波长范围变宽,抑制电子‑空穴对的复合,大大提高了TiO2纳米线的光催化效率。

标签:
复合材料
江苏 - 无锡 来源:中冶有色网 2023-03-18
GO/IL复合纳米催化材料的制备方法

本发明所涉及一种基于离子液体和氧化石墨烯的氧还原电催化剂的制备方法。以磷酸功能化的聚离子液体为前驱体,向其加入一定量的氧化石墨烯,混合均匀后对其在惰性环境下高温热解,就可制备出一种复合纳米催化材料。经过电化学测试,这种复合材料具有较大的电活性面积且具有较高的氧还原催化活性。此种制备方法步骤简单,只需两步就可合成。

标签:
复合材料
江苏 - 无锡 来源:中冶有色网 2023-03-18
婴儿用绿色抗菌纺织面料的制备方法

本发明公开了一种婴儿用绿色抗菌纺织面料的制备方法,包含如下重量组份:取10~50重量份上述千里光醇提液,1~70重量份芦荟苷,5重量份干燥的改性氮掺杂CMK‑3/SBA‑16复合材料,制备了一种婴儿用绿色抗菌纺织面料。本发明制备的抗菌纺织面料抗菌率高,吸湿透气性能好,绿色安全,具有很好的推广应用价值。

标签:
复合材料
江苏 - 无锡 来源:中冶有色网 2023-03-18
线圈碳纳米管制备及焊接方法

本发明公开了一种线圈碳纳米管制备及焊接方法,涉及金属基复合材料技术领域。一种线圈碳纳米管焊接方法包括:S01、使用浓度为98%的浓硫酸和70%的硝酸按照配置成混合酸液将碳纳米管的焊接部位浸泡处理,最后放入浓度为表面活性剂溶液浸泡;S02、用砂纸将金属片焊接表面进行打磨,并用酒精清洗浸泡;S03、将金属片移入二氧化碳容器中进行激光处理;S04、采用超声波金属焊接机进行焊接。本发明通过使用碳纳米管线圈,使用的纳米材料具有良好的柔韧性及极轻特性,多次弯折不影响其材料特性,且重量轻,使用方便,可形成类似可穿戴线圈,解决了现有线圈结构笨重且不便于使用及存放的问题。

标签:
复合材料
江苏 - 无锡 来源:中冶有色网 2023-03-18
一类醌式结构化合物在可见光降解双酚A中的应用

本发明提供了一类醌式结构化合物在可见光降解双酚A中的应用,该类化合物具有较窄的光学带隙,吸收光谱拓展到近红外区;本发明提供了该类化合物作催化剂和过氧化氢溶液降解水溶液中双酚A的方法。通过调节pH值和过氧化氢加入体积,催化剂在120分钟时对0.04 mM的双酚A降解率达到98%。本发明制备的催化剂具有操作简单、易分离和循环稳定性好等优点,避免了复合材料的形貌难控制和重现性差的问题,为环境中双酚A的降解提供了新的材料,也为有机光电材料在环境净化领域的研究提供了新的思路。

标签:
复合材料
江苏 - 无锡 来源:中冶有色网 2023-03-18
核壳结构多孔硅纳米线-硫化镉量子点复合光催化材料的制备与应用

本发明公开了一种核壳结构多孔硅纳米线‑硫化镉量子点复合光催化材料的制备与应用,以硼掺杂硅片,氯化镉,九水硫酸钠,硫代乙醇酸和枝状聚乙烯亚胺等为原料,通过金属辅助化学刻蚀,冷凝回流和静电自组装方法得到SiNWs@CdS核壳结构复合材料,所制备出来SiNWs@CdS复合光催化材料,具有良好的一维核壳结构以及显著的可见光响应特性,能在可见光下光催化还原对硝基苯胺和光催化分解水产氢,该催化剂制备方法简单,反应后容易分离回收,原料丰富,价格低廉,对环境友好。

标签:
复合材料
江苏 - 无锡 来源:中冶有色网 2023-03-18
触控面板及触控显示装置

本发明提供一种触控面板,包括衬底基板,其上形成触控功能区、金属走线区及压合出线区;触控功能区设有多条间隔排布的感应电极链和驱动电极链;感应电极链包括由第一导电金属制作的多个感应电极,且相邻两个间通过至少一个连接桥桥接,每一连接桥均开设有两个通孔,并通过覆盖其上表面及延伸至两个通孔中的第一导电金属氧化物膜层来实现相应桥接的两个感应电极间电导通;驱动电极链包括由第二导电金属制作并串接在一起的多个驱动电极;驱动电极链中的每一个驱动电极与感应电极链中的每一个感应电极之间绝缘。实施本发明,降低ITO断裂风险,并采用柔性更好的复合材料来替代ITO,提高制作质量。

标签:
复合材料
江苏 - 无锡 来源:中冶有色网 2023-03-18
高性能碳碳复合碳材料的制备方法

本发明涉及人造石墨生产技术领域,尤其涉及一种高性能碳碳复合碳材料的制备方法,包括糊料配制、粗坯叠加、预制成型、焙烧处理及石墨化处理,将焦炭粉体投入至碳素混捏锅内与沥青进行混捏后,对其进行降温破碎再磨粉,将糊料粉均匀填充于碳布的空隙内及其上表面,形成粗坯;再对粗坯通过压载或者针刺方式预制成型;将预制块置于焙烧炉内焙烧后,通过浸渍或者碳沉积方式处理,形成焙烧坯;最后对焙烧坯以高温方式进行石墨化处理;通过碳布与糊料粉的特殊叠加结构,实现预制块整体密度大幅提高的同时实现碳布与糊料粉的均匀分布,实现碳碳复合材料机械强度的大幅提高,解决现有技术中存在的石墨材料强度低导致的生产成本高的技术问题。

标签:
复合材料
江苏 - 无锡 来源:中冶有色网 2023-03-18
聚合物短纤维改性纳米隔热防水浆料制备方法

本发明提供一种聚合物短纤维改性纳米隔热防水浆料制备方法,属于建筑材料领域。该隔热防水复合材料组合物包括硅酸盐水泥,聚合物纤维,纤维素,憎水剂添加剂等成分。其中,通过在无机物料中,引入修饰后的聚合物短纤维,即起到增强增韧的效果,又能维持较低的热导率,使得该纳米隔热防水浆料具有较优越保温隔热性能。而纤维素的引入则起到了吸水保水的功能,从而赋予该复合浆料有较好的防水防漏功能。正由于该浆料优异的综合性能,成本低廉,施工工艺简单的特征,使其在工业及生活中有广泛的应用前景。

标签:
复合材料
江苏 - 无锡 来源:中冶有色网 2023-03-18
上一页 522 523 524 525 526 ... 1079 下一页
共1079页    到第

中冶有色为您提供最新的江苏无锡有色金属理论与应用信息,涵盖发明专利、权利要求、说明书、技术领域、背景技术、实用新型内容及具体实施方式等有色技术内容。打造最具专业性的有色金属技术理论与应用平台!

全国热门有色金属设备推荐
展开更多 +
全国热门有色金属技术推荐
展开更多 +

 

江西省隆恩特环保设备有限公司
宣传

报名参会
更多+

报告下载

有色专家
更多+

中南大学
中国工程院院士
中国矿业大学
教授
江西省科学院应用化学研究所
副主任/副研究员
武汉科技大学
院长 / 教授
云南锡业集团(控股)有限责任公司
副总经理
赤泥综合利用研究报告2025
推广

热门技术
更多+

推荐企业
更多+

福建省金龙稀土股份有限公司
宣传

发布

在线客服

公众号

电话

顶部
咨询电话:
010-88793500-807