青岛垚鑫智能科技有限公司
宣传

位置:中冶有色 >

有色技术频道 >

分类:
全部
矿山技术
冶金技术
材料制备及加工技术
环境保护技术
分析检测技术
地区:
全部
北京
天津
上海
重庆
河北
山西
辽宁
吉林
黑龙江
江苏
浙江
安徽
福建
江西
山东
河南
湖北
湖南
广东
海南
四川
贵州
云南
陕西
甘肃
青海
内蒙
广西
西藏
宁夏
新疆
其他
其他
展开
 
全部
南京
无锡
徐州
常州
苏州
南通
连云港
淮安
盐城
扬州
镇江
泰州
宿迁

江苏南京有色金属理论与应用

免费发布技术信息>>
卫星通信中基于硬件保护的车辆锂电池剩余电量检测系统

本实用新型涉及一种卫星通信中基于硬件保护的车辆锂电池剩余电量检测系统,该系统包括:电源模块,包括电路转换模块和电路保护模块,所述电路转换模块用于通过接口向电性连接的器件模块进行供电;车辆通信模块,与卫星通过天线进行远程连接,用于传输车辆电源模块中的电池电量信息;信关站,与卫星通过信道指令建立数据连接,用于接收车辆通信模块输出的电池电量信息;用户端,与信关站通过交换机建立连接,用于接收电池电量信息,实时监测车辆状态。本发明通过对远程车辆电池电量进行实时在线监测,可以实时监控电池使用过程中各状态量,以保证电池使用过程中的安全,延长电池使用寿命,以及根据车辆的实时信息,对车辆的调配和增援进行监测。

标签:
加工技术
江苏 - 南京 来源:中冶有色网 2023-03-18
钢壳锂离子电芯用防爆装置

本实用新型涉及电池防爆技术领域,具体为一种钢壳锂离子电芯用防爆装置,包括安装箱体、缓冲结构、箱盖和泄爆结构,安装箱体内部中空形成放置室,放置室两侧内壁上设置有缓冲结构,安装箱体另外两侧内壁上设置有泄爆结构,安装箱体上端连接有箱盖,箱盖通过紧固螺钉固定在安装箱体上端,有益效果为:通过设置缓冲结构可以有效缓冲电芯内部膨胀产生的冲击,并且可以在没能及时泄爆,电芯发生爆炸时将爆炸冲击缓冲,降低破坏力,增加周边人员的安全性,并且设置有泄爆结构,通过泄爆结构可以迅速的将电芯排出的压力排出至外界,可以有效降低电芯爆炸几率,增加使用安全性能。

标签:
加工技术
江苏 - 南京 来源:中冶有色网 2023-03-18
锂电制片除粉尘装置
锂电制片除粉尘装置 1185     
 0

本实用新型提出了一种锂电制片除粉尘装置,包括:第一高度调节组件、送风板和吸尘机构,送风板水平布置在待除尘极片上方,送风板安装在第一高度调节组件上,第一高度调节组件用于驱动送风板上下,吸尘机构设置在待除尘极片一侧,送风板内部为中空结构,送风板上表面开设有进风孔,送风板下表面开设有一个或多个送风孔,送风孔的轴线向吸尘罩一侧向下倾斜。本实用新型结构简单,可根据实际情况调节送风板的位置进行定向集尘,有效提高集尘和除尘效果。

标签:
加工技术
江苏 - 南京 来源:中冶有色网 2023-03-18
用于方形锂离子电池极耳贴胶坏品的检测装置

本实用新型公开了一种用于方形锂离子电池极耳贴胶坏品的检测装置,包括:支架、第一驱动机构、气缸组件和电源;气缸组件包括上气缸和下气缸,上气缸和下气缸分别固定在支架上且上气缸位于下气缸上方,第一驱动机构与上气缸和下气缸相连接,并且驱动上气缸和下气缸相对运动;上气缸上设有第一测试探针组件,下气缸上设有第二测试探针组件,第一测试探针组件和第二测试探针组件均与电源相连;第一测试探针组件包括两组探针组,每组探针组包括两个探针。本实用新型通过探针测试单个极耳是否为短路,准确的检测出极耳贴胶坏品,显著地提高了电池生产过程中的质量,有效的避免了极耳为贴胶坏品流入后工序造成的安全问题。

标签:
加工技术
江苏 - 南京 来源:中冶有色网 2023-03-18
带除铁装置的锂电池材料粉碎机

本实用新型公开了一带除铁装置的锂电池材料粉碎机,包括粉碎装置和除铁装置;所述粉碎装置设置有电机外壳、电机、转点、第一把手、主动齿轮、连接轴、从动轮、转轴、刀片和筛网;所述电机固接在粉碎装置的右上方,电机外壳的内部位置;所述转点固接在电机外壳的右侧位置;所述主动齿轮有两个垂直固接在电机的正下方;所述连接轴固接在两个主动齿轮之间;所述从动轮两个分别固接在两个主动齿轮的右侧;所述转轴垂直贯穿两个从动轮的中心位置其上端固接在上方从动轮的正下方位置;本实用新型的电机外壳起到保护内部电机的作用;使用者双手握住第一把手向上配合转点打开粉碎装置的入料口;电机带动主动齿轮和连接轴转动,从动轮和主动齿轮相互契合。

标签:
加工技术
江苏 - 南京 来源:中冶有色网 2023-03-18
锂离子电池电极材料产气量测量装置

本实用新型涉及一种锂离子电池电极材料产气量测量装置,包括产气装置、集气装置和视频记录装置;产气装置包括多工位的可单独控制搅拌速度和温度的恒温磁力搅拌装置,以及与搅拌装置相对应的反应瓶;集气装置包括气体量筒、气体量筒支架、气体导管和液体槽;视频记录装置包括具有视频存储和传输功能的监控摄像头;气体量筒倒扣于液体槽内且开口在液面以下,并与液体槽底部保持一定距离;气体量筒上部通过支架固定,气体量筒具有刻度的一面朝向监控摄像头。本实用新型的多工位恒温磁力搅拌装置可以同时放置多个样品的反应瓶进行产气反应,且各个工位相互独立,搅拌速率和温度单独可控,提高测试的效率,全程记录并实时监控所有通道产气测试过程。

标签:
加工技术
江苏 - 南京 来源:中冶有色网 2023-03-18
圆柱型锂电池电机控制器的散热结构

本实用新型公开了一种圆柱型锂电池电机控制器的散热结构,该散热结构包括相互连接的压铸铝上盖和压铸铝下盖以及安装在压铸铝下盖中的散热条;所述散热条下端面与压铸铝下盖的接触面为一对相互配合的斜面。本实用新型不再像传统方式一样在侧面开螺钉孔以将散热铝条安装到压铸铝外壳上,而是依靠散热条同外壳间的斜面配合,再加上压铸铝上盖垂直向下挤压的方式,以实现散热铝条同压铸铝外壳间的无缝配合。一方面外观上不用考虑压铸铝外壳侧壁上安装螺钉的遮蔽问题,另一方面也不用考虑安装螺钉带来的防水问题,既美观又省事。

标签:
加工技术
江苏 - 南京 来源:中冶有色网 2023-03-18
溴化锂制冷机在线浓度监测显示及结晶预警的智能控制装置

本实用新型公开一种溴化锂制冷机在线浓度监测显示及结晶预警的智能控制装置,其特征是A/D数据采集板15由模拟量输入端口23-30和数据总线接口31组成,数据总线接口31插入工业控制计算机14的主板38上的扩展槽39,模拟量输入端口23、24、25分别与压力传感器11和温度传感器12、13的模拟信号22、20、21连接;输出接口板16由恒流输出端32、33,恒压输出端34、35和继电器输出端36及数据总线接口37组成,数据总线接口37插入工业控制计算机14的主板38上的扩展槽40,恒压输出端34与变频器17的调频端子连接,继电器输出端36与报警器18的控制端连接。

标签:
加工技术
江苏 - 南京 来源:中冶有色网 2023-03-18
氧转移反应增强锂离子电池硅氧碳负极材料的界面接触的方法

本发明提供了一种氧转移反应增强锂离子电池硅氧碳负极材料的界面接触的方法,将粗硅粉粉碎细化后与具有大量氧官能团的氧化石墨烯GO混合在密封条件下进行高能反应球磨,实现氧化石墨烯中氧通过固态反应方式,转移到硅上形成具有SiOx组成的含氧硅粉与失去氧的石墨烯rGO形成硅氧碳复合材料,x≤1。本发明具有如下技术效果:本发明提供的氧转移反应改善硅碳负极界面接触的方法,以氧化石墨烯和Si颗粒混合,在高能反应球磨机中球磨,利用球磨产生的高温高压环境,实现氧转移过程,被还原的石墨烯提高了复合颗粒的导电性,氧转移到硅颗粒中,同时改善了硅颗粒的循环稳定性。

标签:
加工技术
江苏 - 南京 来源:中冶有色网 2023-03-18
高强度硅合金锂电负极材料的制备方法

本发明公开了一种高强度硅合金锂电负极材料及其制备方法,主要采用以下步骤:将原材料(即金属粉、硅纳米粉、碳材料、聚丙烯腈纤维和格伦胶)进行混合粉粹,并加入二甲基乙酰胺进行研磨;将研磨好的混合物涂布在铜箔上进行真空干燥;随后将干燥好的铜箔进行热分解处理并退火至室温。本发明制备的电极材料具有较高的机械强度;电池充放电过程中硅体积变化得到有效地缓解;具有高机械弹性的石墨烯包裹的硅颗粒,有助于适应显著的体积变化。

标签:
加工技术
江苏 - 南京 来源:中冶有色网 2023-03-18
高实时性同步采集锂电池管理系统

本发明中提供了一种高实时性同步采集锂电池管理系统,所述管理系统包括电源模组管理单元、电池簇管理单元、高压控制箱、电池堆管理单元、监控平台、储能变流器。整个系统被分为三层架构对应三层网络,第一层网络为电池模组管理单元与电池簇管理单元之间的网络,第二层网络为电池簇管理单元与电池堆管理单元之间的网络,第三层网络为电池堆管理单元与监控后台以及储能变流器之间的网络。该管理系统整个网络架构明晰,可接入拓展性强,能支持多数电池设计。并且网络层级分明,便于定位问题。

标签:
加工技术
江苏 - 南京 来源:中冶有色网 2023-03-18
考虑老化的锂电池充电方法

本发明公开了一种考虑老化的锂电池充电方法,包括电池老化状态识别及充电曲线优化两个部分;通过对ICA曲线识别得到电池老化状态,利用同型号电池全寿命周期模型,得到电池当前老化状态电池参数;然后通过建立电池模型计算充电时间和电池温升;计算充电时间和温度变化量;最后以电池总体充电时间最短和充电温度变化最小为目标对当前老化状态电池的充电曲线进行优化,从而达到在充电时间尽量短的前提下尽量减小电池温升的目的。本发明适用于电动汽车、储能系统以及电动工具等电池单体和成组应用。

标签:
加工技术
江苏 - 南京 来源:中冶有色网 2023-03-18
便于运输的锂电池包装箱

本发明公开了一种便于运输的锂电池包装箱,包括包装箱体、通孔、横杆、电机、扇叶、包装盒、通风口、第一弹簧、托盘、按钮、橡胶垫片、卡钩、固定柱、安装框、第二弹簧、推板和软质垫片。本发明在运输过程中,可以打开通孔的盖子,打开通孔可以使包装箱内的温度降低,当遇到雨水空气潮湿的时候,关闭通孔的盖子,且按钮固定套接有橡胶垫片,使得包装箱内相对隔绝外部环境,第二弹簧另一端固定安装有推板,在遇到颠簸的路面时,使得造成的左右碰撞可以得以缓解,安装框底面放置有软质垫片,避免了挤压的发生,按钮的数量为两个,且分别在托盘的两侧,通过按压按钮使得托盘弹出,方便取出。

标签:
加工技术
江苏 - 南京 来源:中冶有色网 2023-03-18
用于锂电池负极浆料调配的混料装置

本发明公开了一种用于锂电池负极浆料调配的混料装置,包括拌料壳体、壳体支撑架、搅拌电机、电机主轴、电机固定架、搅拌轴、布线腔、石墨进料管、进料管、拌料板、布线管腔、拌料入口、拌料管、PTC加热块、搅拌叶片和出料管。本发明结构设计合理,利用不同拌料板上倾斜方向不同的拌料管增加了在搅拌混合过程中的石墨与粘合剂溶液的流动方向,提升了搅拌过程中石墨与粘合剂溶液之间相容的效率以及流动性,石墨以及粘合剂溶液在流经拌料管的过程中被PTC加热块均匀加热,为石墨和粘合剂溶液的分散提供更加适宜的环境。

标签:
加工技术
江苏 - 南京 来源:中冶有色网 2023-03-18
用作锂空气电池正极的复合材料及其制备方法

本发明公开了一种用作锂空气电池正极的复合材料及其制备方法,该复合材料包括纳米二氧化锰和多孔碳,纳米二氧化锰和多孔碳在分子水平上进行复合,纳米二氧化锰和多孔碳材料之间靠氢键连接,多孔碳与纳米二氧化锰的摩尔比为10:1~20:1。多孔碳孔径均一,且具有极大的比表面积,并且纳米MnO2成本低、无毒、平均电压高,以及良好的能量兼容性,并且具有极高的催化活性,能够有效地降低过电势。采用水热法或氧化还原法将催化剂纳米MnO2沉积在多孔碳材料表面,避免了使用贵重金属盐,成本低,方法简单易行,无需采用复杂苛刻的反应条件,可实施性强,无副反应,产物清洁无污染,符合环保要求。

标签:
加工技术
江苏 - 南京 来源:中冶有色网 2023-03-18
锂硫电池钢壳加工用内壁喷漆设备

本实用新型涉及一种锂硫电池钢壳加工用内壁喷漆设备,包括工作台,所述工作台两侧开设有第一滑槽,两个所述第一滑槽分别与两个第一滑块滑动连接,两个所述第一滑块分别固定设置在第一支撑板一侧的底部和第二支撑板一侧的底部,两个所述第一电动伸缩杆分别与两个固定块穿插连接,所述工作台一边侧的中部固定设有开关面板,所述开关面板的表面固定设有电动伸缩杆开关,所述电动伸缩杆通过电动伸缩杆开关与外接电源电性连接。通过使用增压泵将漆桶内部的油漆从喷头喷出,且喷头的喷孔在圆盘喷头的侧壁,因此可以均匀的将油漆喷撒在钢壳内壁;通过使用电机带动转向板底端的涂轮,将涂料进行均匀的抹匀;通过在固定板设有的烘干筒,烘干筒可以通过电动伸缩杆可以调节烘干筒的角度,可以快速的对油漆进行烘干,避免油漆聚集成滴。

标签:
加工技术
江苏 - 南京 来源:中冶有色网 2023-03-18
能移动储能电源易于散热的锂电防护装置

本实用新型属于电池防护领域,尤其是一种能移动储能电源易于散热的锂电防护装置,针对现有的散热效率低下,防护装置拆装难度大的问题,现提出如下方案,其主散热板,所述主散热板的两侧均对称开设有两个顶部开口的活动槽,四个活动槽的两侧内壁上均固定安装有同一个转轴,四个转轴上均套接有转动块,转动块上开设有卡槽,四个转动块靠近主散热板的一端呈半圆形,同一侧的两个转动块远离主散热板的一端固定安装有同一个外壳,本实用新型结构简单,使用方便,降低了外壳和散热板的安装难度,同时利用散热板大大提高了电池的散热效率,满足了人们的使用需求。

标签:
加工技术
江苏 - 南京 来源:中冶有色网 2023-03-18
动力锂离子电池极片缺陷自动检测线

本实用新型公开了一种动力锂离子电池极片缺陷自动检测线,该自动检测线包括倍速链上沿运行方向布置的上料机构、视觉检测机构、合格品下料机构和不合格品下料机构,以及控制机构。本实用新型具有检测效率高、使用成本低和产品质量标准统一的优点。

标签:
加工技术
江苏 - 南京 来源:中冶有色网 2023-03-18
锂硫电池生产用铝壳精切设备

本实用新型公开了一种锂硫电池生产用铝壳精切设备,包括装置主体、弹性板和控制面板,所述装置主体外部一侧的中间位置安装有控制面板,且装置主体内部的顶端固定连接有弹性板,所述装置主体内部的底端设置有固定台,且固定台的底端固定连接有连接滑套,所述弹簧的一侧固定连接有插销,且插销的一侧固定连接有拉杆,所述固定台的顶端设置有卡板,且卡板底端的两侧皆固定连接有连接插块。本实用新型通过在装置主体内部顶端的一侧安装的第二电机,第二电机可以带动凸轮转动,从而可以使滑轮可以在滑轨上滑动,从而使凸轮推动支杆在固定滑套内部滑动,从而调节弹性板底端的割刀的位置,从而可以对对不同厚度与不同型号的切割材料进行切割。

标签:
加工技术
江苏 - 南京 来源:中冶有色网 2023-03-18
锂电池物流线消防水槽用检修工装

本实用新型公开了一种锂电池物流线消防水槽用检修工装,应用在消防机构中的消防水槽的检修中,包括:管体,固定焊接在管体两端的U型卡接件,以及对称安装在管体一侧两个并列的折弯把手。本实用新型实现消防水槽检修时,快速、安全、稳定的将检修工装放到消防水槽上方,防止在人工取托盘或设备检修时因为突然的坠落造成的危险。

标签:
加工技术
江苏 - 南京 来源:中冶有色网 2023-03-18
软包锂电池热失控气体过滤收集装置

本实用新型公开了一种软包锂电池热失控气体过滤收集装置,其结构包括:钢针驱动装置、加热装置、气体转移装置、气体收集装置、中和剂过滤装置、电池固定装置以及底座支撑结构,其特征是:所述底座支撑结构固定连接加热装置,中和剂过滤装置、电池固定装置、加热装置依次环套,用密封圈固定,中和剂过滤装置、气体转移装置、气体收集装置通过连接管连接,钢针驱动装置穿过中和过滤系统固连钢针,整个气体过滤收集装置均固定在底座支撑结构的相应位置。优点:所述箱体可拆卸,便于电池的安装和取出;箱体内壁的泄爆片在电池发生爆炸时,可起到防护作用;该装置稳定达到热失控目的,对气体进行过滤调整,易于操作和推广。

标签:
加工技术
江苏 - 南京 来源:中冶有色网 2023-03-18
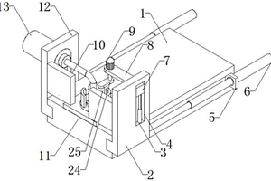
便于锂电池组检测用焊接电极格架

本实用新型公开了一种便于锂电池组检测用焊接电极格架,包括放置座,放置座的一端顶部固定安装回形框、另一端滑动安装回型框,放置座的顶部设有条形槽,条形槽内部转动连接有螺杆的两端,螺杆的外壁螺纹套接有滑块,滑块的顶部与放置座一端的回型框底部固定连接,放置座两端的回型框内壁均滑动卡接有若干个条形安装块,条形安装块的一端侧壁设有安装槽,安装槽内固定设有一层金属板,金属板上电性连接有连接线,连接线延伸出安装槽,条形安装块的外壁滑动卡接有U形滑座,U形滑座的开口端朝向条形安装块,且U形滑座上设有贯穿槽,贯穿槽内固定插接有导电块,导电块的一端延伸至安装槽内与金属板滑动贴合。

标签:
加工技术
江苏 - 南京 来源:中冶有色网 2023-03-18
太阳能锂电储能专用连接安装线

本实用新型公开了一种太阳能锂电储能专用连接安装线,包括线体、导体、导体屏蔽层、粘连层、绝缘屏蔽层、聚氯乙烯层、上固定件、下固定件、固定腔、缓冲层、凹槽、固定螺栓和固定通孔。本实用新型通过上固定件和下固定件围成固定腔对线体进行固定,固定腔通过缓冲层与线体表面接触,可以防止线体在固定时被压坏,通过固定通孔将整个固定件固定至安装位置,实现线体的安装,简单方便,可以提高线体的安装效率,由于粘连层与导体屏蔽层的接触端面呈波浪形结构,可以提高两者之间的缓冲性能,防止线体在被过度的弯曲时导致导体收到损伤,下固定件的顶部端面为半圆形结构,便于整个固定件安装在任何形状的墙面和主体上,拓展了线体的安装范围。

标签:
加工技术
江苏 - 南京 来源:中冶有色网 2023-03-18
锂离子动力电池组充电管理系统

本实用新型涉及一种锂离子动力电池组充电管理系统,它包括:若干单体电池串联联接的动力电池组;一能够切换恒流充电模式和均衡充电模式的主控制器;一与动力电池组串联的充电器,其控制端与主控制器联接;若干由主控制器控制开启或关闭的单体电池侧枝电路,各单体电池侧枝电路分别与单体电池正负两极并联;若干用于采集单体电池电压的单体电池电压采集系统,各单体电池电压采集系统分别与主控制器联接。优点:本实用新型具有一是使用方便,可靠性高;二是能最大限度保护单体电池,提高电池组的循环使用寿命;三是避免电池组过充电以及部分单体电池处于缺电状态;四是使电池组内各单体电池电压容量均衡。

标签:
加工技术
江苏 - 南京 来源:中冶有色网 2023-03-18
锂电池负极合浆用去离子水的在线监测及杀菌装置

本实用新型提供了一种锂电池负极合浆用去离子水的在线监测及杀菌装置,包括用于储存去离子水的储水罐,所述储水罐的顶端连接有进水管,储水罐的底部通过出水管和合浆机连接,所述出水管依次通过贮水箱、二位三通电磁阀与合浆机连接,所述贮水箱内部设有紫外线杀菌器,贮水箱的出口端连接有过滤器;位于储水罐和贮水箱之间设有第一电导率测试仪,位于过滤器和二位三通电磁阀之间设有第二电导率测试仪;所述二位三通电磁阀的一出口与合浆机连接、另一出口通过回水管与所述进水管连接。为加入电池合浆工序的去离子水溶剂进行闭环实时在线监测及处理,通过该装置的实施可以为电池工序的加工、自放电电性能提供有力品质保障。

标签:
加工技术
江苏 - 南京 来源:中冶有色网 2023-03-18
锂电传动系统中永磁电机的调磁控制方法

本发明公开了一种锂电传动系统中永磁电机的调磁控制方法,包括在DSP处理器中预设永磁电机在不同工况下永磁电机的q轴电流数值;电流检测电路检测永磁电机的q轴电流数值,以判断永磁电机当前所处工况;DSP处理器基于上述判断后的当前所处工况,输出调控信号至调磁控制编码电路中,选择发出不同调磁控制信号;根据获取到的不同调磁控制信号,电机控制器控制永磁电机发出匹配的转矩和转速,本发明采用不同的调磁控制编码电路控制方法,解决不同工况下永磁电机转矩小和输入功率不足的难点,解决了加速阶段电流输入不足的缺点;同时采用能量回收电路的控制方法,实现了对永磁电机制动惯性转动下产生电流的回收功能。

标签:
加工技术
江苏 - 南京 来源:中冶有色网 2023-03-18
塑料锂电池保护外壳体
塑料锂电池保护外壳体 1123     
 0

本发明公开了一种塑料锂电池保护外壳体,包括上盖以及装配在上盖上的下盖,上盖靠近下盖一侧开设有凹槽,下盖靠近凹槽处设置为凸状,下盖凸出处与凹槽设置有用于密封的轴向密封圈,下盖靠近上盖外壁套有径向密封圈,径向密封圈与上盖内壁相贴合,上盖表面设置有多个定位件,下盖表面设置有多个紧固件,定位件与紧固件卡接,上盖顶部中间设置有相互对称的翻边,翻边内部两端卡接有钣金件,钣金件上安装有把手,本发明上下盖通过采用轴向密封和径向密封两种方式,提高防水性,上盖和下盖通过卡扣和螺钉连接而成,卡扣和螺钉的连接方式,可确保上下盖的连接可承受超过15KG的重量。

标签:
加工技术
江苏 - 南京 来源:中冶有色网 2023-03-18
锂电池荷电状态估计方法及装置

本发明公开了一种锂电池荷电状态估计方法及装置,该方法首先使用多新息带遗忘因子的递推最小二乘法辨识电池参数,将标量新息拓展为新息向量,将增益向量拓展为增益矩阵,充分利用系统的输入输出所包含的参数信息,通过迭代的计算方式辨识系统参数,数据使用率更高,收敛速度快,参数辨识的准确性高。然后利用加权多新息自适应扩展卡尔曼滤波法估计电池SOC,在传统扩展卡尔曼滤波算法的基础上对噪声参数进行估计,然后通过利用多个时刻的新息向量来替换原本算法中使用当前时刻的新息对估计值的修正,并且新数据占有更高的权重,可以有效提升精度。

标签:
加工技术
江苏 - 南京 来源:中冶有色网 2023-03-18
锂电池用高容量复合负极材料及其制备方法

本发明提供了一种锂电池用高容量复合负极材料,主要包括硅单质颗粒、铝单质颗粒及颗粒间的碳网络,碳网络为电极多孔结构的主要构成材料,碳材料连接所有的硅、铝粒子,在电极内部形成高效有序的导电网络,具有良好的充放电容量和大电流充放电能力,同时具有优异的循环寿命。本发明所述的电极材料的制备方法,具有工艺简单,工艺周期短,节能环保,适合规模化生产的特点。

标签:
加工技术
江苏 - 南京 来源:中冶有色网 2023-03-18
方形锂离子电池负极耳塑形装置

本发明涉及一种方形锂离子电池负极耳塑形装置。包括固定在激光切割机上的塑形胶辊,所述塑形胶辊的上方平行布置有棱形压辊及固定胶辊,所述的棱形压辊及固定胶辊同轴设置,且棱形压辊及固定胶辊在升降机构的驱动下形成与塑形胶辊相接触或分离的两种状态,所述的棱形压辊包括辊体以及沿辊体周向均匀设置在辊面上的尖角。由上述技术方案可知,本发明通过固定胶辊与塑形胶辊的配合来压紧极片,通过棱形压辊与塑形胶辊的配合来对负极耳进行塑形,避免了由于负极耳的打折造成的电池短路现象,显著改善了负极耳的打折率,提高了电池的质量,同时提高了生产直通率。

标签:
加工技术
江苏 - 南京 来源:中冶有色网 2023-03-18
上一页 513 514 515 516 517 ... 964 下一页
共964页    到第

中冶有色为您提供最新的江苏南京有色金属理论与应用信息,涵盖发明专利、权利要求、说明书、技术领域、背景技术、实用新型内容及具体实施方式等有色技术内容。打造最具专业性的有色金属技术理论与应用平台!

全国热门有色金属设备推荐
展开更多 +
全国热门有色金属技术推荐
展开更多 +

 

江西省隆恩特环保设备有限公司
宣传

报名参会
更多+

报告下载

有色专家
更多+

湖南科技大学
所长/教授
中铝检测科技(郑州)有限公司/国家轻金属质量检验检测中心
正高级工程师
中南大学
教授
中铝科学技术研究院有限公司
董事长
东华理工大学
院长
赤泥综合利用研究报告2025
推广

热门技术
更多+

推荐企业
更多+

福建省金龙稀土股份有限公司
宣传

发布

在线客服

公众号

电话

顶部
咨询电话:
010-88793500-807