青岛垚鑫智能科技有限公司
宣传

位置:中冶有色 >

有色技术频道 >

分类:
全部
矿山技术
冶金技术
材料制备及加工技术
环境保护技术
分析检测技术
地区:
全部
北京
天津
上海
重庆
河北
山西
辽宁
吉林
黑龙江
江苏
浙江
安徽
福建
江西
山东
河南
湖北
湖南
广东
海南
四川
贵州
云南
陕西
甘肃
青海
内蒙
广西
西藏
宁夏
新疆
其他
其他
展开
 
全部
南京
无锡
徐州
常州
苏州
南通
连云港
淮安
盐城
扬州
镇江
泰州
宿迁

江苏南京有色金属理论与应用

免费发布技术信息>>
无线传输的振弦式传感器数据采集模块

本实用新型公开了一种无线传输的振弦式传感器数据采集模块,包括控制单元,所述控制单元连接有数据采集单元,所述控制单元还连接有锂电池,所述锂电池连接有充电电路,所述充电电路的输入端与太阳能电池板连接,所述充电电路的输出端与所述锂电池连接;所述控制单元还连接有GPRS通讯单元;该单点式数据采集模块通过太阳能电池板为锂电池充电,锂电池再为整数据采集模块供电,这样不仅节能环保,而且省去了布线,方便移动和安装,使得数据采集模块能够适用在多种场合,而且不会出现断电的情况;另外通过GPRS来实现采集模块与上位机之间的数据传输解放了上位机与采集模块之间的距离限制,而且不需要布线,功耗低、方便组网测试。

标签:
加工技术
江苏 - 南京 来源:中冶有色网 2023-03-18
通用童车限速装置
通用童车限速装置 946     
 0

本实用新型公开了一种通用童车限速装置,包括左车轮,右车轮,测速发电机,控制电路,主发电机,增速器,主轴,左轮和右轮以及连接左轮和右轮的主轴,主轴上同轴设有测速发电机和增速器,增速器连接有主发电机,主发电机电连接有控制电路,控制电路包括比较电路和锂电池充电电路。当童车车速较低时,测试发电机输出电压低,通过比较电路使锂电池充电电路断开,主发电机相当于不工作。当童车车速较高时,测速发电机输出电压变大,控制电路中的比较电路使锂电池充电电路闭合。此时主轴通过增速器提高转速驱动主发电机运转,将机械能转换为电能,主发电机发出电能通过对锂电池充电电路对锂电池充电,增加主轴运转阻力,实现对童车限速。

标签:
加工技术
江苏 - 南京 来源:中冶有色网 2023-03-18
手电筒
手电筒 1166     
 0

本实用新型公开了一种手电筒,包括:手电筒外壳、太阳能电池板、充电电路、可充电锂电池、光敏电阻、声控电子开关、LED驱动电路、LED灯,上述手电筒外壳前端固定放置太阳能电池板,手电筒外壳上设有光敏电阻,手电筒外壳内部设有充电电路、可充电锂电池、光敏电阻、声控电子开关、LED驱动电路,充电电路板的一端与太阳能电池板连接,充电电路的另一端与可充电锂电池形成电连接,充电电路为可充电锂电池充电,可充电锂电池与光敏电阻电相连,光敏电阻控制声控电子开关并形成电相连,声控电子开关控制LED驱动电路并形成电相连,LED驱动电路驱动LED灯并形成电相连。

标签:
加工技术
江苏 - 南京 来源:中冶有色网 2023-03-18
用于电池的负极活性材料及其制备方法

本发明涉及一种用于电池的负极活性材料,其具有负极活性物质颗粒,所述负极活性物质颗粒含有硅氧化合物,其特征在于,所述负极活性物质颗粒包括锂元素以及非锂掺杂金属,其中,所述非锂掺杂金属包括钛、镁、锆、锌、铝、钇、钙中的一种或多种,所述非锂掺杂金属占所述负极活性材料的含量为0.01‑20wt%,优选为0.05‑15wt%,进一步优选为0.1‑10wt%,更优选为0.1‑5wt%。利用本发明的负极活性材料制备的二次电池具有容量高、库伦效率高、循环寿命长、耐水性强的优势。

标签:
加工技术
江苏 - 南京 来源:中冶有色网 2023-03-18
LiMn<Sub>x</Sub>O<Sub>y</Sub>@C三维纳米片阵列、制备方法及其应用

本发明公开了一种三LiMnxOy@C三维纳米片阵列、制备方法及其应用。所述的三维纳米片阵列表面富含氧空位,由碳层包覆的MnO,γ‑MnO2及LiMn2O4构成的复合物组成,以Mn(CH3COO)2为原料,Na2SO4为电解质,水作为溶剂,泡沫镍作为集流体,通过电化学沉积法制备前驱体,再将其转移到LiOH水溶液中通过水热反应嵌锂,最后将嵌锂后的前驱体浸泡在葡萄糖水溶液中,再经过Ar/H2退火得到表面富含氧空位缺陷的三维LiMnxOy@C纳米片阵列材料。该材料具有三维阵列结构,利于电解质进入与活性材料反应,富含氧空位,电化学性能得到有效提高,同时包覆的碳层可以提高电极材料的导电性和机械稳定性;制备方法简单环保,不需要复杂的后处理过程。

标签:
加工技术
江苏 - 南京 来源:中冶有色网 2023-03-18
基于铁电金属异质结的忆阻器及其制备方法

基于铁电金属异质结的忆阻器,其中忆阻器材料铁电铌酸锂,采用脉冲激光沉积系统制备:将单晶LN靶材(4)固定在脉冲激光沉积制膜系统的靶台(5)上,放置在脉冲激光沉积制膜系统的生长室(6)中;生长室中的真空抽到0.8×10-4Pa以下,并通入氧气,氧气压25~35Pa间,将衬底温度升到600~650℃间;启动KrF准分子激光器,根据单脉冲能量,确定沉积时间,沉积厚度为30nm~200nm厚LN薄膜;原位500~650℃退火20~90min;该薄膜具有自发极化和180°畴界。将忆阻器铁电铌酸锂薄膜夹在两金属电极膜之间构成微型三明治结构忆阻器单元。该器件可应用于高密度低能耗非易失性阻变存储器。

标签:
加工技术
江苏 - 南京 来源:中冶有色网 2023-03-18
车载电源供电管理盒
车载电源供电管理盒 801     
 0

本实用新型提供了一种车载电源供电管理盒,其与汽车电瓶电源和设置于管理盒外部的太阳能电池板连接,该管理盒内部包括汽车电瓶电源采样电路、二个充电管理电路、二个锂电池、二个锂电池采样电路、二个降压电路、电源输出电路、微处理器、无线通信模块、温度传感器、温度采样电路、控制开关若干。本实用新型通过微处理器智能管理,使用二套锂电池系统实现太阳能充电的最大限度利用,锂电池的使用也减少了汽车电瓶在停车后的使用时长,解决了目前停车时车载负载系统的续航时间短的问题。此外,本实用新型还具备锂电池高温保护和汽车电瓶健康使用保护。本实用新型产品符合车联网发展的节能、环保理念。

标签:
加工技术
江苏 - 南京 来源:中冶有色网 2023-03-18
适用于RS485传感器的单点式数据采集模块

本实用新型公开了一种适用于RS485传感器的单点式数据采集模块,包括控制单元,所述控制单元连接有第一RS485通讯单元和第二RS485通讯单元,所述控制单元还连接有锂电池,所述锂电池连接有充电电路,所述充电电路的输入端与太阳能电池板连接,所述充电电路的输出端与所述锂电池连接;该单点式数据采集模块通过太阳能电池板为锂电池充电,锂电池再为整数据采集模块供电,这样不仅节能环保,而且省去了布线,方便移动和安装,使得数据采集模块能够适用在多种场合,而且不会出现断电的情况;另外通过设置两个RS485通讯单元来通讯,使得各个模块之间采用一根通讯电缆即可组网,缩短了传感器信号连接线,简便经济,而且测量数据能够直接传给上位机,方便测试。

标签:
加工技术
江苏 - 南京 来源:中冶有色网 2023-03-18
矿灯电池组件
矿灯电池组件 1169     
 0

本实用新型公开了一种矿灯电池组件,包括灯头结构、矿缆结构和供电结构,所述供电结构包括电池盒和电池盒卡扣,所述电池盒上方设置有电池盒盖,所述电池盒内部设置有锂电池组,所述锂电池组内设置有多个锂电池,所述锂电池顶部两端分别设置有正极和负极,所述正极和负极上连接有导线,所述导线上设置有矿灯保护器,所述锂电池正极和矿灯保护器之间设置有热敏电阻,有益效果是,长时间工作依然电量充足,矿灯保护器,具有过充电、过放电和短路保护等功能,矿灯短路时可迅速切断电路,避免发生事故,电池盒外侧的多层防护装置极大地避免了粉尘进入到电池造成短路的几率,使用更加安全,使用时间更加久。

标签:
加工技术
江苏 - 南京 来源:中冶有色网 2023-03-18
无线单点式数据采集模块

本实用新型公开了一种适用于无线单点式数据采集模块,包括控制单元,所述控制单元连接有RS485通讯单元,所述控制单元还连接有锂电池,所述锂电池连接有充电电路,所述充电电路的输入端与太阳能电池板连接,所述充电电路的输出端与所述锂电池连接;所述控制单元还连接有GPRS通讯单元;该单点式数据采集模块通过太阳能电池板为锂电池充电,锂电池再为整数据采集模块供电,这样不仅节能环保,而且省去了布线,方便移动和安装,使得数据采集模块能够适用在多种场合,而且不会出现断电的情况;通过GPRS来实现采集模块与上位机之间的数据传输解放了上位机与采集模块之间的距离限制,而且不需要布线,功耗低、方便组网测试。

标签:
加工技术
江苏 - 南京 来源:中冶有色网 2023-03-18
带防电池钝化电路的电能表

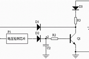
本实用新型公开了一种带防电池钝化电路的电能表,电能表包括MCU微处理器以及分别与MCU微处理器连接的电源模块和锂电池;还包括防电池钝化电路,防电池钝化电路的电能输入端接电源模块;防电池钝化电路包括由电阻R1和电容C1组成的充电电路、电容C1放电电路、电容C2放电电路和锂电池放电电路;防电池钝化电路还包括位于电容C1和电容C2连接线路上的电压检测芯片P1和二极管D2,电压检测芯片P1检测电容C1的充电电压值,电压检测芯片P1通过二极管D2给电容C2充电。本实用新型电能表通过防电池钝化电路使电能表中的锂电池定时放电,从而能够有效防止锂电池发生钝化,进而延长锂电池的使用寿命,进而使电能表能持续可靠工作。

标签:
加工技术
江苏 - 南京 来源:中冶有色网 2023-03-18
标准化电池箱
标准化电池箱 809     
 0

本实用新型公开了一种标准化电池箱,包括箱体和箱盖,箱体内设有隔板,隔板将箱体内的空间分隔为空腔一和空腔二,空腔一和空腔二内均设有锂电池,锂电池上电性连接有带状电缆,空腔一和空腔二内锂电池四周设有固定块,箱体的背板上设有气体腔,箱体左右两侧侧板上设有散热片,箱体左右两侧侧板下端设有固定片,箱体正面板和背板的上端设有凸块,箱盖外沿上铰接有搭扣,箱盖内表面设有露出箱盖外表面的供电接口和充电接口,供电接口和充电接口之间设有插针座,锂电池通过带状电缆与插针座电性连接,箱盖内表面与锂电池位置对应处设有限位条。本实用新型的优点在于:电池固定效果好、抗振动、容易拆装、便于维护、防火性能好。

标签:
加工技术
江苏 - 南京 来源:中冶有色网 2023-03-18
用于直流遮阳帘的自动控制机构

本实用新型公开了一种用于直流遮阳帘的自动控制机构,包括遥控器、主控制机构、直流电机,遥控器与主控制机构无线连接,主控制机构挂置在室内墙壁上,主控制机构的输出端通过电缆与直流电机相连接,直流电机用于控制遮阳帘上升或下降,主控制机构包括锂电池电源、内置控制芯片、充电插口、电缆插口、充电指示灯、控制按键和主控制外壳,锂电池电源嵌套在主控制外壳内,内置控制芯片位于锂电池电源的底部,且设置在主控制外壳内,锂电池电源用于给内置控制芯片供电,充电插口、电缆插口、充电指示灯、控制按键分别与内置控制芯片相连接。本实用新型的采用锂电池电源进行供电,体积小,方便放置,节能环保,成本低廉,具有良好的应用前景。

标签:
加工技术
江苏 - 南京 来源:中冶有色网 2023-03-18
物联网设备供电管理系统

本实用新型公开了一种物联网设备供电管理系统,使得路灯线路能够24小时持续为物联网设备供电,所述物联网设备供电管理系统包括市电220V电源、锂电池充电管理模块、锂电池组、智能管理控制设备、物联网设备和通讯模块;夜晚时,所述智能管理控制设备控制用市电220V电源给物联网设备进行供电,同时监控其状态和用电量;夜晚时,所述智能管理控制设备还控制所述锂电池充电管理模块用市电220V电源给所述锂电池组进行充电;白天系统断电时,所述智能管理控制设备控制所述锂电池组给物联网设备进行供电;所述智能管理控制设备通过所述通讯模块接受远程控制指令,并能将物联网的设备状态和用电量信息上传给后台软件平台。

标签:
加工技术
江苏 - 南京 来源:中冶有色网 2023-03-18
对讲机蓝牙适配器
对讲机蓝牙适配器 799     
 0

一种对讲机蓝牙适配器,属无线通信领域,主要包括锂电池、锂电池充电电路、稳压电源、蓝牙模块、对讲机PTT合成电路、第一音频检测电路、第二音频检测电路、指示灯驱动电路、射频天线及指示灯。其中:锂电池充电电路与复位电路均连接充电电源,锂电池充电电路连接锂电池及蓝牙模块并通过电子开关连接稳压电源,稳压电源给蓝牙模块供电,复位电路和蓝牙模块通过电子开关与稳压电源相连,蓝牙模块通过第一音检电路和第二音检电路及对讲机PTT合成电路与对讲机实现信号传输,指示灯驱动电路连接蓝牙模块和指示灯,蓝牙模块的射频天线与蓝牙耳机互传信号,PTT接收器接收遥控信号。此实用新型实现了对讲机蓝牙语音功能,解放双手,降低辐射。

标签:
加工技术
江苏 - 南京 来源:中冶有色网 2023-03-18
无线远程智能操控设备
无线远程智能操控设备 1046     
 0

本实用新型公开了无线远程智能操控设备,特别是涉及无线操控设备技术领域,包括遥控器本体和充电座,遥控器本体内部底端右侧固定安装有无线充电接收板,无线充电接收板内部呈空心结构,无线充电接收板内部布置有无线充电接收线圈。该种无线远程智能操控设备,通过将遥控器本体滑入到充电座上方,再进行充电座中充电接口的接电,可以实现遥控器本体的无线充电工作,从而使用单节锂电池,而且不需要更换锂电池,使得更加的环保,解决现有技术中存在的普遍装有两节锂电池,而当遥控器没电后,需要更换锂电池,众所周知,锂离子电池中包含多种有毒害性物质,具有很强的腐蚀性和污染性,导致不环保的技术问题。

标签:
加工技术
江苏 - 南京 来源:中冶有色网 2023-03-18
基于电容传感器的键盘键帽弹力检测系统

本实用新型公开了一种基于电容传感器的键盘键帽弹力检测系统,包括锂电池充电模块、电容检测模块、主控处理模块、蓝牙通信模块、上位机,锂电池充电模块包括USB充电器、锂电池充电电路,电容检测模块包括电容传感器、电容测量电路,USB充电器与锂电池充电电路连接,锂电池充电电路与电容传感器连接,电容传感器与电容测量电路连接,电容测量电路与主控处理模块连接,主控处理模块通过蓝牙通信模块与上位机连接。本实用新型能够解决传统键盘键帽弹力检测方式存在操作繁琐、测量精度低、易损坏按键等弊端,同时为键盘键帽弹力检测提供一种高效率、实用性检测方式。

标签:
加工技术
江苏 - 南京 来源:中冶有色网 2023-03-18
适用于振弦式传感器的数据采集模块

本实用新型公开了一种适用于振弦式传感器的数据采集模块,包括控制单元,所述控制单元连接有RS485通讯单元和数据采集单元,所述控制单元还连接有锂电池,所述锂电池连接有充电电路,所述充电电路的输入端与太阳能电池板连接,所述充电电路的输出端与所述锂电池连接;该单点式数据采集模块通过太阳能电池板为锂电池充电,锂电池再为整数据采集模块供电,这样不仅节能环保,而且省去了布线,方便移动和安装,使得数据采集模块能够适用在多种场合,而且不会出现断电的情况;另外通过设置RS485通讯单元来通讯,使得各个模块之间采用一根通讯电缆即可组网,缩短了传感器信号连接线,简便经济,而且测量数据能够直接传给上位机,方便测试。

标签:
加工技术
江苏 - 南京 来源:中冶有色网 2023-03-18
多通道数据采集模块
多通道数据采集模块 867     
 0

本实用新型公开了一种多通道数据采集模块,包括控制单元,所述控制单元连接有RS485通讯单元,所述控制单元还连接有锂电池,所述锂电池连接有充电电路,所述充电电路的输入端与太阳能电池板连接,所述充电电路的输出端与所述锂电池连接;所述控制单元连接有多通道数据采集单元,所述多通道数据采集单元包括ADS1248芯片,所述ADS1248芯片的输入端连接有信号输入电路;该多通道数据采集模块通过太阳能电池板为锂电池充电,锂电池再为整数据采集模块供电,方便移动和安装;另外,通过控制单元连接一个多通道数据采集单元,实现了多通道的数据采集,该数据采集模块上可以连接多个传感器,一机多用,大大节约了使用成本。

标签:
加工技术
江苏 - 南京 来源:中冶有色网 2023-03-18
具有钛网筒的振动筛
具有钛网筒的振动筛 1098     
 0

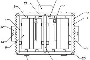
本实用新型属于振动筛设备技术领域,尤其为一种具有钛网筒的振动筛,包括筛选箱,所述筛选箱正面可拆卸连接有检修板,所述筛选箱的顶部开设有与其内部相连通的进料口,所述筛选箱的一侧开设有两个与其内部相连通的侧面出料口,所述筛选箱的底部开设有与其内部相连通的底部出料口,所述筛选箱的另一侧固定安装有支架。本实用新型通过设置筛选组件,利用振动电机带动筛选箱振动过程中,磷酸铁锂颗粒通过进料口进入到筛选箱内部的筛选组件上,通过筛选组件可以对磷酸铁锂颗粒进行三种不同粒度的筛选,并且当磷酸铁锂颗粒在筛选组件进行筛选过程中,减少了铁离子或镍成分附着在磷酸铁锂颗粒,从而提高了磷酸铁锂新能源电池的产品质量。

标签:
加工技术
江苏 - 南京 来源:中冶有色网 2023-03-18
Co<Sub>3</Sub>O<Sub>4</Sub>/MXene复合催化剂及其制备方法与应用

本发明提供一种Co3O4/MXene复合催化剂及其制备方法与应用。Co3O4/MXene复合催化剂的制备方法包括:MXene、钴盐和沉淀剂通过原位水热法制备Co3O4/MXene复合催化材料。本发明的催化剂制备方法简单,成本低廉,MXene为催化剂提供了良好的导电率,同时提高了锂离子的扩散速率,Co3O4提供了丰富的催化活性位点。将本发明的催化剂用于制备锂空气电池正极材料中,有效促进了锂空气电池产物过氧化锂(Li2O2)的分解,避免了正极堵塞问题,极大地改善了锂空气电池的循环性能。

标签:
加工技术
江苏 - 南京 来源:中冶有色网 2023-03-18
片状Li<sub>4</sub>Mn<sub>5</sub>O<sub>12</sub>离子筛前驱体及离子筛的制备方法

本发明涉及一种片状Li4Mn5O12离子筛前驱体及离子筛的制备方法。将锂源和锰源按锂锰摩尔比为(0.6‑2)∶1配制含锂离子和锰离子的混合盐溶液;先在140‑200℃条件下干燥活化后,得到深灰色粉末,研磨均匀后放入管式炉内于250‑400℃条件下煅烧,得到片状Li4Mn5O12离子筛前驱体。脱锂之后得到MnO2·0.3H2O离子筛,其吸附容量大,稳定性好,可用于盐湖海水提锂。

标签:
加工技术
江苏 - 南京 来源:中冶有色网 2023-03-18
太阳能人体感应灯
太阳能人体感应灯 912     
 0

本实用新型涉及一种太阳能人体感应灯,采用锂电池作为电源,所述的锂电池分别连接USB接口电路和太阳能供电电路,所述锂电池为LED灯组供电,在LED灯组与锂电池的连接电路中设有继电器开关,在太阳能人体感应灯上还设有红外线感应装置,所述的红外线感应装置与所述继电器开关信号相连;所述的锂电池还连接有过充和过放保护板;所述红外线感应装置包括热释电传感器,在所述热释电传感器外部还设有能够把人体辐射的红外线聚焦的菲涅尔透镜。本实用新型的感应灯分别在交流电充电和太阳能充电情况后能安全稳定的工作,续航时间长,同时红外感应比较灵敏。

标签:
加工技术
江苏 - 南京 来源:中冶有色网 2023-03-18
具有充放电功能的滑板结构

本实用新型公开了一种具有充放电功能的滑板结构,包括板壳、轮毂、桥架、锂电池和电控组件,所述板壳的底部固定连接有锂电池,所述锂电池的两端分别设有桥架,所述桥架的顶部与板壳固定连接,所述桥架的两侧设有转动连接的轮毂,所述轮毂的内部固定连接有电动机,所述锂电池的右侧设有电控组件,所述电控组件包括外壳、控制器和接线器,所述外壳与板壳的底部固定连接,所述外壳的内部固定连接有控制器,所述外壳的侧壁固定有接线器,所述锂电池、电动机和接线器分别与控制器相连接。本实用新型通过在接线器的表面设有充电接口和放电接口,方便在滑板不使用时临时对手机等移动设备进行充电,提高滑板使用的方便性。

标签:
加工技术
江苏 - 南京 来源:中冶有色网 2023-03-18
不饱和醇的制备方法
不饱和醇的制备方法 982     
 0

本发明提供的一种不饱和醇的制备方法,包括以下步骤:在惰性气体存在下,异丁烯和烷基锂溶液通过锂交换反应生成2-甲基烯丙基锂;2-甲基烯丙基锂和甲醛物料或环氧化合物发生亲核加成反应生成不饱和醇锂盐;利用氯化铵水溶液淬灭反应,纯化即得。该不饱和醇的制备方法反应条件温和、工艺简单、原料易得、副产物少、收率高、低能耗、通用性强。

标签:
加工技术
江苏 - 南京 来源:中冶有色网 2023-03-18
在线式蓄电池核容试验装置

本实用新型公开了一种在线式蓄电池核容试验装置,包括整流充电机、蓄电池组、放电仪、备用锂电池、数据采集处理装置,其中,所述整流充电机可以将交流电转换成直流电,所述整流充电机、蓄电池组及备用锂电池之间电连接,所述放电仪与蓄电池组电连接且所述数据采集处理装置与放电仪电连接用于采集处理所述蓄电池组的运行参数信息,本实用新型结构简单,操作简单,减少运行成本,便于蓄电池及时维护,通过第一二极管将整流充电机及蓄电池组隔离且通过第二二极管将整流充电机及备用锂电池隔离,使整流充电机及备用锂电池与蓄电池组断开,使整流充电机及备用锂电池不能对蓄电池组进行充电,蓄电池组开始通过实际负载放电,这样就实现在线核容。

标签:
加工技术
江苏 - 南京 来源:中冶有色网 2023-03-18
适用于轨道交通的备用电源系统

本发明公开了一种适用于轨道交通的备用电源系统,包括锂电池组、电池管理系统(BMS)、充电机、极限保护继电器,所述电池管理系统包括主控单元和从控单元,所述主控单元包括采集模块、数据存储模块、LED显示模块及检测、估算、控制模块,所述从控单元包括采集模块和均衡模块,所述充电机集成于备用电源系统中,充电机通过与极限保护继电器连接为锂电池组充电,所述极限保护继电器用于在极限条件下对所述锂电池组进行保护。本发明采用清洁、无污染的锂电池作为供电模块,在提升电源系统使用寿命的同时,采用特定的电池管理系统对锂电池组实时有效管理,保证了电源系统的安全性和可靠性。

标签:
加工技术
江苏 - 南京 来源:中冶有色网 2023-03-18
电池电解质膜
电池电解质膜 842     
 0

本发明涉及电池电解液技术领域,尤其是一种电池电解质膜;包括隔膜,所述隔膜上涂覆有聚合物涂层,所述聚合物涂层的质量份组成如下:低聚醚接枝聚磷腈聚合物10‑20份、锂盐5‑12份、1‑甲基‑2‑吡咯烷酮10‑20份、二甲基甲酰胺12‑20份、二甲亚砜10‑20份、四氢呋喃5‑10份、Ni或Ni的氧化物0.5‑1.6份;本发明的电池电解质膜成分配比合理,本发明可操作性强,制备的低聚醚接枝聚磷腈基聚合物电解质膜可以作为锂离子二次电池的聚合物电解质,使用本发明提供的方法制备聚合物电解质膜改善了聚合物电解 质膜的锂离子电导率和锂离子迁移数,提高了锂离子电池的安全性能,同时,获得的聚合物 电解质膜具有较好的弹性和加工性能,并具有较好的机械性能。

标签:
加工技术
江苏 - 南京 来源:中冶有色网 2023-03-18
交流微电网离网状态下混合储能系统协调控制方法

本发明公开了一种交流微电网离网状态下混合储能系统协调控制方法。所述混合储能系统包括锂电池、蓄电池及各自的双向DC‑AC变换器。所述控制方法中:锂电池储能系统作为微电网中的V/f源,采用Droop控制;蓄电池储能系统采用功率控制,基于微电网电压频率对锂电池的有功功率进行动态调整,保证锂电池的荷电状态在合理范围内。本发明的有益效果:锂电池承担暂态有功功率不平衡分量的调节,有利于提高系统动态响应能力;蓄电池承担稳态有功功率不平衡分量的调节,有利于平滑蓄电池充/放电电流;基于本地电气量,原理简单、易于实现。

标签:
加工技术
江苏 - 南京 来源:中冶有色网 2023-03-18
防水封装电池
防水封装电池 1012     
 0

本实用新型涉及电池封装技术领域,尤其涉及一种防水封装电池,解决了现有技术中封装结构密封性差,电池遇到水,电池十分容易损坏,甚至发生爆炸,造成安全隐患,给使用者带来生命危险的问题。一种防水封装电池,包括锂电池本体,锂电池本体的外侧的下部上部分别套设有底壳体和上壳体,且上壳体位于底壳体的上方,锂电池本体的顶部固定连接有电极,电极上套设有密封圈,电极的一端贯穿上壳体的顶部,底壳体的顶部和上壳体的底部均固定连接有密封环,底壳体的外侧上部套接有第二固定盘。本实用新型可以提高锂电池本体的防水性能,防止水对锂电池本体造成损坏,避免发生爆炸,威胁使用者的安全。

标签:
加工技术
江苏 - 南京 来源:中冶有色网 2023-03-18
上一页 508 509 510 511 512 ... 964 下一页
共964页    到第

中冶有色为您提供最新的江苏南京有色金属理论与应用信息,涵盖发明专利、权利要求、说明书、技术领域、背景技术、实用新型内容及具体实施方式等有色技术内容。打造最具专业性的有色金属技术理论与应用平台!

全国热门有色金属设备推荐
展开更多 +
全国热门有色金属技术推荐
展开更多 +

 

江西省隆恩特环保设备有限公司
宣传

报名参会
更多+

报告下载

有色专家
更多+

广西大学
处长/教授
长沙矿冶研究院
总经理
江西理工大学
教授
紫金矿业信息化研发中心
副总经理
广东省科学院工业分析检测中心
副主任
赤泥综合利用研究报告2025
推广

热门技术
更多+

推荐企业
更多+

福建省金龙稀土股份有限公司
宣传

发布

在线客服

公众号

电话

顶部
咨询电话:
010-88793500-807