青岛垚鑫智能科技有限公司
宣传

位置:中冶有色 >

有色技术频道 >

分类:
全部
矿山技术
冶金技术
材料制备及加工技术
环境保护技术
分析检测技术
地区:
全部
北京
天津
上海
重庆
河北
山西
辽宁
吉林
黑龙江
江苏
浙江
安徽
福建
江西
山东
河南
湖北
湖南
广东
海南
四川
贵州
云南
陕西
甘肃
青海
内蒙
广西
西藏
宁夏
新疆
其他
其他
展开
 
全部
南京
无锡
徐州
常州
苏州
南通
连云港
淮安
盐城
扬州
镇江
泰州
宿迁

江苏无锡有色金属理论与应用

免费发布技术信息>>
橡胶热防护材料及其制备方法

本发明涉及复合材料技术领域,具体公开一种橡胶热防护材料,包括以下重量份数的原料组分:三元乙丙橡胶100份,酚醛纤维5‑30份,阻燃剂5‑15份和硫化剂0.5‑2份。采用混炼工艺将酚醛纤维和阻燃剂填充到三元乙丙橡胶中,薄通出片,硫化成型制备得热防护材料,制备工艺简单。本发明制备的橡胶热防护材料耐烧蚀性能、隔热性能和力学性能优异,且工艺简单、易于实现产业化。

标签:
复合材料
江苏 - 无锡 来源:中冶有色网 2023-03-18
拉伸-剪切和拉伸-扭转耦合效应测量装置及方法

本发明属于力学性能研究技术领域,提供了一种拉伸‑剪切和拉伸‑扭转耦合效应测量装置及方法,本发明装置包括试验架(1)、连接装置(2)、加载装置(4)和变形测量装置(5),连接装置包括上端夹具(21)和下端夹具(22),试验架(1)上设置有连接试验架架体和上端夹具(21)的连接圆盘(12),上端夹具(21)将待测试验件一端连接在试验架架体上,下端夹具(22)连接待测试验件的另一端和加载装置。本发明装置具有结构简单、易于制作、操作方便、能够实现高精度测量复合材料结构拉伸‑剪切和拉伸‑扭转耦合效应的优点。

标签:
复合材料
江苏 - 无锡 来源:中冶有色网 2023-03-18
高效利用金针菇废料的双孢蘑菇培养基及制备方法和装置

本发明公开一种高效利用金针菇废料的双孢蘑菇培养基,所述基质按质量份包括金针菇废料60‑65%、玉米秸30‑40%、石膏1‑5%、过磷酸钙1‑5%、生石灰2‑3%、过磷酸钙1‑2%、尿素1‑5%。第一,本发明的双孢蘑菇栽培基质能满足双孢蘑菇生长时所需养分,应用其栽培的双孢蘑菇As2796品种出菇产量比不同对照组提高30~180%,出菇整齐,有效出菇率高,品质佳,出菇规律整齐。第二,废料的再利用。工厂化金针菇废料的有机质降解不充分,工厂化金针菇,原料大部分是棉子壳,还有玉米芯、麸皮,金针菇的生物学产量60%,废料还可利用于双孢菇的栽培基质。据计算10万吨金针菇产量会产生250吨农业废料,将其发酵后用于双孢蘑菇的栽培基质,按目前双孢蘑菇稻草栽培原料市场价为600‑800元/吨,可节省15‑20万成本。实验表明该配方在同等的发酵模式下,复合材料比单独一种材料发酵以及传统的稻草作培养基质的出菇产量显著性提高。

标签:
复合材料
江苏 - 无锡 来源:中冶有色网 2023-03-18
高强度轻量化新能源汽车电池壳体及其生产工艺

本发明揭示了一种高强度轻量化新能源汽车电池壳体,所述壳体包括碳纤维复合芯壳,所述碳纤维复合芯壳的内侧壁上设置有合金内壳,所述碳纤维复合芯壳的外侧壁上设置有合金外壳,所述碳纤维复合芯壳的侧壁上开设有若干泄压孔。本发明通过使用碳纤维复合材料与铝基合金材料的配合,再保证新能源汽车电池壳体足够强度的前提下,可大幅减轻壳体的重量,满足轻量化设计的需求,可大幅提升新能源汽车的续航和性能;碳纤维复合芯壳上设置的通孔可作为泄压孔使用,在电池包内温度过高或内部压力过大时,铝基合金材料会熔融并及时泄压,可减少爆炸的风险;同时与单纯使用碳纤维材料相比,可节省接近一半的材料成本,便于普及。

标签:
复合材料
江苏 - 无锡 来源:中冶有色网 2023-03-18
污水处理剂及其制备方法

本发明公开了一种污水处理剂,以重量份计,包括10‑20份蜂窝形多孔状碳纤维/纳米氧化锆复合材料、10‑15份聚多巴胺修饰坡缕石材料、15‑30份多孔沸石粉、13‑18份聚合氯化铝。本发明还公开了该污水处理剂的制备方法。本发明制得的污水处理剂比表面积大,活性高,吸附能力强,可有效除去废水中的污染物。该污水处理剂的制备方法简单,条件温和,制得的污水处理剂分散性好,对水体二次污染。

标签:
复合材料
江苏 - 无锡 来源:中冶有色网 2023-03-18
高表面硬度的聚碳酸酯材料及其制备方法

本发明属于聚碳酸酯材料技术领域,尤其涉及一种高表面硬度的聚碳酸酯材料及其制备方法。该高表面硬度的聚碳酸酯材料,包括聚碳酸酯基材以及涂设于聚碳酸酯基材上的增硬涂层;聚碳酸酯基材按质量百分比计的以下原料:35~40%的硅共聚PC塑料;8~12%的亚克力;4~8%的ASA树脂;3~7%的PCTG塑料;2~5%的纳米金属氧化物;0.05~0.1%的偶联剂;0.5~1.5%的环氧树脂;0.2~0.6%的抗氧剂;0.1~0.4%的润滑剂;0.3~0.7%的分散剂;0.3~0.7%的色粉;余量为PC树脂。该高表面硬度的聚碳酸酯材料通过加入纳米金属氧化物作为增强体,能够提高复合材料的强度、硬度和耐磨性;该增硬涂层起到增强表面硬度的目的;本发明还公开上述高表面硬度的聚碳酸酯材料的制备方法。

标签:
复合材料
江苏 - 无锡 来源:中冶有色网 2023-03-18
层状双金属氢氧化物/石墨烯纳米复合气敏材料及其制备方法和在检测二氧化氮中的应用

本发明公开了一种通过一步水热法工艺制备的层状双金属氢氧化物/石墨烯纳米复合气敏材料,通过调控水热反应过程中的温度、两种材料配比等,可以实现片层石墨烯表面LDH纳米片的均匀覆盖,形成比表面积大、导电性高以及具有良好载流子通道的三维复合结构,克服了传统直接混合法中LDH难以与石墨烯均匀分层复合而导致复合材料结构堆叠混乱、性能不佳的问题,显著改善层状双金属氢氧化物基气体传感器的灵敏度、响应速度、探测极限等室温气体敏感性能,实现传感器对ppb级微量NO2的超高室温灵敏和超快室温响应。

标签:
复合材料
江苏 - 无锡 来源:中冶有色网 2023-03-18
自支撑磷化镍铁复合纳米片的制备方法

本发明提供了一种自支撑镍铁磷(Ni‑Fe‑P)复合纳米片的制备方法。具体过程是:将硝酸镍、硝酸铁、氟化铵、尿素按比例配制成混合溶液,搅拌均匀后转移至反应釜中并加入清洁泡沫镍(3×5 cm2,纯度99%),利用水热反应合成镍铁复合前驱体,通过磷化反应得到镍铁磷复合纳米片。镍铁磷复合纳米片作为钠离子电池负极材料,相较于磷化镍和磷化铁单一材料,电池测试时容量和稳定性得到了提高,表现出较好的电化学性能。复合材料作为钾离子电池负极材料,也表现出良好的电化学性能,在钾离子电池领域具有潜在的应用价值。

标签:
复合材料
江苏 - 无锡 来源:中冶有色网 2023-03-18
全位置等强水介质超声辅助电弧-激光增材装置

本发明涉及一种全位置等强水介质超声辅助电弧‑激光增材装置及新方法,包括超声振动发射装置、箱体、电源模块、升降工作平台和控制面板部分。所述升降工作平台可以在振动箱体内部垂直升降,使得沉积层均获得等强超声波作用;本发明通过水介质将超声能量传递到电弧增材熔池中;通过调整升降平台来保持沉积层的相对高度;通过在水介质相同高度中均布的等强振动能量,实现沉积层全位置实时等强超声能量作用,从而抑制柱状晶的生长,并且通过空化效果抑制气孔生长。此外,在使用电弧增材制备金属基复合材料时,超声波振动产生的声流及声空化效应有助于改善陶瓷增强体的团聚效应细化组织,从而使得增材部件力学性能显著提高。

标签:
复合材料
江苏 - 无锡 来源:中冶有色网 2023-03-18
纳米碳负载钴氮碳催化材料及其制备方法和应用

本发明公开了一种纳米碳负载钴氮碳催化材料及其制备方法和应用,属于丙烷脱氢反应催化剂技术领域。纳米碳与钴氮碳物种的复合是通过钴盐前驱体与邻二氮菲配体发生络合原位浸渍在纳米碳表面后再进行煅烧和酸洗的过程来完成。这种复合材料可以很大程度的解决纳米碳催化性能低和钴氮碳活性物种利用效率低、稳定性差的问题。将所述催化材料作为丙烷脱氢反应的催化剂,在无水无氧常压的条件下催化丙烷直接脱氢生成丙烯,催化剂的使用温度为400~600℃;该催化剂性能稳定,在直接脱氢反应中可以得到高的催化活性和高的丙烯选择性,在反应过程中不易积碳,制备方法简便,原料易得。

标签:
复合材料
江苏 - 无锡 来源:中冶有色网 2023-03-18
抗菌不锈钢材料的制备方法

本发明公开了一种多层抗菌不锈钢材料的制备方法,所述的抗菌不锈钢材料,基本上由构成基体的钢和形成表面抗菌层的钢的双层结构组成,通过双层复合铸造的方法形成基体材料与表面层材料冶金结合的双层复合材料,将连铸得到的双层复合板材进行定长剪切得到固定长度的双层板坯并轧制得到抗菌不锈钢材料,随后通过热处理、轧延、冲压得到半成品,对半成品进行抗菌热处理后粗磨、细磨抛光等清洗、随后烘干包装,得到成品,本发明加工过程成本较低,抗菌层的厚度大。且基体和表面抗菌层均为不锈钢组分,在铸造过程中形成的冶金结合强度大,结合牢固,耐磨损,使用寿命长。

标签:
复合材料
江苏 - 无锡 来源:中冶有色网 2023-03-18
厚壁蜂窝夹层结构及方法

本发明一种厚壁蜂窝夹层结构及方法,属于结构材料领域;包括外层板和中间夹层,通过胶粘剂将所述中间夹层固定于两个外层板之间;所述外层板为复合材料面板,所述中间夹层包括蜂窝芯子和吸能壁板;所述蜂窝芯子由若干等壁厚正六边形结构的蜂窝单胞组成,所述蜂窝单胞的壁厚/壁长>0.02;所述吸能壁板固定于所述蜂窝芯子的外围,并固定于两个所述外层板之间。蜂窝夹层结构的整体抗压、抗弯性能也随之增强,同时本发明外围壁板在芯层部分能量释放的过程中处于吸能状态,进一步提高了整个夹层结构的承载能力。

标签:
复合材料
江苏 - 无锡 来源:中冶有色网 2023-03-18
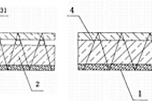
增材制造用连续纤维增强热塑性预浸料单向带

本发明是一种增材制造用连续纤维增强热塑性预浸料单向带,本发明的增强纤维在单向带内部非均匀分布,该单向带由上部的表面树脂层(1)和下部的纤维层(2)构成,而两部分平均后预浸料整体的纤维含量则与标准预浸料相当。在铺放成型过程中,预浸料富树脂的表面层受热熔融,而后在压力下相邻的两层预浸料粘接为一体,形成均匀致密的复合材料层压结构,成为增材制造的基础。

标签:
复合材料
江苏 - 无锡 来源:中冶有色网 2023-03-18
去除水中氨氮的催化剂的制备方法及其应用方法

一种去除水中氨氮的催化剂的制备方法及其应用方法,属于环境保护中水处理技术领域,可解决现有技术处理污水易造成二次污染,处理条件苛刻的问题,本发明将铜盐和铁盐按比例加入蒸馏水中,搅拌均匀,再加入聚乙二醇为分散剂,超声分散10~20min,再加入浓氨水,调节pH值至中性,静置,陈化,过滤,干燥,在300~500℃下煅烧2~3h,得到纳米氧化铜‑氧化铁复合催化剂材料。采用过氧化氢作为氧化剂应用于氨氮废水的处理,纳米氧化铜‑氧化铁复合材料作催化剂,效果明显。而且不会造成二次污染。

标签:
复合材料
江苏 - 无锡 来源:中冶有色网 2023-03-18
具有交联网络结构的柔性多级相变材料及其制备方法

本发明属于高分子复合材料技术领域,具体涉及一种柔性多级相变材料及其制备方法。本发明提供一种柔性相变材料,所述相变材料由以下成分组成:相变功能材料20~90重量份,交联的热塑性弹性体5~75重量份,热塑性树脂5~75重量份,增容剂0~5重量份。本发明所得柔性相变材料具有交联网络结构,其相转变温度具有多级性,具有较高的储能密度;并且该柔性相变材料的方法可实现大规模工业化生产。

标签:
复合材料
江苏 - 无锡 来源:中冶有色网 2023-03-18
抗冲击的高强度物理水凝胶的制备方法及其应用

本发明公开了一种抗冲击性能的高强度物理水凝胶制备方法。该方法制备得到的水凝胶具有透明、高模量、抗压的性能,同时具有高拉伸性,韧性,缺陷不敏感性,自我修复、灵活加工性的优点。本发明提供的抗冲击的高强度物理水凝胶及包含该类水凝胶的复合材料均可应用于抗冲击材料、纺织及传感器方面的领域。

标签:
复合材料
江苏 - 无锡 来源:中冶有色网 2023-03-18
棒状无定型/锐钛矿型TiO<Sub>2</Sub>复合催化剂的制备方法及应用

本发明属于聚酯催化剂的合成技术领域,具体涉及到一种棒状无定型/锐钛矿二氧化钛聚酯催化剂的制备方法及应用。本发明将棒状钛酸钾粉体加入无机酸溶液中,浸泡,过滤、洗涤,得到TiO2滤饼,然后干燥、粉碎,制得一种无定型棒状TiO2粉体;然后无定型棒状TiO2粉体分散至TiCl4溶液中,在0~10℃条件下,一边搅拌,一边向所得的分散液中滴加硅酸钠溶液;滴加完毕后,体系继续升温至70~80℃,搅拌反应,制得一种无定型/锐钛矿型棒状TiO2复合材料,该复合作为催化剂聚酯合成中。该棒状无定型/锐钛矿型TiO2复合催化剂兼具优异的催化性能和补强性能,催化合成的聚酯具有良好的色相和力学性能。

标签:
复合材料
江苏 - 无锡 来源:中冶有色网 2023-03-18
铁镍电池用碳包覆四氧化三铁的制备方法

本发明公开了一种铁镍电池用碳包覆四氧化三铁的制备方法,包括步骤:(1)将Fe3O4与一定量的导电石墨混合均匀后,球磨一段时间;(2)将球磨后的物质在氩气气氛下煅烧一段时间得到负极前驱体;(3)将所述负极前驱体与导电剂、添加剂混合均匀,然后加入粘结剂和去离子水,制成浆料;(4)将所述浆料均匀的刮涂于泡沫镍上,并置于真空干燥箱中烘干,得到极片;(5)将所述极片进行辊压和点焊极耳;(6)将步骤(5)得到的极片置于隔膜内,并与正极组装成电池,然后加入碱性电解液,得到铁镍电池。通过该铁镍电池用碳包覆四氧化三铁的制备方法,可制备纳米Fe3O4/C复合材料,增加极片导电性,且降低极化,提高铁镍电池的放电比容量,比表面积大,提高大电流放电性能。还由于该方法简单易操作,降低生产成本。

标签:
复合材料
江苏 - 无锡 来源:中冶有色网 2023-03-18
3D打印用木质环保材料及其制备方法

本发明提供一种3D打印用木质材料及其制备方法,其特征在于,该复合材料的组分及各组分的质量份数如下:左旋PLA 70‑80份;马来酸酐接枝聚合物 2‑4份;植物纤维粉10‑15份;硅烷偶联剂2‑6份;油脂类油脂润滑剂2‑6份;晶须2‑4份;白色母1‑3份。该材料低碳环保,碳足迹较低,可百分百循环回收再利用,具有仿木外观、打印时会产生天然植物纤维气味、尺寸稳定性好、不堵孔、不翘曲、加工条件要求低,且制品具有较好的物理机械性能以及耐酸碱、防虫蛀、抗紫外性能力强等耐候性。

标签:
复合材料
江苏 - 无锡 来源:中冶有色网 2023-03-18
聚丙烯增韧添加剂
聚丙烯增韧添加剂 1035     
 0

本发明公开了一种聚丙烯增韧添加剂。其是一种乙烯聚合物组合物;所述乙烯聚合物组合物包括组分A1和组分A2,组分A1是乙烯的均聚物,组分A2是乙烯和至少两种4‑10个碳原子的α‑烯烃的共聚物,其重均分子量高于组分A1的重均分子量;本发明得到的聚丙烯增韧添加剂用于聚丙烯改性,得到的复合材料抗冲击韧性高,可以在汽车保险杠、汽车内饰件及建材中广泛应用。

标签:
复合材料
江苏 - 无锡 来源:中冶有色网 2023-03-18
微波原位快速制备炭负载BiOBr可见光催化剂的方法

一种微波原位快速制备炭负载BiOBr可见光催化剂的方法,属于光催化剂材料制备技术领域。以五水硝酸铋为铋源、溴化钾为溴源,以活性炭(AC)作负载,去离子水为分散剂,利用微波法在活性炭微孔内及表面上通过铋盐水解原位合成BiOBr,获得炭负载BiOBr可见光催化剂。首先将活性炭颗粒置于洁净的容器中,加入适量去离子水,搅拌使活性炭颗粒均匀分散;然后将五水硝酸铋和溴化钾加入分散液中,搅拌均匀后放入微波炉中进行反应;反应结束后产物经过滤、洗涤、烘干。BiOBr/AC复合材料具有良好的可见光催化效应,可应用于有机染料污水处理领域。本发明在制备过程中所需原材料和设备都较少,操作工艺简单,生产成本低。

标签:
复合材料
江苏 - 无锡 来源:中冶有色网 2023-03-18
轻质高导热含铝石墨烯基散热材料的制备方法及散热材料

针对航空航天领域对散热材料轻质高导热的要求,本发明提出了一种轻质高导热含铝石墨烯基散热材料的制备方法及散热材料,本发明要解决石墨烯和铝复合材料的成型问题。方法:配制铝粉分散液;配制石墨烯分散液;铝粉分散液与石墨烯分散液混合;冷冻干燥制备混合粉末;混合粉末热处理;热压烧结得到轻质高导热含铝石墨烯基散热材料;本发明能够制备厚度在厘米级别的三维石墨烯基散热材料。其本身质量轻、热导率高且热通量大,有很好的散热效果,可广泛应用于航空航天领域。

标签:
复合材料
江苏 - 无锡 来源:中冶有色网 2023-03-18
石墨烯‑纳米贵金属复合管的制备方法

本发明公开了一种石墨烯‑纳米贵金属复合管的制备方法,包括:(1)取金属丝用稀硝酸浸泡后,置于无水乙醇中超声,然后烘干;(2)将烘干的金属丝放入化学气相沉积设备中在其表面生长石墨烯,得到石墨烯/金属丝复合结构;(3)在石墨烯/金属丝复合结构的石墨烯表面沉积纳米贵金属粒子包覆层;(4)将得到的复合结构放入刻蚀液中去除金属丝后,清洗烘干,获得石墨烯‑纳米贵金属复合管。本发明的制备方法具有操作简单易行,可重复性强,对环境无污染的特点。本发明提供的石墨烯‑纳米贵金属复合管具有优异的迁移率、机械强度、热导率和耐腐蚀性,适用于微电子、透明电极、有机光电器件、储能电池、多功能复合材料以及生物医学等诸多领域。

标签:
复合材料
江苏 - 无锡 来源:中冶有色网 2023-03-18
高性能纤维三维预成型体成型方法

本发明公开了一种高性能纤维三维预成型体成型方法。属新材料领域。本发明所述的高性能纤维三维预成型体成型方法是将短切玻纤薄毡或玻纤连续毡、玻纤机织单向布或高强高抗冲玻纤布或玻纤无捻粗纱(经、纬纱)、导流夹芯材料、轴向织物(双轴向(±45°)、三轴向(±45°、0°或±45°、90°)、四轴向(±45°、0°、90°))、玻纤机织单向布或高强高抗冲玻纤布或玻纤无捻粗纱(经、纬纱)通过缝编线一次性缝编而成三维预成型体。其中为弥补玻璃纤维、碳纤维横向剪力不足的缺陷,可以在材料层层叠加中部分或全部采用其他高性能纤维,如芳纶纤维、聚酰亚胺纤维等。本发明具有可设计性强、高效、成本低等优点,用其制得的复合材料性能优成本低。

标签:
复合材料
江苏 - 无锡 来源:中冶有色网 2023-03-18
基于超分子材料的新型膨胀型阻燃剂的制备方法

本发明涉及一种基于超分子材料的新型膨胀型阻燃剂的制备方法,属于超分子材料的合成和改性聚磷酸铵技术领域。首先用三聚氰胺和对氨基苯磺酸反应制得超分子材料,再用此超分子材料用于聚磷酸铵的交联改性。本发明的目的是通过将三聚氰胺、对氨基苯磺酸和聚磷酸铵反应合成一种物质,得到合成新型环保高效三源一体的膨胀型阻燃剂,可应用于多种树脂基体中,通过共混的方法提高复合材料的阻燃性能和热稳定性。

标签:
复合材料
江苏 - 无锡 来源:中冶有色网 2023-03-18
采用模板电纺制备柔性拉胀材料的方法

本发明公开了一种采用模板电纺制备柔性拉胀材料的方法,所述方法包括:(a)制备具有图案或凹凸结构的收集模板;(b)采用高压电场将高聚物溶液或高聚物熔融液体通过静电力牵引纺丝并收集在(a)制备的收集模板上;(c)将(b)收集到的柔性拉胀材料从收集模板上剥离;(d)将柔性拉胀材料进行后处理,以提高柔性拉胀材料的力学性能或赋予其功能。本发明中的方法可用于柔性拉胀材料的连续或间歇式制备,提高柔性拉胀材料的生产效率;制备的柔性拉胀材料可用于服装、过滤材料、生物医用、组织工程、光电材料、冲击防护、传感器、复合材料等领域。

标签:
复合材料
江苏 - 无锡 来源:中冶有色网 2023-03-18
可原位陶瓷化型抗氧化树脂、树脂基体、陶瓷材料及树脂制备方法

本发明涉及可原位陶瓷化型抗氧化树脂、树脂基体、陶瓷材料及树脂制备方法,本发明以碳硼烷和硅氮烷为原料,在制备过程中不使用溶剂,通过乙烯基在引发剂的作用下发生Diels‑Alder加成反应交联固化,当其中含有Si‑H基团时还会与乙烯基发生硅氢加成反应,两种反应形成致密的三维空间网状结构,使得树脂具有优异的耐热性能,本发明利用乙烯基加成和硅氢加成反应避免了缩聚反应过程中的小分子副产物的产生,此外,该树脂体系具有较好的抗氧化性能,在高温作用下,可原位陶瓷化形成陶瓷结构,且陶瓷产率较高,可作为防热复合材料的树脂基体或陶瓷先驱体使用于国防、航空、航天等领域。

标签:
复合材料
江苏 - 无锡 来源:中冶有色网 2023-03-18
水性冷热撕型转印离型剂及其制备方法

本发明公开了一种水性冷热撕型转印离型剂,以重量份计,包括以下组分:聚二甲基硅氧烷乳液30‑50份,丙烯酸酯50‑80份,交联剂5‑7份,壳聚糖12‑24份,明胶2‑5份,过硫酸钾2‑3份,表面活性剂12‑19份,纳米TiO2‑SiO2复合材料11‑20份,乙醇8‑15份,去离子水20‑50份。该离型剂为水性型离型剂,使用过程无有毒物质挥发,储存过程不会出现白色沉淀。并且该离型剂既可以在高温下剥离也可以在常温下进行剥离,而且该离型剂剥离完全,稳定性好,制备方法简单。

标签:
复合材料
江苏 - 无锡 来源:中冶有色网 2023-03-18
二并联超声振动辅助切割机床

本发明公开一种二并联超声振动辅助切割机床,包括工作台、床身、刀架、动平台、振动装置、振动装置夹具、电机、滚珠丝杠、并联杆、导轨、滑块、拖架等。在二并联机床的动平台上嵌入超声振动切割系统构成一种三自由度超声振动辅助切割并联机床,结构简单,工作空间大,省时省力,通过数字控制系统驱动并联机床动平台实现空间三自由度运动,嵌于动平台的超声振动辅助切割设备在超声高频信号源的激励下,产生垂直于动平台表面的超声纵向振动,经过上述多种运动的复合之后,最终实现切割刀具的宏观多自由度微观超声振动的运动轨迹,应用于蜂窝夹层复合材料的紧密加工领域。

标签:
复合材料
江苏 - 无锡 来源:中冶有色网 2023-03-18
机械臂制动执行元件及其制备方法

本发明提供一种机械臂制动执行元件及其制备方法,涉及复合材料技术领域,它由以下重量份的原料制成:聚己二酰己二胺30‑45份、邻苯二甲酸二丙烯酯3‑8份、过氧化二异丙苯5‑10份、乙酸纤维素1‑5份、磷酸三甲苯酯2‑6份、过氧化苯甲酸3‑7份、异辛酸钴2‑8份、环氧乙烷5‑10份、芳酰胺纤维15‑25份、硅氧烷1‑3份、合金粉末3‑6份;本发明还提供了该元件的制备方法:首先将合金粉末研磨,然后将所有物质高速混合均匀,最后将混合物加到注塑机中注射成型;本发明制备的元件由于芳酰胺纤维均匀填充在混合料中,使得材料的强度、刚度、耐腐蚀性、耐热性得到最大化的提高,制得的机械臂重量轻、强度高、耐腐蚀、耐持久性。

标签:
复合材料
江苏 - 无锡 来源:中冶有色网 2023-03-18
上一页 499 500 501 502 503 ... 1079 下一页
共1079页    到第

中冶有色为您提供最新的江苏无锡有色金属理论与应用信息,涵盖发明专利、权利要求、说明书、技术领域、背景技术、实用新型内容及具体实施方式等有色技术内容。打造最具专业性的有色金属技术理论与应用平台!

全国热门有色金属设备推荐
展开更多 +
全国热门有色金属技术推荐
展开更多 +

 

江西省隆恩特环保设备有限公司
宣传

报名参会
更多+

报告下载

有色专家
更多+

华东理工大学
主任/教授
北京科技大学
教授
湖南科技大学
所长/教授
重庆理工大学
教授
中铝郑州有色金属研究院有限公司
党委书记 董事长
赤泥综合利用研究报告2025
推广

热门技术
更多+

推荐企业
更多+

福建省金龙稀土股份有限公司
宣传

发布

在线客服

公众号

电话

顶部
咨询电话:
010-88793500-807