青岛垚鑫智能科技有限公司
宣传

位置:中冶有色 >

有色技术频道 >

分类:
全部
矿山技术
冶金技术
材料制备及加工技术
环境保护技术
分析检测技术
地区:
全部
北京
天津
上海
重庆
河北
山西
辽宁
吉林
黑龙江
江苏
浙江
安徽
福建
江西
山东
河南
湖北
湖南
广东
海南
四川
贵州
云南
陕西
甘肃
青海
内蒙
广西
西藏
宁夏
新疆
其他
其他
展开
 
全部

有色金属技术理论与应用

免费发布技术信息>>
铜绿假单胞菌及应用其处理有机废水的方法

本发明属于废水生物处理技术领域,尤其涉及一种铜绿假单胞菌及应用其处理有机废水的方法。该铜绿假单胞菌G12的分类命名为铜绿假单胞菌(Pseudomonas aeruginosa),其保藏于中国微生物菌种保藏管理委员会普通微生物中心,保藏编号为CGMCC No.15857。铜绿假单胞菌G12在好氧条件下能够实现对废水中NH4+‑N、NO3‑N的高效降解,具有异养硝化‑好氧反硝化脱氮的能力,并且在脱氮同时,还能够用将废水中的Cr(VI)还原成低毒性的Cr(III),适用于处理存在氮素及Cr(VI)的复合污染的水体,在处理存在氮、Cr(VI)复合污染的有机废水方面表现出良好的应用前景。

标签:
废水处理
重庆 - 重庆 来源:中冶有色网 2023-03-19
基于短程硝化反硝化的电子行业废水处理方法

本发明公开了一种基于短程硝化反硝化的电子行业废水处理方法,包括以下步骤:S1、将待处理蚀刻液废水输送至钙盐沉淀池进行除氟预处理;S2、将除氟预处理后的废水以及综合废水输送至生化调节池,调节pH为7‑8;S3、调节pH后的废水输送至短程硝化池进行短程硝化反应,功能性菌群为氨氧化菌,将氨氮氧化为亚硝态氮,短程硝化池内悬挂生物填料,pH为7‑8;S4、经步骤S3处理后的废水输送至反硝化池,维持C/N比在3‑4;S5、经步骤S4处理后的废水输送至好氧硝化池,进行进一步碳氧化反应和硝化反应,好氧硝化池废水回流至反硝化池,回流比为1~4:1。本发明能够大大降低高氟高氨氮废水出水时氟化物和氨氮的浓度,实现高氟高氨氮废水深度除氟、脱氮的目的。

标签:
废水处理
江苏 - 盐城 来源:中冶有色网 2023-03-19
应用于高有机物高含盐废水的生化预处理方法

本发明提供一种应用于高有机物高含盐废水的生化预处理方法,所述废水中含有但不局限于以下离子:SO42‑、F及PO43‑,处理方法包括以下步骤:在室温搅拌条件下,向废水中加入酸或碱调节废水至pH为3~5;向得到废液中加入亚铁酸盐,反应10min~20min;继续直接加入次氯酸盐,反应30min~40min;再向上述废液加入铝盐,并用碱液调节pH至10~12,反应15min~25min;再向废液中加入絮凝剂进行沉淀,对上清液进行收集。本发明避免了传统氧化工艺中双氧水的投加及碱性氧化的二次pH调节,实现废水中有机物及无机离子的分层次去除,降低处理成本。

标签:
废水处理
上海 - 上海 来源:中冶有色网 2023-03-19
电镀和化学镀工艺中在线净化废水和回收废料的方法

本发明提供了一种在电镀和化学镀工艺中在线净化废水和回收废料的工艺方法,通过直接在生产线上的水洗装置中设置电容去离子装置,在电极充电过程中吸附废水中的各种阴阳离子,从而净化废水;然后通过电极放电释放并回收废料,从而实现污染物的零排放。本发明通过工艺参数的优化组合,使电容去离子方法适用于多种电镀或化学镀产品的制作工艺中,通过在线净化并回用水洗水,不但显著降低了现存废水处理系统的负担,同时因水洗水水质的显著改善而保证了镀件的品质,并可以实现废料的分类回收;该方法亦能显著降低废水中的COD,在电镀和化学镀领域中具有广阔的应用前景。

标签:
废水处理
广东 - 广州 来源:中冶有色网 2023-03-19
生产加工用废水处理装置

本实用新型涉及废水处理技术领域,且公开了一种生产加工用废水处理装置,包括气浮池,所述气浮池的外侧壁对称设置有多个支架,所述支架的内壁转动连接有转轴,所述转轴的外壁连接有第一传动辊,多个所述第一传动辊传动连接有第一传送带,所述第一传送带的外壁连接有叶片,其中一个所述支架的一侧连接有电机。该种生产加工用废水处理装置,通过设置叶片、L形支架、输送装置,使得叶片在传动时将气浮池上表面的漂浮物带动至第二传送带上,第二传送带能够有效的将漂浮物传送至指定位置,避免了仅使用叶片对气浮池上表面的漂浮物清理时,导致气浮池内部的废水被带出,造成流出的废水需要做二次处理,且操作繁琐。

标签:
废水处理
江苏 - 苏州 来源:中冶有色网 2023-03-19
应用于酚氰废水处理的浸没式负压抽吸超滤装置

本实用新型属于废水应用技术领域,具体公开了一种应用于酚氰废水处理的浸没式负压抽吸超滤装置,由框架组件,及与框架组件相配合使用的浸没式负压抽吸超滤组件组成。本实用新型的一种应用于酚氰废水处理的浸没式超滤系统的有益效果在于:其设计合理,能对酚氰废水完成行高效、安全和稳定的处理,实现节能、环保和安全的废水处理作业,实用性强。

标签:
废水处理
江苏 - 无锡 来源:中冶有色网 2023-03-19
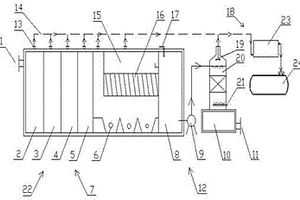
焦化废水除酚装置
焦化废水除酚装置 1119     
 0

本实用新型涉及一种焦化废水除酚装置,属于废水处理技术领域,本实用新型先将废水置于沉淀分离罐内进行沉淀吸附处理,去除大颗粒有机物及悬浮物,为后续处理做准备,废水从沉淀分离罐内进入吸附过滤罐,以大孔吸附树脂作为吸附剂,将沉淀分离后的含酚焦化废水通过大孔树脂进一步作吸附处理,吸附树脂的吸附性能非常突出,主要表现在其吸附量大、有一定的选择性、容易脱附、强度好、并且可以重复使用,针对不同的用途,可以设计出不同的树脂结构,从而使吸附树脂可以形成一个完整的系列,使之在许多重要领域表现出优良的吸附分离性能,焦化废液中的酚类有机物通过化学键与大孔吸附树脂的表面相结合,从而达到去除酚类化合物的效果。

标签:
废水处理
江苏 - 常州 来源:中冶有色网 2023-03-19
用于纸箱清洁生产的废水处理装置

本实用新型公开了一种用于纸箱清洁生产的废水处理装置,涉及废水处理技术领域。该用于纸箱清洁生产的废水处理装置,包括底板,所述底板的顶部外表面固定安装有过滤箱,所述过滤箱的内部设置有过滤机构,所述过滤箱的另一侧外壁固定安装有入水管,所述入水管与过滤箱内部相通,所述底板的顶部外表面固定安装有气浮箱。该用于纸箱清洁生产的废水处理装置,通过气浮箱、电机、转盘、刮板、收集箱、风机、通风管、布风管和布风口的配合使用,将废水中不易被过滤出的悬浮固体进行凝结过滤,不仅更简便的去除了污水中的纤维细料及悬浮物,而且可去除绝大部分淀粉浆糊和树脂,可降低处理过程中的化学耗氧量及生化需氧量。

标签:
废水处理
山东 - 日照 来源:中冶有色网 2023-03-19
用于废水处理的电催化氧化装置

本实用新型公开了一种用于废水处理的电催化氧化装置,包括用于初步净化废水的一号反应池、用于反应的电极板和二次净化废水的二号反应池,所述一号反应池包括壳体,所述壳体上设有开槽和放置滑块的滑槽,所述开槽与滑槽垂直设置,所述电极板上设有支杆,所述支杆固定在电极板上,所述支杆上设有滑块和固定电极板位置的紧固件,所述电极板通过紧固件确定在废水中的位置,所述电极板通过滑块置于滑槽内移动,所述电极板可在滑槽中移动到开槽位置来取出,还包括防止电极板转动的弹性件,所述弹性件连接电极板和滑块。本实用新型能够根据反应需求改变极板间距,并且能够及时检查极板的吸污腐蚀情况,方便工作者检查的同时降低废水处理费用。

标签:
废水处理
江苏 - 无锡 来源:中冶有色网 2023-03-19
催化剂废水集成处理系统

本实用新型涉及一种催化剂废水集成处理系统,包括高效软化除硅装置、介质过滤装置、超滤装置以及离子交换装置,介质过滤装置的进水口和高效软化除硅装置的出水口连接,超滤装置的进水口和介质过滤装置的出水口连接,离子交换装置的进水口和超滤装置的出水口连接,高效软化除硅装置用于去除废水中部分硬度、碱度、二氧化硅、悬浮物以及有机物,介质过滤装置用于去除废水中部分悬浮物,超滤装置用于去除废水中的悬浮物、胶体以及细菌,离子交换装置用于去除钙镁离子;采用上述方案可有效去除催化剂废水中的污染物质,降低催化剂污染程度,以达到环保的要求,保证集成系统后续工艺的稳定性、降低运行成本。

标签:
废水处理
北京 - 北京 来源:中冶有色网 2023-03-19
含油乳化液废水电化学分离反应器

本实用新型公开了一种含油乳化液废水电化学分离反应器,反应器本体分别连接有废水进水管和处理后出水管,其特征在于:在反应器本体内设置有用于电化学反应的电极单元,电极单元的两个电极分别与电极专用电源的两个电源输出端连接,在电极单元的下方约50MM处安装有取样口和在线监测仪表接口;在所述反应器本体外设置有加药单元,加药单元包括废水和破乳剂混合单元,加药单元的送水管与反应器本体的废水进水管连接。利用本实用新型可以实现电离及化学破乳,其应用范围更加广泛,具有对乳化液废水分离效率高、脱色率高、操作简便、无易损易耗件更换等优点。

标签:
废水处理
四川 - 成都 来源:中冶有色网 2023-03-19
生产乙酰甲胺磷的含磷废水的处理装置及方法

本发明提出了一种生产乙酰甲胺磷的含磷废水的处理装置及方法,将生产乙酰甲胺磷的含磷废水中的有机磷和无机磷吸附在树脂吸附塔的树脂中,树脂吸附饱和后进行的碱洗、酸洗和水洗将树脂中的总磷进行洗涤脱附,洗涤出来的废液经过除磷剂进行除磷,除磷过程中产生的羟基磷酸钙满足企业副产标准,碱性废液的出水可以直接补充到碱液稀释搅拌罐中补充碱液,酸性废液的出水可以直接补充到酸液搅拌罐、水储罐和碱液搅拌罐中作为补充水;同时含磷废水经过处理后的出水国家工艺与产品用水的标准;处理过程可安全、稳定、连续运行;该处理装置及方法解决了生产乙酰甲胺磷的含磷废水的处理问题,有效地实现环保效益和经济效益。

标签:
废水处理
湖北 - 荆州 来源:中冶有色网 2023-03-19
机械维保废水净化用滤油装置

本实用新型提出了一种机械维保废水净化用滤油装置。本实用新型包括废水沉淀机构和油水分离机构,油水分离机构的内部设有N个分离池,相邻的两个分离池通过隔板串联连通,废水沉淀机构与油水分离机构也通过隔板连通,隔板的上方设有溢流槽,隔板的下方设有闸口,每个分离池的内部均设有扰流板,扰流板的底部均与分离池的底部密封连接,扰流板的顶部设有通道,第N个分离池的内部设有集油槽,集油槽的顶部与第N‑1个分离池上的溢流槽连通,集油槽的一侧还连接有终极过滤池。本实用新型的废水先沉淀分离,再油水分离,仅依靠水流的动能就可以有效的实现了含油废水的净化处理,不需要额外的动力,节省能源,结构简单,设计合理,成本低,经济实用。

标签:
废水处理
山东 - 青岛 来源:中冶有色网 2023-03-19
用于气浮处理煤化工废水中油及悬浮物的处理工艺

本发明提供一种用于气浮处理煤化工废水中油及悬浮物的处理工艺。所述用于气浮处理煤化工废水中油及悬浮物的处理工艺包括以下步骤:S1.用量筒量取一定量的废水,然后倒入标有记号的烧杯中,之后再把烧杯中的废水转移到分液漏斗中;S2.在步骤S1盛有废水的分液漏斗中加入氯化钠进行破乳工作,所述氯化钠的份量为废水的8%左右。本发明提供的用于气浮处理煤化工废水中油及悬浮物的处理工艺在相比1:4的情况下,可满足萃取除油要求,除油效率可达90%以上,从而可以使除油效果好,并且萃取剂可以进行循环使用,还可以对水中的油进行回收,进而可以达到节约资源的优点。

标签:
废水处理
新疆 - 吐鲁番 来源:中冶有色网 2023-03-19
有机废水超滤膜过滤装置

本实用新型公开了有机废水超滤膜过滤装置,属与废水处理技术领域,有机废水超滤膜过滤装置,包括罐体和支撑箱,还包括:支撑板,固定连接在罐体内壁;超滤膜本体,位于支撑板上表面;电机,位于支撑箱内;第二转轴,转动连接在罐体底部;转动杆,连接在第二转轴顶部;毛刷,连接在转动杆顶部,且与超滤膜本体表面相贴;其中,电机的输出端与第二转轴之间连接有可驱动第二转轴转动的驱动机构;与市场上现有的有机废水超滤膜过滤装置相比,本过滤装置,在过滤过程中,不但可以剐除超滤膜本体表面的沉淀物,还可以进一步提高对有机废水所施加的压力,再一次提高了过滤效率。

标签:
废水处理
山东 - 济南 来源:中冶有色网 2023-03-19
SRG洗涤废水催化除盐的系统

本实用新型公开了一种SRG洗涤废水催化除盐的系统。该系统包括废水输送装置、炭液分离池、沉降吸附池、催化歧化池以及胶体脱稳池。所述废水输送装置与炭液分离池的进料口相连通。所述炭液分离池、沉降吸附池、催化歧化池以及胶体脱稳池依次串联设置。本实用新型结构简单,易操作,在处理废水的同时,可回收硫磺,实现废水的资源化处理,无二次污染产生。

标签:
废水处理
湖南 - 长沙 来源:中冶有色网 2023-03-19
臭氧处理有机物废水综合分析系统

本实用新型公开了一种臭氧处理有机物废水综合分析系统,包括,臭氧处理有机废水综合分析系统、制氧机、臭氧发生器、臭氧检测仪、泵、进水储槽、臭氧毁灭器、臭氧检测仪和出水储槽,臭氧处理有机废水综合分析系统的进气口连接臭氧检测仪,臭氧检测仪连接臭氧发生器,臭氧发生器连接制氧机,臭氧处理有机废水综合分析系统的进水口连接泵;解决了污染环境中臭氧催化氧化有机废水过程中臭氧催化剂性能检测的问题。

标签:
废水处理
湖南 - 长沙 来源:中冶有色网 2023-03-19
垃圾渗透液超声波组合废水处理装置

本实用新型涉及废水处理装置技术领域,具体提供一种垃圾渗透液超声波组合废水处理装置,包括废水处理池,与之电连接的微电脑电控制柜,以及与之管连接的微气泡催化发生器、曝气机。废水处理池内部包括依次连接的至少一级超声波氨氮吹脱槽,上级超声波氨氮吹脱槽内溶液满溢出后流入下级超声波氨氮吹脱槽。超声波氨氮吹脱槽,底部设有低频压电式超声波聚焦震板,其上方设有微孔硅石曝气头;中部侧面设有多频压电式超声波聚焦震板;第一级超声波氨氮吹脱槽上部设有压电式变幅杆超声波震头。本实用新型垃圾渗透液超声波组合废水处理装置,能在常温碱性条件下高效快速降解垃圾渗透液的污染物,吹脱氨氮,回收稀氨水外售,并且能耗低,无二次污染排放。

标签:
废水处理
湖南 - 郴州 来源:中冶有色网 2023-03-19
陶瓷膜及其组件、接触池、重金属废水处理系统及方法

本发明公开了一种陶瓷膜及其组件、接触池、重金属废水处理系统及方法,陶瓷膜是由均匀的纳米级陶瓷颗粒粘结形成具有孔隙通道的膜,陶瓷膜组件是由陶瓷膜形成的设有出口的容器,接触池包括池体、布水器和陶瓷膜组件,重金属废水处理系统包括混合池、抽吸泵和接触池,废水处理方法包括先将废水和碱液混合以调节废水的pH值,再通入接触池,废水通过陶瓷膜组件后通过抽吸泵将处理后的废水从出口处抽出。在本发明中,废水在经过陶瓷膜组件时,粒径较大的重金属氢氧化物颗粒直接被孔隙通道截留,而粒径比较小的颗粒则被孔隙通道内叠加的ζ电位电场排斥而被截留下来,从而使得在废水处理过程中不需添加混凝剂或絮凝剂,就达到去除废水中的重金属的目的。

标签:
废水处理
广东 - 深圳 来源:中冶有色网 2023-03-19
可消毒灭菌的高级氧化废水处理装置及方法

本发明提供了一种可消毒灭菌的高级氧化废水处理装置及方法,废水处理装置包括压力罐,压力罐的上下两端分别设置有进水管和出水管;压力罐的顶端安装有多个紫外灯,紫外灯延伸至压力罐底部;使用时,打开紫外灯,待处理的废水从进水管流入压力罐内并发生高级氧化反应,处理后的废水经出水管流出;废水处理方法包括以下步骤:步骤S001,添加氧化剂;向待处理的废水中添加氧化剂;步骤S002,添加臭氧;向待处理的废水中添加臭氧;步骤S003,高级氧化处理;待处理的废水发生高级氧化反应。本发明提供的一种可消毒灭菌的高级氧化废水处理装置及方法,克服了现有废水处理效率低、设备复杂成本高、操作繁琐的缺陷。

标签:
废水处理
浙江 - 宁波 来源:中冶有色网 2023-03-19
矿化降解有机废水的处理设备

本实用新型涉及一种矿化降解有机废水的处理设备,属于环境与化工领域。该处理设备包括容器、进水管、出水管、阀门、紫外灯、石英管内和循环水泵。顶部可以带有上盖,也可以是敞开的,如果顶部带有上盖,进水管与上盖相连,由进水管加入废水和催化剂;出气管与上盖相连;底部有出水管和阀门,出水管与容器底部相连;循环水泵经由管道与容器底部相连,循环水泵经由管道与容器顶部相连;出水管与容器底部相连,阀门和出水管相连;腔内纵向装有石英管,石英管的两端固定在废水处理设备的内部,紫外灯管放入石英管内。该废水处理设备可以串联使用,两者之间用管道和泵连接,管道和泵连接前一个处理器的底部和后一个处理器的顶部,扩大废水处理量。

标签:
废水处理
北京 - 北京 来源:中冶有色网 2023-03-19
柠檬酸废水的处理方法
柠檬酸废水的处理方法 1053     
 0

柠檬酸废水的处理方法属于废水处理技术领域,特别涉及柠檬酸废水的处理方法。本发明提供了一种操作简单、处理效果好且出水可直接排放的柠檬酸废水的处理方法。其技术方案如下:采用二相厌氧—好氧组合工艺,生产工艺废水通过格栅池进入沉淀调节池、气浮池,去除废水中的悬浮物和胶体物质等污染物;废水进入二相厌氧反应器之前用清水将污水进行1∶1的稀释,然后经泵定量提升进入二相厌氧反应器,废水中的各种复杂有机物分解转化成小分子有机物、甲烷和二氧化碳等物质,硝化后的废水再进入延时曝气池,与污泥中的好氧微生物的进一步作用,去除剩余的有机物,部分随水流带出的悬浮物在斜管沉淀池中得以沉淀出来后废水达标排放。

标签:
废水处理
辽宁 - 沈阳 来源:中冶有色网 2023-03-19
含硫酸钠废水的除钠方法

本发明提供了一种含硫酸钠废水的除钠方法,以Na2O计废水中的含钠量不小于0.5g/L;包括:向酸性的废水中加入设定量的含Fe3+的脱钠剂;使含Fe3+的脱钠剂与废水在设定温度下反应设定时间,生成析出于废水的NaFe3(SO4)2(OH)6固体;分离废水和Na?Fe3(SO4)2(OH)6。本发明提供的含硫酸钠废水的除钠方法,可实现低浓度含硫酸钠废水中钠的高效脱除,经脱钠反应后,以Na2O计废水中的Na+浓度在0.5g/L以下;该方法脱钠效果好,无污染,且工艺条件温和、操作简单;废水经脱除硫酸钠后获得的低钠液可返回生产系统再次利用,或经简单处理后外排,不会对环境造成污染。

标签:
废水处理
北京 - 北京 来源:中冶有色网 2023-03-19
混凝沉淀-加温吹脱回收氯甲烷废水处理工艺

本发明涉及一种氯甲烷废水处理工艺,尤其涉及了一种混凝沉淀-加温吹脱回收氯甲烷废水处理工艺,包括:氯甲烷废水收集后,从进水口(1)进入,经调质池(2)调至弱碱性,再进入絮凝沉淀系统(7)进行加药混凝沉淀,然后进入加温吹脱系统(12),用蒸汽加热至自控温度,引入吹脱塔(20),气体冷凝后回收氯甲烷,出水氯甲烷含量已低于导致微生物中毒的水平。可与其他废水混合进行生化处理或直接排放。整个过程不产生二次污染,也无化学反应过程,不加任何昂贵的药剂,全流程均采用单纯的物理性,在氯甲烷废水处理中有良好的应用前景。

标签:
废水处理
浙江 - 杭州 来源:中冶有色网 2023-03-19
建筑工地废水、雨水循环利用系统

本实用新型公开了一种建筑工地废水、雨水循环利用系统,应用在建筑施工领域的领域中,解决了工地污水混合排放可能带来管道堵塞的技术问题,其技术方案要点是包括铺设在建筑工地内的多级水管网,所述多级水管网包括收集管网、输送管网以及排放管网,所述收集管网和输送管网之间通过过滤装置连接,所述输送管网和排放管网之间设有分流装置,所述收集管网包括雨水收集管网和生活废水收集管网,所述雨水收集管网呈网状分布在建筑工地内,所述雨水收集管网上设有多个雨水引流管,所述生活废水收集管网与建筑工地内的房屋排水系统连接,具有对工地排水的雨污分流,保障节约、排水的效果的技术效果。

标签:
废水处理
江苏 - 南京 来源:中冶有色网 2023-03-19
水性颜料类水墨清洗废水处理系统

本实用新型公开了一种水性颜料类水墨清洗废水处理系统其特征在于:包括废水收集装置,该废水收集装置通过废水管道与一级沉淀池连通,该一级沉淀池通过提升泵与二级沉淀池连通,在一级沉淀池中设置有液位控制器,在二级沉淀池旁设置有一体化自动加药机组,一体化自动加药机组内有若干个药罐,分别通过投药管道与二级沉淀池连接,二级沉淀池的出水口与压滤机的进水口连通,压滤机出水口与一体化精密净化设备的入水口连通,一体化精密净化设备的一个出水口与净水回用池连通且该净水回用池与外界用水源头连通,另一个出水口与排放池连通且该排放池与市政排水管网连通,污染物去除率高,处理效果好,出水水质满足回用或者排放的要求,节约生产成本。

标签:
废水处理
江苏 - 苏州 来源:中冶有色网 2023-03-19
基于旁路烟道蒸发的脱硫废水零排放处理系统

本发明提供了一种基于旁路烟道蒸发的脱硫废水零排放处理系统,包括二级沉淀预处理系统、双膜法浓缩减量系统、旁路烟道蒸发系统,脱硫废水经所述二级沉淀预处理系统处理后进入所述双膜法浓缩减量系统,将所述双膜法浓缩减量系统处理后的浓水引入所述旁路烟道蒸发系统。本发明的二级沉淀预处理系统可去除悬浮固体颗粒、重金属、SO42?等,并对水质进行充分软化,降低了浓缩减量系统中膜结垢的风险;双膜法浓缩减量系统有效降低了进入旁路烟道系统的水量负荷,减小对锅炉效率的影响;旁路烟道利用高温烟气,节省能耗,有效降低运行成本并实现脱硫废水零排放。

标签:
废水处理
福建 - 厦门 来源:中冶有色网 2023-03-19
黄金冶炼废水处理技术
黄金冶炼废水处理技术 1056     
 0

本发明提供了一种黄金冶炼废水处理技术。针对黄金冶炼过程中产生的酸性废水和高浓度含氰废水处理成本高、废水回用率低的问题,本发明通过构筑太阳能水蒸发器件,利用界面加热的方式蒸发冶炼废水,将蒸气冷凝收集进而达到水处理的目的。本发明以廉价易得的绿藻为原料通过粉碎、抽滤等方法成型后,进一步碳化得到多孔结构生物质炭材料,能高效吸收全谱太阳光并转化为热能,具有优异的太阳能水蒸发性能,并且在酸性和碱性环境下稳定存在,因此在黄金冶炼废水处理领域有良好的应用前景。

标签:
废水处理
山东 - 烟台 来源:中冶有色网 2023-03-19
纤维素纤维生产中高温酸性含锌废水的回收利用方法

本发明实施例公开了一种纤维素纤维生产中高温酸性含锌废水的回收利用方法,该回收利用包括:步骤一、将高温酸性含锌废水进行过滤处理;步骤二、将预处理后的废水进行热能回收;步骤三、采用大孔吸附树脂对热能回收后的废水进行吸附净化;步骤四、采用反渗透膜对吸附后的废水进行过滤浓缩,得到含有硫酸、硫酸钠、硫酸锌的浓缩液和滤出液,随后,将浓缩液回收利用;将滤出液作为原水使用;本发明回收利用方法能够现实对废水中能量和硫酸、硫酸锌和硫酸钠的回收利用,以及软水的回收利用,实现循环经济,减少整厂的排放;此外,该方法操作简单,成本较低,通过资源的循环利用,极大提高了经济效益。

标签:
废水处理
北京 - 北京 来源:中冶有色网 2023-03-19
高盐废水浓缩结晶系统和方法

本发明提供一种高盐废水浓缩结晶系统和方法,所述系统包括:蒸发结晶塔,其用于发生热湿交换,蒸发浓缩高盐废水,其结构分为上、中、下三部分,上部自上而下设置有出气口、脱盐及深度水回收装置、空气进气单元和接水盘,脱盐及深度水回收装置的顶部设置有清水入口;中部设置有废水进液单元和盐雾捕集器,废水进液单元包括废水入口,废水入口设置于盐雾捕集器上方;下部设置有进气口,进气口与空气进气单元相连,下部底端设置有晶浆出口;晶浆浓缩结晶处理单元,其设置于蒸发结晶塔下部底端的晶浆出口处,用于接收、处理晶浆并获得结晶盐;和,清水回收处理单元,其与蒸发结晶塔中部设置的接水盘相连,用于回收清水。该系统能耗低、投资小、没有二次污染且系统运行可靠稳定。

标签:
废水处理
山东 - 济南 来源:中冶有色网 2023-03-19
上一页 10019 10020 10021 10022 10023 ... 20000 ... 30000 ... 32465 下一页
共32465页    到第

中冶有色为您提供最新的有色金属技术理论与应用信息,包括矿山技术、冶金技术、材料制备及加工技术、环境保护技术和分析检测技术等有色技术信息。打造最具专业性的有色金属技术理论与应用平台!

全国热门有色金属设备推荐
展开更多 +
全国热门有色金属技术推荐
展开更多 +

 

江西省隆恩特环保设备有限公司
宣传

报名参会
更多+

2025年10月15日 ~ 17日
2025年10月17日 ~ 19日
2025年10月31日 ~ 11月02日
2025年11月07日 ~ 09日

报告下载

有色专家
更多+

南昌航空大学
副院长/教授
中国瑞林工程技术有限公司
中国工程院院士
中南大学
院长/教授
中国有色金属工业协会
副会长兼秘书长
中铝郑州有色金属研究院有限公司
正高级工程师/总经理
赤泥综合利用研究报告2025
推广

热门技术
更多+

推荐企业
更多+

福建省金龙稀土股份有限公司
宣传

发布

在线客服

公众号

电话

顶部
咨询电话:
010-88793500-807