青岛垚鑫智能科技有限公司
宣传

位置:中冶有色 >

有色技术频道 >

分类:
全部
矿山技术
冶金技术
材料制备及加工技术
环境保护技术
分析检测技术
地区:
全部
北京
天津
上海
重庆
河北
山西
辽宁
吉林
黑龙江
江苏
浙江
安徽
福建
江西
山东
河南
湖北
湖南
广东
海南
四川
贵州
云南
陕西
甘肃
青海
内蒙
广西
西藏
宁夏
新疆
其他
其他
展开
 
全部

有色金属技术理论与应用

免费发布技术信息>>
磺胺生产废水的处理系统

本实用新型提供一种磺胺生产废水的处理系统,通过废水收集池收集磺胺生产废水并进行均质化处理,从而使得经废水收集池中所排出的水质稳定;通过砂滤装置能够有效地过滤去除废水中的大颗粒物质;通过树脂吸附系统能够有效地吸附氨基苯磺酰胺等有机分子以将磺胺类物质与盐进行有效地分离,再通过再生液罐中的再生液对树脂吸附罐内的吸附树脂进行再生,磺胺的浓缩液可以经水解工艺回收磺胺;通过电驱动膜装置对废水进行分盐处理,即是将氯化钠和醋酸钠进行分离,提高结晶系统所得到的结晶盐的纯度;电驱动膜装置的浓水经过双极膜装置进行电解可以产生酸和碱,并回用至酸调节池或者酸投加入口以及碱调节池或者碱投加入口。

标签:
废水处理
浙江 - 杭州 来源:中冶有色网 2023-03-19
电子行业含氟废水深度处理及回用系统

本实用新型是电子行业含氟废水深度处理及回用系统,其结构包括通过管道依次连接的调节池、第一多介质过滤器、活性炭过滤器、软化装置、过滤水箱、保安过滤器、RO系统、含氟废水暂存池、高浓度含氟废水一级化混系统、高浓度含氟废水二级深度除氟系统、第二多介质过滤器、除氟树脂塔和放流池,调节池连接含氟废水进管,放流池连接达标排放管。本实用新型的优点:采用RO浓缩、两级化混、投加除氟剂和除氟树脂联用的工艺实现了电子行业含氟废水深度处理和回收利用的目的。

标签:
废水处理
江苏 - 无锡 来源:中冶有色网 2023-03-19
酿酒废水循环利用装置
酿酒废水循环利用装置 1011     
 0

本实用新型属于废水利用技术领域,尤其涉及一种酿酒废水循环利用装置。本实用新型要解决的技术问题是提供一种清洁生产、节约水资源的酿酒废水循环利用装置。为了解决上述技术问题,本实用新型提供了这样一种酿酒废水循环利用装置,包括洗瓶池、滤芯I、高压洗瓶管、水管I、水泵I、单向阀、水管Ⅱ、冷凝套、蒸馏管、蒸馏瓶、酒瓶、水管Ⅲ、冷却塔、回收池、水管Ⅴ、滤芯Ⅱ、水泵Ⅱ和水管Ⅵ,洗瓶池上设有滤芯I,洗瓶池上方设有高压洗瓶管,洗瓶池右端连接有水管I,水管I右端口连接有水泵I,水泵I右端连接有水管Ⅱ。本实用新型解决了现有酿酒生产废水污染,浪费水资源缺点,本实用新型达到了清洁生产、废水循环利用的效果。

标签:
废水处理
江西 - 赣州 来源:中冶有色网 2023-03-19
废水、污水处理与再生及与农作物和水产养殖结合的方法

本发明公开了废水、污水处理与再生及与农作物和水产养殖结合的方法,包括如下系统和步骤:(1)、废水或污水与再生能源生产与湿地建设与生态农业与水产养殖相结合(2)、城市生活污水处理与城市绿化美化、景观建设与水产养殖相结合。(3)、城市生活污水处理与公园水生态建设与城市大型公园绿化美化相结合。(4)、城市生活污水处理与城市住宅小区绿化美化、景观建设相结合。(5)、城市生活污水处理与城市生活垃圾处理相结合。(6)、畜禽养殖厂废水处理与水生植物与水产养殖相结合。(7)、农林产品加工废水处理与养殖业相结合。本发明技术节能环保,可有效环节污水与废水处理的压力,减小处理成本。

标签:
废水处理
河北 - 邯郸 来源:中冶有色网 2023-03-19
废水处理监测用闭闸结构

本实用新型公开了一种废水处理监测用闭闸结构,涉及废水处理监测技术领域,包括设置于废水排放闸口处的闸座,所述闸座的内壁处开设有一组闸槽,一组所述闸槽内分别滑动连接有闸门,所述闸座靠近闸槽的内壁处设置有安装块,所述安装块表面穿设有升降杆,一组所述升降杆一端的对立面之间设置有连接杆,所述连接杆通过设置于闸座表面的升降机构驱动闸门沿闸槽上下移动;一组所述闸门的高度不一,靠近所述闸座输出端一侧闸门的高度高于靠近所述闸座输入端一侧闸门的高度。本实用新型便于检测出正在排放的废水是否为排放指标不达标的废水,方便进一步对废水排放污染状况的鉴定。

标签:
废水处理
安徽 - 亳州 来源:中冶有色网 2023-03-19
废水处理用引流净化装置

本实用新型公开了一种废水处理用引流净化装置,涉及废水处理净化设备技术领域,包括底板,所述底板的一侧上表面对称固定安装有支撑柱,多个所述支撑柱的上表面固定安装有净化箱,所述净化箱的下表面中部活动安装有排水阀,所述排水阀的下表面固定安装有引流管,所述引流管远离排水阀的一侧外表面活动安装有抽水泵,所述净化箱的内壁对称固定安装有限位块。该废水处理用引流净化装置,通过在引流管的下表面设置沉淀管,当净化后的废水通过抽水泵流经沉淀管时,废水内的残渣通过过滤环在竖管内积攒,通过打开排料阀进行集中清理,通过与承接板、吸附棉和过滤板的配合,能够有效的提升装置对废水的处理净化效果。

标签:
废水处理
江苏 - 盐城 来源:中冶有色网 2023-03-19
含硫酸钠高盐废水零排放及资源化利用的方法

本发明公开了一种含硫酸钠高盐废水零排放及资源化利用的方法,1)首先去除气相空间内的不凝气,通过压力差使硫酸钠废水水分汽化并通过气相通道向溴化锂溶液表面流动,含硫酸钠高盐废水蒸发降温浓缩结晶;2)晶浆分离出芒硝和母液,母液依次经热交换和浓缩得到浓缩母液和淡水,浓缩母液与新进入的含硫酸钠废水一起进入结晶器中重复步骤1)和2);3)溴化锂稀溶液泵送至蒸发器中,加热蒸发形成溴化锂浓溶液重新返回吸收器中。本发明在低温条件下实现蒸发结晶,无需低温冷源和间壁换热设备,节省能耗。本发明可实现结晶产品芒硝回收和淡水回用,进而达到含硫酸钠高盐废水零排放及资源化利用的目的,整个过程易于操作。

标签:
废水处理
四川 - 自贡 来源:中冶有色网 2023-03-19
循环汽提浓缩高盐废水装置

本实用新型公开了一种循环汽提浓缩高盐废水装置,主要包括蒸发塔、耦合换热器、进料泵、汽提塔、压缩风机、真空泵和汽提塔冷凝器等。高盐废水经过蒸发塔的初步蒸发,产生的蒸汽在耦合换热器处,与循环气体进行换热,初步处理的高盐废水在进料泵的作用下进入到汽提塔,在汽提塔处与预热后的循环气体接触,汽提,从而浓缩高盐废水。用蒸发塔产生蒸汽加热循环气代替低温烟气,节省蒸汽消耗;循环气密闭,相对低温烟气,不会产生VOCs挥发性有机物的外溢,形成新的污染源,且不受现场有无低温烟气的影响。利用本实用新型装置可以将MVC工艺和改进型低温烟气蒸发工艺相结合,能耗低,且能有效浓缩高盐废水。

标签:
废水处理
天津 - 天津 来源:中冶有色网 2023-03-19
利用微混合器连续处理含镍废水的工艺

本发明公开了一种利用微混合器连续处理含镍废水的工艺,属于含镍重金属废水处理领域。该工艺所采用的微混合器,包括进料区、分散区、强化混合区及出料区,进料区包括进料压板,分散区包括筛孔板,强化混合区包括至少一组通道板,每组通道板由通道板一和通道板二组成,出料区包括出料压板,进料压板、筛孔板、通道板及出料压板从左向右依次连接在一起,两种原料液进入进料区时形成撞击流后,依次经分散、强化混合后,从出料区排出,这样使得原料液的混合更加均匀,可加快含镍废水中络合物的降解。通过将该微混合器用于含镍废水的工艺中,在提高含镍废水处理效率的同时,还可以实现含镍废水的连续处理。

标签:
废水处理
山东 - 潍坊 来源:中冶有色网 2023-03-19
废水处理装置及方法
废水处理装置及方法 1045     
 0

本发明涉及食品添加剂乳化剂废水处理技术领域,尤其涉及一种废水处理装置及方法。该装置包括:薄膜蒸发器、皂化加热釜、第一分子蒸馏设备和第二分子蒸馏设备,所述薄膜蒸发器的排液端连接皂化加热釜的进液端,所述皂化加热釜的排液端与第一分子蒸馏设备进液端连接,所述第一分子蒸馏设备的排液端与第二分子蒸馏设备的进液端连接,所述薄膜蒸发器的进液端连接有废液缓存装置。该废水处理装置对废水进行深度处理,不仅缓解废水直接排除造成COD浓度高,难处理,对污水处理系统冲击大的问题,而且废水所制得的轻、重组分脂肪酸被重新利用,实现废物利用,相对的降低原材料的投入成本,提高一定效益。

标签:
废水处理
广东 - 佛山 来源:中冶有色网 2023-03-19
三元前驱体废水处理设备及工艺

本发明属于三元前驱体废水处理技术领域,尤其为一种三元前驱体废水处理设备及工艺,包括处理设备,所述处理设备包含有膜浓缩系统、蒸汽汽提精馏系统、除重金属系统,MVR蒸发系统,冷凝水制纯水系统,以及自动控制系统。利用该装置可将三元前驱体氨氮废水资源化利用,重金属回收,废水实现零排放回用,处理过程不产生新的危险废弃物,本发明所述的设备结构简单、占地面积小,设备投资低,并且实现了从三元前驱体生产线所产生的高盐度氨氮重金属废水提取有价值的硫酸钠盐、氨水和纯水的自动化生产过程,生产效率高、对环境无破坏,还公开了利用该设备处理三元前驱体废水的工艺,该工艺步骤简单、能源消耗低、生产成本低廉,消耗的蒸汽量低。

标签:
废水处理
广东 - 深圳 来源:中冶有色网 2023-03-19
汽车生产废水处理系统

一种汽车生产废水处理系统,包括第一预处理单元、第二预处理单元、综合调节单元、生物反应单元以及过滤单元;所述第一预处理单元用于将涂装将前处理废水和和电泳废水进行预处理,所述第二预处理单元用于将喷漆废水进行预处理;第一预处理单元、第二预处理单元同时与综合调节单元连接,综合调节单元用于将经过预处理的废水以及生活废水混合后进行均质处理,综合调节单元与所述生物反应单元以及过滤单元依次连接,所述生物反应单元包括厌氧反应装置和好氧反应装置。本发明构造独特,能更好的应对汽车生产废水水质、水量波动大的特点,较好的处理含磷废水、含重金属废水、喷漆废水、脱脂废水等汽车生产废水。

标签:
废水处理
广东 - 深圳 来源:中冶有色网 2023-03-19
印染废水一体化处理装置

本实用新型涉及深度废水技术领域,且公开了一种印染废水一体化处理装置,包括废水过滤箱,所述废水过滤箱的上表面固定安装有废水絮凝沉淀箱,所述废水絮凝沉淀箱的内部滑动连接有限位拉杆。该印染废水一体化处理装置,通过使用复位弹簧、滑动盖板以及限位拉杆等结构,可以灵活的控制废水絮凝沉淀箱的状态,进而根据实际使用情况,将废水絮凝沉淀箱调整为开口或封闭状态,当内部废水进行脱碱性和沉淀工作时,使用者可以将整体废水絮凝沉淀箱闭合起来,内部的废水遍不会向四周飞溅,从而保证了周边设备不被腐蚀,提高了整体装置的安全程度,进一步的提高了整体结构的实用性。

标签:
废水处理
上海 - 上海 来源:中冶有色网 2023-03-19
可以降低废水中总氮的污水处理设备

本实用新型公开了一种可以降低废水中总氮的污水处理设备,包括矩形基座以及圆形箱体,所述圆形箱体内设有混合搅拌结构,所述圆形箱体侧壁面设有过滤结构;所述混合搅拌结构包括:存气罐、氯气泵、伺服电机以及第一排气管;所述矩形基座上壁面安装有托架,所述圆形箱体安置于托架上,所述存气罐安置于矩形基座上壁面且位于圆形箱体左侧,本实用新型涉及废水除氮技术领域。混合搅拌结构,便于氯气灌入废水中,便于废水中氮形成氮气,便于清理废水中的氮,通过废水搅拌转动,提高废水氯气与废水氮混合效果,通过过滤结构,便于在废水进行过滤,便于在氯气与氮混合之后,水中的出现的杂质进行过滤。

标签:
废水处理
山东 - 潍坊 来源:中冶有色网 2023-03-19
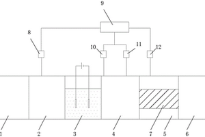
化工厂废水检测辅助装置

本实用新型公开了一种化工厂废水检测辅助装置,涉及环保技术领域,其包括箱体,所述箱体内壁的上表面固定连接有水泵,所述水泵的吸水口与抽水管的一端相连通,抽水管的另一端穿过箱体左侧面开设的第一通孔并与吸头的上表面相连通。该化工厂废水检测辅助装置,通过水泵、抽水管、吸头、排水管、收集箱、阀门、出水管和取样管的相互配合,首先将吸头插入废水中,并使水泵工作,水泵在工作时会通过吸头和抽水管抽取废水,抽取的废水经排水管排入收集箱内,抽取完成后,然后人们再打开阀门,使废水经出水管流入取样管内,便完成了对废水的取样,能够避免人们在取样与废水接触,给人们在对废水取样时带来方便。

标签:
废水处理
上海 - 上海 来源:中冶有色网 2023-03-19
能源化工用废水排放净化装置

本实用新型提供一种能源化工用废水排放净化装置。所述能源化工用废水排放净化装置,包括:净化箱;漏水板,所述漏水板的两侧固定于所述净化箱内部的两侧,所述净化箱内部的两侧之间且位于所述漏水板的底部固定连接有过滤网;驱动装置,所述驱动装置设置于所述净化箱的顶部。本实用新型提供的能源化工用废水排放净化装置,具有对废水进行过滤净化的功能,使得废水的中的杂质能够得到有效的吸附过滤的效果,并且通过设置的漏水板以及过滤网,能够对废水中的颗粒杂质物进行分层处理过滤,在活性炭支架在转动下,对废水中的有害物质进行吸附净化,进而不仅提高了对废水过滤净化的效果,还提高了对废水处理的速率,进一步的提高了该装置的实用性。

标签:
废水处理
陕西 - 渭南 来源:中冶有色网 2023-03-19
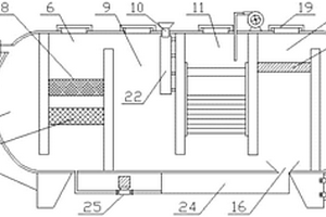
自动化印刷废水处理设备

本实用新型公开了自动化印刷废水处理设备,包括废水池,所述废水池顶部的左侧连通有废水进水管,所述废水池的右侧设置有过滤池,所述过滤池的顶部设置有第一水泵。本实用新型通过过滤池的设置,达到了废水进入过滤池进行过滤的效果,通过碎石层和细沙层的设置,可以对废水进行过滤,将水中的杂质和污染物进行过滤,通过第一水泵的设置,可以将过滤后的废水输送到净化池内,通过过滤网和明矾层的设置,可以对进入净化池内的水进行过滤,去除水中所含有的杂质,明矾层能对水质彻底进行过滤,提高净化效果,同时解决了水质中所含的化学元素难以彻底清除,大量的废水流入地下,污染水源,对社会发展形成危害的问题。

标签:
废水处理
广东 - 东莞 来源:中冶有色网 2023-03-19
酸解红土镍矿废水处理及渣的利用方法

本发明公开了一种酸解红土镍矿含镁废水处理及渣的利用方法,属湿法冶金和环保技术领域;其主要过程是先对酸解镍矿废水进行曝气处理,然后加入由高钙粉煤灰、金属镁冶炼渣、钢渣、电石渣、石灰为主要成份的废水处理剂,经搅拌、陈化、过滤后得到处理水和渣两个组分,水回用于生产流程,渣经干燥或低温煅烧、粉磨后成为菱镁水泥的原料。本发明原料费用低,水处理效果好,实现了酸解红土镍矿含镁废水的资源化利用。

标签:
废水处理
云南 - 昆明 来源:中冶有色网 2023-03-19
己内酰胺废水废气处理系统

本实用新型是一种己内酰胺废水废气处理系统,其包括进料预热器、脱氨塔、氨气冷却器、氨水罐、五效气液分离器、五效加热器、五效冷凝器、真空机组Ⅰ和尾气吸收装置;己内酰胺的氨肟化废水经进料预热器进入脱氨塔内,所述脱氨塔的顶部用脱盐水进行氨气吸收经氨气冷却器冷凝后进入氨水罐,在氨水罐中输送至硫铵系统;所述脱氨塔底部产生的废水与己内酰胺的重排废水混合后共同进入五效气液分离器内,产生的废气共同收集至五效冷凝器内,之后由真空机组Ⅰ负压抽出至尾气吸收装置。该系统将废水分开处理,并且进一步对产生的废气进行回收处理,对环境友好。

标签:
废水处理
山东 - 聊城 来源:中冶有色网 2023-03-19
用于脱硫塔的废水处理装置及脱硫塔

本实用新型涉及脱硫塔技术领域,尤其是涉及一种用于脱硫塔的废水处理装置及脱硫塔;该用于脱硫塔的废水处理装置包括:机体,设置在使用地,所述机体侧壁上设有水流入口和水流出口;引流体,通过晶种填充件与所述机体内壁连接,所述引流体为上下中空结构,所述引流体的上部和下部分别与所述机体内侧的顶部和底部不接触;驱动装置,设置在所述机体顶部;转轴,一端与所述驱动装置相连,另一端穿过所述机体的顶部后置于所述机体内;引流部,与所述转轴另一端相连;本实用新型提出的一种用于脱硫塔的废水处理装置能够防止脱硫废水处理设备和管道壁上结垢,延长脱硫废水处理设备的使用寿命,避免因结垢问题导致脱硫处理中运行成本的增加。

标签:
废水处理
北京 - 北京 来源:中冶有色网 2023-03-19
高效率废水蒸发器
高效率废水蒸发器 820     
 0

本申请涉及一种高效率废水蒸发器,包括对废水进行蒸发的蒸发器主体、连通于蒸发器主体的蒸发进液管、设于蒸发进液管的蒸发进液阀门、连通于蒸发器主体顶部的蒸发出汽管,蒸发进液管远离蒸发器主体一端固定连接有预热罐,预热罐内长度方向两端内壁均固定连接有隔片,两片隔片之间固定连接有废水加热管,废水加热管一端连通于蒸发进液管,预热罐远离蒸发进液管一端连通有预热进液管,预热进液管连通于废水加热管远离蒸发进液管的一端,预热罐连通有位于两片隔片之间的进汽管和冷凝出汽管,两块隔片位于预热进液管和蒸发进液管之间,具有提升蒸发器主体的蒸发处理效率的效果。

标签:
废水处理
江苏 - 常州 来源:中冶有色网 2023-03-19
脱硫、脱硝废水用电力环保装置

本实用新型公开了一种脱硫、脱硝废水用电力环保装置,包括外壳,所述外壳内壁的两侧之间固定连接有固定框,所述外壳的左侧通过电机底座固定连接有第一电机,所述第一电机的输出轴固定连接有螺纹杆,本实用新型涉及环保技术领域。该脱硫、脱硝废水用电力环保装置通过废水进管与外界废水排水管相连,物料进管与外界提供物料的管道相连,废水与物料在固定框内进行反应,充分反应后,通过第一电机的启动,第一电机带动螺纹杆旋转,将反应后的残渣以及水导入固定箱内,通过第二液压杆的启动,第二液压杆带动电加热板贴近固定箱,对固定箱内的残渣进行烘干,当烘干完毕,可以通过第二液压杆将电加热板收起来,方便后续振动器的使用。

标签:
废水处理
广东 - 广州 来源:中冶有色网 2023-03-19
水性油墨废水一体化预处理装置

本实用新型涉及环境工程废水处理领域,具体涉及一种水性油墨废水一体化预处理装置,包括依次连通的油墨废水池,酸析处理池、电化学处理池、芬顿处理池、斜板沉淀池和后续生化处理池,所述电化学处理池内设有铁碳填料和电化处理电极,所述斜板沉淀池内设有数块斜板。本实用新型种水性油墨废水一体化预处理设备为组合工艺设备,其既不仅可以高效处理、而且处理后的废水能够达标。

标签:
废水处理
广东 - 东莞 来源:中冶有色网 2023-03-19
含亚铁离子酸性废水资源回收系统

本实用新型提供一种含亚铁离子酸性废水资源回收系统,属于环境工程领域;本实用新型用于处理冶金行业酸洗废水,含亚铁离子酸性废水资源回收系统包括硫化反应装置、固废减量化装置、磷酸铁制备装置、废气吸收装置等;本实用新型为处理冶金行业酸洗废水提供一整套的解决方法,减少处理工艺流程设备,简化操作流程;能够有效稳定其他重金属杂离子,实现危险废物稳定化;回收利用酸洗废水中的氯化亚铁离子,制备磷酸铁;另外,使用酸浸等方法使重金属硫化污泥最大程度实现减量化。

标签:
废水处理
安徽 - 马鞍山 来源:中冶有色网 2023-03-19
太阳能转化微电能激发微生物特性的废水处理装置

本实用新型公开了一种太阳能转化微电能激发微生物特性的废水处理装置,用于废水处理装置技术领域,包括装置本体、太阳能光伏板以及与所述太阳能光伏板连接的储能装置,所述装置本体内设有废水处理区,装置本体在废水处理区设有与储能装置的输出正电极连接的正极导电轨和与储能装置的输出负电极连接的负极导电轨,所述正极导电轨和负极导电轨之间设有填料支架,所述填料支架上设有微生物填料。本实用新型通过上述技术方案,能够实现废水处理系统无动力或者低能耗消耗,运行管理简单,运输配送方便。

标签:
废水处理
广东 - 广州 来源:中冶有色网 2023-03-19
有机废水一体化小型设备

本实用新型公开了一种有机废水一体化小型设备,包括壳体,所述壳体的内壁设有防腐蚀层,所述防腐蚀层的外壁均匀包裹有防冻层,所述防冻层的外壁均匀包裹有防腐加强层,所述壳体腔内的左端设有调节池,所述调节池外壁的右侧设有厌氧池,所述厌氧池外壁的右侧设有缺氧池,所述缺氧池外壁的右侧设有好氧池,所述好氧池外壁的右侧设有沉淀池,所述沉淀池外壁的右侧设有消毒池,所述壳体的上表面均匀设有检修口,所述壳体外壁左右两侧中部的位置转动连接有把手,本实用新型涉及有机废水一体化技术领域。该有机废水一体化小型设备,达到了防冻、防腐、方便检修、有机废水处理效果好的目的,提高了有机废水的处理效率,降低了维修成本。

标签:
废水处理
广东 - 深圳 来源:中冶有色网 2023-03-19
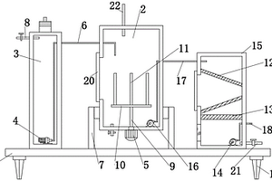
制药废水深度净化处理装置

本实用新型公开了一种制药废水深度净化处理装置,所述净化处理装置至少包括废水池、调节池、发酵池、反应池、保安过滤器、树脂罐、活性炭吸附器、进水监测装置、电驱动离子膜装置、浓水箱、蒸发结晶装置、反渗透装置、淡水箱和回用水箱;通过本装置的发酵池及第一加药单元的配合使用,有助于实现对农药废水中的有机物进行分解和/或降解,通过第二加药单元和反应池的配合使用,有助于实现对农药废水中的金属离子进行化学反应,生成絮状或颗粒状沉淀物质,并通过后续过滤装置进行过滤,从而实现对废水中重金属离子的滤除。

标签:
废水处理
四川 - 绵阳 来源:中冶有色网 2023-03-19
硫酸镍废水综合回收利用系统

本实用新型提供一种硫酸镍废水综合回收利用系统,包括依次相连的硫酸镍废水收集池、降温装置、重力沉淀池、辐流沉淀池、压滤机和离子交换器;所述降温装置包括冷却水蓄水池和板式换热器,所述板式换热器的左右两侧分别设有与硫酸镍废水收集池和重力沉淀池连通的第一进水管和第一出水管,所述板式换热器的左侧设有冷却水循环装置,所述冷却水蓄水池和板式换热器通过冷却水循环装置连通,解决在对高纯度的硫酸镍废水处理之前未对其进行减温的处理,导致高纯度硫酸镍废水在处理易挥发的问题。

标签:
废水处理
四川 - 成都 来源:中冶有色网 2023-03-19
适用于高硬度废水的耐结垢电吸附系统

本发明涉及一种适用于高硬度废水的耐结垢电吸附系统,包括:第一吸附模块,第二吸附模块,用于对原始废水进行吸附得到初始处理水;原水箱,所述原始废水存储在所述原水箱内;第一再生水箱和第二再生水箱,用于吸附模块的循环脱吸附再生与浓缩液的排出;以及淡水箱、水泵、阀门。本发明相比于其他膜浓缩减量技术,进水硬度指标耐受更好。处理实际废水前无需软化,只进行简单澄清即可,可避免电极表面的硬度结垢、流道污堵等问题。同时本发明不会产生二次污染。

标签:
废水处理
福建 - 厦门 来源:中冶有色网 2023-03-19
燃煤电厂脱硫废水零排放处理工艺

本发明提供一种燃煤电厂脱硫废水零排放处理工艺,包括预处理系统、膜法蒸馏系统、淡水回用及纯化系统、浓水回收及蒸发结晶系统和污泥处理系统;其中所述预处理系统包括pH调节-一级沉淀-混凝-二级沉淀组成,在预处理系统中处理后的废水质进入膜法蒸馏系统,排放的污泥则进入污泥处理系统;其中所述膜法蒸馏系统中膜组件的一侧为冷侧,处于负压状态,废水在膜表面蒸发并以水蒸气形式通过膜表面进入冷侧,然后凝结成淡水,进入淡水回用及纯化系统,用来将淡水回用于电厂相关用水系统;膜组件的另一侧为暖侧,未通过膜表面的形成浓水,进入浓水回收及蒸发结晶系统,用来对浓水进行资源化利用;实现了脱硫废水的零排放。

标签:
废水处理
江苏 - 南京 来源:中冶有色网 2023-03-19
上一页 10018 10019 10020 10021 10022 ... 20000 ... 30000 ... 32465 下一页
共32465页    到第

中冶有色为您提供最新的有色金属技术理论与应用信息,包括矿山技术、冶金技术、材料制备及加工技术、环境保护技术和分析检测技术等有色技术信息。打造最具专业性的有色金属技术理论与应用平台!

全国热门有色金属设备推荐
展开更多 +
全国热门有色金属技术推荐
展开更多 +

 

江西省隆恩特环保设备有限公司
宣传

报名参会
更多+

2025年10月15日 ~ 17日
2025年10月17日 ~ 19日
2025年10月31日 ~ 11月02日
2025年11月07日 ~ 09日

报告下载

有色专家
更多+

长春黄金研究院有限公司
总经理
东北大学
院长/教授
矿冶科技集团有限公司
所长/研究员级高工
紫金矿业信息化研发中心
副总经理
北京科技大学
副院长/教授
赤泥综合利用研究报告2025
推广

热门技术
更多+

推荐企业
更多+

福建省金龙稀土股份有限公司
宣传

发布

在线客服

公众号

电话

顶部
咨询电话:
010-88793500-807