青岛垚鑫智能科技有限公司
宣传

位置:北方有色 >

有色技术频道 >

> 废水处理技术

分类:
全部
矿山技术
冶金技术
材料制备及加工技术
环境保护技术
分析检测技术
 
全部
废水处理技术
大气治理技术
固/危废处置技术
土壤修复技术
地区:
全部
北京
天津
上海
重庆
河北
山西
辽宁
吉林
黑龙江
江苏
浙江
安徽
福建
江西
山东
河南
湖北
湖南
广东
海南
四川
贵州
云南
陕西
甘肃
青海
内蒙
广西
西藏
宁夏
新疆
其他
其他
展开
 
全部

有色金属废水处理技术理论与应用

免费发布技术信息>>
重金属废水处理中聚苯胺复合材料的应用

重金属是指密度在4.0以上(约60种)或5.0以上(约45)种的元素。在环境污染领域,主要指的是铜、铅、钴、镍、锡、锌等。研究表明,矿山排水是重金属污染的主要来源,此外还有大部分工业废水中也存有浓度较高的重金属污染物。重金属离子对环境以及人体的危害是巨大的。首先就重金属废水的污染性、危害性做简要分析。

标签:
重金属废水处理 聚苯胺复合材料
湖南 - 长沙 来源:长沙环境保护职业技术学院,力合科技(湖南)股份有限公司 2026-03-05
酸性矿山废水处理用多孔吸附材料及其制备方法

本发明属于废水处理技术领域,具体涉及一种酸性矿山废水处理用多孔吸附材料及其制备方法,其中,所述多孔吸附材料包括以下重量份原料:改性膨润土55‑80份、碳源10‑20份、L‑半胱氨酸1‑4份、GPTMS5‑21份、DMC10‑35份、DMA5‑21份、致孔剂2.5‑10.5份、过硫酸铵0.5‑2.1份,以酸活化的膨润土纳米片作为骨架,与S‑CDs、GPTMS通过共价键和非共价键交联,形成“刚柔并济”的有机‑无机杂化三维网络,通过DMC、DMA原位聚合引入多种吸附位点,并在致孔剂作用下构建了具有多级孔道的凝胶结构

标签:
酸性矿山废水处理 多孔吸附材料
贵州 - 毕节 来源:毕节职业技术学院(贵州省毕节农业学校), 贵州大学 2026-02-28
化工废气无害化处理装置

本实用新型涉及废气处理技术领域,且公开了一种化工废气无害化处理装置,包括箱体,箱体的顶部插接有第一框架、第二框架以及第三框架,第一框架的内壁固定连接有粉尘过滤网,第二框架的内壁固定连接有颗粒过滤网,第三框架的内壁固定连接有活性炭过滤网,第一框架、第二框架以及第三框架的顶部均固定连接有第一拉块;

标签:
废气处理 废气处理装置
广东 - 深圳 来源:深圳市富硒科技有限公司 2026-02-27
控制结晶混盐量降低杂盐率的高盐废水处理方法

本发明属于化工废水蒸发结晶领域,公开了一种控制结晶混盐量降低杂盐率的高盐废水处理方法。方法:对高盐废水进行纳滤得到硫酸钠浓水和氯化钠浓水;将硫酸钠浓水和十水硫酸钠溶解液预热后送入硫酸钠蒸发结晶装置得到硫酸钠固体产品和母液S1;将氯化钠浓水和冷冻结晶后母液S4预热后送入氯化钠蒸发结晶装置得到氯化钠固体产品和母液S2;将母液S1和母液S2混合后送入混盐蒸发结晶装置得到混盐湿物料和母液S3;将混盐湿物料与换热后的蒸发冷凝水混合溶解,得到混盐溶解液经预冷后送入混盐冷冻结晶装置得到十水硫酸钠固体和冷冻结晶后母液S4。

标签:
高盐废水处理 废水处理方法
安徽 - 合肥 来源:鲁信天地人环境科技(安徽)集团有限公司 2026-02-27
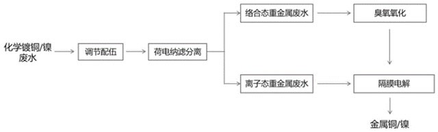
化学镀废水的分质电解-氧化协同处理方法及装置

本发明属于电镀废水处理技术领域,具体涉及一种化学镀废水的分质电解‑氧化协同处理方法及装置。本发明将化学镀废水进行调节配伍,得到预处理废水,所述化学镀废水中含有重金属元素;将所述预处理废水进行荷电纳滤膜分离,得到络合态重金属废水和离子态重金属废水;将所述络合态重金属废水进行臭氧氧化处理,得到氧化后废水,将所述氧化后废水进行第一隔膜电解处理,回收重金属;将所述离子态重金属废水进行第二隔膜电解处理,回收重金属。

标签:
电镀废水处理 化学镀废水处理
广东 - 广州 来源:生态环境部华南环境科学研究所(生态环境部生态环境应急研究所), 南京华创环境技术研究院有限公司 2026-02-27
基于膜分离的钨冶炼废水零排放方法及系统

本发明涉及钨冶炼废水处理技术领域,一种基于膜分离的钨冶炼废水零排放方法及系统,包括:基于废水零排放指令确认废水零排放环境,基于一级沉淀单元对所述初始冶炼废水进行一级沉淀处理,利用二级沉淀单元对一级沉淀废水进行二级沉淀处理,利用预构建的离子检测机构对二级沉淀废水进行特征离子检测,基于所述预处理单元对所述高盐废水进行预处理,用纳滤装置对所述预处理废水进行纳滤操作,基于反渗透装置对所述纳滤浓水进行深度浓缩,基于末端浓水处理单元获取末端浓水处理指令。本发明可提高钨冶炼废水零排放的效率和可持续性。

标签:
钨冶炼废水 废水处理方法
江西 - 九江 来源:江西省修水赣北钨业有限公司 2026-02-27
诱导结晶除氟装置及方法

本发明属于废水处理技术领域,公开了一种诱导结晶除氟装置及方法,包括晶体生长池、沉淀分离池和复合吸收塔,所述晶体生长池的底部通过晶种导流管与沉淀分离池的晶种入口连接,晶种导流管上设有截止阀Ⅲ,沉淀分离池的底部通过晶种回流管与晶体生长池连通,晶种回流管上设有回流泵、流量计和截止阀Ⅳ,流量计和截止阀Ⅳ位于回流泵的出口侧;沉淀分离池的出水口通过出水管与复合吸收塔的废水入口连接。

标签:
废水处理技术 结晶除氟装置
陕西 - 西安 来源:西安建筑科技大学 2026-02-27
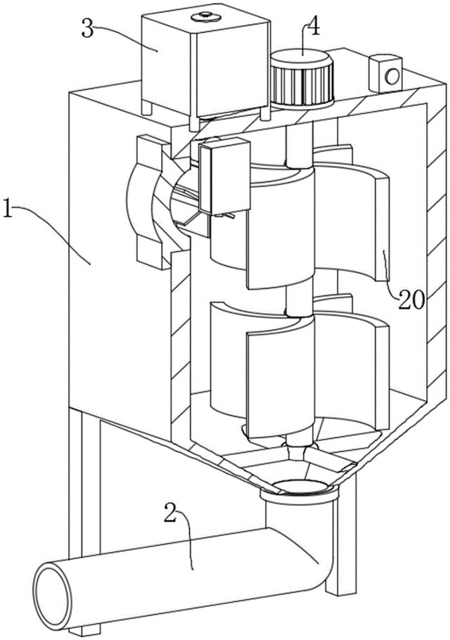
酸性矿山废水处理设备

本实用新型实施例提供一种酸性矿山废水处理设备。所述酸性矿山废水处理设备包括反应器和供气装置,反应器包括容器和设于容器内的膜组件,膜组件用于附着生物膜,膜组件设有进气口,供气装置与膜组件的进气口连通,用于向膜组件供给气态电子供体。本实用新型实施例的酸性矿山废水处理设备,硫酸盐还原菌的生物活性较强,硫酸盐还原效率较高,金属沉淀物容易沉淀和收集,回调中性的难度和成本较低甚至无需回调中性。

标签:
酸性矿山废水处理 废水处理设备
北京 - 北京 来源:北京恩菲环保股份有限公司 2026-02-26
污水处理膜生物反应技术

随着国家对环境保护的日趋严格,生活污水处理能力和排放水质要求不断提升,各种污水处理技术不断发展。其中,膜生物反应技术因其节约用地及其高品质出水等自身工艺特点,在生活污水处理中得到了广泛应用及发展。

标签:
污水处理 废水处理
安徽 - 合肥 来源:安徽瑞赛克再生资源技术股份有限公司 2026-02-05
废水处理用石灰投料设备

本实用新型涉及废水处理技术领域,提出了一种废水处理用石灰投料设备,包括过滤箱:所述过滤箱的底部固定连接有匀料箱,所述过滤箱的上方设置有翻盖机构,所述过滤箱的内部固定连接有过滤网,所述过滤网的上方设置有传送机构,传送机构的移动端固定连接有转动杆,所述转动杆的外侧固定连接有碾压杆,所述碾压杆的外侧位于转动杆的外部,所述碾压杆与过滤网的顶面贴合,通过设置的传送机构使转动杆移位,与过滤网的顶面接触的碾压杆碾压过滤网顶部的结块石灰,使其粉碎后掉入匀料箱的内部

标签:
废水处理 石灰投料设备
湖北 - 黄石 来源:湖北振达冶金材料有限公司 2026-01-29
酸性矿山废水的收集与处理方法

本发明提供了一种酸性矿山废水的综合收集与处理的方法,设计矿山及环境保护与水治理技术领域。其主要综合效应为:通过在矿渣周围布设一圈沟渠,从而使矿渣产生的难以收集的酸性废水顺着地形排入沟渠底部,解决了矿山的酸性废水难以完全收集的问题。同时在山下设立污水处理厂,通过中和曝气与混凝沉淀等工艺对污水中的铜、镉等污染物进行处理。在沉淀池后加设中和池,使污水pH回调至正常区间,经石英砂过滤后方可排出。本发明可以实现对酸性矿山废水进行收集与处理合为一体的功能。

标签:
矿山废水 矿山废水处理
江西 - 鹰潭 来源:江西洁地环境治理生态科技有限公司, 安徽理工大学, 中国科学院南京土壤研究所 2026-01-27
用于中和酸性矿山废水的碱性缓释填料及其制备方法

本发明公开了一种用于中和酸性矿山废水的碱性缓释填料及其制备方法,涉及污水处理技术领域,包括碱性缓释填料,粒径为5‑15mm,包括内核和外壳,外壳质量为内核质量的10‑15%;该用于中和酸性矿山废水的碱性缓释填料及其制备方法,通过核壳结构设计实现碱性离子线性可控释放,可维持废水pH在6‑9达6个月以上,解决了传统材料重金属去除不全面的问题;外壳机械强度高,在水体中不易崩解,且中和反应温和,产生的化学污泥量较传统方法减少,降低二次污染风险;全程制备工艺简单;

标签:
矿山废水 矿山废水处理
江西 - 南昌 来源:江西省生态环境科学研究与规划院 2026-01-27
重金属废水处理反渗透工艺

众所周知,工业生产的废水中含有较多的铬、镍、锌、铜等重金属,这些重金属废水是没有办法进行分解和破坏的,唯一的解决办法就是将其转移到其他位置或转变成其他物化状态,因此,重金属废水处理对于人们的生活和生产来说都是一个较大的难题。

标签:
重金属废水处理 废水处理 废水处理反渗透工艺
河南 - 济源 来源:济源市万洋冶炼(集团)有限公司生产运营部 2026-01-26
铅锌选矿废水分质处理及循环回用的方法

本发明公开了一种铅锌选矿废水分质处理及循环回用的方法,属于选矿废水处理的技术领域,将选矿尾水引入芬顿反应池,先加入催化剂,再加入双氧水,进行芬顿氧化反应,待芬顿氧化反应结束,将选矿尾水引入混凝反应池,加入液碱,再加入沉淀剂、絮凝剂与稳定剂,絮凝沉降沉淀物;添加完处理药剂后的选矿尾水引入蜂窝斜管沉淀池,进一步絮凝沉降,随后将底池絮凝沉淀物返回至混凝反应池,多余底泥排入尾矿库;沉降后的清水进入清水池,作为磨矿分级和浮选作业生产用水。

标签:
铅锌选矿废水 选矿废水处理
湖南 - 郴州 来源:湖南有色黄沙坪矿业有限公司 2026-01-19
氨氮废水处理多级电渗析技术

工业废水种类繁多,有些废水毒性大、降解难,需采用特定的处理方法,才能达到国家排放标准。氨是重要的工业原料,氨氮工业废水的处理具有环境与经济双重效益。随着国家经济的快速发展,氨氮废水的产生量与日俱增。氨氮废水主要来源于食品、化工、养殖、制药、垃圾填埋等领域,大量氨氮废水的排放加剧了水体富营养化,给环境造成巨大伤害。

标签:
氨氮废水 多级电渗析技术
湖北 - 武汉 来源:湖北凯龙楚兴化工集团有限公司,荆楚理工学院,中国地质大学(武汉) 2026-01-16
矿山工业废水处理装置

本实用新型属于处理装置领域,尤其是一种矿山工业废水处理装置,针对现有的存在絮凝剂会持续进入到絮凝箱内,但不能实现定量进行加入,加料效果较差,不能将落入废水中的絮凝剂直接向废水的中部进行推入,混合效果相对较差的问题,现提出如下方案,包括反应箱,所述反应箱的顶部固定安装有储料箱,所述储料箱的底部固定安装有底管,且底管的底端固定延伸至反应箱内,所述反应箱内转动设有转动辊

标签:
矿山工业废水 矿山废水处理
新疆 - 乌鲁木齐 来源:新疆工程学院 2026-01-15
含氟废水回收处理设备及其处理工艺

本发明公开了一种含氟废水回收处理设备及其处理工艺,包括中水调节池,中水调节池与预处理系统、多介质过滤装置、活性炭过滤器和树脂软化床连通,树脂软化床与超滤系统、一级反渗透系统连通、浓水反渗透系统和回用水池连通,浓水反渗透系统与一级反渗透系统进水端和HPRO系统连通,HPRO系统与除氟除硅除硫酸系统连通,除氟除硅除硫酸系统与蒸发结晶装置和污泥处理系统连通。该含氟废水回收处理设备及其处理工艺,通过模块化工艺架构与可切换处理单元组合,可根据废水有机物含量、硬度等实时水质变化,灵活调整处理路径

标签:
含氟废水 含氟废水回收 废水处理工艺
江苏 - 苏州 来源:太仓中化环保化工有限公司, 中化蓝天集团有限公司 2026-01-15
抽水试验地下水位自动监测仪怎么安装调试?

地下水位自动监测仪的安装调试核心是确保探头采集静水压力、数据传输稳定、参数设置匹配监测需求,以主流的投入式静压水位计(如 WH311) 为例,分安装前准备、现场安装、系统调试、数据验证四大步骤,适配深井、浅井、地热井等不同场景。

标签:
广东 - 深圳 来源:深圳市东方万和仪表有限公司 2026-01-15
矿井抽水试验水位监测解决方案

水试验水位监测核心要求:快速响应(≤1s)、毫米级精度、抗紊流干扰、连续稳定记录,同时满足水位降深与恢复全过程监测需求。优先推荐投入式静压水位计 + 便携式电测水位计的黄金组合,适配各类井深与试验规模。

标签:
地下水位监测仪 地下水位自动监测仪
广东 - 深圳 来源:深圳市东方万和仪表有限公司 2026-01-14
焦化废水处理两级A/O+超滤+两级反渗透技术

为解决园区废水对环境的污染,园区全部废水经分类后进行收集,并结合各类废水的水质特征,分别进入园区废水处理系统的不同工艺节点进行处理,最终出水水质达到《工业循环冷却水处理设计规范》(GB50050—2017)中再生水用于间冷开式循环冷却水系统补充水的水质指标,全部回用于园区内企业。

标签:
焦化废水处理 废水处理技术
上海 - 上海 来源:上海电气集团国控环球工程有限公司 2026-01-14
改性沸石填充式萤石选矿废水除氟吸附设备

本发明公开了一种改性沸石填充式萤石选矿废水除氟吸附设备,涉及环境保护技术领域。该改性沸石填充式萤石选矿废水除氟吸附设备,包括安装底板、前滤单元和反冲洗单元,安装底板上设有支撑腿板、安装箱和除氟箱,安装底板上还设有除氟单元。该改性沸石填充式萤石选矿废水除氟吸附设备,通过搅拌轴旋转能带动安装箱内的废水与加入的絮凝剂充分混合,避免传统静态混合或简易搅拌导致的絮凝剂与废水接触不均问题,萤石选矿废水中除氟化物外,还含有大量悬浮杂质

标签:
选矿废水处理 除氟吸附设备 废水处理技术
陕西 - 咸阳 来源:咸阳双佰科技有限责任公司 2026-01-05
选矿废水回用可反冲洗大通量保安过滤器

本实用新型公开了一种选矿废水回用可反冲洗大通量保安过滤器,其涉及选矿废水回用技术领域,包括保安过滤器本体,位于保安过滤器本体外部有进水口及出水口,靠近出水口端设有固定在保安过滤器本体内部的固定板,固定板内部嵌设有滤网,固定板靠近出水口端转动连接有通量调节件,通量调节件包括转动连接在固定板内部的移动杆,固定板上设有凹槽供移动杆一端移动,保安过滤器本体内部还设置有移动板,移动板远离固定板端设置有驱动移动板移动的驱动件;

标签:
选矿废水 保安过滤器
山西 - 吕梁 来源:山西道尔铝业有限公司 2025-12-30
贵金属冶炼废水协同处理综合回收方法

本发明公开了一种贵金属冶炼废水协同处理综合回收方法,步骤包含(1)中和沉铋,向酸性废水中加入碱性废水中和得到铋精矿和中和后液,(2)硫化沉铜,向中和后液中继续加入碱性废水8,加入硫化钠,得到沉铜渣和硫化后液,(3)降温结晶,硫化后液升温后加入氯化钠溶液,氯离子浓度,降温至10℃以下,得到亚硫酸钠结晶和一次结晶后液,(4)一次结晶后液浓缩,得到亚硫酸钠、氯化钠、冷凝水。通过贵金属冶炼过程中产生的酸性废水和碱性废水的搭配处理,实现废水中有价金属的梯级分离回收,节约废水处理成本。

标签:
贵金属冶炼废水 废水处理
云南 - 红河哈尼族彝族自治州 来源:云南锡业股份有限公司铜业分公司 2025-12-25
湿法冶炼废水高效净化除铊方法

本发明涉及一种湿法冶炼废水高效净化除铊方法,属于污水处理技术领域。本发明采用多级分格高速离子反应器,在室温条件下利用改性硫化剂进行废水净化除铊。室温下,将调浆桶内的冶炼含铊废水通过调浆泵输送至多级分格高速离子反应器底内,同时利用试剂泵将改性硫化剂输送至多级分格高速离子反应器内使其净化除铊,通过控制调浆泵和试剂泵的流量以控制改性硫化剂的用量和冶炼含铊废水在多级分格高速离子反应器内的净化时间,净化反应后的废液经液固分离,滤渣定期排放,净化除铊后的滤液进入新液储槽;

标签:
湿法冶炼废水 污水处理技术
云南 - 昆明 来源:昆明理工大学, 云南驰宏锌锗股份有限公司 2025-12-25
稀土冶炼废水除氟装置

本实用新型涉及废水除氟技术领域,提供了一种稀土冶炼废水除氟装置,包括主机罐,所述主机罐的顶部连通有进料口,所述进料口的内部转动连接有转杆,所述转杆的外表面固定套接有活性炭块,所述转杆的一端固定连接有从动转轮,所述从动转轮的外表面传动连接有同步带,所述同步带的内表面远离从动转轮的一边传动连接有主动转轮,所述主动转轮的一侧固定连接有主杆,所述主杆的外表面转动连接在主机罐的内部。

标签:
稀土冶炼废水 除氟装置
江西 - 赣州 来源:赣州稀金环境有限责任公司 2025-12-25
钽铌自然沉降回收系统

本实用新型提供了一种钽铌自然沉降回收系统,属于钽铌湿法冶炼废水处理技术领域,包括钽洗水沉降单元、铌洗水沉降单元和洗水缓存单元。本实用新型的一种钽铌自然沉降回收系统通过钽洗水沉降单元和铌洗水沉降单元分别将钽洗水中的氢氧化钽沉降回收、铌洗水中的氢氧化铌沉降回收,一方面可以回收利用高经济价值的氢氧化钽/氢氧化铌中间产品,另一方面可以避免洗水中的氢氧化钽/氢氧化铌造成多级膜堵塞,延长多级膜的使用寿命,使得多级膜的使用寿命可以延长到一年以上。此外,经过自然沉降处理后的洗水可以制备出纯度更高的氟化铵产品。

标签:
钽铌湿法冶炼废水 废水处理
江西 - 新余 来源:江西三石有色金属有限公司 2025-12-25
铅金属冶炼废水处理装置

本发明公开了一种铅金属冶炼废水处理装置,属于铅金属冶炼技术领域。该装置包括起到缓冲作用的调节存储装置,所述调节存储装置内侧设置有第一pH传感器和第一ORP传感器;该装置还包括与调节存储装置相连通的中和室、与中和室相连通的混凝室、与混凝室相连通的絮凝室,所述中和室内设置有第二pH传感器,所述混凝室内设置有第二ORP传感器,所述调节存储装置与中和室之间配合设置有用于调节废水ph值的第一全自动加药装置,所述混凝室上方设置有用于添加絮凝剂的第二全自动加药装置。

标签:
铅金属冶炼废水 冶炼废水处理
安徽 - 阜阳 来源:安徽鲁控环保有限公司 2025-12-25
酸性废水可渗透反应墙填充材料及其制备方法和应用

本发明公开了一种酸性废水可渗透反应墙填充材料及其制备方法和应用,属于酸性矿山废水处理和水环境修复技术领域,所述填充材料的组分及质量分数为:改性尾矿砂20~60%、市政污泥生物炭40~80%。本发明中,铁矿尾矿砂改性增强了填充材料的胶凝性能和抗压强度,市政污泥生物炭扩充了填充材料对有毒有害金属的吸附容量,同时生物炭孔隙和所含有机质促进了硫酸盐还原菌的附着生长,延长可渗透反应墙填料的使用周期,提升酸性废水的处理效率。

标签:
酸性矿山废水处理 水环境修复技术
广东 - 云浮 来源:广东广业云硫矿业有限公司, 西安科技大学 2025-12-19
智能化矿山选矿废水处理装置

本实用新型涉及应用于矿山废水处理领域的一种智能化矿山选矿废水处理装置,包括集水箱,集水箱内设有两个定位板,两个定位板相对应的一端均转动连接有安装板,右侧的定位板的右端固定连接有电机一,电机一的输出端活动贯穿定位板并与临近的安装板固定连接,两个安装板之间设有四个过滤网,过滤网内壁的首尾两端均固定连接有挡板,临近的两个挡板相互贴合,在对废水处理过程中,通过最下方的过滤网对废水中的杂物进行过滤,在需要对过滤网进行清理时,旋转安装板

标签:
矿山选矿废水 选矿废水处理
北京 - 北京 来源:北京荣托昆普科技有限公司 2025-12-19
铅锌冶炼含酸污水处理装置

本实用新型涉及含酸污水处理技术领域,是一种铅锌冶炼含酸污水处理装置,包括含酸污水池、中和槽、沉淀池、硫化槽、浓密槽、氧化槽、吸附池和清水池,含酸污水池的底部出口固定连通有中和槽,中和槽底部固定连通有沉淀池,沉淀池底部固定连通有硫化槽,硫化槽底部设有浓密槽,浓密槽底部固定连通有氧化槽,氧化槽底部固定连通有吸附池,吸附池底部固定连通有清水池;

标签:
铅锌冶炼 含酸污水处理
甘肃 - 白银 来源:西北矿冶研究院 2025-12-17
上一页 1 2 3 4 5 ... 500 ... 2000 ... 3162 下一页
共3162页    到第

北方有色为您提供最新的有色金属废水处理技术理论与应用信息,涵盖发明专利、权利要求、说明书、技术领域、背景技术、实用新型内容及具体实施方式等有色技术内容。打造最具专业性的有色金属技术理论与应用平台!

全国热门有色金属设备推荐
展开更多 +
全国热门有色金属技术推荐
展开更多 +

 

江西省隆恩特环保设备有限公司
宣传

报名参会
更多+

报告下载

有色专家
更多+

东北大学
院长/教授
武汉科技大学
校学术委员会主任 / 教授
湖南有色金属研究院
教授级高工/原总工程师
任灵宝金源矿业股份有限公司
技术发展部经理
国家钨与稀土产品质量检验检测中心
主任
赤泥综合利用研究报告2025
推广

热门技术
更多+

推荐企业
更多+

福建省金龙稀土股份有限公司
宣传

发布

在线客服

公众号

电话

顶部
咨询电话:
010-88793500-807