青岛垚鑫智能科技有限公司
宣传

位置:中冶有色 >

有色技术频道 >

分类:
全部
矿山技术
冶金技术
材料制备及加工技术
环境保护技术
分析检测技术
地区:
全部
北京
天津
上海
重庆
河北
山西
辽宁
吉林
黑龙江
江苏
浙江
安徽
福建
江西
山东
河南
湖北
湖南
广东
海南
四川
贵州
云南
陕西
甘肃
青海
内蒙
广西
西藏
宁夏
新疆
其他
其他
展开
 
全部

有色金属技术理论与应用

免费发布技术信息>>
同轴电絮凝-气浮组合废水处理装置

本实用新型公开了一种同轴电絮凝‑气浮组合废水处理装置,涉及污水处理技术领域,所述废水处理装置包括进水系统、电絮凝系统、混凝系统、气浮沉淀系统、排放系统和控制系统,所述进水系统、所述电絮凝系统、所述混凝系统、所述气浮沉淀系统和所述排放系统依次连接,并且均与所述控制系统连接。本装置具有适用范围广、处理效果好、占地面积小,操作维护方便等优点,在处理废水的过程中同时具有凝聚、气浮、电化学氧化还原、灭菌、脱色、除臭等作用,大大提高了有机污染物和重金属的去除率,可满足各种改善和净化污染水体的需要。

标签:
废水处理
北京 - 北京 来源:中冶有色网 2023-03-19
新型光催化膜废水处理装置

本实用新型公开了一种新型光催化膜废水处理装置,属于废水处理设备领域。它包括废水箱、供水泵、液位控制器、恒温水浴、曝气机、排水泵和光催化反应器,所述光催化反应器座落在恒温水浴内,所述光催化反应器包括顶端敞口的进水室,在进水室的顶端敞口处装配有石英玻璃且石英玻璃的上方架设有紫外灯。本实用新型复合膜上负载光催化剂,解决光催化剂回收难、不易反复利用的问题。复合膜在回收光催化剂的同时,阻挡未能氧化的污染物质和一些中间产物,能较好控制反应器中污染物质的停留时间,提高光催化降解效率,保证出水有机物完全去除;另一方面,光催化剂的涂覆使复合膜表面形成疏水性的滤饼层,使得复合膜污染引起的膜通量下降问题得以解决。

标签:
废水处理
江苏 - 常州 来源:中冶有色网 2023-03-19
便携式废水检测用采样装置

本实用新型涉及一种便携式废水检测用采样装置,涉及废水采样技术领域,解决了现有废水取样装置操作麻烦问题,其包括用于取水的取水瓶,取水瓶上枢接有用于盖合取水瓶的瓶盖,取水瓶上螺纹配合有伸缩管,伸缩管远离取水瓶的一端设置有控制瓶盖开合的控制件,控制件上设置有连接于瓶盖上且穿设于伸缩管的拉索,伸缩管远离取水瓶的一端固定连接有供控制件安装的安装块;控制件包括锁锁紧装置与解锁装置,所述锁紧装置设置于安装块上,且固定连接于拉索远离瓶盖的一端,解锁装置设置于锁紧装置上,且与锁紧装置相互抵触配合以控制瓶盖的开合。本实用新型具有使用时检测人员不需要站在离河流很近的地方,采取水样时更加安全。

标签:
废水处理
江苏 - 苏州 来源:中冶有色网 2023-03-19
钻井油污废水分离过滤设备

本实用新型公开了一种钻井油污废水分离过滤设备,包括底座,所述底座的上表面固定连接有四个支撑腿,所述支撑腿的顶端固定连接有箱体,所述箱体的内部固定连接有隔离膜和过滤板,所述隔离膜设置有两层,所述过滤板的过滤孔直径为一厘米,且过滤板位于隔离膜的上方,所述过滤板的上表面左右两侧均固定连接有连接块;本实用新型的优点:过滤板对油污废水混合物进行第一步过滤,过滤后的液体,再经由隔离膜将油污和废水进行分离排出,然后便可进行下步处理,减少钻井废弃物对环境生态的污染,遏制生态环境的破坏,并且在电动推杆和销轴等结构的配合下,便于对滞留在过滤板上的大颗粒杂质进行清理。

标签:
废水处理
内蒙 - 鄂尔多斯 来源:中冶有色网 2023-03-19
高浓度含盐废水回收治理设备

本实用新型公开了一种高浓度含盐废水回收治理设备,其可在高浓度含盐废水回收治理过程中使得相关设备的运行效率得以改善,进而使得高浓度含盐废水回收治理的整体效率得以改善。

标签:
废水处理
江苏 - 盐城 来源:中冶有色网 2023-03-19
钒矿生产废水再利用装置

本实用新型属于废水处理技术领域,具体涉及一种钒矿生产废水再利用装置。所述装置,废水输入管线与凝水预热器、蒸汽预热器和蒸发器依次相连,蒸发器的液相出口与稠厚器A的进口相连,稠厚器A的稀料出口与蒸发器的进料口相连,稠厚器A的稠料出口与热离心中转罐的进口相连,热离心中转罐与刮刀离心机A和高温母液中转罐依次相连,高温母液中转罐的出口分别与蒸发器的进料口、换热器的热源进口相连,换热器的热源出口与结晶罐、冷离心中转罐和稠厚器B依次相连,稠厚器B的稀料出口与刮刀离心机B相连,稠厚器B的稠料出口与双级活塞推料离心机相连。本实用新型结构简单、科学合理,处理能耗低、效率高,产盐纯度高。

标签:
废水处理
江苏 - 泰州 来源:中冶有色网 2023-03-19
车载式重金属废水处理装置

本实用新型涉及一种车载式重金属废水处理装置;包括车头以及与车头后部相连的半挂拖车,半挂拖车的顶部设有沉淀罐、第二pH调节罐、吸附罐以及净化装置,沉淀罐、第二pH调节罐和吸附罐的上部设有絮凝罐,絮凝罐的顶部设有第一pH调节罐;第一pH调节罐顶部设有带废水泵的进口,第一pH调节罐底部的出水管道与絮凝罐上部的进口相连,絮凝罐依次通过沉淀罐、第二pH调节罐和吸附罐与净化装置相连;净化装置上设有达标水排放口;具有结构简单、设计合理、方便实用、占地面积小、可流动作业、重心集中在下部无论停靠或行驶均具有良好的安全性能、维护管理方便、运行费用低、出水效果稳定和能够实现废水达标排放的优点。

标签:
废水处理
河南 - 新乡 来源:中冶有色网 2023-03-19
含全氟辛酸铵的废水处理系统

本实用新型公开了一种含全氟辛酸铵的废水处理系统,包括依次布置的超滤单元和纳滤单元,纳滤单元的输入端与超滤单元的透过液出口连接,纳滤单元的浓缩液出口与全氟辛酸铵浓缩液的收集装置相连,所述超滤单元的膜元件为板式膜,板式膜的膜板间隔布置在壳体内,所述壳体的内底面处、沿壳体的长度方向顺延设置有至少一个管体,管体的一端管口封闭,管体的另外一端管口与空气源相连,管体位于壳体内的管壁上设置有若干个贯穿管壁的气孔。通过在超滤单元的膜元件的壳体内设置管体,这样废水处理系统在运行过程中可以对超滤单元的膜元件进行曝气处理,从而避免树脂微粒等悬浮物富集在膜板的表面,防止膜元件污染和堵塞,以确保废水中的全氟辛酸铵得以顺利回收。

标签:
废水处理
安徽 - 合肥 来源:中冶有色网 2023-03-19
有色金属矿山酸性废水综合处理系统

本实用新型公开了一种有色金属矿山酸性废水综合处理系统,它是由曝气槽、一段中和搅拌槽、初沉池、硫化反应槽、硫化沉淀池、调节池、生物反应槽、二段中和搅拌槽、二沉池和回水池构成,其中曝气槽、一段中和搅拌槽和初沉槽用于去除铁离子,硫化反应槽和硫化沉淀池用于硫化沉淀去除废水中的重金属,调节池和生物反应槽用于还原硫酸根,二段中和搅拌槽和二沉池用于中和去除残余的重金属离子。本实用新型采用“一段中和—硫化沉淀—生物发酵—二段中和”处理工艺对有色金属矿山酸性废水进行处理,具有处理效果好,处理成本低等优点。

标签:
废水处理
吉林 - 长春 来源:中冶有色网 2023-03-19
沉淀式废水排放池
沉淀式废水排放池 916     
 0

本实用新型公开了一种沉淀式废水排放池,包括:池体和若干固定安装在所述池体内部的隔板,所述池体的一侧开设有进水口,所述池体的另一侧开设有出水口,所述池体底部可拆卸地安装有若干吸附包,且若干所述吸附包分布于各相邻两隔板之间,各所述隔板上均开设有一偏心的通孔,记通孔位置向右偏心的隔板为第一隔板,记通孔位置向左偏心的隔板为第二隔板,所述第一隔板和所述第二隔板沿着所述池体的长度方向依次间隔排列分布,通过上述方式,本实用新型能够充分利用池体内部有效地空间,将废水处理的时间达到最大化,有效地提高了废水处理的质量,并且结构简单,操作简便,能够大幅降低成本。

标签:
废水处理
江苏 - 苏州 来源:中冶有色网 2023-03-19
压裂返排废水资源化处理装置

本实用新型公开了一种压裂返排废水资源化处理装置,包括:调节池、高级氧化反应器、一级絮凝池、二级絮凝池、三级絮凝池、沉淀池、水解酸化池、厌氧池、缺氧池和MBR池;其中,调节池设有废水进口和出水管;调节池的出水管与高级氧化反应器连接;高级氧化反应器依次与一级絮凝池、二级絮凝池、三级絮凝池和沉淀池连接;沉淀池经管路依次与水解酸化池、厌氧池、缺氧池和MBR池连接;MBR池设有排水口。该处理装置流程较短,自动化程度高,运行管理方便,可推广性强。通过采用组合工艺,可以做到发挥各工艺段的技术优势,做到经济高效的处理压裂废水。

标签:
废水处理
北京 - 北京 来源:中冶有色网 2023-03-19
废水净化一体机
废水净化一体机 1214     
 0

本实用新型公开了一种废水净化一体机,解决了压滤机上的滤板难以分开的问题,其技术方案要点是一种废水净化一体机,包括依次连接的废水箱、油水分离器、自沉淀罐、压滤机、曝气罐、六级过滤器、过滤罐,所述的压滤机包括压滤机本体以及置于压滤机本体上的多块滤板,其特征是:所述的滤板包括主板和置于主板两侧的支撑架,所述的支撑架上固定有套管,所述的套管的外壁上开设有斜槽,所述的套管中穿设有与套管滑动连接的内杆,所述的套管上套设且转动连接有套筒,所的套筒的外壁沿自身的轴向上开设有直槽,所述的内杆上设置有连接杆,所述连接杆远离连接杆的一端穿过斜槽置于直槽中,达到了使滤板容易分开的目的。

标签:
废水处理
北京 - 北京 来源:中冶有色网 2023-03-19
有机废水COD分离装置
有机废水COD分离装置 789     
 0

本实用新型公开了一种有机废水COD分离装置,所述电机二的输出端通过联轴器设置有搅拌轴二,所述搅拌轴二水平设置在COD分离腔的内部,且搅拌轴二的另一端贯穿COD分离腔侧壁设置在COD分离腔外部的固定盘上,所述搅拌轴二沿竖直方向轴线的两侧对称设置有螺旋搅拌叶一和螺旋搅拌叶二,所述螺旋搅拌叶一和螺旋搅拌叶二由搅拌轴二的端部位置到搅拌轴二的中间位置旋转半径依次减小,通过电机二驱动搅拌轴搅拌轴带动螺旋搅拌叶一和螺旋搅拌叶二带动有机废水在COD分离腔内向中间的投料管一和投料管二上进行碰撞,使有机废水与投料管一和投料管二内的强化剂发生充分的接触,增加反应接触面积。

标签:
废水处理
安徽 - 宣城 来源:中冶有色网 2023-03-19
生态废水循环采样装置
生态废水循环采样装置 1175     
 0

本申请涉及废水采样的技术领域,尤其是涉及一种生态废水循环采样装置,其包括架体,所述架体上设置有放卷装置、采样装置以及用于调节采样装置位置的调节装置,采样装置安装在放卷装置上,放卷装置安装在架体上;所述放卷装置包括放卷盘、放卷绳以及用于驱动放卷盘转动的驱动装置,采样装置包括用于采集废水的采集杯,采集杯安装在放卷绳的自由端,所述调节装置包括引绳板和使引绳板移动的驱动结构,引绳板上设置有引绳孔,引绳板与架体滑动连接。本申请具有能够在采样时检测采样水位的效果。

标签:
废水处理
河南 - 郑州 来源:中冶有色网 2023-03-19
小型实验室废水处理装置

本实用新型涉及环境检测装置技术领域,尤其为一种小型实验室废水处理装置,包括箱体,所述箱体的内部固定连接有第一盒体,所述箱体的外表面固定连接有电机,所述电机的输出端穿过箱体和第一盒体固定连接有转动轴,所述转动轴和第一盒体转动连接,所述转动轴的外表面固定连接有搅拌棒,所述第一盒体的底部固定连接有通水管道,所述通水管道穿过箱体固定连接有第二盒体,所述第二盒体和箱体固定连接,所述第二盒体的内部开设有滑槽。本实用新型通过电机、转动轴和搅拌棒的作用,使得酸碱试剂在和废水进行中和作用时,其装置可以使得酸碱试剂和废水可以有效的搅拌结合,使得其可以更好的中和作用。

标签:
废水处理
广东 - 广州 来源:中冶有色网 2023-03-19
不锈钢管道电解抛光工厂纯废水系统

本发明提供一种不锈钢管道电解抛光工厂纯废水系统,包括废水储存罐,废水储存罐下方可拆卸连接第一连接管,第一连接管可拆卸连接一级混凝沉淀池、二级混凝沉淀池和三级混凝沉淀池;一级混凝沉淀池、二级混凝沉淀池和三级混凝沉淀池之间通过第二连接管可拆卸连接,且第二连接管两端均设有过滤网,且一级混凝沉淀池、二级混凝沉淀池和三级混凝沉淀池上均设有自动下料结构,三级混凝沉淀池一端可拆卸连接第三连接管,第三连接管可拆卸连接UF超滤结构,UF超滤结构上端可拆卸连接第四连接管,第四连接管可拆卸连接回收水罐,回收水罐下端可拆卸连接两个第五连接管,两个第五连接管上均设有电磁阀,一个第五连接管可拆卸连接抛光产线降温结构。

标签:
废水处理
安徽 - 宣城 来源:中冶有色网 2023-03-19
具有将废水快速收集功能的过滤装置

本实用新型公开了一种具有将废水快速收集功能的过滤装置,包括收集池和过滤机构,所述过滤机构固定安装在收集池的一端中心内表面,所述过滤机构的顶部中心设有进水口,所述过滤机构的上部边缘外表面焊接有排渣管,所述排渣管的一端顶部外表面中心安装有挡板,所述过滤机构的中上部外面焊接有卡接板,所述过滤机构的底端转动连接有防冲弧板,所述防冲弧板的一端两侧边缘对称固定连接有连接绳,所述过滤机构的上部边缘外表面且位于排渣管的底部两侧边缘对称焊接有支撑座。本实用新型可以通过在收集池的内部安装过滤机构,能够便于过滤机构对废水内部过滤后的杂物进行输送排出,从而避免杂物对管道造成封堵,并且能够快速对废水进行过滤收集。

标签:
废水处理
江苏 - 无锡 来源:中冶有色网 2023-03-19
新型石墨烯-Ti电极印染废水处理电化学反应器

本实用新型涉及一种新型石墨烯-Ti电极印染废水处理电化学反应器,该反应器包括反应器本体、泵、电源、Ti电极、石墨烯薄膜电极和支架,反应器本体为空心结构,支架设在反应器本体内部,Ti电极为Ti片并设在反应器本体顶端,石墨烯薄膜电极设在支架上,电源的正极与石墨烯薄膜电极连接,电源的负极与Ti电极连接;反应器本体还设有反应器入口和反应器出口,反应器入口设在Ti电极与石墨烯薄膜电极之间,反应器出口设在石墨烯薄膜电极与反应器本体底端之间,泵与反应器入口连接。本实用新型利用石墨烯薄膜制成的电极处理印染废水,不仅能够对印染废水进行吸附处理,同时能够电解处理,总有机碳含量去除效率高;电源电压低,电能消耗少。

标签:
废水处理
山东 - 济南 来源:中冶有色网 2023-03-19
废水处理pH值智能调节系统

废水处理pH值智能调节系统,涉及废水处理设备。现有技术存在控制精度低、用药量大等缺陷,本实用新型的pH计的信号输出端连接有一具有预测功能的智能控制器,该智能控制器通过一变频器与加药计量泵相连。精确控制PH值,节约加药量,降低废水处理成本。

标签:
废水处理
上海 - 上海 来源:中冶有色网 2023-03-19
PVC母液废水回收利用装置

本实用新型为一种PVC母液废水回收利用装置,待处理PVC母液废水管道依次连接自清洗过滤器、热交换器、加药絮凝装置、第一级曝气生物滤池、臭氧氧化塔、曝气还原装置、第二级曝气生物滤池、清洗过滤装置、反渗透装置和混床装置,所述自清洗过滤器的滤网精度为50μm,所述加药絮凝装置内设石英砂滤柱,本实用新型采用了石英砂滤柱,解决了污泥稳定性较差,产生絮体不易沉降的现象,可大大降低PVC废水的有机物含量,保证后级系统的运行。

标签:
废水处理
青海 - 西宁 来源:中冶有色网 2023-03-19
用于污(废)水再生的超声高能精滤器

用于污(废)水再生的超声高能精滤器,属于物理法水处理设备技术领域。其特征是滤水箱与进水箱和出水箱之间有密封支板,并支撑着至少一根精滤器,密封支板上有至少二个单向喷头,滤水箱上部有电控排油箱,下部有电控收渣箱。具有污水分离、降粘、颗粒粉碎,快速沉降、除氧灭菌、自动排油、排渣的优点,仪器体积小,其污(废)水处理效率高,适用于油田污水处理循环使用和环保、冶金、电力等行业的废水再生利用。

标签:
废水处理
四川 - 成都 来源:中冶有色网 2023-03-19
有机废水的资源化处理方法及其资源化产物和应用

本发明涉及一种有机废水的资源化处理方法及其资源化产物和应用,将仿生催化剂加入含有酚和/或胺的有机废水中,经仿生催化反应获得含有腐殖酸的资源化产物;所述仿生催化剂包括过渡金属氧化物、氧化还原酶或金属络合物中的任意一种或至少两种的组合。该方法所得含有腐殖酸的资源化产物一方面可以通过沉淀分离得到腐殖酸,用作土壤肥料,通过优化工艺条件,腐殖酸的纯度可达70%以上,另一方面可以经过纯化分离后得到不同分子量的碳量子点,直接用于电化学传感器、超级电容器、发光材料等领域,应用前景广阔。该方法实现了有机废水处理领域经济效益和环境友好的双赢,为有机废水处理与资源转化提供了值得借鉴的方法。

标签:
废水处理
北京 - 北京 来源:中冶有色网 2023-03-19
一株用于源头废水生物毒性检测的植物乳杆菌及其应用

本发明涉及污水处理技术领域,公开了一株用于源头废水生物毒性检测的植物乳杆菌及其应用。所述植物乳杆菌命名为CR3,已在2021年3月15日保藏于中国微生物菌种保藏管理委员会普通微生物中心,地址为北京市朝阳区北辰西路1号院3号,保藏编号为CGMCC NO.22011,微生物分类命名为植物乳杆菌Lactobacillus plantarum。本发明的植物乳杆菌CR3能水解七叶苷,继而产生黑色物质,且对废水毒性的耐受性适宜,能通过显色深浅直观地反映出废水毒性的强弱,显色明显且稳定,因而能用于源头废水生物毒性检测。

标签:
废水处理
浙江 - 杭州 来源:中冶有色网 2023-03-19
养猪废水的处理方法
养猪废水的处理方法 971     
 0

一种养猪废水的处理方法,它首先将养猪废水注入电解磷回收池,当pH上升到9~9.5时,停止电解反应,静置后上清液进入沉氨池,回收的磷酸铵镁固体按其中磷的摩尔数与沉氨池中废水氨氮的摩尔数之比为1:1加入到磷酸铵镁电化学分解池,进行磷酸铵镁电化学分解,产生的分解产物全部转移至沉氨池,然后在pH9~9.5反应20~30min,固液分离后产生的磷酸铵镁重新返回磷酸铵镁电化学分解池进行重复利用,如此重复利用6~8次后,重新更换回收的新鲜磷酸铵镁。本发明操作简单,工程投资费用低,处理成本低,在不需外加磷酸盐和镁盐的条件下,可高效去除废水中氨氮,同时可回收磷酸铵镁,实现较高的经济效益和环境效益。

标签:
废水处理
河北 - 秦皇岛 来源:中冶有色网 2023-03-19
萃取剂、该萃取剂处理1.4二羟基蒽醌生产中废水方法

本发明提供了一种萃取剂,主要由以下原料制得:以质量份数计,三辛胺10‑20份,正辛醇30‑50份,磺化煤油20‑50份。该萃取剂对1.4二羟基蒽醌生产中废水的处理方法,主要包括如下步骤:(A)将1.4二羟基蒽醌生产中的废水pH调至0.85‑0.95之间,添加萃取剂后搅拌,得到水层与萃取层;(B)将水层调整pH至6‑9之间,检测水层COD控制在80mg/L以下,即可。本发明实施例的萃取剂组配简单,针对1.4二羟基蒽醌生产中所产生废水中的有害物质,尤其是有机物具有很好的去除作用,并且该萃取剂具有很强的针对性,专门针对1.4二羟基蒽醌生产工艺中所产生的废水进行处理,并且采用该萃取剂可大大简化操作步骤,处理效果好。

标签:
废水处理
四川 - 绵阳 来源:中冶有色网 2023-03-19
造纸废水的零排放处理方法及装置

本发明提供了一种造纸废水零排放处理的工艺及装置,本发明的工艺当中,首先对造纸废水进行栅格以及絮凝处理,再通过水解酸化/UASB/MBR的集成方法进行生化处理,对生化处理后的尾水采用超滤、纳滤、三维膜生物电极、反渗透组成的零排放处理单元进行深度处理。整个工艺当中,各处理单元中的废水和固废都进行相应的深度处理,整个系统运行平稳,实现了低成本零排放处理造纸废水的目的。

标签:
废水处理
江苏 - 南通 来源:中冶有色网 2023-03-19
含酚废水生物降解液
含酚废水生物降解液 1127     
 0

本申请公开了一种含酚废水生物降解液,包括:FD‑1假丝酵母降酚菌液和纤维素分解菌液;所述FD‑1假丝酵母降酚菌液包括假丝酵母FD‑1(Candida sp.FD‑1),所述假丝酵母FD‑1的保藏号为CCTCCNO:M 2014180;所述纤维素分解菌液包括纤维素分解菌。本申请实施例通过FD‑1假丝酵母降酚菌对含酚废水中的苯酚进行高效降解;同时,利用纤维素分解菌液具有良好的催化功能,即降解水体中的大部分多环芳烃吸附或渗透进的浮性固体,使多环芳烃直接暴露在水体中;使得纤维素分解菌液与FD‑1假丝酵母降酚菌液相互作用,提高降解酚类的效率。另外,可扩大降解酚类的范围,使其不仅可以降解苯酚,还可以降解其它环结构的有害物质。

标签:
废水处理
宁夏 - 银川 来源:中冶有色网 2023-03-19
处理焦化废水的方法及系统

一种处理焦化废水的方法及系统,所述方法包括下述步骤:(1)向焦化废水中加入酸溶液,调节溶液pH为2‑6,形成酸性水体系;(2)向所述酸性水体系中加入干熄焦二级除尘焦粉,混合并吸附后得到产物;(3)将所述产物进行固液分离后,得到出水和脱水滤饼。所述系统包括干熄焦单元、混合设备和固液分离设备。本发明以干熄焦除尘二级焦粉作为吸附剂,利用其优良的吸附性能和沉降性能,使得焦粉和焦化废水的利用达到最大化,减少污染。工艺简单,节能环保,成本较低,且吸附和沉降效果较好,无需加入絮凝剂和凝聚剂,所制备得到的水煤浆可直接用于发电和制热系统,变废为宝,使得焦粉和焦化废水的利用达到最大化,减少污染,有广阔的应用前景。

标签:
废水处理
江苏 - 徐州 来源:中冶有色网 2023-03-19
泥水混合充分的印染废水CLAR厌氧处理工艺

本发明公开了一种泥水混合充分的印染废水CLAR厌氧处理工艺,具体涉及废水处理技术领域,本发明通过在进入好氧处理前,设置独立厌氧系统对废水水质进行处理,使得该处理工艺具有连续环式无终端循环流技术、水流过流无死角,保障了对废水的处理效果,避免积泥的出现,且厌氧系统主要利用厌氧菌的消化作用,有效分解废水有机污染物质,产泥量约为好氧产泥量的1/4,大大降低清理污泥的复杂工序,在工艺利用厌氧作用,打断染料发色基团,降低水质色度,且CLAR厌氧反应池为不间断完全混合式厌氧反应器,大流量环流,泥水混合充分,处理效果好,进而保障了该处理工艺对印染废水的处理效果,且节省了大量实际处理废水时的清理以及处理成本。

标签:
废水处理
湖北 - 武汉 来源:中冶有色网 2023-03-19
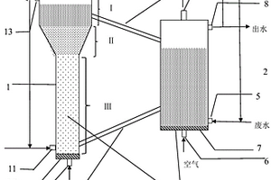
废气和废水处理装置
废气和废水处理装置 851     
 0

本发明涉及废气和废水处理,公开了废气和废水处理装置,所述处理装置包括废气处理反应器(1)和废水处理反应器(2);所述废气处理反应器(1)包括第一反应段(Ⅰ)、第二反应段(Ⅱ)和第三反应段(Ⅲ),第一反应段(Ⅰ)的通流面积大于第三反应段(Ⅲ)的通流面积,第二反应段(Ⅱ)的通流面积为由第一反应段(Ⅰ)到第三反应段(Ⅲ)逐渐减小;所述废气处理反应器(1)还设置有废气进口(10)和进水口(11);所述处理装置还包括下滤料管(3),用于将BAF滤料从废水处理反应器(2)导入废气处理反应器(1)中,以及上滤料管(4),用于将BAF滤料从废气处理反应器(1)循环回废水处理反应器(2)中。本发明提供的处理装置能够将废水处理和废气处理有机结合起来,在一套BAF装置上实现了废水和废气的处理。

标签:
废水处理
北京 - 北京 来源:中冶有色网 2023-03-19
上一页 9997 9998 9999 10000 10001 ... 20000 ... 30000 ... 32465 下一页
共32465页    到第

中冶有色为您提供最新的有色金属技术理论与应用信息,包括矿山技术、冶金技术、材料制备及加工技术、环境保护技术和分析检测技术等有色技术信息。打造最具专业性的有色金属技术理论与应用平台!

全国热门有色金属设备推荐
展开更多 +
全国热门有色金属技术推荐
展开更多 +

 

江西省隆恩特环保设备有限公司
宣传

报名参会
更多+

2025年10月15日 ~ 17日
2025年10月17日 ~ 19日
2025年10月31日 ~ 11月02日
2025年11月07日 ~ 09日

报告下载

有色专家
更多+

南昌航空大学
副院长/教授
南方科技大学
外籍院士
武汉工程大学
教授
长沙矿冶院检测技术有限责任公司
总经理
中南大学
教授
赤泥综合利用研究报告2025
推广

热门技术
更多+

推荐企业
更多+

福建省金龙稀土股份有限公司
宣传

发布

在线客服

公众号

电话

顶部
咨询电话:
010-88793500-807