青岛垚鑫智能科技有限公司
宣传

位置:中冶有色 >

有色技术频道 >

分类:
全部
矿山技术
冶金技术
材料制备及加工技术
环境保护技术
分析检测技术
地区:
全部
北京
天津
上海
重庆
河北
山西
辽宁
吉林
黑龙江
江苏
浙江
安徽
福建
江西
山东
河南
湖北
湖南
广东
海南
四川
贵州
云南
陕西
甘肃
青海
内蒙
广西
西藏
宁夏
新疆
其他
其他
展开
 
全部
南京
无锡
徐州
常州
苏州
南通
连云港
淮安
盐城
扬州
镇江
泰州
宿迁

江苏无锡有色金属理论与应用

免费发布技术信息>>
复合耐火材料及制备方法

本发明公开了一种复合耐火材料的制备装置,具体包括:回收装置,且安装在所述弹性撑柱顶部的承载装置,以及安装在所述承载装置顶部正面和背面的施压装置,且安装在所述承载装置顶部两侧的干燥装置,所述承载装置包括:圆盘板,且安装在所述圆形板体顶部且位于所述贯穿孔外侧的承载方箱,以及安装在所述承载方箱内表面底部四角的弧面块板,且安装在所述承载方箱内表面且位于弧面块板上方的承载网,本发明涉及耐火材料技术领域。通过弧面块板的设置对气流进行回环导流,使得气流从承载方箱内腔底部向中间流动,并从中间垂直向上升起,对耐火材料原料进行吹动,避免耐火材料表面浇注的复合材料从耐火材料表面滴落,使其快速风干进行凝固。

标签:
复合材料
江苏 - 无锡 来源:中冶有色网 2023-03-18
钢管混凝土叠合柱及修复方法

本发明公开了结构工程技术领域的一种钢管混凝土叠合柱的修复方法,旨在解决在地震作用下钢管混凝土叠合柱塑性铰处外层混凝土出现裂缝或提前剥离的问题。其方法包括对待修复钢管混凝土叠合柱进行损伤评估,仅当钢管混凝土叠合柱的塑性铰外层混凝土出现损伤时,进行如下操作:清理塑性铰外层已损伤的混凝土;采用模板和方木对清理后的塑性铰进行固定支护;采用具有延性的复合材料浇筑于支护后的塑性铰处,对钢管混凝土叠合柱进行加固修复。本发明适用于地震震级较小,对于部分钢管混凝土叠合柱结构受到地震的损坏进行修复处理,能够减少对震级较小的震后重建带来的资源、时间的浪费以及环境的污染。

标签:
复合材料
江苏 - 无锡 来源:中冶有色网 2023-03-18
半芳香族耐高温PA6T/11材料及其制备方法

本发明属于高分子合成领域,涉及一种半芳香族耐高温PA6T/11材料及其制备方法,该半芳香族耐高温PA6T/11材料的生产原料包括以下重量份的组分:PA6T盐60‑75份,11‑氨基十一酸25‑40份,成核剂0.05‑0.1份,催化剂0.03‑0.05份,溶剂80‑120份。本发明还公开了上述材料的制备方法。本发明的原料更环保,有利于绿色可持续发展,且制备的复合材料韧性好,熔点降低。本发明工艺步骤少、聚合周期短、生产效率高、生产成本低等优点,合成的树脂吸水率低,性能稳定,为将来连续化工业化生产创造了条件。

标签:
复合材料
江苏 - 无锡 来源:中冶有色网 2023-03-18
高强度复合铝箔结构及其制备方法

本发明公开了一种高强度复合铝箔结构及其制备方法,该高强度复合铝箔结构包括发泡体,所述发泡体为聚甲基丙烯酰亚胺泡沫板,所述发泡体的上下两侧分别设置有一层胶膜层,所述两层胶膜层的外侧分别粘合有一层铝箔,所述胶膜层为耐温大于270℃的热固胶层,高强度复合铝箔结构的制备方法包括材料准备、发泡体材料刨切、复合铝箔结构坯体压平、将压平后的复合铝箔结构坯体放置在270℃‑350℃的温度环境中进行定型。本发明的高强度复合铝箔结构材料的强度和硬度等机械物理性能都有很大提升,同时复合材料也很轻薄,能够满足轻量化的要求。

标签:
复合材料
江苏 - 无锡 来源:中冶有色网 2023-03-18
尖晶石结构钛酸锌纳米粉体的制备方法以及固化放射性废物的组合物及其固化氧化镧的方法

本发明公开了尖晶石结构钛酸锌纳米粉体的制备方法以及固化放射性废物的组合物及其固化氧化镧的方法,属于材料科学工程领域。本发明要解决操作温度高、装载率低、稳定性差等技术问题。本发明以Zn2TiO4、CaHPO4、SiO2和B2O3为基质原料,可用V2O5为添加剂,以La2O3为模拟放射性废物,将一定比例的Zn2TiO4、CaHPO4、SiO2、B2O3、V2O5和La2O3混合,在特定温度下保温一段时间,通过严格控制煅烧处理的温度和时间制成物理化学性能良好的固化体。本发明的Zn2TiO4复合材料装载量大、稳定性高和操作温度低等优点。本发明在放射性废物处理方面具有重要的实际应用价值。

标签:
复合材料
江苏 - 无锡 来源:中冶有色网 2023-03-18
阳极氧化液、电池外壳及其绝缘保护方法和应用

本发明涉及电池技术领域,具体涉及一种阳极氧化液、电池外壳及其绝缘保护方法和应用。本发明提供的电池外壳,所述电池外壳包括外壳本体,以及设置在外壳本体表面的保护层,保护层材料为氧化铝和聚苯胺形成的复合材料。本发明提供的电池外壳可大大提高电池外壳的绝缘性能和耐腐蚀性能。

标签:
复合材料
江苏 - 无锡 来源:中冶有色网 2023-03-18
碳碳拼接保温筒用板材的生产工艺

本发明公开了一种碳碳拼接保温筒用板材的生产工艺,涉及碳碳复合材料技术领域,该碳碳拼接保温筒用板材的生产工艺,包括以下步骤,预制板体制作,在预制板体表面喷涂树脂,将预制板体用四氟布进行包裹,放入平板硫化机中进行热压定型,热压定型制得的碳碳板材放入气相沉积炉中,进行气相沉积,之后将气相沉积后的碳碳板材放入高温炉,进行高温石墨化处理,最终制得碳碳拼接保温筒用的碳碳板材,本发明创造性提出热压定型+气相沉积+高温石墨化生产工艺,减少碳碳拼接保温筒用板材生产工序,缩短生产周期,生产成本低,对预制体板材采取热压定型后,进行气相沉积,减少因预制体密度低,进行气相沉积,引起板材发生变形问题。

标签:
复合材料
江苏 - 无锡 来源:中冶有色网 2023-03-18
用于电化学传感器的分子印迹电极的制备方法及应用

本发明公开了一种用于电化学传感器的分子印迹电极的制备方法,该方法基于还原氧化石墨烯rGO与Fe3O4@SiO2复合材料大的比表面积、好的电子传递性,引入分子印迹技术,以羟基化产物为模板分子,Fe3O4@SiO2‑rGO修饰的GCE为基底,采用电聚合的方法制备了能选择性识别羟基化产物的MIPs/Fe3O4@SiO2‑rGO/GCE电极;MIPs/Fe3O4@SiO2‑rGO/GCE电极与参比电极、对电极一起连接在电化学工作站上,以形成MIPs/Fe3O4@SiO2‑rGO/GCE分子印迹材料的电化学传感器,实现对羟基自由基的在线检测;导电材料rGO和MOFs材料Fe3O4@SiO2修饰玻碳电极,大大提高了电极在反应中检测信号的灵敏度;该电化学传感器对印迹分子响应快速、灵敏度高、稳定性好;能实时的对羟基自由基进行在线检测,检测无需取样等过程,简化了检测流程。

标签:
复合材料
江苏 - 无锡 来源:中冶有色网 2023-03-18
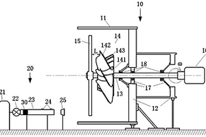
航空发动机非全环风扇叶片的旋转冲击试验装置

本发明提供了一种航空发动机非全环风扇叶片的旋转冲击试验装置,其包括转子试验台和气炮系统,转子试验台包括防护机匣,承力框架、转轴、风扇组件和阻通盘,承力框架固定在防护机匣内,转轴通过多个轴承装置水平地固定在承力框架上,转轴的一端连接电机,风扇组件安装在转轴的另一端,且阻通盘安装在转轴的另一端的端部,阻通盘上开设有至少一通口,阻通盘和风扇组件同步转动;当气炮系统向转子试验台发射外物时,阻通盘阻挡住非预期冲击工况下的外物。本发明对于常规的外物冲击损伤,只需安装3个叶片,节省叶片个数,从而节省试验成本,对于价格高昂的风扇叶片如复合材料风扇叶片,能极大地节省试验成本。

标签:
复合材料
江苏 - 无锡 来源:中冶有色网 2023-03-18
高凝点原油用四元共聚物类降凝剂及其制备方法

本申请公开了一种高凝点原油用四元共聚物类降凝剂及其制备方法,属于油田化学品技术领域。该高凝点原油用四元共聚物类降凝剂,其由第一物质和第二物质组成;所述第一物质为由改性蒙脱土与甲基丙烯酸十八脂、马来酸酐、聚乙二醇和丙烯酰胺的四种单体共聚组成的纳米改性蒙脱土复合材料;所述第二物质为由甲基丙烯酸十八脂‑马来酸酐‑丙烯酰胺三元共聚物经醇解组成的醇解型三元共聚物。该高凝点原油用四元共聚物类降凝剂中第一物质和第二物质协同作用,降低了高凝点原油的凝点和黏度,提高了高凝点原油的低温流动性,使得高凝点原油便于开采和运输。

标签:
复合材料
江苏 - 无锡 来源:中冶有色网 2023-03-18
司机室骨架结构、司机室及轨道车辆

本发明提供一种司机室骨架结构、司机室及轨道车辆。该司机室骨架结构包括:地板构件,前端连接前端板,后端连接后端梁;一对基础梁,间隔设置于地板构件两侧的上方,并且每组基础梁分别连接于前端板和后端梁之间;一对主支撑梁,间隔设置于一对基础梁的上方,并且每个主支撑梁的两端分别连接于前端板和后端梁。该司机室骨架结构能够将地板构件纳入至骨架结构中,并以地板构件整体结构与通长结构的主支撑梁共同作为司机室承重的重要部件之一,从而司机室骨架结构的整体承重能力以及耐撞击能力都得到了可靠提升,进而使得司机室能够实现既满足司机室轻量化要求并兼顾司机室耐碰撞能力,又能弥补复合材料不耐碰撞冲击的属性。

标签:
复合材料
江苏 - 无锡 来源:中冶有色网 2023-03-18
基于静电纺丝工艺的复合纳米纤维膜的制备方法及其应用

本发明属于高分子复合材料领域公开了一种聚丙烯腈/醋酸纤维素‑银/溴化银/钼酸银复合纤维膜及其制备方法和应用。该纤维膜采用以下方法制备的到:a.制备钼酸银;b.制备银/溴化银/钼酸银复合光催化剂;c.制备聚丙烯腈/醋酸纤维素‑银/溴化银/钼酸银静电纺丝溶液;通过静电纺丝技术将纺丝液制成纳米纤维膜。该纤维膜可作为光催化剂的载体,来实现光催化剂的循环使用,在水处理方面有着良好的应用前景。

标签:
复合材料
江苏 - 无锡 来源:中冶有色网 2023-03-18
高强度氮化硅复合碳化硅陶瓷及其制备方法和应用

本发明涉及复合材料领域,尤其是高强度氮化硅复合碳化硅陶瓷,经过原料成分合理配比,结合氮化烧结工艺,采用先预热至600‑800℃时,通入氮气方式,使原料混合物在非氮气氛围下受热,使得硅粉预热,再结合氮气通入,以及原料中氮化硅存在的环境下,实现对硅粉催化氮化,促使氮化硅形成,提高硅粉氮化率,促进硅粉形成的氮化硅与原料中的氮化硅在液相下结合,实现在碳化硅粉末间穿插,增强氮化硅与碳化硅结合的强度,提高陶瓷材料的致密性;且经氮气合理时间通入,避免了氮化硅在1600℃以上发生分解,增强了陶瓷材料强度和致密性,使得烧结制品的的密度>2.65g/cm3,断面细腻,气孔不可见,提高了陶瓷材料的抗热震性能和延长了陶瓷制品的使用寿命。

标签:
复合材料
江苏 - 无锡 来源:中冶有色网 2023-03-18
在芳纶纸蜂窝生产过程中精确控制产品密度的方法

本发明一种在芳纶纸蜂窝生产过程中精确控制产品密度的方法,属于复合材料产品质量控制领域,特别是涉及到一种生产过程中精确控制产品密度的方法;包括在浸胶工艺中首先测试被浸胶液的固体含量,之后通过公式,计算出蜂窝的挂胶量;在浸胶工序的工艺流程中通过控制蜂窝的重量,间接控制蜂窝的密度。本发明在浸胶工艺中利用被浸胶液的固体含量,通过公式,精确计算出蜂窝的挂胶量,从而能严格控制蜂窝的密度,满足客户的需求。

标签:
复合材料
江苏 - 无锡 来源:中冶有色网 2023-03-18
电力计量柜
电力计量柜 942     
 0

本发明公开一种电力计量柜,包括柜体,及设置在柜体一侧的、且与柜体通过合页活动连接的柜门,及设置在柜体下方的、且与柜体内部相连通的底座,及设置在柜体上方的、且与柜体顶部固定连接的顶盖;所述柜体和底座中空腔体内设置有过水管,所述底座的底端一侧设置有进水管,另一侧设置有出水管,所述过水管的两端分别与进水管和出水管连接,所述柜体的背部设置散热孔,所述柜体内设置有隔板,所述底座内部下表面设置有排气风扇,所述底座与柜体底部连接处设置有防护网;该电力计量柜可以快速散热,柜体采用了一种绝缘阻燃效果好的复合材料,不易变形,经久耐用,同时可以保证人员安全,能够减少安全事故的发生。

标签:
复合材料
江苏 - 无锡 来源:中冶有色网 2023-03-18
复合氧化剂的制备方法及其应用

本发明提供了一种复合氧化剂的制备方法及其应用,制备方法包括如下步骤:将氢氧化物固体溶解于水中,形成悬浊液,再加入稳定剂,搅拌后加入H2O2溶液反应10‑30min,加入共沉淀法制备的多金属水滑石Cu‑Zn‑Fe‑LDH的悬浊液搅拌直至均匀,再加入H2O2溶液反应10‑30min,反应后固液分离,将获得的固体干燥,得到过氧化物和Cu‑Zn‑Fe‑LDH的复合材料,作为复合氧化剂。本发明还提供了复合氧化剂的应用,该复合氧化剂可以作为类Fenton试剂,无需加入H2O2,与超声方法联合使用,能高效、快速降解多溴联苯醚。

标签:
复合材料
江苏 - 无锡 来源:中冶有色网 2023-03-18
碳化柚子瓤@硅@rGO天然电磁屏蔽材料及其制备方法和应用

本发明公开了一种碳化柚子瓤@硅@rGO天然电磁屏蔽材料及其制备方法和应用,该方法包含:将粒径为20~60nm的硅粉超声分散在乙醇水溶液中,加入冰醋酸调pH至4.5,加入硅烷偶联剂,再加入柚子瓤,超声,然后真空干燥,得到复合物;将所述复合物于700~800℃真空条件下碳化;将高温碳化得到的产物浸泡在石墨烯分散液中,真空干燥,然后于300℃真空条件下还原。本发明的天然电磁屏蔽材料通过硅烷偶联剂将硅粉与柚子瓤形成化学键连接,进而对其进行高温碳化,最后在表面裹上石墨烯形成内部网状交联的“三明治”导电结构,从而使得复合材料具有优良的导电性和屏蔽性能。

标签:
复合材料
江苏 - 无锡 来源:中冶有色网 2023-03-18
具有抗菌效果的涂料
具有抗菌效果的涂料 1355     
 0

本发明涉及一种具有抗菌效果的涂料,该涂料包含以下按质量百分比计的成分:20~30%的同时带有羧酸基、酰胺基的有机稳定剂,5~10%的分散剂,1.5~2%的壳聚糖季铵盐/有机蒙脱土/纳米银复合材料,10~20%的增稠剂,0.4~0.8%的流平剂,2~10%的助溶剂,2~2.5%的金属氧化物颗粒,0.4~1.0%的消泡剂,其余为去离子水。

标签:
复合材料
江苏 - 无锡 来源:中冶有色网 2023-03-18
用于大型双驱龙门铺丝一体化成型设备的龙门架体装置

本发明公开了用于大型双驱龙门铺丝一体化成型设备的龙门架体装置,包括工作台、龙门横梁;龙门横梁采用封闭式箱形结构,其中工作台的两侧旁均设有立柱,其中龙门横梁的底部两端均连接固定横梁滑座;每个所述横梁滑座均与立柱滑配连接固定;其中卧式回转工装固定在工作台上,其中所述龙门横梁的两端均通过横向滑轨滑动连接滑枕传动机构;其中所述滑枕传动机构上设有支撑框,其中支撑框内设有滚珠丝杠,其中溜板箱的一端与所述滚珠丝杠滑配连接固定;每个所述滚珠丝杠上连接第一传动电机,本发明形成高架桥式的总体布局,强度稳定性高并能满足控制振动的要求;适用于碳纤维复合材料构件成形加工,尤其适用于航空、航天轻质结构壁板要求等。

标签:
复合材料
江苏 - 无锡 来源:中冶有色网 2023-03-18
连续异型构件软模及其制造方法

本发明涉及复合材料技术领域,特别是一种连续异型构件软模及其制造方法,与现有技术相比,该连续异型构件软模采用三层结构,内层为聚酰胺6或者聚酰胺66,中间层为微孔发泡膨胀弹性体,外层为全氟乙丙烯或者乙烯‑四氟乙烯共聚物,采用特殊的软模并利用特殊的模具成型出中空异型构件软模,使用时充入气压,使其形成气囊装,方便铺贴,使用后将其泄压抽取出来,此产品结构件可以应用在大型且长度较长的碳纤维制品预浸布铺贴上。

标签:
复合材料
江苏 - 无锡 来源:中冶有色网 2023-03-18
爪极电机定子铁芯、及应用该定子铁芯的电机组件

本发明为一种爪极电机定子铁芯、及应用该定子铁芯的电机组件,该定子铁芯包括卷制硅钢制成的定子轭和软磁复合材料制成的多个定子爪极,多个定子爪极交替固定在定子轭的两侧。交替分布的一对定子爪极的末端分别对应一对极性相反的永磁体,永磁体的磁感线先从与其相对的定子爪极下部进入定子爪极,经过定子爪极分流到定子轭部的多层硅钢片上,磁感线在进入定子轭部的每个叠片中平行流动,再沿叠片穿出进入另一侧定子爪极中,经过整个定子爪极后回到相邻永磁体上;磁感线在定子轭的每个叠片中流过,几乎不会穿过中间的绝缘层,即不会产生涡流。这种定子铁芯结构能够保证磁路顺利通过,同时又能保证涡流损耗较低,满足三维磁通特性要求。

标签:
复合材料
江苏 - 无锡 来源:中冶有色网 2023-03-18
有序排布的金刚石/铜超薄复合板制备方法

本发明公开了电子封装领域的一种有序排布的金刚石/铜超薄复合板制备方法。该方法具体步骤包括:清洗金刚石颗粒与铜箔片;使用预压模具在铜箔片表面压制出有序排布的凹坑;将金刚石颗粒置于有序排布的凹坑内;将多层均布金刚石的铜箔片叠加,通过热压机在高温高压的条件下使多层均布金刚石的铜箔片扩散连接为有序排布的金刚石/铜超薄复合板。本发明通过在铜箔片表面预制有序排布的凹坑,有效实现金刚石的精确定位;避免因金刚石颗粒在金属基体中团聚,导致复合材料热管理性能不均匀;避免因使用粘结剂而引入有害杂质,导致金刚石/铜超薄复合板性能降低。本方法操作简单、效率高、成本低,可以成形微米级厚度的金刚石/铜超薄复合板。

标签:
复合材料
江苏 - 无锡 来源:中冶有色网 2023-03-18
包装盒的防伪印刷工艺

本发明公开了一种包装盒的防伪印刷工艺,具体涉及防伪印刷工艺技术领域。本发明使用基料制出基膜,淀粉和、聚己二酸对苯二甲酸丁二酯、纳米氧化石墨、聚乙烯醇复合材料进行共混,可进一步加强基膜的降解性能;将三维方位印刷图案拆解;制得不可逆热敏显像层和紫外显像层,同时将基料和热敏油墨、水性UV油墨进行混合,可有效保证热敏油墨和水性UV油墨可随着基膜进行快速降解;本发明中的包装盒防伪印刷工艺,可实现三维防伪印刷图案的三重防伪处理,可实现热敏和紫外防伪处理,同时可有效提高防伪印刷标记的快速降解,一旦进行防伪验证之后,无法进行重复使用,可有效避免防伪印刷标记被反复利用。

标签:
复合材料
江苏 - 无锡 来源:中冶有色网 2023-03-18
批量化制备石墨烯膜的方法以及由此制得的石墨烯膜

本发明公开了一种批量化制备石墨烯膜的方法以及由此制得的石墨烯膜,涉及石墨烯膜领域,本发明包括以下步骤:步骤1:采用改性Hummers法制备得到氧化石墨烯,备用;步骤2:将氧化石墨烯投入至超微粉碎机进行粉碎,得到氧化石墨烯粉体,本发明在氧化石墨烯溶液中混有镍基化合物,这种使得石墨烯膜具有良好的物理和化学性能,该方法不需要添加导电剂和粘结剂,活性物质利用率高,方法简单易行,快速高效,制备的产品具有电化学比容高、循环寿命长,是一种超级电容器电极材料,可广泛应用于各种便携式电子设备、电动汽车以及航空航天等领域,此外,该复合材料可从价格低的原料出发,通过重复性高、过程简单、耗时少的工艺制备获得,适于批量化生产。

标签:
复合材料
江苏 - 无锡 来源:中冶有色网 2023-03-18
铝制品门窗性能检测装置

本发明提供一种铝制品门窗性能检测装置,涉及复合材料检测领域,包括固定台、检测平台、移动杆、推把和传动杆,固定台通过转轴孔与检测平台转动连接,检测平台通过T形滑杆与移动杆滑动连接,固定台通过矩形孔滑动连接有推把,推把固定连接有连接盘,连接盘固定连接有矩形杆,推把通过第一转动孔与传动杆转动连接,移动杆固定连接有凸环,移动杆通过第二转动杆与传动杆转动连接,传动杆固定连接有转杆座,转杆座固定连接有第一转动杆,传动杆固定连接有连接凸块,连接凸块开设有第二容纳槽,连接凸块开设有第二转动孔。该铝制品门窗性能检测装置具有能够便于将已经检测过的铝制品门窗取出的功能。

标签:
复合材料
江苏 - 无锡 来源:中冶有色网 2023-03-18
铋钨酸盐与氮化碳复合光催化材料的制备及应用

一种铋钨酸盐与氮化碳复合光催化材料的制备及应用,本发明涉及一种铋钨酸盐和氮化碳光催化复合材料,本发明的目的是解决现有技术合成的光催化产氢材料的禁带宽度较宽、光生电子空穴易复合,吸光能力差,导致现有光催化产氢材料产氢效率低等问题,本专利设计与研制了一种铋钨酸盐与氮化碳复合而成的复合光催化材料,其化学式为Na9[BiW11O38]/g‑C3N4(简称BiW11/g‑C3N4)。合成方法:用二水钨酸钠和硝酸铋通过常温搅拌制得多酸Na9[BiW11O38],再与g‑C3N4复合制得BiW11/g‑C3N4复合光催化材料。本发明所得半导体复合光催化材料用于常温常压光催化分解水制取氢气。

标签:
复合材料
江苏 - 无锡 来源:中冶有色网 2023-03-18
地震物理模型衰减材料及其制备与应用

本发明公开了一种地震物理模型衰减材料及其制备与应用。该地震物理模型衰减材料包括如下重量份的成分:环氧树脂E‑51,20份;环氧树脂593固化剂,4份;室温硫化硅橡胶,1‑20份。本发明通过室温硫化硅橡胶、环氧树脂E‑51混合加入固化剂后,室温硫化硅橡胶中的硫醇基和环氧树脂发生化学反应,渐渐变硬成型。固化后的复合材料速度、密度、品质因子Q值可控,通过磨具方便加工成各种形态,从而制作出地层模型。本发明制备工艺简单,稳定性好,能够在超声地震物理模拟过程中取得良好的效果。

标签:
复合材料
江苏 - 无锡 来源:中冶有色网 2023-03-18
锂硫电池用褶皱二硫化钼复合隔膜及其制备方法

本发明公开了一种锂硫电池用褶皱二硫化钼复合隔膜及其制备方法。所述基膜为商业的聚丙烯隔膜,在过滤装置上通过低速抽滤的方法将褶皱MoS2纳米片@聚多巴胺衍生多孔碳层/SnO2纳米颗粒复合材料抽滤在基膜上,从而制得褶皱MoS2@C/SnO2修饰复合隔膜。制备的复合隔膜具有优异的锂离子电导率,同时可以有效地固定多硫化物,相对于现有的商业聚丙烯隔膜,在相同的倍率条件下,可以显著提高锂硫电池的容量以及增加电池的倍率性能,很好地解决穿梭效应带来的问题。大幅提升活性硫利用率,进而提高锂硫电池电化学性能。

标签:
复合材料
江苏 - 无锡 来源:中冶有色网 2023-03-18
掺氧化钕复合薄膜材料的制备方法

本发明公开了一种掺氧化钕复合薄膜材料的制备方法,通过改进的微乳液法制备出氧化钕纳米晶体,并将其掺入使用溶胶‑凝胶技术结合低温有机‑无机复合技术在二氧化钛基有机‑无机复合材料中,最后引入有机光敏功能基团,制备得到了既具有上转换发光功能,又具有光固化功能,同时又拥有优良的光波导性能的二氧化钛基有机‑无机复合光波导材料。本发明的复合薄膜及条形波导阵列在580nm波长绿光的激发下可以激发出一个明显的波长在436nm处的强烈的亮蓝色上转换发光。该制备工艺过程简单,制作成本低廉,可实现批量生产,该复合薄膜及条形光波导阵列具有光固化功能,在光子学与光电子器件制备等领域具有非常重要的应用。

标签:
复合材料
江苏 - 无锡 来源:中冶有色网 2023-03-18
用于提高工程陶瓷板材切面质量的随动压紧装置

一种用于提高工程陶瓷板材切面质量的随动压紧装置,可用于实现工程陶瓷板材及陶瓷基复合材料板材在切割加工时对板材切缝两侧位置的随动压紧,可解决目前工程陶瓷板材经切割加工后切面出现崩边、裂痕等质量缺陷以及刀具磨损过快的技术难题。随动压紧装置可配合刀具轴系统位置进行安装,装置中包含两套平行四连杆机构,分别分布在距切缝15mm‑20mm的两侧位置,可在切割时通过气缸向切缝两侧施加垂直方向的压紧力以减小切割板材时产生的局部震动,同时可随刀具的切割进给运动而在板材表面进行随动,从而达到提升切面质量的目的。加工完成后气缸可将装置抬升至切片下切线以上位置。

标签:
复合材料
江苏 - 无锡 来源:中冶有色网 2023-03-18
上一页 513 514 515 516 517 ... 1079 下一页
共1079页    到第

中冶有色为您提供最新的江苏无锡有色金属理论与应用信息,涵盖发明专利、权利要求、说明书、技术领域、背景技术、实用新型内容及具体实施方式等有色技术内容。打造最具专业性的有色金属技术理论与应用平台!

全国热门有色金属设备推荐
展开更多 +
全国热门有色金属技术推荐
展开更多 +

 

江西省隆恩特环保设备有限公司
宣传

报名参会
更多+

报告下载

有色专家
更多+

中国矿业大学
教授
武汉工程大学
教授
郑州大学
校长/党委书记
中国瑞林工程技术有限公司
中国工程院院士
紫金矿业信息化研发中心
副总经理
赤泥综合利用研究报告2025
推广

热门技术
更多+

推荐企业
更多+

福建省金龙稀土股份有限公司
宣传

发布

在线客服

公众号

电话

顶部
咨询电话:
010-88793500-807