青岛垚鑫智能科技有限公司
宣传

位置:中冶有色 >

有色技术频道 >

分类:
全部
矿山技术
冶金技术
材料制备及加工技术
环境保护技术
分析检测技术
地区:
全部
北京
天津
上海
重庆
河北
山西
辽宁
吉林
黑龙江
江苏
浙江
安徽
福建
江西
山东
河南
湖北
湖南
广东
海南
四川
贵州
云南
陕西
甘肃
青海
内蒙
广西
西藏
宁夏
新疆
其他
其他
展开
 
全部
济南
青岛
淄博
枣庄
东营
烟台
潍坊
济宁
泰安
威海
日照
滨州
德州
聊城
临沂
菏泽

山东有色金属理论与应用

免费发布技术信息>>
原位晶化裂化催化剂及其制备方法

一种原位晶化裂化催化剂及其制备方法,属于固体废弃物的处理及应用领域,其特征在于使用催化裂化废催化剂细粉为原料原位合成催化裂化催化剂,制备方法是首先采用酸洗的方法去除催化裂化废催化剂中的钒和镍等重金属组分,然后将酸洗后废催化剂和碱的混合物在高温下进行焙烧对其进行活化,再将活化后的废催化剂与水玻璃、高岭土、助剂、分散剂或/和粘结剂等经喷雾干燥成型为微球A,然后将微球A与水玻璃、水以及导向剂等进行晶化反应,得到NaY沸石含量为20-70%、沸石硅铝比4.0-6.0的晶化微球。后经焙烧、过滤、洗涤以及NH4+和/或Re3+和/或磷交换得到裂化催化剂产品。本催化剂具有抗重金属能力强、裂化活性高、活性稳定性好、制备过程简单、成本低等特点。

标签:
固废
山东 - 青岛 来源:中冶有色网 2023-03-19
改性聚铝铁硅藻土絮凝剂的制备方法

一种改性聚铝铁硅藻土絮凝剂的制备方法,属于污水处理技术领域。本发明从含有铝铁成分的泥状渣土、废酸液、废酸渣副产固体废弃物、酸性液体废弃物混合物中,得到聚铝铁硅藻土,通过硫酸锰、氯化铁改性后,过滤、干燥、焙烧得到改性聚铝铁硅藻土絮凝剂。本发明原料采用硅藻原土精制提取硅藻的生产工艺中产生的含有铝铁成分的泥状渣土、废酸液、废酸渣副产固体废弃物、酸性液体废弃物,提高物质利用率,减少废水、废渣排放;通过硫酸锰、氯化铁改性,有效提高聚铝铁硅藻土的比表面积和孔容,提高废水处理效果。

标签:
固废
山东 - 青岛 来源:中冶有色网 2023-03-19
纯碱生产中的碱渣回收处理方法

本发明公开了一种纯碱生产中的碱渣回收处理方法,包括以下步骤:(1)将碱渣分离脱水后,在蒸氨塔内与热母液进行蒸氨反应,控制蒸氨塔内液体pH值为9.0以下,并保持母液中的氯化铵过量;(2)将步骤(1)经母液蒸氨后的半铵母液输送到另一个蒸氨塔内,加入石灰乳蒸氨,每方半铵母液中加入石灰乳的量为0.13~0.19m3;蒸氨至塔内废液中氨指标<50mg/l,蒸氨完毕。(3)将第二次蒸氨后的废液经固液分离后,将碱渣脱水;两次蒸氨中蒸氨塔顶蒸出的氨气输送至吸氨塔回收。本发明的碱渣处理方法中碱渣经二次蒸氨反应后,约80‑85%的固体都参与了化学反应,经脱水后,固体量(湿基)减少至蒸氨前固体量的12.3%以下。

标签:
固废
山东 - 潍坊 来源:中冶有色网 2023-03-19
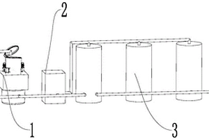
放射性污水多级过滤系统

本实用新型公开了一种放射性污水多级过滤系统,包括固液分离机构、烘干机构、放射性固体储存柜以及气体冷凝机构,由第一管道排出的放射性废弃物在固液分离机构中分离,形成通过第二管道流向衰减池的放射性废液以及通过第三管道流向烘干机构的湿润固体废弃物,上述湿润固体废弃物经烘干机构烘干后落入放射性固体储存柜,烘干时产生的放射性气体经过第四管道流入气体冷凝机构后冷凝为液体流入第二管道与上述放射性废液形成合流,固液分离机构和第三管道中设置有一滤网传送带,第三管道中固定有位于滤网传送带内部的第一加热板。将夹杂有固体废弃物的放射性污水进行固液分离,并将分离后湿润的固体废弃物进行烘干,实现放射性物质的分类处理。

标签:
固废
山东 - 济南 来源:中冶有色网 2023-03-19
西药房用垃圾分类压块处理装置

本实用新型公开了一种西药房用垃圾分类压块处理装置,包括箱体,所述箱体的顶端分别开设有废瓶储槽和固体废料槽,其中废瓶储槽的侧壁铰接有转杆,转杆的外壁套设有固定块,且转杆的两端铰接有活动块,并且箱体内设置有环状槽,环状槽内设置有复位弹簧,所述固体废料槽的侧壁设置有顶压块和底压块,底压块内设置有限位弹簧,限位弹簧的一端连接有滑块,滑块内铰接有连杆,且连杆的一端连接于顶压块的底端,并且固体废料槽的顶端设置有涡卷弹簧,涡卷弹簧的一端连接有卡接件,本实用新型通过多个压板的共同作用,确保药房不同长度的固体废料垃圾都可以被快速压平,且利用受复位弹簧控制的活动块,使废瓶在废瓶储槽内保持均匀排布。

标签:
固废
山东 - 淄博 来源:中冶有色网 2023-03-19
新型建筑环保施工运输机构

本实用新型公开了一种新型建筑环保施工运输机构,包括车架,所述车架的上端固定连接有竖直设置的挡板和两个对称设置的侧板,两个所述侧板相互远离的侧壁转动连接有转动板,所述转动板的下端设置有挡水板,且挡水板的下端与车架的上表面固定连接。本实用新型涉及环保施工技术领域,通过设置车架配合拦网,可以将废水与固体废弃物一同运输,并且利用废水浇淋在固体废弃物上,避免固体废弃物在运输过程中出现大量的扬尘,并且在运输途中,可以让废水在重力的作用下向下滴落,从而实现固液分离,将废水与固体废弃物分别回收,有效避免污染城市环境。

标签:
固废
山东 - 泰安 来源:中冶有色网 2023-03-19
护坡材料及其制备方法
护坡材料及其制备方法 1201     
 0

本发明属于建筑材料领域,具体涉及一种护坡材料及其制备方法,由胶凝材料、集料、改性骨料和水组成;胶凝材料是由水泥、粒径为1-3mm的市政固体废弃物、激发剂和工业废渣制备而成,集料是由粒径为1-3mm的市政固体废弃物制备而成,改性骨料是由粒径为4-10mm的市政固体废弃物、表面增强剂和水制备而成。本发明可以高效利用市政固体废弃物,减少生产建材对资源与能源的消耗,生产和施工工艺简单,制备的护坡材料力学性能高,同时,降低市政固体废弃物堆放时对土地的占用和环境的污染,社会、经济和环境效益显著。

标签:
固废
山东 - 淄博 来源:中冶有色网 2023-03-19
串联连续水解制备戊糖溶液的系统和方法

一种串联连续水解制备戊糖溶液的系统,对农林废弃物水解制取戊糖溶液,其特征是:所述系统包括N级相互串联的水解单元,N为整数且N≥2,每一级水解单元分别包括相互串联的一个水解装置和一个固液分离装置,对所述农林废弃物进行水解并对水解后的固液混合物进行固液分离生成含有戊糖的水解酸液和固体物。采用上述系统可以使得整个工艺实现自动化,而且农林废弃物的转化率高、得到的戊糖溶液浓度高,最终得到的固体料是制备乙醇的原料纤维素。

标签:
固废
山东 - 济南 来源:中冶有色网 2023-03-19
石膏还原氧化循环煅烧联产生石灰及硫的工艺及系统

本公开属于固废资源化利用领域,具体提供一种石膏还原氧化循环煅烧联产生石灰及硫的系统及工艺。包括如下步骤所述石膏先经还原煅烧再经氧化煅烧,所述还原煅烧与氧化煅烧均控制反应温度700‑1200℃,气体空气系数为过量空气系数;所述还原煅烧过程分离得到的烟气中的二氧化硫经碳热还原后生成硫磺,所述氧化煅烧过程产生的烟气携带氧化煅烧物料返回还原煅烧过程循环煅烧,直至收集的固体物料质量分数达到生石灰产品要求解决现有技术中以石膏为原料制备的生石灰中包含硫化钙,大大降低了生石灰的品质,且现有技术中石膏制备生石灰的过程中无法联产硫产品,并污染环境的问题。

标签:
固废
山东 - 济南 来源:中冶有色网 2023-03-19
(2S,3R)-对甲砜基苯丝氨酸乙酯的制备方法

本发明提供了一种(2S,3R)‑对甲砜基苯丝氨酸乙酯的制备方法,其解决了现有制备方法繁琐、增加固废的处理量的技术问题,其包括如下步骤:氢氧化钙与(2S,3R)‑对甲砜基苯丝氨酸水溶液进行成盐反应,得到(2S,3R)‑对甲砜基苯丝氨酸钙盐;(2S,3R)‑对甲砜基苯丝氨酸钙盐在乙醇中通入氯化氢气体进行酯化反应,得到(2S,3R)‑对甲砜基苯丝氨酸乙酯盐酸盐溶液;向(2S,3R)‑对甲砜基苯丝氨酸乙酯盐酸盐溶液加入水,并降温至‑5~0℃,降温后的溶液中滴加氨水或碱性金属氢氧化物溶液调节pH为8.0‑8.5,使(2S,3R)‑对甲砜基苯丝氨酸乙酯盐酸盐溶液与氨水或碱性金属氢氧化物溶液进行中和反应,将反应生成的固体过滤、漂洗、干燥,得到(2S,3R)‑对甲砜基苯丝氨酸乙酯,可广泛应用于化工技术领域。

标签:
固废
山东 - 潍坊 来源:中冶有色网 2023-03-19
催化剂的制备方法及含氯不饱和聚酯的制备方法

本发明公开一种催化剂的制备方法及含氯不饱和聚酯的制备方法。所述催化剂的制备方法包括以下步骤:使用聚酰胺酸、固体酸、双酞酰亚胺单体复配的溶液,经过乙酸酐和有机碱的亚胺化过程后,在水相溶液中使用湿法粉碎机粉碎、洗涤、真空干燥,制成聚酰亚胺载体的多孔结构的催化剂。所述含氯不饱和聚酯的制备方法包括以下步骤:将氯代邻二甲苯气相氧化副产物和二元醇在溶剂中回流脱水,加入催化剂,制成不饱和聚酯溶液;脱水结束后,将溶液降温并加入活性炭脱色,过滤,蒸出溶剂,得到不饱和聚酯。可以有效解决副产物的应用问题,解决了产线固废的问题。提高了固化后不饱和聚酯树脂的阻燃性和耐热性。

标签:
固废
山东 - 烟台 来源:中冶有色网 2023-03-19
物料处理装置、其组和系统及有机物料处理方法

本申请涉及物料处理装置、物料处理装置组、物料处理系统和有机物料处理方法。物料处理装置包括主体、处理室、至少两个进料斗、拨轮排料阀、电加热器组、排气管、储料筒、密封插板阀和料位计,其中排气管的进气口设置在电加热器组的两侧,以将处理室内产生的气体有效地引出到外面,密封插板阀根据储料筒壁上设置的料位计提供的料位信息打开或关闭。本申请所涉及的装置和系统主要用于处理有机物料(含生活垃圾和工、农业生产排放的有机固废物料、医疗垃圾等,从而提取焦油和可燃气体且产出无烟燃料(含有固定碳、灰分、少量挥发份和水分)等可再利用或无害化的固体。

标签:
固废
山东 - 济南 来源:中冶有色网 2023-03-19
高官能度聚醚多元醇及其制备方法和用途

本发明提供一种高官能度聚醚多元醇及其制备方法和用途。所述制备方法包括如下步骤:将起始剂、催化剂和溶剂加入反应器内,氮气置换后升温搅拌,按设定程序加入氧化烯烃反应,投料结束后熟化、脱气,即得到所需聚醚多元醇。本发明采用的工艺针对蔗糖、山梨醇、季戊四醇等高官能度固体起始剂,可合成官能度4‑8的聚醚多元醇,由吡啶类催化剂制备,避免中和精制处理步骤,减少固废,此外,反应工艺采用程序升温及阶段性投料方式,可提高起始剂的转化率,使反应充分。该方法制备的聚醚多元醇适用于制备硬质聚氨酯泡沫塑料。

标签:
固废
山东 - 烟台 来源:中冶有色网 2023-03-19
N、S、B掺杂的中草药药渣碳点、荧光探针及应用

本发明提供一种N、S、B掺杂的中草药药渣碳点、荧光探针及应用。N、S、B掺杂的生物质碳点的制备方法:将中草药药渣、尿素、硫脲和硼酸进行水热反应,将获得的物料进行离心、抽滤、透析得到纯碳点溶液,冷冻干燥得到碳点固体。这种方法充分利用中草药药渣,实现固废资源化,通过添加杂原子提高量子产率,并且操作简单方便。比率性碳点@分子印迹聚合物的制备方法,通过悬浮聚合法将N、S、B掺杂的中草药药渣碳点和橙红色碳点封装在分子印迹聚合物中,形成比率性碳点荧光探针。这种比率性碳点@分子印迹聚合物荧光探针检测呋喃唑酮线性浓度范围为0‑400mg/L,并且不容易受到其他物质影响,抗干扰能力强。

标签:
固废
山东 - 济南 来源:中冶有色网 2023-03-19
利用水杨酸残渣分解回收苯酚钠的方法

本发明公开了一种利用水杨酸残渣分解回收苯酚钠的方法,包括如下步骤:将水加入到反应釜中,开启搅拌,然后加入固体水杨酸残渣;控制反应釜中压力,加热反应釜中物料到160~220℃,反应排气进入冷凝器冷凝,其中的苯酚和水冷凝下来回流到反应釜中,不凝尾气经过减压后进入水洗塔洗涤排放,洗涤水作为下一批次反应用水使用;反应结束后泄压降温,向反应釜中加入氢氧化钠,控制pH值为12~13;最后向反应釜中加入活性炭,吸附脱色,过滤后得到苯酚钠溶液。本发明公开的方法使水杨酸残渣得以回收利用,仅产生少量活性炭固废,对环境影响小,属于环境友好型处理工艺。

标签:
固废
山东 - 青岛 来源:中冶有色网 2023-03-19
具有油水分离的垃圾桶

本实用新型公开了一种具有油水分离的垃圾桶,包括垃圾主体桶、固液间隔壁、水油分离漏斗和漏斗顶滤网,所述垃圾主体桶的内侧壁上安装有滑道条,所述滑道条上滑动安装有方形环盒壁,所述方形环盒壁下方的所述垃圾主体桶内竖直隔设有所述固液间隔壁,所述固液间隔壁将所述垃圾主体桶隔设为左侧的分离腔和右侧的固废腔,所述分离腔的顶部设置有所述水油分离漏斗,所述水油分离漏斗的顶部固定安装有所述漏斗顶滤网,所述水油分离漏斗的底部漏口处安装有漏管,所述漏管的底部管口连接安装有回流弯管。有益效果在于:本实用新型所述的具有油水分离的垃圾桶针对于餐厨垃圾进行存放,便于实现固体和油水的分离,方便垃圾分类和后续的积存处理。

标签:
固废
山东 - 滨州 来源:中冶有色网 2023-03-19
妇产科护理用换药架
妇产科护理用换药架 984     
 0

本实用新型公开了一种妇产科护理用换药架,包括换药架主架、固体废弃物收集仓和液体废弃物收集桶,所述换药架主架的上端右侧嵌入设置有置物层栏杆,所述液体废弃物收集桶安装在换药架主架右侧靠近废弃物层板的下方位置处,所述固体废弃物收集仓安装在废弃物层板下方靠近液体废弃物收集桶的右侧位置处,所述固体废弃物收集仓的左侧内壁上设置有紫外线发射器。本实用新型设置了固体废弃物收集仓和液体废弃物收集桶收集液体废弃物,还设置了紫外线发射器和烧结活性炭滤芯,可以对固体废弃物进行紫外线消毒杀菌,对液体废弃物进行吸附过滤,使液体废弃物在护理时不会产生污染,并且便于护理人员进行护理操作,以利于病人的治疗和康复。

标签:
固废
山东 - 日照 来源:中冶有色网 2023-03-19
利用垃圾修复荒山的方法

本发明涉及一种利用垃圾修复荒山的方法,本发明将生活垃圾卫生填埋技术与加筋土挡墙技术相结合用于修复开采过度的荒山,本发明在开采过度的荒山的山体缺失侧利用加筋土挡墙技术修筑垃圾坝,在垃圾坝和山体之间设置排水系统,将固体废弃物垃圾填埋在垃圾坝和山体的排水系统之上,压实,然后在固体废弃物垃圾顶部设置土工膜和覆盖层,将固体废弃物垃圾封闭起来,所述排水系统能够有效排出固体废弃物垃圾中发酵产生的废液;固体废弃物垃圾顶部设置土工膜,防止雨水进入固体废弃物垃圾内部;在固体废弃物垃圾顶部设置覆盖层,覆盖层采用双向土工栅格反包技术,将草种子装入生态袋反包在覆盖层最外侧,既美化环境又防止水土流失。

标签:
固废
山东 - 济宁 来源:中冶有色网 2023-03-19
碱激发水泥及其制备方法

本发明公开了一种碱激发水泥及其制备方法,原料包括工业废渣粉及固体碱激发剂,其中工业废渣粉包含矿渣粉、钢渣粉、粉煤灰、偏高岭土,固体碱激发剂为工业废渣粉质量总和的3.0‑11.5%。本发明以工业废渣为主要原料,制备方法简单、易于操作,制备过程仅需要低温煅烧,粉磨等工序,即可获得早期强度高,性能稳定、优良的碱激发水泥。相比于水泥生产,消耗大量的工业废渣,降低了对自然资源的依赖,降低能耗,节约能源,且减少CO2的排放,减轻环境污染,为工业废渣的综合利用开辟了一条有效的途径,具有很好的经济、社会及环境效益。

标签:
固废
山东 - 济南 来源:中冶有色网 2023-03-19
医用弯盘
医用弯盘 793     
 0

本实用新型公开了一种医用弯盘,其包括主体;所述主体通过第一隔板、第二隔板将其分为废液槽A、固体废物槽B、固体废物槽C;所述废液槽A上设置有盖板A;所述固体废物槽B、固体废物槽C上分别设置有可活动盖板B、可活动盖板C。本实用新型的一种医用弯盘,其结构紧凑、合理的废液槽A、固体废物槽B、固体废物槽C设计,可以将固液医用废渣分离开来,避免医护人员受到二次感染。

标签:
固废
山东 - 聊城 来源:中冶有色网 2023-03-19
泡沫陶瓷过滤器的制备方法

本发明公开了一种泡沫陶瓷过滤器的制备方法。该泡沫陶瓷过滤器的制备方法包括以下步骤:将ZrO2质泡沫陶瓷过滤器废料破碎、研磨、过筛,得废料粉体;将废料粉体与适量的粘结剂、分散剂及润湿剂混合均匀,制得浆料;将浆料涂覆在泡沫体上,制得泡沫陶瓷过滤器坯体,烘干;将烘干后的泡沫陶瓷过滤器坯体烧结,得泡沫陶瓷过滤器。应用本发明的技术方案,有效利用ZrO2质泡沫陶瓷过滤器的固体废弃物,极大地节约生产成本;其工艺简单,有利于陶瓷工业化生产,既实现ZrO2质泡沫陶瓷过滤器的固体废弃物重复利用,又获得了高性能的泡沫陶瓷过滤器。

标签:
固废
山东 - 济南 来源:中冶有色网 2023-03-19
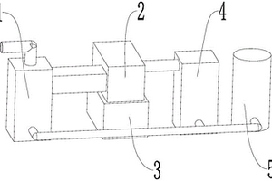
放射性污水处理系统
放射性污水处理系统 884     
 0

本实用新型公开了一种放射性污水处理系统,包括依次连通的降解池、衰减池和放射性检测装置,放射性污水处理系统还包括固体放射物处理装置,由第一管道排出的放射性废弃物分流形成流向固体放射物处理装置的固体废弃物以及依次流经第二管道、降解池、衰减池和放射性检测装置的放射性废液,固体放射物处理装置包括粉碎机构、冲洗浸泡机构以及过滤机构,固体废弃物经粉碎机构粉碎后落入冲洗浸泡机构,冲洗浸泡机构用于对粉碎后的固体废弃物进行冲洗,冲洗后的带有放射性物质的废液经过滤机构过滤后,通过第二管道流入降解池。通过设置固体放射物处理装置,有利于对医疗放射性废水及其废弃物进行处理。

标签:
固废
山东 - 济南 来源:中冶有色网 2023-03-19
多功能鞣剂及其制备方法

一种多功能鞣剂及其制备方法,属于皮革化工材料领域。原料为重铬酸盐,皮革固体废弃物,含纤维素的废弃物,硫酸,水。重铬酸盐水溶,加入皮革固体废弃物,加入硫酸反应,再加入含纤维素的废弃物,加入剩余的硫酸,在50~90℃反应30~180分钟,得到鞣液;通过喷雾干燥可制成粉状鞣剂。该鞣剂是一种集有机酸蒙囿、糖醛酸助鞣、铬鞣、醛鞣以及蛋白填充等性能于一体的多功能鞣剂,渗透快、反应性强,对皮革边肷部位的填充性能好,成革粒纹清晰、手感丰满、弹性好、色泽浅、收缩温度可达110℃。可用于猪、牛、羊皮的初鞣、复鞣,以及不浸酸鞣制工艺。

标签:
固废
山东 - 济南 来源:中冶有色网 2023-03-19
节能环保燃煤暖气炉
节能环保燃煤暖气炉 792     
 0

本发明公开了一种节能环保燃煤暖气炉,包括固体燃烧室、导流导热器、废气燃烧室和蒸汽发生器,所述固体燃烧室上方设有导流导热器,所述导流导热器上设有废气燃烧室,所述固体燃烧室周围设有暖气储水室,所述固体燃烧室底端外侧设有导热片,所述固体燃烧室底端设有炉底,所述蒸汽发生器设置在暖气储水室底端,并与固体燃烧室连接在一起,所述废气燃烧室上设有蒸汽储水箱,所述废气燃烧室与废气排出口相连通,所述蒸汽储水箱与蒸汽发生器通过管道连接,所述蒸汽储水箱顶端与炉灰室通过蒸汽导出管相连接。本发明结构简单,减少煤炭用量,通过导流导热器进入废气燃烧室二次燃烧,热能继续回收并传导至水箱,热效率高,制造成本低。

标签:
固废
山东 - 烟台 来源:中冶有色网 2023-03-19
醋酐残渣处理工艺及系统、应用

本发明涉及一种醋酐残渣处理工艺及系统、应用,包括:将醋酐残渣浓缩至醋酐含量为45~55%,然后干燥成固体粉末,收集干燥过程中挥发的醋酐;将所述醋酐冷凝,回收;将所述固体粉末按固废进行处理。该方法成本低、操作简单容易、耗时少、效率高、环境友好,易于普适性和规模化生产。既提高了醋酐的回收率,又避免了残渣固化结块导致的容器堵塞,同时,残渣转运方便、成本降低、经济效益好。

标签:
固废
山东 - 枣庄 来源:中冶有色网 2023-03-19
热脱附设备
热脱附设备 822     
 0

本申请公开了一种热脱附设备,涉及固废处理设备技术领域。一种热脱附设备包括:加热装置、回转装置、窑头罩、窑尾罩和抑尘装置;所述回转装置设置于所述加热装置,所述回转装置的两端分别伸出所述加热装置,所述窑头罩和所述窑尾罩对应设置于所述回转装置的两端,所述回转装置相对于所述加热装置、所述窑头罩和所述窑尾罩分别可转动;所述抑尘装置设置于所述窑尾罩或所述回转装置内靠近所述窑尾罩的区域,以沉降所述回转装置内产生的固体颗粒物。本申请能够解决固体颗粒物影响热脱附设备正常运行、缩短热脱附设备清理周期的问题。

标签:
固废
山东 - 烟台 来源:中冶有色网 2023-03-19
对羟基苯甲腈的合成方法

本发明公开了一种对羟基苯甲腈的合成方法,包括对羟基苯胺重氮化反应形成重氮化合物,然后将重氮化合物与氯化亚铜和氰化钠反应得到对羟基苯腈的步骤。所述对羟基苯胺由对亚硝基苯酚氢气还原而得,所述对亚硝基苯酚由苯酚亚硝化而得。本发明每一步的反应温度均较低,反应条件温和,大大降低了反应动力消耗。本发明采用常规的反应釜即可进行反应,设备要求较低,投资小。本发明不使用脱水剂和填料,只用少量的催化剂,同时催化剂可以回收套用,固废量少,仅产生少量的固体催化剂,无难处理废水。

标签:
固废
山东 - 青岛 来源:中冶有色网 2023-03-19
粉煤灰综合处理工艺
粉煤灰综合处理工艺 1030     
 0

本发明属于粉煤灰处理技术领域,具体涉及一种粉煤灰综合处理工艺。所述的粉煤灰综合处理工艺包括分级工序、风选工序以及粉磨工序,先将粉煤灰分为可风选原料和不可风选原料,然后再将可风选原料根据GB/T1596‑2017通过选粉机对原料进行选粉作业,分为符合标准的Ⅰ级粉煤灰和Ⅱ级和粗灰进行粉磨处理,处理至45μm方孔筛余质量分数≤1‑5%,得到粉磨后粉煤灰。本发明充分解决了因燃煤电厂所产生的粉煤灰质量波动对其综合利用所产生的不利影响,能够将燃煤电厂所产生的粉煤灰全部综合利用处理,使得粉煤灰这种工业固体废弃物得以综合利用,并使其经济价值显著提高,解决了工业固废产生集中地区自身消纳能力有限的问题。

标签:
固废
山东 - 淄博 来源:中冶有色网 2023-03-19
利用酸洗污泥做助熔剂的多功能陶粒及其生产方法

本发明公开了一种利用酸洗污泥做助熔剂的多功能陶粒及其生产方法。采用的主要原料为酸洗污泥、粉煤灰、膨润土,三种原料按比例混合,经造粒、干燥、焙烧、冷却制得多功能陶粒。本发明利用当地固体废弃物获得多功能陶粒。不仅解决当地固废处理问题,获得物理强度高、化学稳定性好、堆积密度小、比表面积大的可用于建筑、水处理和园林艺术等领域的多功能陶粒,而且降低陶粒生产成本,具有良好的市场前景。

标签:
固废
山东 - 滨州 来源:中冶有色网 2023-03-19
具有金属离子吸附性能的轻质多孔赤泥基无机聚合物介质

本发明公开了一种具有金属离子吸附性能的轻质多孔赤泥基无机聚合物介质及制备方法,属于环境保护领域中利用固体废弃物制备功能材料技术领域。本发明介质是以赤泥、水玻璃、添加剂、改性剂为主要原料制成;所述主要原料的组成及重量比为:赤泥50~95%、水玻璃1~30%、氢氧化钠1~10%、添加剂1~50%、改性剂0.1~5%。本发明直接利用经过压滤后的赤泥,经配料后依次投放于搅拌机内搅拌,待搅拌均匀后,将物料充填到模具中养护;养护脱模后的介质为赤泥基无机聚合物水处理介质。介质制备简单、回收方便、可广泛应用于污水过滤及金属离子吸附处理;不仅大量利用了固废赤泥,而且为社会创造了新的经济价值。

标签:
固废
山东 - 济南 来源:中冶有色网 2023-03-19
上一页 511 512 513 514 515 ... 2000 ... 2016 下一页
共2016页    到第

中冶有色为您提供最新的山东有色金属理论与应用信息,涵盖发明专利、权利要求、说明书、技术领域、背景技术、实用新型内容及具体实施方式等有色技术内容。打造最具专业性的有色金属技术理论与应用平台!

全国热门有色金属设备推荐
展开更多 +
全国热门有色金属技术推荐
展开更多 +

 

江西省隆恩特环保设备有限公司
宣传

报名参会
更多+

报告下载

有色专家
更多+

昆明理工大学
校长
矿冶科技集团有限公司工程公司
副总经理
国家钨与稀土产品质量检验检测中心
主任
中国铝业集团有限公司
中国铝业股份有限公司党委书记
中铝郑州有色金属研究院有限公司
党委书记 董事长
赤泥综合利用研究报告2025
推广

热门技术
更多+

推荐企业
更多+

福建省金龙稀土股份有限公司
宣传

发布

在线客服

公众号

电话

顶部
咨询电话:
010-88793500-807