青岛垚鑫智能科技有限公司
宣传

位置:中冶有色 >

有色技术频道 >

分类:
全部
矿山技术
冶金技术
材料制备及加工技术
环境保护技术
分析检测技术
地区:
全部
北京
天津
上海
重庆
河北
山西
辽宁
吉林
黑龙江
江苏
浙江
安徽
福建
江西
山东
河南
湖北
湖南
广东
海南
四川
贵州
云南
陕西
甘肃
青海
内蒙
广西
西藏
宁夏
新疆
其他
其他
展开
 
全部
武汉
黄石
十堰
宜昌
襄阳
鄂州
荆门
孝感
荆州
黄冈
咸宁
随州
恩施土家族苗族自治州
仙桃
潜江
天门

湖北有色金属理论与应用

免费发布技术信息>>
柱形锂电池包装密封结构

本实用新型公开了一种柱形锂电池包装密封结构,包括筒体,其特征在于:所述筒体的内部固定连接有分隔罩,所述分隔罩的外侧与筒体的内侧之间固定连接有多个加强板,所述筒体的下端位于分隔罩外侧的位置开设有多个散热孔,所述筒体的上端设置有端盖,所述筒体和端盖的外侧套设有绝缘套。本实用新型中,设置的分隔罩用于盛放卷芯,分隔罩设置在筒体的内部,在筒体与分隔罩之间设置有多个加强板,可以提高筒体与分隔罩的强度,从而可以提高电池的抗压性,卷芯散发的热量通过分隔罩、加强板传递至筒体,设置的散热孔可以使得空气进入到分隔罩外侧与筒体之间的间隙,从而可以提高电池的散热性能。

标签:
加工技术
湖北 - 武汉 来源:中冶有色网 2023-03-18
生产锂电池盖帽的加工夹具

本实用新型提供一种生产锂电池盖帽的加工夹具,包括支撑顶腔,所述支撑顶腔的顶端一侧固定连接有料仓,且料仓的内侧与支撑顶腔的内侧相互贯通,所述支撑顶腔的底端固定连接有导料腔,所述导料腔的底端固定连接有支撑底腔,且导料腔的内侧与支撑顶腔以及支撑底腔的内侧均相互贯通,所述支撑底腔的底端开设有出料口,所述支撑顶腔与支撑底腔的外侧共同设置有导料组件。本实用新型中,通过将盖帽的运输与夹取整合在一起,使得盖帽逐个被准确导入夹具内,再通过夹具带动盖帽完成在冲压工位上的定位,从而免去了人工导料的麻烦,有利于提升工作效率。

标签:
加工技术
湖北 - 武汉 来源:中冶有色网 2023-03-18
二次锂电池顶盖的防爆阀结构

本实用新型公开了二次锂电池顶盖的防爆阀结构,包括顶盖板、绝缘支架、防护罩、第一固定件和第二固定件,所述顶盖板的中部开设有防爆阀透气孔,且所述防爆阀透气孔的内部安装有防爆阀,所述防爆阀通过激光点焊固定在防爆阀透气孔的底部,所述绝缘支架通过定位柱安装在顶盖板的底部,所述第一固定件内侧注塑成型有呈V型的第一固定支架,所述第一拉扣与顶盖板上设置的倒锥孔相配合。本实用新型防爆阀通过激光点焊固定安装,避免了注塑成型的繁琐工序,同时也避免注塑过程中可能存在的密封性不良问题,提高了防爆阀的密封效果;在绝缘支架上设置防护罩,能够解决防爆阀破裂后,避免碎渣掉入电池中,防护罩能够起到透气过滤的作用。

标签:
加工技术
湖北 - 武汉 来源:中冶有色网 2023-03-18
多工位一次锂电池检测平台

本实用新型属于电子检测技术领域,具体涉及一种多工位一次锂电池检测平台。它包括检测滑台、安装在检测滑台上的工位安装板和可驱动工位安装板前后移动的驱动机构,工位安装板上依次间隔设有开路电池电极检测触头、脉冲激活电池电极触头和负载电池电极检测触头,其中一侧的工位安装板上在开路电池电极检测触头和脉冲激活电池电极触头之间设有开路推出触头、在负载电池电极检测触头另一侧设有负载电池推出机构。本实用新型可将开路电压检测—脉冲激活—负载电压检测三道工序集中在一个平台上检测,结构简单,简化了操作过程,缩短操作时间,节约人力,实现了工业化连续生产。

标签:
加工技术
湖北 - 武汉 来源:中冶有色网 2023-03-18
锂亚电池电解液充二氧化硫装置

本实用新型涉及一种锂亚电池电解液充SO2装置,属于电子材料领域。包括电子称和置于电子称上的反应釜,所述反应釜顶部通过三根管路分别与真空泵、二氧化硫高压钢瓶和电解液储瓶连接,并在与电解液储瓶连接的管路上有阀门,所述反应釜的顶部还有一根管路经过阀门与二氧化硫净化器与大气相通;所述反应釜内部有热交换器,热交换器通过两管子与冰柜中冷却液连通形成回路,并在回路上安装有泵。通过使用本实用新型装置,可对电解液及时冷却。将小瓶通过密闭系统集中到反应釜中充SO2,可以使效率提高20倍。由于整个反应釜置于电子称中,在充SO2中可以对电解液定量操作,提高了准确性,操作也很方便。

标签:
加工技术
湖北 - 武汉 来源:中冶有色网 2023-03-18
具有铝-镍复合带极耳的圆柱型锂离子电池

本实用新型公开了一种具有铝-镍复合带极耳的圆柱型锂离子电池,具有负极片,其特征在于,所述负极片设有铝-镍复合带极耳,所述铝-镍复合带极耳包括焊接在负极片上的铝带、以及通过焊接点与所述铝带端部焊接在一起的镍带。制程过程是,先把一部分铝带焊接在负极片留白处,然后把另一部分凸出的铝带和镍带用超声波焊接控制器焊接在一起,便可做成一种新型的极耳。本实用新型具有的有益效果:损耗低,虚焊少,而且制成的电池在内阻和1C充放电循环方面都有着较明显的优势,从而有效的提高了新产品的工艺性能。

标签:
加工技术
湖北 - 咸宁 来源:中冶有色网 2023-03-18
防止一次锂电池壳盖产生烧伤、穿孔的焊模

本实用新型公开了一种防止一次锂电池壳盖产生烧伤、穿孔的焊模,该焊模包括设置在壳盖上方的焊头,所述焊头的底部开设有一盲孔,所述盲孔的外形小于壳盖的外形。本实用新型可以使焊头中间位置避空,防止壳盖上出现烧伤、穿孔的现象,降低壳盖的报废率。

标签:
加工技术
湖北 - 武汉 来源:中冶有色网 2023-03-18
新型锂亚硫酰氯防水电池

本实用新型公开了一种新型锂亚硫酰氯防水电池,包括电池壳体,所述电池壳体底部设有泄放槽,其特征在于,所述电池壳体上端设有正极假盖组件,所述正极假盖组件连接正极引出线,电池壳体下端面连接负极引出线;所述正极假盖组件上端面涂有防水胶层,所述电池壳体下端面涂有清漆层。本实用新型对电池壳体底部负极涂刷清漆起到保护作用。同时由于清漆厚度较小,不影响泄放槽的安全保护功能。本实用新型结构简单、生产方便,正负极全面防水的同时不影响电池自身的安全性。

标签:
加工技术
湖北 - 武汉 来源:中冶有色网 2023-03-18
锂电池生产用原料干燥装置

本实用新型公开了一种锂电池生产用原料干燥装置,包括干燥箱,所述干燥箱的底部内壁设有加热板,且加热板的内壁等距离设有电加热管,所述干燥箱的两侧外壁均设有固定板,且两个固定板的顶部外壁均等距离设有固定架,每个固定架的另一端均设有风机,所述干燥箱底部外壁两端均设有支撑座,所述干燥箱的另两侧外壁均设有支撑板,且两个支撑板的顶部外壁均设有液压杆,两个液压杆连接有同步液压系统。本实用新型通过设置有固定板、固定架和风机,风机安装于干燥箱的两侧,进行搅拌加热干燥时,风机对翻堆的原料进一步风干,翻转中的原料之间存在有间隙,从而进一步提高风干效果,提高该干燥装置的干燥效果和干燥效率,提高其实用性。

标签:
加工技术
湖北 - 咸宁 来源:中冶有色网 2023-03-18
磷酸锰铵的制备方法和锂离子电池正极材料

本发明涉及磷酸锰铵晶体技术领域,具体而言,涉及一种磷酸锰铵的制备方法和锂离子电池正极材料。所述磷酸锰铵的制备方法包括如下步骤:将锰源溶液、磷源溶液和铵源溶液混合完成后,进行陈化,然后固液分离,得到磷酸锰铵;任选地,所述混合的原料中还包括pH调节剂和/或抗氧化剂溶液;所述抗氧化剂溶液包括柠檬酸溶液、抗坏血酸溶液、水合肼溶液和双氧水中的至少一种。该制备方法具有反应周期短,生产效率高,成本低以及制得的磷酸锰铵纯度高、收率高等优点。

标签:
加工技术
湖北 - 十堰 来源:中冶有色网 2023-03-18
锂电池纳米浆料行星均质分散乳化混料系统及方法

本申请涉及一种锂电池纳米浆料行星均质分散乳化混料系统及方法,包括:行星混料装置;反应釜装置;均质装置;以及脱泡过滤除铁装置;其中,均质装置包括第一均质机、第二均质机及第三均质机,第一均质机的一端与行星混料装置的第一出口端连接,第一均质机的另一端与反应釜装置的第二进口端连接,第二均质机的一端与反应釜装置的第二出口端连接,第二均质机的另一端与行星混料装置的第一进口端连接,第三均质机的一端与反应釜的第二出口端连接,第三均质机的另一端与脱泡过滤除铁装置的第三进口端连接,脱泡过滤除铁装置的第三出口端与第一均质机连接行星混料装置的第一出口端的一端连接,能够通过小容量的行星混料装置实现大容量的浆料的混合。

标签:
加工技术
湖北 - 武汉 来源:中冶有色网 2023-03-18
锂化合物净化提纯实验装置

本发明公开了一种锂化合物净化提纯实验装置,包括机架和集中装置,机架的表面设置有过滤器,集中装置设置在机架的下表面,集中装置包括收集盒,收集盒与机架的下表面卡合连接,收集盒的一侧固定连接有把手,收集盒的一侧固定连接有横杆,机架靠近横杆的一侧开设有孔一,横杆与机架一侧的孔一卡合连接,机架靠近横杆的一侧转动连接有挂钩,挂钩的表面套设有扭转弹簧,扭转弹簧的两端分别与机架和挂钩固定连接,机架的一侧开设有槽一,机架一侧的槽一的内壁滑动连接有驱动杆,通过设置集中装置,有效将过滤后的液体收集,增加了设备的易用性,方便使用者进行操作,减少了设备的使用难度,增加了设备的稳定性,降低了设备的操作步骤。

标签:
加工技术
湖北 - 武汉 来源:中冶有色网 2023-03-18
单釜快速合成三元锂电池正极材料前驱体的方法

本发明属于电池材料制造领域,具体涉及一种单釜快速合成三元锂电池正极材料前驱体的方法。向反应釜内进料,反应釜内液位上升至溢流口后浆料溢流至浓密器内,浓密器底部与循环泵连接,循环泵出口至反应釜内,用于将浓密器内浆料泵回反应釜内。浓密器内过滤部分的滤棒规律排布并汇总连接至真空缓冲罐,部分浆料经滤棒过滤后将浆料中颗粒拦截在浓密器内,浓缩后的浆料再通过循环泵泵回反应釜继续反应,通过滤棒的滤液则排至真空缓冲罐内。本发明可增强浓密效果、大幅提高合成的三元液流量,加快反应速度、提高合成阶段的收率,从而提高产量、降低成本。

标签:
加工技术
湖北 - 荆门 来源:中冶有色网 2023-03-18
锂电池被动均衡电路的故障回检电路及检测方法

本发明属于新能源技术领域,其公开了一种锂电池被动均衡电路的故障回检电路及检测方法。电路包括:信号采样单元,与均衡电阻并联连接,在均衡开关处于闭合状态时,发出检测信号;信号输出单元,与信号采样单元耦合,以电平形式响应检测信号;控制单元,与信号输出单元连接,根据信号输出单元的响应结果和预设指令,判断均衡开关是否发生故障。方法包括:控制单元若接收到断开的预设指令,信号输出单元的响应结果不是高电平,则判断均衡开关故障,否则,判断均衡开关正常;若接收到闭合的预设指令,信号输出单元的响应结果不是低电平,则判断均衡开关故障,否则,判断均衡开关正常。实现了均衡过程中均衡开关的状态预知及可控,消除了安全隐患。

标签:
加工技术
湖北 - 武汉 来源:中冶有色网 2023-03-18
锂亚硫酰氯电池正极颗粒料定量成型入壳机

本实用新型公开了一种锂亚硫酰氯电池正极颗粒料定量成型入壳机,它包括正极粒料送料装置,作间歇转动式的转盘装置,转盘装置的转盘设有钢壳槽孔,与转盘水平对应设置的钢壳输送装置,转盘装置上设有水平移动的接料块,接料块上设有定量接料孔,接料块上方设有推杆推料装置,转盘装置下方设有钢壳顶伸气缸,在正极颗粒料入壳时,推杆推料装置推杆的轴线、接料块上的定量接料孔轴线,转盘装置的转盘设有钢壳槽孔轴线和钢壳顶伸气缸轴线同轴。本装置从正极粒料送料、钢壳输送、正极粒料送料定量及装载实现全自动化,并确实连续化生产;工人劳动强度低,生产效率高。它是一种单机操作设备。

标签:
加工技术
湖北 - 武汉 来源:中冶有色网 2023-03-18
圆柱钢壳钛酸锂电池的化成及产气清除方法

本发明提供一种圆柱钢壳钛酸锂电池的化成及产气清除方法。采用半开口高温老化+分段式化成+负压除气的模式,步骤为电池在封口作业时只进行一封作业;将电池放入烤箱内进行45℃真空保存;电池上柜化成;电池下柜,放入烤箱进行45℃真空保存;电池在干燥房内进行二封、蹲封,进行电池壳外部清洗;电池继续上柜化成;电池下柜老化12—24小时,测试电压内阻。本发明方法除气效果显著,且过程控制易于实现有利于大规模工业化生产,产品直通率的显著提高极大的降低了产品生产成本,间接的使产品价格更具有市场竞争力。

标签:
加工技术
湖北 - 襄阳 来源:中冶有色网 2023-03-18
正极极片制备方法、正极极片、锂离子电池制备方法

本发明公开一种正极极片制备方法、正极极片、锂离子电池制备方法。极片制备方法包括:按质量比为100~200:1~30,将水性溶剂和第一粘结剂混合,得到第一混合液;按质量比为10~30:90~96:101~230,将环氧基的硅烷偶联剂、第一导电剂和第一混合液混合,得到第二混合液;将第二混合液碾磨得到第一浆料,涂于铝箔表面;第一浆料烘烤得到碳层并形成于铝箔的表面;按质量比为90~98:1~10:1~30,将电极活性材料、第二导电剂和第二粘结剂混合,得到第三混合液;将第三混合液碾磨得到第二浆料,涂于碳层表面;第二浆料烘烤得到电极活性层并形成于碳层的表面。从而提高动力电池的性能,同时降低成本,满足绿色、安全的市场需求,保证优良的导电性能。

标签:
加工技术
湖北 - 荆门 来源:中冶有色网 2023-03-18
锂离子电池正极材料前驱体及其制备方法

本发明提供了一种锂离子电池正极材料前驱体,所述正极材料前驱体为核壳结构,其包括内核和外壳,所述内核为组分不变的[Ni(OH)2]x·[Co(OH)2]y,所述外壳为组成逐渐变化的[Ni(OH)2]a·[Co(OH)2]b·[Al(OH)3]c,其中,0.7≤x<1,0<y≤0.3,x+y=1;0.55<a<1,0<b<0.3,0<c≤0.15,a+b+c=1,且x/y=a/b;自内核与外壳的界面向外壳表面,镍和钴的含量均逐渐降低,铝的含量逐渐升高。该正极材料前驱体兼具内核高比容量、外壳高稳定性的优势,同时能够避免多次充放电循环后核壳之间产生间隙。本发明还提供了该正极材料前驱体的制备方法。

标签:
加工技术
湖北 - 荆门 来源:中冶有色网 2023-03-18
锂电叉车电池包的热管理装置及其热管理方法

本发明提供一种锂电叉车电池包的热管理装置,包括电池包箱体和冷热空调,电池包箱体上方开设有电池包进风口,电池包箱体侧壁开设有电池包出风口,电池包箱体内部设有电池模组和电池包内部风管道,电池包内部风管道位于电池模组上方,且电池包内部风管道上方设有风管道进风口,风管道进风口连接电池包进风口,冷热空调设有空调出风管,空调出风管可拆卸连接电池包进风口,使得空调出风管与电池包内部风管道连通或断开。本发明的有益效果:本发明通过在电池包箱体上连接可拆卸的冷热空调,以通过冷热空调来控制电池模组在充电时温度,从而在保证电池包使用安全、工作寿命及成本的前提下,有效缩短电池包的充电时间和提高电池包的利用率。

标签:
加工技术
湖北 - 武汉 来源:中冶有色网 2023-03-18
甲基膦酸二甲酯固态电解质的制备方法及锂离子电池

本发明涉及一种甲基膦酸二甲酯固态电解质的制备方法,包括如下步骤:将甲基膦酸二甲酯和聚丙二醇溶于氯仿中,并加入催化剂,在惰性气体的保护下反应,得到产物A;将产物A和聚乙二醇混合,并加入催化剂,在惰性气体的保护下反应,得到产物B;将产物B和硅烷化的聚乙二醇混合反应,得到甲基膦酸二甲酯固态电解质。一种锂离子电池,包括通过甲基膦酸二甲酯固态电解质作为构成部件之一。本发明的有益效果是:具有良好的阻燃作用,同时还使得电池在贮存和放电过程中无气体析出,安全性好;甲基膦酸二甲酯的纳米级的三维网状结构还可以提高材料的力学性能、耐热性能以及阻燃性能;易于合成,易于使用,低浪费。

标签:
加工技术
湖北 - 武汉 来源:中冶有色网 2023-03-18
锂电池极片对辊机用刮辊装置

本发明涉及一种锂电池极片对辊机用刮辊组件,包括底座,所述底座的顶部固定连接有装置本体,所述装置本体内腔的前后两侧通过辅助辊活动连接,所述装置本体的驱动端固定连接有传送辊,在装置本体左侧的上下两侧均固定连接有刮辊组件。本发明通过对刮辊组件的改进,设置有复位弹簧,保证了滑块在滑轨内弹性活动,因此两个刮板分别与辅助辊和传送辊弹性接触,当滚轴上出现粘黏物不易刮除时,避免硬性接触,从而保证了刮板的使用寿命,避免刮板出现损伤的问题,当刮板出现问题,弹性接触的设计能够避免两个刮板对辅助辊和传送辊造成刮痕。

标签:
加工技术
湖北 - 孝感 来源:中冶有色网 2023-03-18
镍钴锰酸锂正极材料中主元素含量的分析方法

本发明提供了一种镍钴锰酸锂正极材料中主元素含量的分析方法。所述分析方法包括以下步骤:(1)将标准样品进行压片处理,然后采用X射线荧光光谱仪对压片样品进行测试,选定模型校正曲线谱图并且将曲线谱图预处理后,建立得到相应的标准曲线;(2)对待测样品进行压片处理,然后采用X射线荧光光谱仪对压片样品进行测试,依据步骤(1)所述相应的标准曲线,得到待测样品中主元素含量。本发明采用X射线荧光光谱仪一次性分析出NCM中Ni、Co、Mn等多种元素,操作简单,分析速度快,安全、快捷、低成本,且准确度高、稳定性好、检测效率高,极具实用性,适用于实际的生产中。

标签:
加工技术
湖北 - 荆门 来源:中冶有色网 2023-03-18
磷酸铁锂启停电池正极浆料干法匀浆工艺及制备的浆料

一种磷酸铁锂启停电池正极浆料干法匀浆工艺及制备的浆料,包括:S1)将干粉投入搅拌缸内,搅拌过程控制温度;S2)润湿阶段:向步骤S1)混匀的干粉中加入导电浆料,导电浆料分4‑6次投入;S3)捏合阶段:最后1次导电浆料加料结束后,添加溶剂将搅拌缸内浆料固含量调整到66%‑68%进行捏合,公转转速、分散转速逐步增加;S4)溶剂一次性加入搅拌缸内,继续搅拌。本发明改善了浆料的颗粒团聚,降低了浆料的细度;高固含条件下捏合的浆料有利于在高剪切力作用下,将材料分散均匀,使这种大倍率电池充放电更加均匀,从而大幅提高电池的倍率充放电性能和使用寿命。另外,本发明将匀浆周期缩短到4.5‑5.5h。

标签:
加工技术
湖北 - 襄阳 来源:中冶有色网 2023-03-18
复合铜箔电极以及锂离子电池

本申请公开了复合铜箔电极以及锂离子电池。该复合铜箔电极包括一PET基箔层,以及沿远离所述PET基箔层的方向依次叠置的镍铬合金层、铜导电层和活性物质浆料层。由于配置一供铜导电层覆于其上的PET基箔层,利用PET材料的柔性赋予铜导电层较好的耐折弯性。若铜导电层直接覆于PET基箔层存在较大的牢固性,镍铬层较铜导电层通常具有一定程度的孔隙率,由此为铜导电层提供一定的附着粗糙度,从而提高了铜导电层的附着牢固性,确保了铜导电层与PET之间不会出现过大的间隙而导致PET层的耐折弯性难以正常发挥。

标签:
加工技术
湖北 - 宜昌 来源:中冶有色网 2023-03-18
高安全锂离子电池正极极片结构

本实用新型涉及电池极片领域,公开了一种高安全锂离子电池正极极片结构。本实用新型中,所述电极片本体的上表面中心处设置有正极连接头,所述正极连接头的两端粘接有散热贴片,所述散热贴片的末端粘接有粘接块,所述粘接块的上表面开设有卡接孔,在电极片本体未安装之前,将防护板通过其两侧的粘接底头粘接在卡接孔的内部,之后防护板与散热贴片之间就不会轻易发生脱落,从而使得防护板内部的吸水硅胶颗粒透过气体交换孔可以对正极连接头周围的潮气进行吸收,同时当防护板的外部受到挤压时,此时缓冲沙就会对挤压进行缓冲,从而尽量保护正极连接头不会发生形变,提高了正极连接头在使用过程中的安全性。

标签:
加工技术
湖北 - 襄阳 来源:中冶有色网 2023-03-18
高效锂电池材料除铁装置

本实用新型公开了一种高效锂电池材料除铁装置,包括箱体,所述箱体包括入料口、筛网装置、除铁装置和出料口,所述入料口设置在所述箱体的顶部,所述出料口设置在所述箱体的底部,所述筛网装置设置在所述入料口的正下方,所述除铁装置设置在所述筛网装置的下方,所述筛网装置包括筛网、驱动电机和连接块,所述筛网固定连接所述连接块,所述驱动电机贯穿箱体连接所述连接块,所述驱动电机驱动所述连接块做往复运动,所述除铁装置包括除铁箱体和传动除铁装置。本实用新型结构简单,结合电磁棒和传动带除铁两种除铁方式,解决清理磁铁表面的铁屑时装置无法继续工作问题,对除铁方式可进行不定时的清理,减少工人的工作力度,另外增大除铁的精度。

标签:
加工技术
湖北 - 黄冈 来源:中冶有色网 2023-03-18
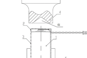
便于密封的柱形锂电池
便于密封的柱形锂电池 1047     
 0

一种便于密封的柱形锂电池包括一端开口筒体及履盖在所述筒体开口的盖筒;所述的筒体开口边缘从上至下设有至少二个相互平行的突起固定环;盖筒内壁设有加强环,在所述加强环与所述盖筒边缘的之间设有表面设有注胶孔;盖筒盖在所述筒体上时,所述盖筒内壁的加强环与所述筒体开口边缘最近的突起固定环相接触,所述注胶孔对应二个相互平行的突起固定环之间筒体表面。本实用新型的技术方案具有避免电池封口造成槽口漏液的优点。

标签:
加工技术
湖北 - 宜昌 来源:中冶有色网 2023-03-18
带有温控装置的锂电池
带有温控装置的锂电池 1164     
 0

一种带有温控装置的锂电池,包括外壳,所述外壳内设置有充满电解液的容纳空间,所述容纳空间的顶部设置有连通孔,容纳空间的内部设置有通过隔板隔离开来的正极板和负极板,所述正极板和负极板分别与设置在外壳顶部的极柱固定连接,其特征在于:所述容纳空间内设置有迷宫换热通道,所述迷宫换热通道的内部充满冷却液,迷宫换热通道的外部充斥电解液。本实用新型通过设置浸泡在电解液中的迷宫换热通道,可以大大增加冷却液和电解液的接触面积,提高换热效率,温控效果更好。

标签:
加工技术
湖北 - 随州 来源:中冶有色网 2023-03-18
用于锂离子电池正极材料生产的泰勒流反应釜

一种用于锂离子电池正极材料生产的泰勒流反应釜,包括外筒和位于外筒内部与其同轴设置的内筒,外筒上方设有顶盖,顶盖上方设有电机,电机连接有转轴,转轴的下方伸入到内筒内部,内筒内侧通过至少两根连接杆连接至转轴;所述外筒的底部设有分气盒,分气盒上方连接有多个喷嘴,每个喷嘴的上方均设有静态混合器,静态混合器的上端位于内筒内侧;分气盒的下方还连接有进气管道;静态混合器还设有液相进料管;所述外筒下方还设有出料口。本实用新型中将内筒设置成敞开的结构,通过分气盒、喷嘴及静态混合器的设置,气流经喷嘴高速喷出,在静态混合器中与液相进行混合后成为旋流流体进入内筒,构建出泰勒涡柱,使得反应的颗粒大小及形状更为均匀。

标签:
加工技术
湖北 - 宜昌 来源:中冶有色网 2023-03-18
氢氧化锂的MVR浓缩器
氢氧化锂的MVR浓缩器 1195     
 0

本实用新型属于电池材料制造领域,具体涉及一种氢氧化锂的MVR浓缩器。包括加热室和原液泵,原液泵与所述加热室的进口连通,同时与蒸发室的顶部连通,所述加热室出口与蒸发室进口连接,所述蒸发室的顶部安装有机械消泡器,经蒸发室分离后的轻组分进入机械消泡器,经过机械消泡器后的气体进入气液分离器进一步分离,经气液分离器分离出的分离液和机械消泡器分离出的分离液与蒸发室进口连接,经气液分离器分离的二次蒸汽经过压缩机与加热室连接,用于加热原液。蒸发室顶端增加机械消泡器,可对二次蒸汽进行初效的气液分离和进一步增加消泡效果。二次蒸汽进入压缩机前经旋风分离器净化二次蒸汽,减少压缩机负荷。

标签:
加工技术
湖北 - 荆门 来源:中冶有色网 2023-03-18
上一页 505 506 507 508 509 ... 1138 下一页
共1138页    到第

中冶有色为您提供最新的湖北有色金属理论与应用信息,涵盖发明专利、权利要求、说明书、技术领域、背景技术、实用新型内容及具体实施方式等有色技术内容。打造最具专业性的有色金属技术理论与应用平台!

全国热门有色金属设备推荐
展开更多 +
全国热门有色金属技术推荐
展开更多 +

 

江西省隆恩特环保设备有限公司
宣传

报名参会
更多+

2025年10月15日 ~ 17日
2025年10月17日 ~ 19日
2025年10月31日 ~ 11月02日
2025年11月07日 ~ 09日

报告下载

有色专家
更多+

有研科技集团有限公司
中国工程院 院士
中南大学
中国工程院院士
北京科技大学
教授
长沙矿冶研究院
总经理
赣州有色冶金研究所有限公司
副主任/高级工程师
赤泥综合利用研究报告2025
推广

热门技术
更多+

推荐企业
更多+

福建省金龙稀土股份有限公司
宣传

发布

在线客服

公众号

电话

顶部
咨询电话:
010-88793500-807