青岛垚鑫智能科技有限公司
宣传

位置:中冶有色 >

有色技术频道 >

分类:
全部
矿山技术
冶金技术
材料制备及加工技术
环境保护技术
分析检测技术
地区:
全部
北京
天津
上海
重庆
河北
山西
辽宁
吉林
黑龙江
江苏
浙江
安徽
福建
江西
山东
河南
湖北
湖南
广东
海南
四川
贵州
云南
陕西
甘肃
青海
内蒙
广西
西藏
宁夏
新疆
其他
其他
展开
 
全部
郑州
开封
洛阳
平顶山
安阳
鹤壁
新乡
焦作
濮阳
许昌
漯河
三门峡
商丘
周口
驻马店
南阳
信阳
济源

河南有色金属理论与应用

免费发布技术信息>>
锂电池自动抽气封装设备

本实用新型提供一种锂电池自动抽气封装设备,属于锂电池技术领域,该一种锂电池自动抽气封装设备包括外壳,所述外壳的内部设置有工作室,工作室的底部内壁通过螺钉固定有伸缩柱,伸缩柱顶部外壁通过螺钉固定有放置板,放置板顶部外壁通过螺钉固定有工作块,工作块的顶部外壁开有放置槽,工作块一侧外壁开有第一滑动槽,第一滑动槽的一侧内壁滑动连接有第二移动板,第二移动板的一侧外壁开有升降槽,升降槽一侧内壁滑动连接有夹持板。本实用新型可对软包锂电池进行固定,通过倾斜的放置槽和伸缩柱上升可使电解液向下移动,从而进行刺破排气,通过夹持板的夹持力度控制排气的速度,进一步可减少电解液的流出,从而达到排气可控。

标签:
加工技术
河南 - 焦作 来源:中冶有色网 2023-03-18
碳酸锂生产用上料装置
碳酸锂生产用上料装置 1116     
 0

本实用新型提供一种碳酸锂生产用上料装置,属于碳酸锂生产设备技术领域,该碳酸锂生产用上料装置包括支撑架,所述支撑架包括顶板和支撑板,所述支撑板有两个,两个所述支撑板呈对称分布在顶板的底部两侧,所述支撑板的顶部转动连接有第一螺杆,所述支撑板的顶部一侧固定连接有第一电机,所述第一电机的输出轴与第一螺杆固定连接,所述支撑架有两个,所述第一螺杆的外侧螺纹连接有移动块。该碳酸锂生产用上料装置,通过第一电机、移动块、第一螺杆、横梁、第二螺杆、运动块和第四电机之间的配合,使料斗能够沿着多个方向进行移动,具有较高的灵活性,使料斗内部的物料能够准确投入到加工设备中,减少其使用的局限性,使用更加方便。

标签:
加工技术
河南 - 郑州 来源:中冶有色网 2023-03-18
电动工具用锂电池
电动工具用锂电池 973     
 0

本实用新型公开了一种电动工具用锂电池,涉及锂电池技术领域。该电动工具用锂电池,包括电池本体,电池本体外表面套设有外壳,外壳一侧滑动连接有滑盖;滑盖包括滑盖本体,滑盖本体侧面开设有第一滑槽;外壳包括第一壳体和第二壳体,第一壳体前表面连接有多个弹簧,第二壳体侧面开设有第三滑槽,第二壳体后侧连接有散热架。该电动工具用锂电池,通过设置的滑盖,并在滑盖与外壳的连接处设置弹簧,使得安装时,滑盖可以起到缓冲作用,避免直接电极与电动工具直接对接而对电极产生损坏的情况。该电动工具用锂电池,通过设置的第一滑槽和第三滑槽,使得该电池安装时能快速的找到合适的角度,方便该电池的安装。

标签:
加工技术
河南 - 郑州 来源:中冶有色网 2023-03-18
安全可靠的锂电池容纳装置

一种安全可靠的锂电池容纳装置,包括开口向上的容纳盒,容纳盒的顶面固定连接盒盖,容纳盒的底面内壁固定安装数个竖板,容纳盒的底面内壁固定安装数个第一纵杆,每两个第一纵杆均位于两竖板之间,两竖板之间均设有锂电池,锂电池的顶面与相应第一纵杆的顶面接触配合,竖板与锂电池相对应的一面均固定安装第二纵杆,第二纵杆的内侧面均与锂电池相应的一侧面接触配合。在本装置的使用,通过第一纵杆、第二纵杆与第三纵杆实现,在保证锂电池在容纳盒内不会发生晃动的前提下,减少与锂电池外表面的接触面积,进而使得锂电池更多的外表面能与空气接触,进而方便通过空气流通带动锂电池外表面产生的热量,从而防止锂电池由于过热导致无法正常使用。

标签:
加工技术
河南 - 洛阳 来源:中冶有色网 2023-03-18
基于动态阻抗的锂离子电池实时过充和热失控预测方法

本发明公开了基于动态阻抗测量的锂离子电池实时过充和热失控预测方法,通过测量处于充电状态中的锂离子电池的动态阻抗,根据锂离子电池的动态阻抗斜率K判断电池的状态,锂离子电池在正常充电状态下,斜率K会在设定区间内波动,当斜率K越过设定下限阈值M时,判断电池即将过充,当斜率K大于0并且持续保持正值时,判断电池处于过充状态,本发明提供的方法简单可靠,并且能尽早进行锂离子电池早期安全预警,及时地感知安全问题,并以此作为预警信息,可以留出足够的时间进行处理,防止火灾或爆炸等安全事故的发生,以保护人员安全和设备的正常运行。

标签:
加工技术
河南 - 郑州 来源:中冶有色网 2023-03-18
镁锂合金表面钝化膜制备方法

本发明属于镁锂合金表面处理及防腐蚀技术领域,具体涉及一种镁锂合金表面钝化膜制备方法,具体制备方法步骤如下:1)取相应重量配比原料;2)将真空炉抽真空,通氩气;3)熔炼得到镁锂合金试样;4)对镁锂合金试样表面进行预处理;5)组装、检查、调试钝化膜制备装置至无误;6)将试样放入装置中并检查气密性;7)通入浓度为99.99%的氧气5~10小时;8)通入浓度为99.99%的二氧化碳气体5~20小时;9)确认装置密闭性无误,打开装置取出试样。本发明可以对镁锂合金的任何形状大小的成品进行直接镀膜,适用范围广,成本低,有利于推广使用,能控制通入气体时间,操作方便,不会造成浪费,无污染。

标签:
加工技术
河南 - 郑州 来源:中冶有色网 2023-03-18
移动式锂电池电源
移动式锂电池电源 659     
 0

本实用新型公开了一种移动式锂电池电源,包括锂电池主体,所述锂电池主体上表面设有手提拉环,所述手提拉环底部设有固定锁扣,所述固定锁扣外侧设有密封焊接层,所述移动式滑轮上表面设有内接电瓶,所述内接电瓶上表面设有电极隔膜,所述电极隔膜上表面设有板栅集流片,所述板栅集流片左侧设有温感报警指示灯,所述温感报警指示灯左侧设有模制插入连接盖,所述模制插入连接盖底部设有电解质注入口,所述电解质注入口底部设有电极连接线,所述电极连接线上表面设有压力衬垫,所述压力衬垫左侧设有脚电压调节口,所述脚电压调节口上表面设有超声波焊接口。该移动式锂电池电源结构简单,功能实用,能满足锂电池行业对移动式锂电池电源的实用需求。

标签:
加工技术
河南 - 郑州 来源:中冶有色网 2023-03-18
低自放电锂离子电池极耳点焊与圆角切割装置

本实用新型提出了一种低自放电锂离子电池极耳点焊与圆角切割装置,用以解决现有锂离子电池极耳转接极耳点焊质量差和转接极耳完成后极耳裁切角位较尖锐导致电池漏液或气涨的技术问题。本实用新型中极耳点焊夹持板上部的电池放置部放置锂离子电池,电池放置部对锂离子电池进行限位,保证锂离子电池的稳定性,提升点焊质量;极耳点焊夹持板下部的极耳放置部放置转接极耳,极耳放置部对转接极耳和极耳胶进行限位,转接极耳与锂离子电池的极耳位置精准匹配,进一步保证转接极耳点焊时的点焊质量和一致性;使用极耳圆角冲切机的极耳圆角切割机构对点焊后的极耳进行圆角切割,保证在后工序生产过程中极耳不会刺破包装膜导致电池漏液或气涨的情况出现。

标签:
加工技术
河南 - 鹤壁 来源:中冶有色网 2023-03-18
锂电池封口机
锂电池封口机 960     
 0

本实用新型涉及锂电池加工技术领域,具体为一种锂电池封口机,包括封口机,封口机包括支撑结构,支撑结构包括支撑箱体,支撑箱体后侧上端固定连接立板,立板上端设置有顶板,顶板上设置有压制结构,支撑箱体上端两侧设置有夹持结构,夹持结构之间夹持固定放置结构,放置结构内放置有锂电池,夹持结构上端设置有限位结构,有益效果为:通过设置放置结构可以放置多组锂电池,并且设置有夹持结构和限位结构,可以保证放置结构内的锂电池保持稳定状态,可以有效增加对锂电池的固定效果,提高封口效率,增加使用效果,且夹持结构可以适应同大小的放置结构夹持固定,进一步增加使用适应性。

标签:
加工技术
河南 - 焦作 来源:中冶有色网 2023-03-18
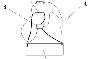
锂离子电池充放电监测控制装置

本发明属于锂离子电池管理系统技术领域,提出的一种锂离子电池充放电监测控制装置,包括充电电流控制、放电电压控制两部分;充电电流控制部分主要由MOSFET管Q、限流电阻R、肖特基二极管VD组成;放电电压控制部分主要由肖特基二极管VD、电压比较器N、继电器开关K组成;充电电流控制、放电电压控制部分中分别设置有肖特基二极管并使两个肖特基二极管反向并接后与所述锂离子电池的正极连接;所述的监测控制装置中,设置用以控制MOSFET管Q使锂离子电池充电或停止充电的单片机。本发明通过对锂离子电池充放电过程的监测控制,保证充放电过程中不会损坏,使锂离子电池应用更合理,使用寿命得以延长,具有设计合理、成本低的特点。

标签:
加工技术
河南 - 洛阳 来源:中冶有色网 2023-03-18
特种复合锂基润滑脂及其制备方法

本发明公开了一种特种复合锂基润滑脂及其制备方法,属于石油油脂技术领域。本发明的技术方案要点为:特种复合锂基润滑脂,是由以下重量份的原料制备而成的:十二羟基硬脂酸6.7%~10.7%;氢氧化锂0.5%~5.5%;氢氧化钙0.05%~0.5%;硼酸0.1%~0.5%;酯类物质0.5%~3.5%;余量为基础油。本发明还具体公开了该特种复合锂基润滑脂的制备方法。本发明制得的特种复合锂基润滑脂在复合锂润滑脂中成本较低,皂纤维结构复杂,具有较高的抗极压性能,同时抗氧化性能和耐高温性能均较好。

标签:
加工技术
河南 - 新乡 来源:中冶有色网 2023-03-18
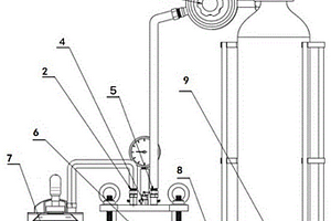
生产配制锂离子电池电解液的中试设备

本发明公开了一种生产配制锂离子电池电解液的中试设备,锂盐包装桶底部设置有第一吊耳,反应釜外部设置有支架,反应釜一侧设置有工作平台,工作平台上设置有手套箱,手套箱底部设置有与添加剂放料口连通的连接管道,支架顶部设置有吊装机构,本发明结构合理且使用便捷,在手套箱中进行物料称量、投料极大的保证了物料不被环境因素影响,保证了实验和生产的有效性、可靠性,通过设置于反应釜旁的吊装机构将锂盐送入反应釜中,能高效快速的将锂盐添加至反应釜的同时,也避免了人抬锂盐钢桶时可能发生的意外,保证了操作人员的身体健康免受伤害。

标签:
加工技术
河南 - 新乡 来源:中冶有色网 2023-03-18
具有多孔结构的锂离子电池硅碳复合负极材料的制备方法及其应用

本发明公开了一种具有多孔结构的锂离子电池硅碳复合负极材料的制备方法及其应用,属于锂离子电池负极材料的制备技术领域。本发明的技术方案要点为:将氯化钠和碳前驱体溶于去离子水中并搅拌混合均匀得到前驱液;将粒径为30~150nm的硅粉分散于得到的前驱液中,在5~10s内于‑30~‑15℃冷冻干燥得到硅碳前驱体;将得到的硅碳前驱体置于流动的氮气气氛的管式炉中,以3~5℃/min的升温速率升温至500~780℃并保温4~8h,再随炉冷却至室温,采用去离子水洗涤后真空干燥得到具有多孔结构的锂离子电池硅碳复合负极材料。本发明中的多孔结构为硅粉在嵌锂过程中的体积膨胀提供了空间,且多孔结构为锂离子的传输提供了便利通道。

标签:
加工技术
河南 - 新乡 来源:中冶有色网 2023-03-18
电动摩托车用的锂离子电池模组

本发明涉及一种电动摩托车用的锂离子电池模组,包括电池组、箱体、继电器和保护板,所述电池组包括至少两组锂离子电池模组单元串联在一起,所述锂离子电池模组单元由至少2个锂离子电芯平行紧密排列,正负极分别通过镀镍钢带点焊并联在一起,所述电池组设置在箱体内,充电电源的正极连接所述电池组正极,负极通过所述保护板与电池组负极连接,用电设备的正极连接所述电池组正极,负极通过所述继电器与电池组负极连接,所述继电器正极与电池组正极连接,负极通过保护板与电池组负极相连。本发明电动摩托车用的锂离子电池模组具有重量轻、容量大、无记忆效应、充电速度快、耐低温等优点,组装方法简单,后期维护便捷,制造成本低。

标签:
加工技术
河南 - 郑州 来源:中冶有色网 2023-03-18
绿色回收废弃钴酸锂电池制备CoPi催化剂的方法

本发明提供一种绿色回收废弃钴酸锂电池制备CoPi催化剂的方法,包括以下步骤:拆解电池,分离铜箔、铝箔、正极材料钴酸锂及负极材料;用柠檬酸和甲醇水溶液,水热溶解钴酸锂材料,得到浸出液A;采用三电极沉积法,浸出液A与磷酸缓冲溶液混合液作为电解液,在经清洗过的FTO导电玻璃衬底上或氧化铁薄膜表面电沉积得到CoPi催化剂。本发明采用柠檬酸水热溶解废弃钴酸锂电池中的钴酸锂,将浸出液结合磷酸盐缓冲液作为电解液,以三电极法恒电压电化学沉积得到CoPi催化剂,具有环境友好、节能省时、设备简易、操作简便,且得到的目标产物电化学活性高;工艺简单可控,适用于规模化生产等优点。

标签:
加工技术
河南 - 许昌 来源:中冶有色网 2023-03-18
锂离子电池用三电极电池

本发明公开了一种锂离子电池用三电极电池,涉及三电极电池技术领域,该一种锂离子电池用三电极电池,包括密封箱,密封箱为矩形箱体,且密封箱的内部为空心,密封箱的上壁面开设有两个镜像对称的密封槽,密封箱的上壁面前后左右四侧拐角处分别开设有四个等距排列的固定槽,本发明中,密封箱上开设有两个密封槽,且密封箱与上盖活动卡接在一起,上盖下方也固定安装有两个与两个密封槽相互对应的密封块,这时当锂电池放置在密封箱内部后,便可以将上盖通过密封块与密封箱进行密封卡接,这样上盖和密封箱便会将锂电池密封在密封箱和上盖内部,避免锂电池内部电解液意外进行渗出,从而达到提高了三电极电池测试的稳定性和准确性的效果。

标签:
加工技术
河南 - 洛阳 来源:中冶有色网 2023-03-18
圆柱形锂-亚硫酰氯双边膜电池

本发明公开了圆柱形锂‑亚硫酰氯双边膜电池,包括不锈钢钢壳,不锈钢钢壳的内侧放置有锂片,锂片的内侧设置有边膜,且边膜共设置有双层,边膜的内侧设置有正极颗粒,正极颗粒的下端设置有玻纤底膜和四氟底膜,且玻纤底膜和四氟底膜依次叠加安装在不锈钢钢壳的下端,正极颗粒和边膜的上端设置有盖膜,盖膜的上侧设置有正极定位杆,不锈钢钢壳的上端设置有盖帽;本发明通过设置的正极定位杆和双层边膜成功解决了圆柱形锂‑亚硫酰氯电池的边膜的破损、位置偏移及形状变化的问题,大大降低了圆柱形锂‑亚硫酰氯电池的不良率。另外还具有装配简单,稳定性强,生产成本低,自放电小,安全性强,不影响电池的良好的电性能等优点。

标签:
加工技术
河南 - 新乡 来源:中冶有色网 2023-03-18
圆柱锂电池封装设备
圆柱锂电池封装设备 744     
 0

本实用新型公开了一种圆柱锂电池封装设备,包括加工台,加工台顶部外壁的轴心处通过轴承活动连接有转盘,且加工台的顶部外壁上焊接有与转盘相贴合的螺旋围挡,转盘与螺旋围挡之间呈活动连接,且转盘的轴心处开设有贯穿加工台的卸料槽,转盘位于加工台内部的外侧壁上焊接有齿环,且加工台顶部外壁的一侧通过螺栓安装有步进电机,步进电机位于加工台内部的输出端上平键连接有主动齿轮。本实用新型步进电机通过主动齿轮啮合齿环转动,齿环带动转盘进行转动,转盘带动顶部螺旋围挡内部的圆柱锂电池进行运动,在圆柱锂电池沿螺旋围挡移动至卸料槽后落入卸料斗卸料,极大的提升了圆柱锂电池封装的加工效率。

标签:
加工技术
河南 - 新乡 来源:中冶有色网 2023-03-18
碳酸锂生产用过滤装置

本实用新型提供一种碳酸锂生产用过滤装置,属于碳酸锂生产加工设备技术领域,该碳酸锂生产用过滤装置包括箱体,所述箱体的底部固定连接有支腿,所述箱体的顶部一侧固定连接有进料斗,所述箱体的内部从上往下依次固定连接有第一滤网板和第二滤网板,所述箱体远离进料斗的一侧底部开设有出料口,所述箱体的一侧固定连接有固定架。该碳酸锂生产用过滤装置,通过液压推杆、第一移动板、第二移动板、第一刮板、第二刮板、第一活动孔、第二活动孔、螺杆、电机和连接板之间的配合,代替人工对滤网表面积存的杂质进行清理,操作省时省力,使用更加方便,具有较高的清洁效率,使滤网能够保持较好的过滤效果,有利于推广使用。

标签:
加工技术
河南 - 郑州 来源:中冶有色网 2023-03-18
通信锂电池系统及使用该系统的电动自行车

本实用新型涉及一种通信锂电池系统及使用该系统的电动自行车,属于锂电池应用技术领域。该通信锂电池系统包括锂电池本体、通信模块、主板CPU、输出模块和控制输入接口,通信模块、主板CPU、输出模块和控制输入接口都与锂电池本体上的电极相连,主板CPU控制连接通信模块、信号输出模块和控制输入接口,信号输出模块为无线蓝牙输出模块或有线输出接口。本实用新型通过在锂电池本体上设置主板CPU及其控制连接的通信模块、信号输出模块和控制输入接口,使锂电池在给电动自行车供电的同时还能够实现通信的功能,方便使用者在骑车的过程中接打电话,增加了锂电池的功能,提高了其市场竞争力。

标签:
加工技术
河南 - 焦作 来源:中冶有色网 2023-03-18
锂电池极片压实设备
锂电池极片压实设备 693     
 0

本实用新型公开了一种锂电池极片压实设备,涉及锂电池加工设备技术领域。该锂电池极片压实设备,包括底座,底座的顶部靠近后侧边缘处焊接有L型板,L型板的顶部安装有液压缸,且液压缸的底端延伸至L型板的外部,液压缸的底端焊接有压杆,压杆的底端焊接有压板,压板的底部等距焊接有多个压头,底座的顶部靠近两侧边缘处均焊接有导向管。该锂电池极片压实设备,通过将锂电池放置在电池槽的内部,将压台放置在固定台的顶部且位于两个夹持板之间,通过电动伸缩杆的发动,从而使得夹持板可以更好的对压台进行夹持固定,在对锂电池上的极片进行压实的时候,可以有效的防止锂电池的偏移,从而可以更好的提高锂电池加工的精度。

标签:
加工技术
河南 - 郑州 来源:中冶有色网 2023-03-18
便携式单体锂电矿灯
便携式单体锂电矿灯 928     
 0

便携式单体锂电矿灯是各种矿井内采掘作业的矿灯,它克服了其它矿灯的缺点,它是由后壳体、转换开关、转换开关卡、充电插座、防护胶塞、沉头螺钉、锂电池板、密封垫圈、面包头螺钉、电路板组件、聚光灯罩、前壳体、指示灯、锂电池、锂电池保护板、稳压电路、超亮日光型冷光源连接而成,此矿灯携带方便、可靠安全。

标签:
加工技术
河南 - 濮阳 来源:中冶有色网 2023-03-18
锂离子动力电池应急电源装置

本实用新型涉及一种锂离子动力电池应急电源装置,包括锂离子动力电池组、充放电模块、电池管理系统和操作台,电池管理系统和操作台通信连接,电池管理系统的控制端与充放电模块相连,电池管理系统与电池组相连。本实用新型采用锂离子动力电池为供电源的应急电源系统,通过电池管理系统,充放电模块以及通信系统的有机连接,配合依据人工命令及电池组状态分析形成的控制策略,提高了锂离子电池的使用性能,实现了应急电源的功能,并保证了系统运行的可靠性。

标签:
加工技术
河南 - 洛阳 来源:中冶有色网 2023-03-18
锂电池组便携式携带装置保护外壳

锂电池组便携式便携装置保护外壳,涉及锂电池组携带装置领域,包括底座,位于所述的底座相对两侧部的第一挡板,以及和所述第二挡板相邻端部固定连接的第二挡板,所述的底座和第一挡板呈“U”形结构,各所述的第一挡板的上端部中间位置设有安装孔,有效地解决了工厂电池组装过程中电池组的外观不够平整的问题,在实际的使用过程中加强了对锂电池组的保护,同时增设安装孔并在安装孔内安装有便携式提带更加便于锂电池组的携带。

标签:
加工技术
河南 - 郑州 来源:中冶有色网 2023-03-18
应用于大水灰比硫铝酸盐水泥基材料中的锂铝类水滑石衍生物的制备方法

本发明提供一种应用于大水灰比硫铝酸盐水泥基材料中的锂铝类水滑石衍生物的制备方法,首先将配制的混合盐溶液和混合碱溶液,在反应器中迅速反应得到混合浆液,混合浆液加热回流晶化后处理得到锂铝类水滑石,然后高温焙烧或水合制得焙烧态和水合态的锂铝类水滑石衍生物。锂铝类水滑石衍生物在大水灰比硫铝酸盐水泥基材料中的掺入量按硫铝酸盐水泥基材料的0.2%~5%添加,所制备的水泥材料的水灰比为0.4~3.0。本发明中锂铝类水滑石衍生物的制备方法易于工业化,操作简单,锂铝类水滑石衍生物作为晶核材料来促进水泥水化产物的生成,大水灰比条件下,显著提高硫铝酸盐水泥基材料早期的抗压强度,28天抗压强度不发生倒缩现象。

标签:
加工技术
河南 - 焦作 来源:中冶有色网 2023-03-18
锂离子电池正极材料的制备方法及其产品

本发明公开了一种锂离子电池正极材料的制备方法及其产品,属于电化学电池技术领域,所述方法包括以下步骤:将锂离子电池锰基正极材料及修饰体混合、造粒、烧结即得所述锂离子电池正极材料;本发明采用固相融合技术将高电子导体或高离子导体作为修饰物均匀的修饰在正极材料表面,通过调节锂离子电池锰基正极材料及修饰体的质量比,可实现修饰层的厚度大小可控;经修饰后的锂离子电池正极材料表面更加稳定,减缓了循环过程中过渡金属离子溶出和颗粒间裂纹的产生,有效提高锂离子电池正极材料的比容量和循环稳定性;本发明的制备方法环境友好、无污染且工艺成本低。

标签:
加工技术
河南 - 新乡 来源:中冶有色网 2023-03-18
高倍率镍钴铝酸锂正极材料的制备方法

本发明公开了一种高倍率镍钴铝酸锂正极材料的制备方法,它包括以下步骤:(1)镍钴铝酸锂前驱体的制备;(2)钾离子的锂位掺杂改性;(3)含锂化合物包覆层的构筑。本发明通过钾离子的锂位取代,有效改善了锂离子的扩散速率,提高材料的倍率性能;同时材料表面构筑的含锂化合物层,可以降低材料表面残碱含量,减少后期电芯的胀气;有效抑制副反应,促进材料在循环过程中的结构稳定性;含锂化合物层对锂离子具有高的传导性能,加速锂离子的嵌入和脱出,解决了普通金属氧化物作为包覆层时锂离子传导性差的问题,提高了材料的循环性能和倍率性能。

标签:
加工技术
河南 - 郑州 来源:中冶有色网 2023-03-18
晶体六氟磷酸锂的制备方法

本发明公开了一种晶体六氟磷酸锂的制备方法。该方法包括:1)将工业碳酸锂与水配制质量浓度为2%~5%的料浆;经过与CO2反应、树脂交换、梯度结晶,得到高纯碳酸氢锂溶液;高纯碳酸氢锂溶液再与高纯氟化氢进行反应,经过滤、洗涤、干燥后得到高纯氟化锂;2)高纯氟化氢与高纯氟化锂进行反应制备氟化氢锂溶液;3)高纯氟化氢与五氯化磷反应,得到五氟化磷、氟化氢和氯化氢的混合物;所得混合物作为气流搅拌的气泡流通入氟化氢锂溶液中进行反应得到六氟磷酸锂溶液;4)六氟磷酸锂溶液经结晶、过滤、干燥得到晶体六氟磷酸锂。该方法利用工业常规原料进行生产,保证了产品品质的稳定,具有原料利用率高、生产成本低、环保性好的优点。

标签:
加工技术
河南 - 焦作 来源:中冶有色网 2023-03-18
中空管状结构锂离子电池正极材料及其制备方法和应用

本发明公开了一种中空管状结构锂离子电池正极材料及其制备方法和应用,静电纺丝法合成金属离子负载的纳米纤维;将金属离子负载的纳米纤维进行低温预氧化和高温碳化得到金属氧化物颗粒掺杂碳纳米纤维;将可溶性锂盐、镍盐、钴盐和锰盐配置成混合溶液;将金属氧化物颗粒掺杂碳纳米纤维加入混合溶液中,以金属氧化物颗粒掺杂碳纳米纤维为模板,利用水热法制备纤维状锂电池正极材料;通过高温裂解得到中空管状结构锂电池正极材料。该方法制备的中空管状结构锂电池正极材料不仅提高了锂离子电池的初始放电容量,并有良好的倍率性能、循环性能和功率性能。

标签:
加工技术
河南 - 新乡 来源:中冶有色网 2023-03-18
锂离子扣式电池制作方法

本发明公开了一种操作方便、能提高工作效率和合格率的锂离子扣式电池制作方法,该锂离子扣式电池的结构由上到下依次为负极壳、泡沫镍、锂片、电解液层、隔膜、电解液层、正极片、正极壳,第一步是先放负极壳;第二步是将泡沫镍置入负极壳;第三步是用镊子夹取锂片放置于泡沫镍正中;第三步是用胶头滴管吸取电解液,浸润锂片表面;第四步是用镊子夹取隔膜,覆盖锂片;第五步是再次用胶头滴管吸取电解液,润湿隔膜表面;第六步是用镊子夹取正极片放置于隔膜正中;第七步是用镊子夹取正极壳覆盖;第八步是用镊子夹起完成的电池,放入到封口机,完成后取出成品电池,充电后使用。

标签:
加工技术
河南 - 新乡 来源:中冶有色网 2023-03-18
上一页 493 494 495 496 497 ... 500 ... 993 下一页
共993页    到第

中冶有色为您提供最新的河南有色金属理论与应用信息,涵盖发明专利、权利要求、说明书、技术领域、背景技术、实用新型内容及具体实施方式等有色技术内容。打造最具专业性的有色金属技术理论与应用平台!

全国热门有色金属设备推荐
展开更多 +
全国热门有色金属技术推荐
展开更多 +

 

江西省隆恩特环保设备有限公司
宣传

报名参会
更多+

报告下载

有色专家
更多+

昆明理工大学
副校长
鞍钢集团有限公司
中国工程院院士
长沙矿冶研究院有限责任公司
中国工程院院士
中国瑞林工程技术有限公司
中国工程院院士
北京航空航天大学、中国工程院
院士
赤泥综合利用研究报告2025
推广

热门技术
更多+

推荐企业
更多+

福建省金龙稀土股份有限公司
宣传

发布

在线客服

公众号

电话

顶部
咨询电话:
010-88793500-807