青岛垚鑫智能科技有限公司
宣传

位置:中冶有色 >

有色技术频道 >

分类:
全部
矿山技术
冶金技术
材料制备及加工技术
环境保护技术
分析检测技术
地区:
全部
北京
天津
上海
重庆
河北
山西
辽宁
吉林
黑龙江
江苏
浙江
安徽
福建
江西
山东
河南
湖北
湖南
广东
海南
四川
贵州
云南
陕西
甘肃
青海
内蒙
广西
西藏
宁夏
新疆
其他
其他
展开
 
全部
武汉
黄石
十堰
宜昌
襄阳
鄂州
荆门
孝感
荆州
黄冈
咸宁
随州
恩施土家族苗族自治州
仙桃
潜江
天门

湖北有色金属理论与应用

免费发布技术信息>>
救援装置
救援装置 1059     
 0

本实用新型涉及一种救援装置,特点是包括机箱、可充电锂离子电池及线路板;在机箱的壳体上设有功能开关、指南针、扬声器、LED指示灯、电源充电端口及电源输出端口;功能开关包括充电开关、呼救开关、音频SOS呼救开关及LED发光SOS呼救开关;可充电锂离子电池设置在机箱内;所述充电开关与可充电锂离子电池的输入端电连接,线路板设置在机箱内,在线路板上设有SOS信号发生器,SOS信号发生器包括脉冲发生器、计数器及驱动器,脉冲发生器通过呼救开关接可充电锂离子电池的电源输出端,驱动器的一输出端通过音频SOS呼救开关接扬声器,驱动器的另一端出端通过LED发光SOS呼救开关接LED指示灯。其优点为:方便人们旅行,特别是在发生危急时,能有效地发出求救信号,在漆黑的夜晚,为救援提供方位指示及照明,为电器设备充电。

标签:
加工技术
湖北 - 咸宁 来源:中冶有色网 2023-03-18
超声波纳米吸收式空调机组

本实用新型涉及空调制冷换热技术领域,具体地指一种超声波纳米吸收式空调机组。包括发生器、冷凝器、蒸发器,蒸发器与发生器之间设置有吸收器;吸收器上端进口通过进口管与发生器的下端出口连通,吸收器与蒸发器的蒸汽出口连通,吸收器的下端出口端设置有溶液泵,溶液泵通过出口管与发生器的溶液进口端连通,吸收器内穿设有对吸收器内下方纳米溴化锂溶液进行冷却的冷却水管,吸收器内设置有多个超声波发生器,超声波发生器的震头朝向吸收器内的纳米溴化锂溶液。本实用新型装维修方便,通过使用超声波发生器对纳米溴化锂溶液进行分散,提高了溴化锂溶液的传热传质效率,增强了空调系统的能量交换效率,具有极大的推广价值。

标签:
加工技术
湖北 - 武汉 来源:中冶有色网 2023-03-18
变电站直流电源系统
变电站直流电源系统 1136     
 0

本实用新型提供一种变电站直流电源系统,包括磷酸铁锂电池组、直流电源系统集成控制器、直流屏中央监控单元以及电池能量管理系统BMS,其特征在于:直流屏中央监控单元包括配电监控盒、高频充电电源模块和绝缘监测仪;通过直流电源系统集成控制器与电池能量管理系统BMS之间进行通讯得到磷酸铁锂电池组的单体电池电压、电流及电池组SOC信息,直流电源系统集成控制器在得到电池组信息的前提下,与电池能量管理系统BMS和上层站用监控系统之间通过RS485或者CAN总线通信,实现磷酸铁锂电池组充放电能量管理控制。本系统可快速实现基于现有传统变电站直流电源系统的升级改造,实现对磷酸铁锂电池组的充放电控制。

标签:
加工技术
湖北 - 武汉 来源:中冶有色网 2023-03-18
汽车电源稳压装置
汽车电源稳压装置 974     
 0

本实用新型公开了一种汽车电源稳压装置,它主要由可充电锂离子电池组、超级电容、保险装置组成;所述的超级电容与保险装置串连,串连后的超级电容、保险装置与充电锂离子电池组并联。由于本实用新型由可充电锂离子电池组、超级电容、保险装置等组成,可并联在原有的汽车电瓶(铅酸电池)上,利用锂离子电池储量大及超级电容快放快充电的特性,使从电瓶输出的电压脉冲波平稳,向汽车用电设备提供稳定的电压,较好的保护了汽车的用电设备。

标签:
加工技术
湖北 - 襄阳 来源:中冶有色网 2023-03-18
骨科电动起子
骨科电动起子 1094     
 0

本实用新型公开了一种骨科电动起子,包括磁性延长杆,外壳,散热风机和电池仓,所述外壳的一侧通过螺栓安装有限位槽,所述外壳远离限位槽的一侧通过合页安装有电池后盖,所述外壳内部的一侧通过螺栓安装有齿轮箱,所述齿轮箱内安装有箱体,所述箱体的一侧设有安装槽,所述电机仓远离齿轮箱的一侧通过螺栓安装有散热风机,所述散热风机远离电机仓的一侧设有电池仓,所述电池仓的内部活动安装有锂电池。本实用新型通过在电池仓的内部安装有锂电池,能够通过锂电池为装置进行供电,增强了装置在无外接电源的情况下的可使用性,并且可以通过更换锂电池为装置进行换电,从而提升了装置的实用性。

标签:
加工技术
湖北 - 武汉 来源:中冶有色网 2023-03-18
新型LED灯具
新型LED灯具 924     
 0

本实用新型公开了一种新型LED灯具,包括锂电池、控制开关、驱动电源、LED发光模块、充电控制电路均固定在下壳体内;锂电池与控制开关连接,控制开关与驱动电源连接,驱动电源与LED发光模块连接;充电控制电路与锂电池连接,充电控制电路也直接与控制开关连接;上壳体和下壳体通过铰链活动连接,可折叠开合;透光膜采用白色柔性塑料膜,热压成纸扇状,其边缘分别与上壳体和下壳体两边固定;控制开关为弹簧按钮式开关,通过上壳体和下壳体开合控制,翻开则接通,合上则断开。充电控制电路的接口采用通用USB接口。此种新型LED灯具,可开合折叠,体积小巧,可采用锂电池和市电两种供电方式。适用于学生宿舍等环境。

标签:
加工技术
湖北 - 武汉 来源:中冶有色网 2023-03-18
地球物理勘探仪器野外用便携式电源装置

本实用新型涉及一种地球物理勘探仪器野外用便携式电源装置,属地球物理野外勘探仪器设备技术领域,其特征在于聚合物锂电池(2)、稳压滤波模块(3)设置在铸铝防水防爆盒(1)内;防水航空插头(4)和防水带灯电源指示开关(5)安装在铸铝防水防爆盒(1)的侧边;聚合物锂电池(2)和稳压滤波模块(3)通过电性连接;防水航空插头(4)采用4芯卡口式航空插头,与聚合物锂电池(2)通过电性连接组成充电回路,与稳压滤波模块(3)通过电性连接组成放电回路;防水带灯电源指示开关(5)与聚合物锂电池(2)的放电端通过电性连接组成开关控制回路。本实用新型相比同等容量的铅酸蓄电池放电时间更长,具有结构简单、防水防爆、体积小,重量轻、适用范围广的优点。

标签:
加工技术
湖北 - 荆州 来源:中冶有色网 2023-03-18
眼镜的防滑装置
眼镜的防滑装置 1157     
 0

本实用新型公开了一种眼镜的防滑装置,包括锂电池、处理芯片、感应电阻、风扇和电机,所述锂电池、感应电阻和电机分别电连接处理芯片,所述风扇分别与锂电池和电机电连接,所述风扇的一端通过气管连接到进气口,另一端通过气管连接到出气口,所述锂电池、处理芯片、感应电阻、风扇和电机均设置在镜架内,所述镜架与镜腿连接处内设有齿轮,所述齿轮与电机电连接。本实用新型解决了戴眼镜人运动时眼镜易滑落的问题,实用性强。

标签:
加工技术
湖北 - 武汉 来源:中冶有色网 2023-03-18
带充电功能的手机保护壳

本实用新型涉及一种带充电功能的手机保护壳,包括壳体、镶嵌于壳体内部的锂电池;壳体的侧面设有与锂电池连通的第一充电口及与手机对应的耳机孔和第二充电口;壳体的侧面还设有一个带开口的用于放置耳机和充电线的腔体;开口处设有拉链;壳体的背部设有散热孔。本实用新型的有益效果是:通过在手机壳上增加锂电池,可以用于给手机应急充电,由于只是应急充电,所以锂电池不用做的太大,因而也保证了手机保护壳薄、轻的特点,使用者不会觉得手机过于笨重;且保护壳内设有用于放置耳机和充电线的腔体,使得用户可以很方便的携带耳机和充电线。

标签:
加工技术
湖北 - 武汉 来源:中冶有色网 2023-03-18
便携式燃料电池动力系统

本实用新型提供一便携式燃料电池动力系统,用于为一负载供电,所述便携式燃料电池动力系统包括至少一燃料电池系统、至少一电路调节单元、至少一智能控制系统以及至少一第一锂电池系统,其中所述燃料电池系统的输出端与所述电路调节单元连接,所述电路调节单元的输出端分别与所述第一锂电池系统及所述负载连接,所述智能控制系统通信连接于所述燃料电池系统电压电流采样点和所述第一锂电池系统电压电流采样点之间,所述电路调节单元能够防止所述第一锂电池系统的电流反向流至所述燃料电池系统。

标签:
加工技术
湖北 - 武汉 来源:中冶有色网 2023-03-18
电力牵引机车
电力牵引机车 973     
 0

本实用新型公开了一种电力牵引机车,包括车体,所述车体上设置有电池箱,所述电池箱内设置有磷酸铁锂电池,所述磷酸铁锂电池连接有移动充电机构,所述移动充电机构包括柔性电缆,所述磷酸铁锂电池通过柔性电缆连接电源,所述柔性电缆固定连接有间隔设置的若干滑块,若干所述滑块均滑动连接在滑轨上。本实用新型的有益效果:采用磷酸铁锂电池和移动充电的方式可有效提高续航能力,一次充电行驶里程≥30公里;将三相异步电动机换为更大功率的变频牵引电机来可有效提高负载能力,具有防瞌睡功能和电池低电压报警功能。

标签:
加工技术
湖北 - 鄂州 来源:中冶有色网 2023-03-18
动力电池模组加热装置
动力电池模组加热装置 1138     
 0

本实用新型涉及一种动力电池模组加热装置,包括用于设在电池模组底端面上的PTC加热板,所述PTC加热板包括铝板、环氧板、陶瓷PTC发热元件、聚酰亚胺胶带;所述聚酰亚胺胶带和环氧板分别粘接在铝板的正反面用于绝缘;所述陶瓷PTC发热元件置入设在所述铝板底部的两条导热管内,所述陶瓷PTC发热元件通过加热线并联在一起。本实用新型可以对锂离子电池进行均匀加热管理,让锂离子电池可以适应低温环境,提高锂离子电池的环境适应性,始终可以保证电池工作在正常工作温度中,从而保证电池组的整体工作性能,使得锂离子电池具有较长的使用寿命以及稳定性,同时保证电池的安全使用。

标签:
加工技术
湖北 - 武汉 来源:中冶有色网 2023-03-18
便携式燃料电池供电系统

本实用新型提供一便携式燃料电池供电系统,所述便携式燃料电池供电系统包括至少一燃料电池系统、至少一第一防反模块、至少一电源变换模块、至少一锂电池系统、至少一微控制单元以及至少一负载系统,其中所述燃料电池系统的输出端与所述第一防反模块电性连接,该第一防反模块的输出端与所述电源变换模块电性连接,所述电源变换模块的输出端与所述负载系统电性连接,所述微控制单元的两端分别与所述燃料电池系统的电压电流采样点及锂电池系统的电压电流采样点通信连接,所述锂电池系统与所述电源转换模块电性并联于所述第一防反模块的输出端,所述微控制单元电性连接于所述锂电池系统与所述电源变换模块之间。

标签:
加工技术
湖北 - 武汉 来源:中冶有色网 2023-03-18
加热不燃烧卷烟的新型吸食装置

本实用新型公开了一种加热不燃烧卷烟的新型吸食装置,包括供电装置和加热管,供电装置包括固定座和高能锂电池,固定座上安装有电池槽,电池槽上安装有高能锂电池,高能锂电池上端面设置有骨架,骨架上设置有控制电路板,控制电路板与高能锂电池通过导线相连接,骨架的另一端设置有固定套,固定套上设置有加热管,加热管是由若干个氧化铝管通过绝缘套连接而成,每个所述氧化铝管上套有合金发热体,每个所述合金发热体分别连接有控制电路板,所述固定座通过支撑架与骨架的另一端相连接。本实用新型设计合理,结构简单,便于安装与制作,同时只用将卷烟插入加热管中,通过控制电路板能够实现对每个合金发热体独立控制,使用更加方便和安全。

标签:
加工技术
湖北 - 潜江 来源:中冶有色网 2023-03-18
牵引车多电源传动装置

本实用新型公开了一种牵引车多电源传动装置,涉及牵引车电源技术领域,包括牵引车本体,牵引车本体的上表面放置有箱体,箱体与牵引车本体之间设置有一组限位组件,箱体的内部放置有两个锂电池组箱。它能够通过牵引车本体、箱体、限位组件、锂电池组箱、安装组件、充电插座板、散热组件、箱盖、检修组件以及吊环之间的配合设置,利用限位组件,能够将箱体安装在牵引车本体的顶部,利用安装组件,能够将锂电池组箱安装在箱体的内部,使得该装置能够将动力电源装置安装在牵引车本体的车顶,能够避免车体前后通透性差,同时能够方便对箱体和锂电池组箱进行安装和更换,能够满足轨道牵引车的使用要求。

标签:
加工技术
湖北 - 武汉 来源:中冶有色网 2023-03-18
笔记本电脑
笔记本电脑 1160     
 0

本实用新型公开一种笔记本电脑,所述笔记本电脑包括电脑主机及锂电池,其中,所述电脑主机呈水平向延伸设置,所述电脑主机的后端下表面设置一容置槽,所述电脑主机的上表面为操作面,所述锂电池与所述电脑主机电性连接,所述锂电池沿左右且上下向延伸设置,所述锂电池在上下向上包括可拆卸地安装于所述容置槽内的连接段及位于所述连接段下方的支撑段,所述支撑段呈向下突出所述电脑主机设置,用以支撑所述电脑主机,且使所述操作面呈倾斜设置,所述操作面与水平面之间的夹角为α,且5°≤α≤15°。不需要借助支座来实现笔记本的倾斜搁置,便于携带,且提高人体操作的舒适性。

标签:
加工技术
湖北 - 武汉 来源:中冶有色网 2023-03-18
可逆向对外供电使用的电动车电源

本实用新型提供一种可逆向对外供电使用的电动车电源,包括电动车电源本体,所述电动车电源本体包括锂电池、固定套筒、插接板和手机槽,所述固定套筒的一侧开设有滑槽,所述固定套筒的内部设置有电池仓,所述电池仓的两侧设置有插接板,所述插接板的顶部开设有通孔,所述电池仓的内部放置有锂电池,所述锂电池的侧边设置有插孔,所述锂电池的顶部安装有把手,所述把手的底端安装有顶部转盘,所述顶部转盘的底端设置有底部转盘,所述底部转盘的两侧安装有撑杆,该可逆向对外供电使用的电动车电源安装拆卸简单便捷,具有逆向对外充电功能,能取下作为220V备用应急电源使用。

标签:
加工技术
湖北 - 武汉 来源:中冶有色网 2023-03-18
多功能手机盒
多功能手机盒 1049     
 0

本实用新型公开了一种多功能手机盒,包括:上盒盖、下盒体、锂电池、USB接口、电源电量显示屏和散热部件,所述上盒盖和所述下盒体通过阻尼铰链链接,形成收纳空间;所述散热部件设置于所述上盒盖的内表面中心,其与所述锂电池电连接;所述锂电池设置于下盒体的内表面;所述锂电池与所述下盒体的下边缘之间横向设置U型槽,并在所述U型槽的横向两端各设置弹性卡簧;所述上盒盖的盒口表面覆盖镂空网层。本实用新型具有尺寸小、携带轻便等优点,可以作为手机支架同时为手机充电、散热、扩音等,具有良好的应用前景。

标签:
加工技术
湖北 - 武汉 来源:中冶有色网 2023-03-18
白血病患者用肌肤清洗刷

本实用新型公开了一种白血病患者用肌肤清洗刷,涉及医疗器械技术领域,具体为一种白血病患者用肌肤清洗刷,包括刷柄,所述刷柄的一侧固定安装有插头,所述刷柄的内底壁固定安装有锂电池,所述锂电池的一侧固定连接有第一电源线,所述刷柄的外表面套接有防滑圈,所述防滑圈的一侧活动安装有开关,所述第一电源线的一端固定安装有电极片。该白血病患者用肌肤清洗刷,通过设置防护圈,起到防滑的作用,避免了冲洗时,装置掉落的问题,通过设置转动体产生转动,从而解决手动洗刷的问题,通过插头对刷柄内的锂电池进行充电,通过锂电池提供电能使转动体转动,通过设置海绵球的结构,使得海绵球直接接触皮肤,更加的舒适。

标签:
加工技术
湖北 - 武汉 来源:中冶有色网 2023-03-18
导盲用的墨镜
导盲用的墨镜 1086     
 0

本实用新型涉及盲人用品领域,具体的说涉及一种导盲用的墨镜,其特征在于它包括墨镜本体、微型红外测距仪1、微型红外测距仪2、微型红外测距仪3、信号控制器、蜂鸣器、锂电池槽;所述微型红外测距仪1、锂电池槽设在墨镜本体镜架一侧的外侧面上,微型红外测距仪2设在墨镜本体镜架前端的外侧面上,微型红外测距仪3、信号控制器、蜂鸣器设在墨镜本体镜架另一侧的外侧面上;所述微型红外测距仪1、微型红外测距仪2、微型红外测距仪3以并联的形式电连接,连接的两端分别与信号控制器、锂电池槽电连接,锂电池槽与蜂鸣器、信号控制器依次电连接;所述信号控制器能设定动作值。本实用新型能使盲人的出行更加方便、安全。

标签:
加工技术
湖北 - 武汉 来源:中冶有色网 2023-03-18
智能AGV搬运小车及其在线充电装置

本实用新型涉及一种智能AGV搬运小车及其在线充电装置,该AGV搬运小车包括小车本体以及匹配安装于小车本体底侧的舵轮行走机构;小车本体包括边框和水平安装于边框内壁上的隔板;AGV搬运小车还包括在线充电装置;该在线充电装置包括锂电池组、车载充电电极和地面充电电极;锂电池组为双锂电池组且匹配安装于隔板的上部,其电连接舵轮行走机构;车载充电电极匹配设置于隔板的底部且与锂电池组电连接;地面充电电极匹配设置于磁轨线附近且与外部电源连接,地面充电电极与车载充电电极匹配对应。本实用新型结构设计简单、合理,充电安全、效率高,循环使用过程中不需要频繁更换电池,能大大提升搬运效率。

标签:
加工技术
湖北 - 十堰 来源:中冶有色网 2023-03-18
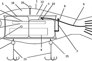
自主游动软体仿生鱼饵
自主游动软体仿生鱼饵 1092     
 0

本实用新型涉及一种自主游动软体仿生鱼饵,设有鱼饵本体、与鱼饵本体相连接的鱼钩及可为鱼饵本体充电的无线供电模块,鱼饵本体的硬质内壳在软质外壳内;带动鱼饵尾部摆动的摆杆一端及控制摆杆运动的电子部件置于硬质内壳内。电子部件有可充电锂电池、可为锂电池充电的无线充电模块、与锂电池相连的微型无核舵机、对舵机实现摆动控制的嵌入式系统。无核舵机控制电路的核心是一块由微型单片机构成的嵌入式系统,可通过对单片机编程实现鱼饵的多种运动方式,使用本实用新型垂钓时,嵌入式系统启动舵机摆臂的摆动,再带动摆杆摆动,进而带动尾鳍摆动,极像自主游动的鱼,形象逼真,对鱼吸引力大;可实现对锂电池的无线充电,防水性好,使用方便。

标签:
加工技术
湖北 - 武汉 来源:中冶有色网 2023-03-18
移动提升机
移动提升机 1058     
 0

本实用新型公开一种移动提升机,包括支撑组件,控制箱和提升组件,所述支撑组件包括底座、设置于底座底部的万向轮和垂直设置于底座顶部的立柱,所述控制箱的内部设置有为油缸提供动力的液压站和为液压站提供电力的供电组件,该供电组件包括锂电池和与锂电池输出端连接的逆变器,所述逆变器的输出端与液压站的接口连接,所述提升组件包括分别设置于立柱相对侧壁的油缸、分别设置于油缸输出端侧壁的滑车组件和设置于滑车组件侧壁并可沿着滑车组件升降的防撞箱,所述防撞箱的侧壁设置有杈杆,通过锂电池与逆变器的组合,将锂电池24V直流电转化为220V交流电,以此作为动力源,驱动油缸直线升降运动,减少外接电源线的电力设备,万向轮和从动轮的设置,方便移动。

标签:
加工技术
湖北 - 武汉 来源:中冶有色网 2023-03-18
带太阳能风扇的折叠伞
带太阳能风扇的折叠伞 1128     
 0

本实用新型提供了一种带太阳能风扇的折叠伞,包括折叠伞,折叠伞包括伸缩伞杆、伞骨架、伞布,太阳能电池板固定在伞布的外表面上,风扇及塑料套管总成安装固定在伞骨架的开合套管上,风扇及塑料套管总成包括风扇、塑料套管,风扇能折叠地连接在塑料套管上;塑料套管上设有风扇电源开关;锂电池固定在伞骨架上,太阳能充电线通过伸缩伞杆顶部连接的空心螺套与锂电池连接,太阳能充电线外端与太阳能电池板连接;锂电池通过风扇电源线与风扇电源开关、风扇连接。采用本实用新型,当伞全部折叠时锂电池及风扇等主要部件都会自动的隐藏在伞布内,达到了更加实用的目的;并且,结构简单紧凑,节能环保,具备遮阳伞和雨伞双功能。

标签:
加工技术
湖北 - 十堰 来源:中冶有色网 2023-03-18
带抗摔防磨损充电盒的侧挂式不入耳TWS蓝牙耳机

本实用新型公开了一种带抗摔防磨损充电盒的侧挂式不入耳TWS蓝牙耳机,具体涉及电子产品领域,包括耳机盒上盖,所述耳机盒上盖底部设置有上盖硅胶垫,所述上盖硅胶垫底部设置有两个软胶保护套,所述软胶保护套内部包裹有蓝牙耳机,所述蓝牙耳机包括耳机上盖,所述耳机上盖底部固定设置有触摸按键,所述触摸按键底端固定设置有耳机PCB板,所述耳机PCB板底端设置有锂电池,所述锂电池与耳机PCB板固定连接,所述锂电池底端设置有喇叭,所述喇叭与锂电池固定连接。本实用新型通过一系列的结构,利用软硅胶材质,具有柔软舒适感,保证了佩戴的舒适性,长久佩戴也不会发生耳廓疼和其他不适。

标签:
加工技术
湖北 - 荆州 来源:中冶有色网 2023-03-18
基于多孔基体的抗电解液泄漏的凝胶电解质及其制备方法

本发明提供了一种基于单离子传导多孔基体的锂离子电池用凝胶电解质及制备方法,先制备具有单离子传导特性的聚合物,然后将制备的聚合物采用相反转法进一步制备具有一定孔结构的多孔基体,再将含有有机凝胶因子的电解液浸渍到多孔基体中原位凝胶。凝胶因子以非共价键方式在多孔基体中自组装成网络结构并将电解液“束缚”在微孔内,从而有效地抑制电解液泄漏。锂离子在该凝胶电解质中的传输行为与电解液中类似,因此,所制备的凝胶电解质具有电解液泄漏量低、锂离子电导率高、力学强度高的特点。单离子传导聚合物基体保证了所制备的电解质材料具有较高的锂离子迁移数。

标签:
加工技术
湖北 - 武汉 来源:中冶有色网 2023-03-18
通用动力高储能多介质电容电池斛

本发明的名称为通用动力高储能多介质电容电池斛。属于电化学储能技术领域。它是一种集超级电容和化学电池优点的电容电池斛。它的主要特征是:包括壳体、负极接线柱、正极接线柱、正极、负极、隔膜及电解液;正极包括正极铝箔(集流体)及正极片层、正极活性物质层、正极片保护层;负极包括负极铝箔(集流体)及负极片层、负极活性物质层、负极片保护层;隔膜选用PP/PE/PP三层复合隔膜;电解液是LiPF6有机磷酸锂盐与LiFAP有机磷酸锂盐的混合液。本发明具有充放电速度快,充电几分钟及达到额定容量95%以上、充放电循环达7万次以上故使用寿命长、温度限量幅度宽工况温度在-40º~+70º之间、储能量密度高达5~10kWh/kg,环保无污染的特点,主要用于移动或固定供电电源。

标签:
加工技术
湖北 - 襄阳 来源:中冶有色网 2023-03-18
太阳能空调帽
太阳能空调帽 1208     
 0

太阳能空调帽,包括:塑胶骨架,系一体成型的薄壁结构;塑胶骨架具有成碟形的檐部,檐部的中部具有隆起的穹部,穹部的顶面构建为平坦的光伏安装座,穹部的侧壁上开设有进风口;太阳能板,固定在光伏安装座的顶面;内衬板,设于穹部的内部,内衬板与光伏安装座配合构成夹层;锂电池,固定在内衬板与光伏安装座构成的夹层中;直流风扇,固定在进风口外侧,通过进风口向穹部内送风;控制模块,固定在穹部的外侧壁上,控制模块配置有控制电路和控制按钮;控制模块分别与太阳能板、锂电池、直流风扇电连接,太阳能板通过控制电路对锂电池充电,锂电池和太阳能板分别通过控制电路为直流风扇供电。本实用新型装配更加容易,改善了制冷和散热降温效果。

标签:
加工技术
湖北 - 黄冈 来源:中冶有色网 2023-03-18
具有降温功能的太阳能安全帽

本实用新型公开了一种具有降温功能的太阳能风扇安全帽,包括帽子主体;所述帽子主体的顶部设有太阳能板,太阳能板通过导线与锂电池和主板电性连接,锂电池和主板设置在帽子主体的帽沿凸槽的内部;并在帽沿凸槽的底部设有下盖;所述下盖设有按键孔,按键孔内部设有按键,并在按键上套装有防水按键帽;所述主板与尾灯、风扇电机以及前LED大灯电性连接;其中尾灯设置在帽子主体的后侧,前LED大灯设置在帽沿凸槽的前侧;风扇电机设置在帽子主体前侧的通槽;本实用新型设有风扇可以加强降温解热,并在帽子主体上设有太阳能板和锂电池;太阳能板可以为风扇(供电),并将多余的电能储存在锂电池中,以备使用,比较环保节能。

标签:
加工技术
湖北 - 咸宁 来源:中冶有色网 2023-03-18
冷却加热一体化动力电池包安装总成

本实用新型公开了一种冷却加热一体化动力电池包安装总成,包括箱体、电池管理系统及锂电池模组,所述锂电池模组置于所述箱体内;还包括冷却装置及加热装置;所述冷却装置包括置于所述箱体内且与所述锂电池模组下表面接触的液冷板,以及置于所述箱体外部的泵、散热器和储水箱;所述加热装置包括布置在所述底板上表面加热槽中的PTC加热片。解决了传统锂电池包因为内部尺寸和空间结构的原因不能同时既带加热和也带冷却,使电动汽车在北方寒冷的夜晚以及在南方炎热的夏天均可以正常使用,解决了因为电池温度过高导致电芯不放电的情况,减小了电池温度过高产生的不安全因素,进一步增加了充放电循环寿命。

标签:
加工技术
湖北 - 十堰 来源:中冶有色网 2023-03-18
上一页 488 489 490 491 492 ... 500 ... 1138 下一页
共1138页    到第

中冶有色为您提供最新的湖北有色金属理论与应用信息,涵盖发明专利、权利要求、说明书、技术领域、背景技术、实用新型内容及具体实施方式等有色技术内容。打造最具专业性的有色金属技术理论与应用平台!

全国热门有色金属设备推荐
展开更多 +
全国热门有色金属技术推荐
展开更多 +

 

江西省隆恩特环保设备有限公司
宣传

报名参会
更多+

报告下载

有色专家
更多+

矿冶科技集团有限公司
所长/研究员级高工
湖南有色金属研究院
教授级高工/原总工程师
赣州有色冶金研究所有限公司
副主任/高级工程师
中南大学
院长/教授
矿冶科技集团
中国工程院院士
赤泥综合利用研究报告2025
推广

热门技术
更多+

推荐企业
更多+

福建省金龙稀土股份有限公司
宣传

发布

在线客服

公众号

电话

顶部
咨询电话:
010-88793500-807