青岛垚鑫智能科技有限公司
宣传

位置:中冶有色 >

有色技术频道 >

> 电冶金技术

分类:
全部
矿山技术
冶金技术
材料制备及加工技术
环境保护技术
分析检测技术
 
全部
火法冶金技术
湿法冶金技术
电冶金技术
真空冶金技术
地区:
全部
北京
天津
上海
重庆
河北
山西
辽宁
吉林
黑龙江
江苏
浙江
安徽
福建
江西
山东
河南
湖北
湖南
广东
海南
四川
贵州
云南
陕西
甘肃
青海
内蒙
广西
西藏
宁夏
新疆
其他
其他
展开
 
全部
成都
自贡
攀枝花
泸州
德阳
绵阳
广元
遂宁
内江
乐山
南充
眉山
宜宾
广安
达州
雅安
巴中
资阳
阿坝藏族羌族自治州
甘孜藏族自治州
凉山彝族自治州

四川成都有色金属电冶金技术理论与应用

免费发布技术信息>>
GH4065A镍基高温合金及均匀化处理工艺

本发明公开了一种镍基高温合金,尤其是公开了一种GH4065A镍基高温合金及均匀化处理工艺,属于冶金生产工艺技术领域。提供一种能有效降低成品铸态组织偏析化程度的GH4065A镍基高温合金及均匀化处理工艺。所述的GH4065A镍基高温合金为一种含下述重量份组分的高温合金,所述的重量份组分为C:0.03、Cr:16.0、Co:13.0、Fe:1.0、Ti:3.7、Al:3.1、Nb:0.7、Mo:4.0、W:4.0,其余为Ni,其中,Ti、Nb和Mo元素富集于枝晶间,W元素富集于枝晶干。所述的均匀化处理工艺先将GH4065A铸锭在1160℃‑1190℃温度范围的加热炉中加热80h,之后以50‑100℃/h的冷却速率降温至600℃,接着将铸锭从炉内取出空冷至室温完成GH4065A镍基高温合金的均匀化处理。

标签:
电冶金技术
四川 - 成都 来源:中冶有色网 2023-03-18
熄焦塔室复合墙结构及其施工方法

本发明公开了一种熄焦塔室复合墙结构及其施工方法,涉及冶金焦化工程施工技术领域;该复合墙包括施工于墙体外侧的钢筋混凝土墙和紧贴钢筋混凝土墙内侧砌筑的缸砖墙;缸砖墙沿熄焦塔室水平方向和垂直方向间隔设置有木模型砖,木模型砖镶砌于缸砖墙内,在木模型砖中部钻设有一孔洞,以使在复合墙施工过程中,通过设于缸砖墙内侧的对拉螺杆穿过木模型砖孔洞支设钢筋混凝土墙外侧的木模板,通过实施本技术方案,可有效解决现有熄焦塔砌筑结构可靠性差的技术问题,采用钢筋混凝土—缸砖复合墙施工工艺,使砌筑熄焦塔内衬缸砖及施工外侧钢筋混凝土同步进行施工,确保缸砖与钢筋混凝土结构结合紧密、整体性好,保证熄焦塔施工质量,提高熄焦塔使用寿命。

标签:
电冶金技术
四川 - 成都 来源:中冶有色网 2023-03-18
提高Cr12MoV模铸钢锭内部质量的方法

本发明涉及提高Cr12MoV模铸钢锭内部质量的方法,属于钢铁冶金技术领域。本发明所要解决的技术问题是现有Crl2MoV厚扁模具钢内部疏松、缩孔类缺陷明显。本发明提供提高Cr12MoV模铸钢锭内部质量的方法,采用下注法模铸钢锭,浇注温度控制在1450℃~1470℃,锭身浇注时间控制在6~8min,冒口填充时间控制在5min以内。本发明生产的模铸扁锭经锻造开坯后轧制成厚度为120mm及以上模具厚扁钢,内部质量良好,其经超声波探伤未发现疏松或缩孔类缺陷。

标签:
电冶金技术
四川 - 成都 来源:中冶有色网 2023-03-18
700MPa级奥氏体铁素体双相低密度铸钢及其制备方法

本发明属于金属材料及冶金技术领域,具体涉及700MPa级奥氏体铁素体双相低密度铸钢及其制备方法。本发明所要解决的技术问题是提供一种700MPa级奥氏体铁素体双相低密度铸钢。该铸钢的化学成分质量百分比为:C0.01~1.0%、Si0.1~0.2%、Mn10.0~25.0%、Al10.0~15.0%、V0.01~1.0%、Nb0.01~1.0%、Ti0.01~1.0%、S≤0.01%、P≤0.02%,其余为Fe和不可避免的杂质;同时Mn与Al的重量百分比满足25%≤Mn+Al≤35%;Nb、V与Ti的重量百分比满足0.05%≤Nb+V+Ti≤0.5%。本发明产品具有良好的力学性能。

标签:
电冶金技术
四川 - 成都 来源:中冶有色网 2023-03-18
采用钠盐处理含钒铁水的提钒方法

本发明公开了一种采用钠盐处理含钒铁水的提钒方法,属于钒冶金技术领域,包括以下步骤:将含钒铁水兑入转炉后,在吹炼的过程中加入冷却剂和纯碱,一次吹炼结束后渣铁分离,将钒渣留于转炉内进行二次吹炼,二次吹炼结束后将钒渣用水浸出即得含钒浸出液。本发明通过在转炉中直接加入钠化合物,利用提钒过程中的热量,提高了钒的氧化率和浸出率,减少了含钒铁水生产含钒浸出液的工序,降低了提钒的成本。

标签:
电冶金技术
四川 - 成都 来源:中冶有色网 2023-03-18
定位滚筒输送装置
定位滚筒输送装置 821     
 0

本发明公开了一种定位滚筒输送装置,包括定位装置、滚筒输送装置、升降挡板和物料夹,定位装置包括两个支架和连接支架平行设置的滚筒,两支架之间的距离从定位装置的进料端至定位装置的出料端逐渐减小,定位装置的出料端与滚筒输送装置相连;滚筒包括第二滚筒,第二滚筒表面围绕滚筒设有螺旋板,螺旋板以滚筒输送装置的中心线为分界线相向设置;相邻第二滚筒之间设有第一滚筒;升降挡板位于两个支架上方,升降挡板上方、靠近定位装置的进料端的一侧设有滑轨和在滑轨上滑动的滑块,滑块与能够升降将物料夹起的物料夹相连。本发明定位滚筒输送装置可以将管材自动的对转滚筒输送装置或冶金领域中的各加工装置,操作简单、不需要手动,降低操作成本、提高工作效率、排除安全隐患。

标签:
电冶金技术
四川 - 成都 来源:中冶有色网 2023-03-18
从钒铁冶炼刚玉渣中回收铝的方法

本发明属于冶金领域,具体涉及一种从铝热法冶炼钒铁刚玉渣中回收铝的方法。该方法包括以下步骤:将水淬并破碎后的刚玉渣进行强酸浸出,过滤后对酸浸液进行中和沉淀,并对沉淀物进行热分解,最终得氧化铝粉末。本发明不仅能够回收含钒刚玉渣中的铝,实现钒铁冶炼用铝的循环使用,同时中和液可作为沉钒原料,进一步提高钒铁冶炼系统综合收率。

标签:
电冶金技术
四川 - 成都 来源:中冶有色网 2023-03-18
细孔径泡沫陶瓷的制备方法

本发明涉及细孔径泡沫陶瓷的制备方法,属于多孔材料技术领域。本发明解决的技术问题是提供细孔径泡沫陶瓷的制备方法。该方法包括泡沫预处理、料浆制备、挂浆、干燥、烧结和冷却;其中,所述烧结先以1~2℃/min的速率升到200℃保温3h;再以0.5~1℃/min的速率升到700℃保温2h,最后以2~4℃/min的速率升到1450℃保温2.5~4.5h。本发明方发所制备的泡沫陶瓷过滤器,孔隙率高,强度好、抗热震性次数高达11次。该制备工艺简单,操作流程便捷,易于操作,此种泡沫陶瓷过滤器可运用于冶金领域,如钢铁铸造、铝合金铸造等领域。由于泡沫陶瓷还有一定的吸附性能,也可用于节能、环保等领域。

标签:
电冶金技术
四川 - 成都 来源:中冶有色网 2023-03-18
半钢冶炼转炉终点调渣的方法

本发明涉及半钢冶炼转炉终点调渣的方法,属于冶金技术领域。本发明解决的技术问题是提供一种适用于冶炼终点钢水碳含量较高情况下的半钢冶炼转炉终点调渣的方法。该方法包括如下步骤:在转炉吹氧进度为90~95%时,根据钢水碳含量进行调渣:当钢水碳含量为0.10~0.25%时,调整氧枪枪位为1.6~2.5m,加入发泡剂2~3kg/t钢;当钢水碳含量为0.25%以上时,调整氧枪枪位为2~2.5m,并加入发泡剂3~5kg/t钢;调整氧枪枪位及加入发泡剂后继续吹氧至冶炼终点,出钢后直接溅渣。本发明能够达到改变炉渣流动性提高溅渣效果,缓解炉衬侵蚀速率,提高炉衬寿命的目的。

标签:
电冶金技术
四川 - 成都 来源:中冶有色网 2023-03-18
自清洗过滤器
自清洗过滤器 1091     
 0

本发明提供了一种自清洗过滤器,适用于化工、造纸、建材、冶金等众多行业中需固液分离的领域。本发明通过设置由上下两块齿轮板、齿轮板间支撑柱以及支撑柱间过滤网板共同组成过滤网架,且过滤网架由电机带动转动的技术方案,实现了对液体的过滤以及过滤器的自清洗功能,从而提高了过滤器清洗效率和液体过滤处理能力,有效满足了各应用领域对过滤装置低投资、高处理能力、易操作、易清洗维护的要求。

标签:
电冶金技术
四川 - 成都 来源:中冶有色网 2023-03-18
水冷铝块的设计和制造

本发明的目的在于提供了一种新的设计结构和制造办法,解决了将钢管(铝管、铜管或不锈钢管)和铝块组合在一起的问题,并且非常牢固、耐压。本发明具有如下的优点:1、本发明能够将钢管(铝管、铜管或不锈钢管)和铝块组合在一起,并且非常牢固。2、使用本发明设计和制造的水冷铝块能够经受住耐压检验。3、水冷铝块能够充分利用铝块的导电或导热性能,并且通过钢管(铝管、铜管或不锈钢管)内的水流带走热量保护铝块。4、本发明能够广泛应用于要求导电、导热、高温等条件下的工作场所,例如电信、电力、化工、电解、冶金、机械等行业。

标签:
电冶金技术
四川 - 成都 来源:中冶有色网 2023-03-18
制备钒铝合金的方法
制备钒铝合金的方法 1010     
 0

本发明属于冶金领域,具体涉及一种高品质钒铝合金的生产方法。本发明所要解决的技术问题是利用AlV55废合金制备钒铝合金的方法,包括以下步骤:将AlV55废合金和铝混匀进行精炼,得到钒铝合金。本发明利用AlV55废合金制备钒铝合金的方法制备得到的钒铝合金品质良好。

标签:
电冶金技术
四川 - 成都 来源:中冶有色网 2023-03-18
碱性含钒溶液深度除硅的方法

本发明涉及钒的冶金化工领域,具体涉及一种碱性含钒溶液深度除硅的方法。该方法包括:提供含钒溶液;向所述含钒溶液中加酸,调节pH值至7‑9,加入还原剂进行还原反应,得到还原后的钒溶液;再向所述还原后的钒溶液加酸,调节pH值至≤6,选择性地加入铵盐,在温度为30‑100℃的条件下沉钒反应0.5‑3h。按照本发明所述的碱性含钒溶液深度除硅的方法可以实现对碱性含钒溶液进行深度除硅,沉钒反应产物中硅含量降至20ppm以下,除硅效果优异。

标签:
电冶金技术
四川 - 成都 来源:中冶有色网 2023-03-18
GH2909合金铸锭及其制备方法

本发明公开了一种GH2909合金铸锭及其制备方法,属于冶金生产制造工艺技术领域。提供一种达到均匀元素分布,消除枝晶,回溶Laves相的GH2909合金铸锭及其制备方法。所述合金铸锭的重量份组分为C≤0.06;Co:12‑16;Nb:4.3‑5.2;Ni:35‑40;Si:0.25‑0.5;Ti1.3‑1.8;Cr≤1;Al≤0.2;Mo≤0.2;Mn≤1;P、S≤0.015;Fe余量,其中,所述GH2909合金铸锭的残余偏析指数<0.2。所述的制备方法至少包括按所述的重量份组分真空熔炼钢水、电极棒浇铸、真空自耗熔炼、自耗锭浇铸、自耗锭均匀化以及开坯锻造至规定规格的棒材几个步骤。

标签:
电冶金技术
四川 - 成都 来源:中冶有色网 2023-03-18
金属粉末半连续化挤压制备高强度合金的装置及制备工艺

本发明公开了一种金属粉末半连续化挤压制备高强度合金的装置及制备工艺,属于金属材料成型加工技术领域,其包括制备仓,设置在制备仓内部的保温装置、成型装置和挤压装置,以及设置在制备仓外部的预顶装置和切割装置;金属粉末在保温装置中保温后,通过成型装置的加热、挤压装置的挤压、预顶装置的预顶及切割装置的切割,最终形成高强度合金锭料或型材。与传统高强度合金的生产方式相比,本发明通过将粉末冶金、温压成形、温挤压及塑性流变剪切等技术相结合,克服了传统高强度合金生产工艺的弊端,能够实现高强度合金的大尺寸,半连续化生产。

标签:
电冶金技术
四川 - 成都 来源:中冶有色网 2023-03-18
用于微波件盖板的高可靠封装结构及封装方法

本发明涉及微电子封装技术领域,公开了一种用于微波件盖板的高可靠封装结构,包括盖板和盒体,盖板包括对外输出接口,盖板的中部包括芯片及陶瓷电路基板装配区,还包括有机电路基板装配区,盖板的边缘处设置密封连接部,密封连接部沿盖板的边缘延伸并围成封闭的环形。本发明将不同热膨胀系数的梯度材料通过粉末冶金方式一体化成型,且各个区域的热膨胀系数、形状、尺寸与位置皆可灵活调节,可实现多种不同物理性能的电路基板、芯片和封装元器件一体化集成于同一盖板上,同时还可与盒体实现气密性焊接,形成了一种高密度、高可靠集成的封装盖板。本发明可提升微波组件的集成密度,对于盖板的可靠性提升和微组装的实现具有极大促进作用。

标签:
电冶金技术
四川 - 成都 来源:中冶有色网 2023-03-18
制备钛铝合金的方法
制备钛铝合金的方法 963     
 0

本发明属于钛冶金领域,具体涉及一种制备钛铝合金的方法。本发明所要解决的技术问题是提供制备钛铝合金的方法,包括以下步骤:a、将TiCl4、AlCl3加入保护气氛下的熔融电解质中;其中,熔融电解质为碱金属氯化物或碱土金属氯化物中的至少一种与碱金属氟化物的混合物;b、对步骤a所得的混合体系进行电解;c、电解结束后,对阴极产物进行真空蒸馏,得到钛铝合金。本发明方法可缩短钛铝合金的制备流程,降低钛铝合金的制造成本,对钛合金发展具有重要现实意义。

标签:
电冶金技术
四川 - 成都 来源:中冶有色网 2023-03-18
用于钙化提钒废水的处理方法

本发明公开了一种处理方法,尤其是公开了一种用于钙化提钒废水的处理方法,属于冶金生产环保工艺技术领域。提供一种综合利用价值高,工艺过程中简单的用于钙化提钒废水的处理方法。所述的处理方法将钙化提钒废水在搅拌条件下与粉状钢渣尾渣反应沉淀其中的固体物质完成固液分离。

标签:
电冶金技术
四川 - 成都 来源:中冶有色网 2023-03-18
浸入式喂丝套管、喂丝机及喂丝方法

本发明属于冶金领域,具体公开了一种浸入式喂丝套管、喂丝机及喂丝方法,旨在解决采用现有的喂丝导管对易烧损的贵重元素制成的丝线进行喂线存在收得率稳定性较差且偏低的问题。浸入式喂丝套管,包括内套管、套装在内套管上的外套管、以及外套管驱动装置;内套管的外表面上设置有刮除部,刮除部与外套管滑动连接;外套管驱动装置与外套管相连,并可驱使外套管沿内套管的轴向运动。喂丝机包括上述的浸入式喂丝套管。喂丝方法为利用上述的喂丝机进行喂线的方法。利用上述浸入式喂丝套管喂线,既可以满足正常丝线的喂线要求,又可以满足易烧损的贵重元素制成的特殊丝线的喂线要求,并且能够显著提高特殊丝线喂线的收得率。

标签:
电冶金技术
四川 - 成都 来源:中冶有色网 2023-03-18
稳定的捣固机构
稳定的捣固机构 985     
 0

本发明公开了一种稳定的捣固机构,属于冶金焦化行业供料、配料设备技术领域,包括捣固锤杆,所述捣固锤杆的左右两侧面上安装有竖直的齿条;所述齿条外侧设置扇形齿轮,扇形齿轮与齿条啮合;所述齿条上方的捣固锤杆两侧设置有上导向轮,齿条下方的捣固锤杆两侧设置有下导向轮。本发明结构简单,能有效的避免捣固锤杆因受到磨损而弯曲变形,同时避免了捣固锤杆在上下移动过程中倾斜,且操作方便。

标签:
电冶金技术
四川 - 成都 来源:中冶有色网 2023-03-18
钪矿原生矿的选矿富集方法

本发明提供一种钪矿原生矿的选矿富集方法,该方法包括:破碎、磨矿、弱磁选,强磁粗选和扫选、精矿再磨、强磁精选等几个步骤,对采用本发明方法得到的钪精矿进行湿法冶金提钪,能使该类型钪矿资源成为可开发利用的资源,可有效提高湿法提钪的生产效率,并能显著降低湿法提钪所需酸碱等各种辅助材料的消耗和生产成本,减少了湿法提钪工艺对环境的污染。同时,产生的尾矿可在建材、化工、陶瓷、玻璃等行业得到回收利用,提高该资源的综合回收利用价值,减小因尾矿堆存所产生的生态及环保影响。

标签:
电冶金技术
四川 - 成都 来源:中冶有色网 2023-03-18
磁加载沉淀过滤净化系统

一种适用于大流量污水净化的磁加载沉淀过滤净化系统,包括一体化沉淀过滤装置,与一体化沉淀过滤装置相连通的磁混凝反应系统、向磁混凝反应系统中加药的加药装置、与一体化沉淀过滤装置相配合的磁种回收系统、与磁种回收系统相配合的污泥脱水机;所述磁种回收系统与磁混凝反应系统相配合。本发明提供的磁加载过滤净化系统,具有投资成本低、固液分离速度快、系统占地面积小、抗冲击负荷能力强、无需反冲洗、出泥含水率低、固液分离出水效果有保证等优点,是替代现行各种大水量污水固液分离技术的新一代净化系统,可广泛应用于冶金浊环水、电厂循环水、矿井水、黑臭河道水、景观水、市政污水提标除磷、大水量的取水预处理等领域。

标签:
电冶金技术
四川 - 成都 来源:中冶有色网 2023-03-18
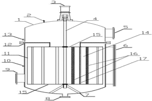
中频双向振动烧结炉
中频双向振动烧结炉 696     
 0

本发明一种中频双向振动烧结炉,其特征在于,包括带有压力系统的热压炉体,所述热压炉体内部的发热体为感应线圈,感应线圈中设置有红外测温仪;压力系统的上部设有上压头,下部设有下压头;下压头底部设有频率、振幅和压力可调的底部电液伺服施压装置,上压头顶部设有顶部电液伺服施压装置,底部电液伺服施压装置和顶部电液伺服施压装置均连接到电液伺服系统。本发明能够实现在振动烧结中促使颗粒重排,加速体积收缩,达到迅速致密化的目的,有效提高烧结制品的致密度和力学性能,得到更优异的高性能陶瓷和粉末冶金材料;同时能够明显缩短烧结时间,降低能耗,在大大提高工作效率的同时也减少了环境污染。

标签:
电冶金技术
四川 - 成都 来源:中冶有色网 2023-03-18
氧化硅质耐火浇注料及其使用方法

本发明公开了一种氧化硅质耐火浇注料及其使用方法,该浇注料由骨料、粉料、促凝剂和外加结合剂组成。骨料由煅烧硅石、废硅砖回收物的破碎料或二者的混合物组成,其总量为骨料与粉料质量之和的60~70%;粉料由煅烧硅石粉和硅微粉或超细石英砂组成,其总量为骨料和粉料质量之和的30~40%;促凝剂为冶金镁砂粉,其总量为骨料与粉料质量之和的2~4%;外加结合剂为磷酸和磷酸二氢铝的水溶液,其总量分别为骨料和粉料质量之和的3~5%和8~12%。本发明的氧化硅质耐火浇注料具有荷重软化温度高、高温强度大、适用温度范围广、高温体积稳定、抗热震性能优良等高温性能,且原料分布面广、产量大、价格低廉,便于推广应用。

标签:
电冶金技术
四川 - 成都 来源:中冶有色网 2023-03-18
钒溶液还原制备氧化钒的方法

本发明属于钒的湿法冶金技术领域,具体涉及一种钒溶液还原制备氧化钒的方法。本发明所要解决的技术问题是提供一种钒溶液还原制备氧化钒的方法,包括以下步骤:钒溶液除杂得到除杂后液,加热除杂后液至50~100℃,然后与三氧化二钒混合,加入有机酸调节体系pH为5~7进行反应,固液分离得到沉钒上清液和钒沉淀物,钒沉淀物经还原得到三氧化二钒。本发明方法选用的还原剂、pH调节试剂可循环使用,不引入杂质元素;上清液可直接循环使用,避免现有氧化钒生产过程中钒铬还原滤饼、含铵硫酸钠等固废的产生。

标签:
电冶金技术
四川 - 成都 来源:中冶有色网 2023-03-18
多功能泡沫铝发泡剂及利用其制备泡沫铝的方法

本发明提供一种多功能泡沫铝发泡剂及利用其制备泡沫铝的方法,该多功能泡沫铝发泡剂为硫酸铜或硫酸铜相关衍生物或主要包括硫酸铜组分的混合物,利用上述多功能泡沫铝发泡剂制备泡沫铝的方法是在制备泡沫铝过程中添加泡沫铝原料铝金属质量的0.5%~20%多功能泡沫铝发泡剂,该多功能泡沫铝发泡剂能够应用于制备泡沫铝的熔体发泡法、粉末冶金法、二次发泡法。本发明所提供的发泡剂与制备泡沫铝发泡温度匹配性好、缓释时间长、分散性好、廉价、使用方便,且同时具有增黏、增强的功能。

标签:
电冶金技术
四川 - 成都 来源:中冶有色网 2023-03-18
转炉铁水加纯碱生产含钠钒渣的方法

本发明涉及转炉铁水加纯碱生产含钠钒渣的方法,属于钢铁冶金及钒钛化工领域。本发明解决的技术问题是钒渣生产过程钒的氧化率低、热量损失大。本发明公开转炉铁水加纯碱生产含钠钒渣的方法,步骤包括在铁水兑入转炉后,进行一期吹炼氧化,吹炼过程中加入冷却剂、纯碱,一期吹炼结束后将半钢倒出,含钠钒渣留于转炉内,转炉内加入NaCl进行二期吹炼氧化,吹炼氧化结束后经水浸得到含钒浸出液。本发明能够减少铁水生产含钒浸出液的工序数量,能提高钒的氧化率、减少过程能量消耗,有利于资源的利用及提钒生产成本降低,为企业节约成本、创造效益。

标签:
电冶金技术
四川 - 成都 来源:中冶有色网 2023-03-18
MOS栅控晶闸管
MOS栅控晶闸管 770     
 0

本发明涉及半导体技术,具体的说是设计一种MOS栅控晶闸管。本发明对P+阴极接触区10进行改进,增大了P+阴极接触区10的宽度,改变了冶金结形貌,减小了自阴极金属11流入的电子的运输通道。器件正向工作特性受到P+阴极接触区10、N阱9组成的JFET的控制,在相对较小的阳极电压下可发生沟道夹断效应,能控制器件饱和电流的大小。P+阴极区接触区10的结深和宽度可根据器件设计要求进行优化取值。本发明尤其适用于MOS栅控晶闸管。

标签:
电冶金技术
四川 - 成都 来源:中冶有色网 2023-03-18
30CrNi2MoVA钢VD工序稀土添加方法

本发明涉及30CrNi2MoVA钢VD工序稀土添加方法,属于钢铁冶金技术领域。本发明解决的技术问题是对于30CrNi2MoVA钢目前还没有相适宜的稀土添加方法在提升稀土收得率的同时满足夹杂物要求。本发明的技术方案是采用EBT电炉冶炼+LF精炼+VD真空精炼冶炼30CrNi2MoVA钢,VD真空精炼破空后添加稀土,出钢,模铸浇注。本发明稀土收得率≥50%,废品比例降低,钢中夹杂物类型及形貌得到控制,由原来串状、链状的Al2O3、硫化物类夹杂转变为圆形、椭圆形的稀土氧化物、稀土硫化物。

标签:
电冶金技术
四川 - 成都 来源:中冶有色网 2023-03-18
烧结助剂与石英陶瓷及其制备与应用方法

本发明公开了一种烧结助剂与石英陶瓷及其制备与应用方法,所述烧结助剂包括镧的氧化物、铝的氧化物、硼的氧化物、钕的氧化物和钇的氧化物,所述石英陶瓷通过将该烧结助剂与石英在一定温度下烧结制得,本发明制得的石英陶瓷原料成本低,制备工艺简单,产品中不含重金属,无污染,产品微观结构致密、稳定,烧结过程中无析晶现象出现,可作为透波材料,特别是天线罩材料,在航空、航天、光学、电子、玻璃、冶金等多个领域进行广泛应用。

标签:
电冶金技术
四川 - 成都 来源:中冶有色网 2023-03-18
上一页 11 12 13 14 15 ... 32 下一页
共32页    到第

中冶有色为您提供最新的四川成都有色金属电冶金技术理论与应用信息,涵盖发明专利、权利要求、说明书、技术领域、背景技术、实用新型内容及具体实施方式等有色技术内容。打造最具专业性的有色金属技术理论与应用平台!

全国热门有色金属设备推荐
展开更多 +
全国热门有色金属技术推荐
展开更多 +

 

江西省隆恩特环保设备有限公司
宣传

报名参会
更多+

报告下载

有色专家
更多+

矿冶科技集团江苏北矿金属循环利用科技有限公司
书记 / 总经理
太原理工大学
院长/教授
有研科技集团有限公司
首席科学家
北京科技大学
教授
湖南科技大学
所长/教授
赤泥综合利用研究报告2025
推广

热门技术
更多+

推荐企业
更多+

福建省金龙稀土股份有限公司
宣传

发布

在线客服

公众号

电话

顶部
咨询电话:
010-88793500-807