青岛垚鑫智能科技有限公司
宣传

位置:中冶有色 >

有色技术频道 >

分类:
全部
矿山技术
冶金技术
材料制备及加工技术
环境保护技术
分析检测技术
地区:
全部
北京
天津
上海
重庆
河北
山西
辽宁
吉林
黑龙江
江苏
浙江
安徽
福建
江西
山东
河南
湖北
湖南
广东
海南
四川
贵州
云南
陕西
甘肃
青海
内蒙
广西
西藏
宁夏
新疆
其他
其他
展开
 
全部

有色金属技术理论与应用

免费发布技术信息>>
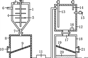
生产废水除氟处理系统
生产废水除氟处理系统 1119     
 0

本实用新型提供一种生产废水除氟处理系统,生产废水除氟处理系统,包括:第一高效澄清池系统、第二高效澄清池系统、污泥浓缩池、污泥脱水装置和废水收集装置;所述第一高效澄清池系统和所述第二高效澄清池系统的结构相同,均包括:混合池、混凝池、絮凝池、过渡池、沉淀池和后混池;所述沉淀池主体的上方开设排水口;所述沉淀池主体的排水口位于所述填料层的上方,所述沉淀池主体的排水口与后混池的进水池连接;所述后混池的排水口,与外排水总管道连接。本实用新型提供的生产废水除氟处理系统及方法,具有生产废水处理成本低、处理效率高的优点,满足废水除氟要求。

标签:
废水处理
山东 - 枣庄 来源:中冶有色网 2023-03-19
废水减量处理装置及废弃物焚烧处理系统

一种废水减量处理装置及废弃物焚烧处理系统,属于危险废物焚烧处置领域。废水减量处理装置用于与烟气处理装置进行配合以减少烟气无害化处理过程中所排放的废水的量。烟气处理装置包括依次连接的急冷塔、干式脱酸塔、除尘塔、冷却塔以及洗涤塔。废水减量处理装置包括依次连接的澄清水池、反应池、冷却水池、洗涤水池,澄清水池还与急冷塔、冷却塔连接,反应池还与干式脱酸塔连接,冷却水池还与冷却塔连接,洗涤水池还与洗涤塔连接。废水减量处理装置的使用可以将现有系统的废水排放量极大地减小。

标签:
废水处理
北京 - 北京 来源:中冶有色网 2023-03-19
零价铁处理冷轧高浓度含铬废水的装置

本实用新型公开了污水处理技术领域的一种零价铁处理冷轧高浓度含铬废水的装置,包括碱化罐,所述碱化罐的顶部左侧设置有废水进口,所述碱化罐的顶部中心处设置有电机,所述电机的底部动力输出端设置有搅拌轴,且搅拌轴的底部伸入碱化罐的内腔,所述搅拌轴伸入碱化罐内腔的一端左右两侧均设置有搅拌叶,与现有的零价铁处理冷轧高浓度含铬废水的装置相比,本实用新型结构简单,使用方便,本实用新型在现有的零价铁处理冷轧高浓度含铬废水的装置基础上增加了搅拌装置,使得在进行碱化处理时,碱液与废水混合的更加充分,加速碱液与废水中其他金属离子的反应,进而加快碱化速度,减少碱化时间,提高工作效率。

标签:
废水处理
陕西 - 西安 来源:中冶有色网 2023-03-19
有机废水活性炭吸附再生一体化处理装置

本实用新型公开了一种有机废水活性炭吸附再生一体化处理装置,其结构包括:过滤重塑活塞杆、排气通管、生物膜流化床、过滤网顶板、蜂窝过滤网、过滤网底板、废水消毒池、废水沉淀池、地埋吊挂耳板、汇流总管道,过滤网顶板与过滤网底板分别水平固定在蜂窝过滤网上下两侧,废水消毒池水平固定在废水沉淀池上并且水平固定在过滤网底板下,过滤网顶板设有两个以上并且分别与生物膜流化床环绕连接,本实用新型过滤重塑活塞杆设有复位弹簧管、防滑固定块、活性炭过滤网、橡胶活塞块,实现了有机废水活性炭吸附再生一体化处理装置的活性炭结合活塞杆伸缩增加弹性机械再生重新循环利用配合设备一体化吸附、过滤、沉降等动作去净水。

标签:
废水处理
江苏 - 淮安 来源:中冶有色网 2023-03-19
黄金行业含氰废水综合处理系统

本实用新型公开了一种黄金行业含氰废水综合处理系统,它是由树脂吸附柱、混合搅拌槽、臭氧氧化槽、混凝搅拌槽、沉淀池、生物活性炭反应池、回水池、水泵和臭氧发生器构成,其中树脂吸附柱内部装有阴离子交换树脂,用于吸附回收废水中的氰化物,臭氧氧化槽内部设有臭氧曝气系统,用于臭氧对污染物进行氧化处理,混凝搅拌槽和沉淀池主要用去废水中重金属离子,生物活性炭反应池内部设有活性炭填料和曝气系统,用于菌种的挂膜,并与活性炭协同对剩余的污染物进行处理。本实用新型将树脂吸附工艺、臭氧氧化处理工艺、混凝沉淀处理工艺和生物活性炭技术结合在一起协同对废水进行处理,具有废水处理效果好、处理效率高,可实现废水中氰化物的回收等优点,具有广阔的应用前景。

标签:
废水处理
吉林 - 长春 来源:中冶有色网 2023-03-19
脱硫废水软化处理装置

本实用新型公开了一种脱硫废液软化处理装置,包括脱硫废水缓冲箱(1),脱硫废水泵(2),软化剂加药箱(3),软化剂加药泵(4),重金属去除剂加药箱(5),重金属去除剂加药泵(6),混凝剂加药箱(7),混凝剂加药泵(8),管道混合器(9),一体化脱硫废水软化装置(10),中间水箱(11),中间水泵(12),阳离子软化装置(13)。脱硫废水在一体化脱硫废水软化装置,去除大部分的钙镁离子,混凝、澄清和过滤。清水进入流动床阳离子软化装置,进一步去除的残余硬度。本实用新型实现了对脱硫废水的深度软化,避免后续的蒸发浓缩或结晶结垢。

标签:
废水处理
陕西 - 西安 来源:中冶有色网 2023-03-19
化学镀镍废水处理装置

本实用新型公开一种化学镀镍废水处理装置,它包括废水处理系统和镍回收系统。所述废水处理系统包括化学镀镍废水收集池、反应池、提升泵、多介质过滤器、重金属吸附器和排放中继池;所述的镍回收系统主要包括含镍浓缩液收集槽、沉淀槽和真空干燥器。该装置保证稳定达标处理化学镀镍废水的同时,还能回收化学镀镍废水中的镍离子,且回收率高,具有良好的经济效益和环境效益。

标签:
废水处理
广东 - 深圳 来源:中冶有色网 2023-03-19
亚硝酸菌群的培养方法及含氨氮废水处理方法

本发明公开了一种亚硝酸菌群的培养方法及含氨氮废水处理方法。通过在 富集过程中增加基质的氨氮浓度和pH值,维持基质中较高浓度的游离NH3, 从而逐步达到淘汰硝酸菌,富集亚硝酸菌的目的,得到一种亚硝酸菌群。然后 以得到的亚硝酸菌群为种子,利用自配氨氮废水或高氨氮废水为培养液进行扩 大培养,扩大培养的亚硝酸菌群接种于生化处理池用于提高生化处理脱氨氮效 率,或直接用于氨氮废水的脱氨氮作用,最优选用于短程硝化与反硝化过程的 好氧硝化阶段积累亚硝酸盐氮,直接作为反硝化的电子受体。本发明方法过程 简单,处理含氨氮废水效果突出。

标签:
废水处理
北京 - 北京 来源:中冶有色网 2023-03-19
含金废水的处理组合物及其使用方法

本发明公开了一种含金废水的处理组合物及其使用方法,该组合物包括络合剂和多孔无定形炭,通过在硫代硫酸盐或者亚硫酸盐体系中加入该组合物即可以与体系中的金发生络合反应,然后与活性炭稳定吸附,能把废水残留金处理到低浓度水平,实现废水中金的高效回收,给社会及行业带来经济效益。该组合物的使用方法为将络合剂加入到pH为6~14的含金废水中;(2)将多孔无定形炭加入步骤(1)所得含金废水中,循环一定时间即可整个过程不使用含CN‑或重金属等物质,避免了活性炭改性的操作,操作简单,工艺成本低,对环境友好,避免了硫化氢气体的臭鸡蛋味,对操作员友好。此外,本申请中的组合物还可广泛应用于其他形态不易被活性炭吸附的金的处理。

标签:
废水处理
江西 - 上饶 来源:中冶有色网 2023-03-19
头孢类抗生素生产废水处理系统及工艺

本发明公开一种头孢类抗生素生产废水处理系统及工艺,根据抗生素生产废水中COD和抗生素残留高,成分复杂等特点,在预处理阶段将常规的MVR蒸发池替换为芬顿催化氧化系统,将废水中的有机物质进行降解,有效改善后续净化设备易堵塞和腐蚀问题。此外,所述废水处理系统中还包括类芬顿反应系统,根据二沉池的污水处理以及厂房内原有的曝气系统自行制备得到类芬顿试剂,进一步对废水中的悬浮物等进行深度处理。

标签:
废水处理
河南 - 郑州 来源:中冶有色网 2023-03-19
印花废水Bio-DeN生物脱氮方法和装置

本发明涉及废水处理技术领域,具体涉及一种印花废水Bio‑DeN生物脱氮方法和装置。本发明采用核心为“厌氧处理、缺氧处理、好氧‑缺氧综合处理和沉淀处理”的生物脱氮处理工艺对印花废水进行处理,其中,好氧‑缺氧综合处理具体为好氧‑好氧‑缺氧‑好氧‑好氧处理(O2AO2处理),即前段好氧段、中间缺氧段和后段好氧段连续串联在一起对印花废水进行逐级生物处理,与前置的缺氧处理构成了二级A/O工艺,能够同步进行脱氮除磷以及去除COD、降低色度,有效解决了印花废水中氮、磷难处理等问题,出水可以达到排放标准。

标签:
废水处理
江苏 - 苏州 来源:中冶有色网 2023-03-19
印染高浓废水无害化处理系统及方法

本发明公开一种印染高浓废水无害化处理系统,该系统包括依次连接的臭氧氧化设备、Fenton处理设备、过滤设备、电渗析设备和蒸发结晶设备,所述的臭氧氧化设备包括臭氧发生器和臭氧反应塔,所述的过滤设备包含砂滤装置和保安过滤器装置。本发明还公开一种印染高浓废水无害化处理方法,印染高浓废水首先进入臭氧氧化设备进行臭氧氧化处理,进入Fenton处理设备进行氧化处理,进入砂滤装置、保安过滤装置过滤,进入电渗析设备进行脱盐处理,最后进入蒸发结晶设备制得无机盐。本发明具有水回收率高,无有害物资排放等优势,为印染行业废水膜法处理后高COD高盐废水无害化处理开辟了一条全新的技术途径。

标签:
废水处理
福建 - 泉州 来源:中冶有色网 2023-03-19
难降解废水集成化处理装置

本发明提供了一种难降解废水集成化处理装置,废水集成化处理装置包括曝气池、微电解反应池以及强化芬顿反应池。其中,所述曝气池通过孔状布水板Ⅰ与所述微电解反应池连通,所述微电解反应池通过强化芬顿反应室进水口与所述强化芬顿反应池连通,在所述微电解反应池与所述强化芬顿反应池之间设有布水区,且所述布水区通过孔状布水板Ⅱ与所述强化芬顿反应池连通。本发明有益效果在于提供一种有效缓解填料钝化板结,便于清除铁泥,提高废水处理效率的难降解废水集成化处理装置;主要适用于机加工行业含溶解性油废水的处理净化。

标签:
废水处理
江苏 - 徐州 来源:中冶有色网 2023-03-19
镀锌废水净水系统及净水方法

本发明公开了一种镀锌废水净水系统及净水方法。镀锌废水净水系统的树脂型粒子电极层位于净水系统的底部,并在树脂内部放置由钛网构成的阴极,在树脂外部放置由不锈钢孔板构成的阳极,阳极和阴极分别与外加电源的正极和负极相连,吸附性生物滤料层位于树脂型粒子电极层的上方,树脂型粒子电极层的下方与溶气配水室相连,溶气配水室内安装有曝气装置和反冲洗装置。本发明的净水方法,包括如下步骤:(1)污水进入溶气配水室;(2)气水混合(3)树脂型粒子电极处理;(4)微生物处理以及物理过滤;(5)出净水。本发明的净水系统先以树脂型粒子电极催化氧化镀锌废水中的难生物降解有机物,提高镀锌废水可生化性,再经微生物处理后排出,解决了镀锌废水难处理的问题。

标签:
废水处理
山东 - 济南 来源:中冶有色网 2023-03-19
基于原位价态转换体系处理有机磷废水的方法

本发明涉及一种基于原位价态转换体系处理有机磷废水的方法,具体包括以下步骤:步骤(1):将铁刨花除锈洗净后加入反应器中,向反应器中注入待处理的有机磷废水,充分混合,调节酸度至pH为2‑4,移取硫酸铜溶液至反应器中,构建Fe/Cu2+原位价态转换体系;步骤(2):对反应器进行充分搅拌,使得Fe/Cu2+原位价态转换体系对待处理的有机磷废水进行净化处理,控制待处理的有机磷废水在反应器中的停留时间为10‑30min。与现有技术相比,本发明整体工艺步骤简单易行,高效稳定,可解决现有的有机磷污染物治理技术效果不理想、成本高、过程复杂的技术问题,无二次污染,反应速率快,废水水力停留时间短,有机磷去除率高。

标签:
废水处理
上海 - 上海 来源:中冶有色网 2023-03-19
预磁化Fe0/过硫酸盐体系提高含氯有机废水脱氯率的方法

本发明属于水和废水处理技术领域,公开了一种弱磁场预处理零价铁提高其反应活性的废水处理方法。其特征在于,利用10-60mT弱磁场对微米零价铁进行预磁化0.5-5min;把经过预磁化的零价铁应用到零价铁/过硫酸盐体系中,以提高含氯有机废水去除速率和脱氯效率。本发明预磁化的Fe0制备经济方便,不需消耗额外能量,无需对原有废水处理装置进行改造,成本低、易推广。与其他含氯有机废水处理方法相比,处理效率更高尤其对脱氯率提升显著。

标签:
废水处理
天津 - 天津 来源:中冶有色网 2023-03-19
组合型深度处理高浓度有机废水的装置

本发明涉及一种组合型深度处理高浓度有机废水的装置;由预处理缓冲池、厌氧反应器、压力曝气搅拌系统、光催化反应器、滤室、反冲洗系统、回流管线系统等构成;在预处理废水后,采用厌氧方法对高浓度有机废水进行初步处理,然后使用光催化方法对一级处理水进行深度处理,并通过滤室进一步过滤出水;该装置既能深度去除废水中的高浓度有机物及铁锰离子,还能防止二次污染,具有能耗少、效率高、效果好等优点,适用于高浓度有机废水的处理,能保证稳定高效的出水及回用水质。

标签:
废水处理
江苏 - 南京 来源:中冶有色网 2023-03-19
酵母废水预处理方法
酵母废水预处理方法 742     
 0

本发明公开了一种酵母废水预处理方法,具体方法为首先将酵母废水原水进行pH值酸性调节,然后进行臭氧曝气处理,最后再将pH值调节至7-8,此后即可进入常规生物处理系统。本发明的预处理方法从根本上解决了常规酵母废水生物处理系统处理效率偏低、停留时间长、出水水质差、色度高等问题,本发明工艺控制简单,可操作性强,可广泛用于酵母废水处理工艺,并适用于已建酵母企业的废水处理设施升级改造。

标签:
废水处理
北京 - 北京 来源:中冶有色网 2023-03-19
均相催化臭氧化处理酸性有机废水的方法

一种均相催化臭氧化处理酸性有机废水的方法,属于有机废水处理的技术领域。以超重力反应器为气体吸收反应设备,将均相催化剂、臭氧与酸性有机废水同时通入超重力反应器,酸性有机废水进入气体吸收装置前无需调节pH,催化剂为Fe2+,或者Fe2+与H2O2的组合。本发明臭氧利用率提高1-2倍,臭氧消耗与操作成本显著下降,废水降解效果明显提高。

标签:
废水处理
北京 - 北京 来源:中冶有色网 2023-03-19
高浓度氨氮废水资源化处理工艺

本发明公开了一种高浓度氨氮废水资源化处理工艺,该工艺采用组合工艺对氨氮废水进行资源化处理。经本发明处理后,废水中氨氮由23200mg/L下降为8mg/L,达到国家一级排放标准,处理后的水可回用及景观绿化。同时,从高浓度氨氮废水中脱出来的氨气通过吸收塔吸收后,可回收18%~25%以上浓度的氨水,有一定的经济效益,且废水中氨氮浓度越高,效益越明显。

标签:
废水处理
四川 - 绵阳 来源:中冶有色网 2023-03-19
可消毒灭菌的高级氧化废水处理装置

本实用新型提供了一种可消毒灭菌的高级氧化废水处理装置,废水处理装置包括压力罐,所述压力罐的上下两端分别设置有进水管和出水管;所述压力罐的顶端安装有多个紫外灯,所述紫外灯延伸至所述压力罐底部;使用时,打开所述紫外灯,待处理的废水从所述进水管流入所述压力罐内并发生高级氧化反应,处理后的废水经所述出水管流出;本实用新型提供的一种可消毒灭菌的高级氧化废水处理装置,克服了现有废水处理效率低、设备复杂成本高、操作繁琐的缺陷。

标签:
废水处理
浙江 - 宁波 来源:中冶有色网 2023-03-19
高难度废水净化装置
高难度废水净化装置 799     
 0

本实用新型公开了一种高难度废水净化装置,涉及到废水净化装置结构技术领域,一种高难度废水净化装置,包括箱体,所述箱体上安装有进水管和出水管,所述箱体的腔内转动安装有转轴,所述转轴上套接安装有安装柱,安装柱随转轴一起转动,所述安装柱的外侧壁上均匀安装有多个滤材箱并形成蜂窝状结构。本实用新型中,通过电机带动转轴转动从而驱动滤材箱转动,滤材箱在转动过程中,装在滤材箱中的滤材发生一定的窜动,与废水充分接触,同时滤材在滤材箱内部相互混合并产生表面摩擦,使杂质无法附着,少数沉积的杂质会随摩擦而脱落,从而使滤材与废水的有效接触面积增大,经进水管进入的废水可以与滤材充分接触,提升净化效率,净化后经出水管流出。

标签:
废水处理
广东 - 广州 来源:中冶有色网 2023-03-19
磷化废水处理系统
磷化废水处理系统 968     
 0

本实用新型提供一种磷化废水处理系统。本实用新型的磷化废水处理系统,其包括磷化废水调节池,所述磷化废水调节池连接反应池,所述反应池连接中心调节池,所述中心调节池连接絮凝池,所述絮凝池连接沉淀池,所述沉淀池的固相出口连接污泥浓缩池,所述污泥浓缩池连接压滤机,所述沉淀池的液相出口连接中间水池,所述中间水池连接砂滤罐,所述砂滤罐连接中和池,所述中和池连接生化处理系统,所述反应池、中心调节池、絮凝池采用三联箱式结构,且所述中心调节池中安装有搅拌器,所述反应池中连接有石灰供给箱,所述絮凝池连接有絮凝剂添加箱。本实用新型避免磷化废水对环境造成的污染,实现废水达标排放。

标签:
废水处理
江苏 - 盐城 来源:中冶有色网 2023-03-19
基于生化处理和MVR组合工艺处理抗生素制药废水的系统

本实用新型涉及基于生化处理和MVR组合工艺处理抗生素制药废水的系统,包括生化处理单元和MVR处理单元,MVR处理单元包括MVR蒸发系统和闭式冷却器,MVR蒸发系统有第一进料端口A、第一出料端口A、第二进料端口A、第二出料端口A和第三进料端口,闭式冷却器的进料端口A与第一出料端口A相连,其第二出料端口B与生化处理单元的入口相连,生化处理单元的废水出口与第一进料端口A相连。本实用新型可将盐分高、生物抑制性强的废水先通过MVR蒸发器预处理,再与易生化处理废水一起经生物降解,可浓缩分离出高浓含盐废水中的无机盐,提高了废水可生化性;消除了微生物抑制因素,提高了生化处理系统对有机污染物的去除率;实现污水资源化利用和达标排放。

标签:
废水处理
新疆 - 伊犁哈萨克自治州 来源:中冶有色网 2023-03-19
电镀废水的处理方法及其应用

本发明提供了一种电镀废水的处理方法,其特征在于,所述方法包括以下步骤:1)对电镀废水进行气浮;2)对气浮后的废水进行接触氧化;3)向接触氧化后的废液加入混凝剂和助凝剂进行一级混凝沉淀处理,取上清液,并使用所述混凝剂和助凝剂对所述上清液进行二级混凝沉淀处理。本发明还提供了所述电镀废水处理方法在处理电镀废水中的应用。

标签:
废水处理
湖南 - 长沙 来源:中冶有色网 2023-03-19
高盐废水零排放的方法
高盐废水零排放的方法 1161     
 0

一种高盐废水零排放的方法,它涉及一种去除高盐废水中盐类的高效物理方法。该方法采用二级蒸发的方式,利用废水中盐类含量高的特点,实现高盐废水的零排放目的。该方法对Cl-、SO42-、Na+、Ca2+等具有明显的去除效果,同时能回收和利用这些盐类物质。该方法低成本,低运行费用,无二次污染,安全,是一种高盐废水零排放的高效方法。

标签:
废水处理
江苏 - 无锡 来源:中冶有色网 2023-03-19
利用高盐废水精制盐的工艺及系统

本发明属于废水处理技术领域,具体涉及一种利用高盐废水精制盐的工艺及系统。该工艺包括如下步骤:对高盐废水进行预处理,将预处理后的废水通过MVR机械式蒸汽再压缩技术进行预浓缩,预浓缩后再通过ED离子膜浓缩,之后进入双级纳滤系统完成氯化钠和硫酸钠的分离,再通过冷却结晶分别制得氯化钠和硫酸钠。该系统包括依次连接的软化澄清池、臭氧生物碳滤池、脱碳塔、MVR蒸发器、ED浓缩装置、双级纳滤设备,双级纳滤设备连有氯化钠结晶器和硫酸钠结晶器。本发明在降低生产能耗的基础上,极大提高了产品盐的回收率和纯度,实现了高盐废水的资源化利用。

标签:
废水处理
山东 - 泰安 来源:中冶有色网 2023-03-19
硫酸钠废水的利用方法
硫酸钠废水的利用方法 1163     
 0

本发明公开了一种硫酸钠废水的利用方法,向硫酸钠废水中加入氯化钙,然而将反应液过滤得到氯化钠粗盐水,用电催化氧化方法去除粗盐水中TOC及氨氮等物质,再用氢氧化钠调节PH至11~12后用碳酸钠除去盐水中钙离子,除钙后的盐水用盐酸酸化调节PH至4~6,最后将所得的盐水进入纳滤膜分离装置分离盐水中的硫酸盐和氯化钠,得到低硫酸钠的氯化钠盐水和富含硫酸钠的水溶液,低硫酸钠的氯化钠盐水作为氯化钠电解盐水的配水,经常规方法精制后作为氯化钠电解原料,富含硫酸根的水溶液返回至硫酸钠废水中循环利用。该发明可以有效利用硫酸钠废水和氯化钙废水,实现硫酸钠的资源化。

标签:
废水处理
浙江 - 衢州 来源:中冶有色网 2023-03-19
电镀废水处理系统及其处理方法

发明提供了一种电镀废水处理系统,所述系统包括依次连接的电絮凝反应器、缓冲罐、过滤装置、超滤处理装置和反渗透装置,其中电絮凝反应器和缓冲罐之间设有加药装置。所述方法为:待处理的电镀废水经电絮凝处理后,向其中投加化学沉淀剂进行沉淀反应;经化学沉淀后的物料经过滤得到滤渣和滤液;所述滤液调节pH后,经超滤和反渗透处理后得到最终出水。所述系统和方法通过电絮凝反应器对电镀废水进行预处理,并投加合适的药剂,进行化学沉淀,利用电絮凝反应过程中新生成的混凝剂与化学沉淀药剂之间的协同作用,可以有效去除废水的重金属以及较大颗粒的悬浮物SS;同时,使所述废水中COD含量降至标准以下,得到满足排放标准的出水。

标签:
废水处理
江苏 - 无锡 来源:中冶有色网 2023-03-19
废水中高浓度聚乙烯醇的去除装置

本发明公开了一种废水中高浓度聚乙烯醇的去除装置,属于污水治理技术领域。本发明是将废水池中的污水通过通水管道在水泵的作用下流入过滤池中,经粗筛网、细筛网过滤后的PVA废水通过通水管道进入氧化池,通过搅拌棒搅拌,快速氧化反应;再将氧化过的废水通过水泵带入药剂池中,在适当的温度条件下,搅拌进行反应,最后将处理过的废水通过自动排水阀经排水口流出的过程。本发明的有益效果在于,利用硫酸盐具有较强的氧化性形成氧化能力更强的硫酸根自由基和羟基自由基参与污染物的氧化反应,利用钠盐将聚乙烯醇氧化成水不溶性的树脂加以去除,操作简单、运行成本低,对环境不造成二次污染,COD去除率高达99%以上。

标签:
废水处理
江苏 - 常州 来源:中冶有色网 2023-03-19
上一页 9952 9953 9954 9955 9956 ... 10000 ... 20000 ... 30000 ... 32465 下一页
共32465页    到第

中冶有色为您提供最新的有色金属技术理论与应用信息,包括矿山技术、冶金技术、材料制备及加工技术、环境保护技术和分析检测技术等有色技术信息。打造最具专业性的有色金属技术理论与应用平台!

全国热门有色金属设备推荐
展开更多 +
全国热门有色金属技术推荐
展开更多 +

 

江西省隆恩特环保设备有限公司
宣传

报名参会
更多+

2025年10月15日 ~ 17日
2025年10月17日 ~ 19日
2025年10月31日 ~ 11月02日
2025年11月07日 ~ 09日

报告下载

有色专家
更多+

昆明理工大学
教授
中冶沈勘秦皇岛工程技术有限公司
原矿山院院长/教授级高工
江西省科学院应用化学研究所
副主任/副研究员
中南大学
院长/教授
重庆理工大学
教授
赤泥综合利用研究报告2025
推广

热门技术
更多+

推荐企业
更多+

福建省金龙稀土股份有限公司
宣传

发布

在线客服

公众号

电话

顶部
咨询电话:
010-88793500-807