青岛垚鑫智能科技有限公司
宣传

位置:中冶有色 >

有色技术频道 >

分类:
全部
矿山技术
冶金技术
材料制备及加工技术
环境保护技术
分析检测技术
地区:
全部
北京
天津
上海
重庆
河北
山西
辽宁
吉林
黑龙江
江苏
浙江
安徽
福建
江西
山东
河南
湖北
湖南
广东
海南
四川
贵州
云南
陕西
甘肃
青海
内蒙
广西
西藏
宁夏
新疆
其他
其他
展开
 
全部
其他

其他其他有色金属理论与应用

免费发布技术信息>>
二次电池负极用粘结剂组合物、二次电池负极和二次电池

本发明涉及二次电池负极用粘结剂组合物,其能够制造:可以形成能追随负极的体积变化的稳定的负极活性物质层、由此可以得到高的充放电容量、而且可以提高充放电的循环特性的二次电池。一种二次电池负极用粘结剂组合物,其特征在于,其为用于制作含有能与锂形成合金的元素作为活性物质的二次电池负极的粘结剂组合物,所述粘结剂组合物包含使源自烯属不饱和单体的聚合物颗粒分散于聚乙烯醇系树脂水溶液中而得到的乳液,前述聚乙烯醇系树脂/聚合物颗粒的比率以树脂固体成分的重量比计为60/40~99/1。

标签:
加工技术
其他 - 其他 来源:中冶有色网 2023-03-18
生物体电极组成物、生物体电极、生物体电极的制造方法、以及反应复合体

本发明涉及生物体电极组成物、生物体电极、生物体电极的制造方法、以及反应复合体。本发明提供能形成导电性及生物体适合性优异、轻量且能够以低成本制造,即使被水沾湿即使干燥,导电性仍不大幅下降的生物体电极用的生物体接触层的生物体电极组成物、以该生物体电极组成物形成了生物体接触层的生物体电极、及其制造方法。一种生物体电极组成物,含有(A)具有离子性官能团的单体与碳粒子的反应复合体,前述(A)成分含有:和具有选自氟磺酸、氟磺酰亚胺、及N‑羰基氟磺酰胺中的任一的铵盐、锂盐、钠盐、钾盐、银盐的结构的单体键结的碳粒子。

标签:
加工技术
其他 - 其他 来源:中冶有色网 2023-03-18
非水电解液二次电池的制造方法

本发明提供一种非水电解液二次电池的制造方法,在具备卷绕电极体的非水电解液二次电池中,抑制该卷绕电极体中的高电阻区域的形成。在此公开的制造方法是具备带状的正极板和带状的负极板夹着带状的隔膜卷绕而成的扁平形状的卷绕电极体、非水电解液以及电池壳体的非水电解液二次电池的制造方法。上述正极板包含含有锰的锂过渡金属复合氧化物。该制造方法具有以下的工序:将上述卷绕电极体和上述非水电解液收容于上述电池壳体而构建二次电池组装体的组装工序(S1);以电池电压成为3.1V~3.7V的方式对上述二次电池组装体进行初始充电的第一充电工序(S2);以及在上述第一充电工序之后,进行上述二次电池组装体的放电的放电工序(S3)。

标签:
加工技术
其他 - 其他 来源:中冶有色网 2023-03-18
硅阳极材料
硅阳极材料 1032     
 0

提供了一种用于循环锂的电化学电池的硅阳极材料及与其相关的形成方法。硅阳极材料包括多个碳封装硅簇,其中每个碳封装硅簇包含封装在内部体积大于硅纳米颗粒体积的碳壳中的一定体积的硅纳米颗粒。制造硅阳极材料的方法包含形成多个前体簇,其中每个前体硅基簇包括一定体积的SiOx纳米颗粒(x≤2)。该方法进一步包含碳涂覆每个前体簇,以形成多个碳涂覆的SiOx簇;以及还原各碳涂覆SiOx簇中的SiOx纳米颗粒,形成硅阳极材料。

标签:
加工技术
其他 - 其他 来源:中冶有色网 2023-03-18
电子管和摄像装置
电子管和摄像装置 968     
 0

本发明的电子管包括:壳体,其内部保持真空并具有透射电磁波的窗;电子发射单元,其配置于壳体中,并且具有响应于所述电磁波的入射而发射电子的超表面;电子倍增单元,其配置于壳体中,并且倍增从电子发射单元发射的电子,以及电子收集单元,其配置于在壳体中,并且收集由电子倍增单元倍增的电子。窗包括选自石英、硅、锗、蓝宝石、硒化锌、硫化锌、氟化镁、氟化锂、氟化钡、氟化钙、氧化镁和碳酸钙中的至少一种。

标签:
加工技术
其他 - 其他 来源:中冶有色网 2023-03-18
非水电解质二次电池用正极活性物质粒子粉末及其制造方法、和非水电解质二次电池

一种以Li和Mn为主成分、Fd‑3m的空间群即立方尖晶石结构的锰酸锂粒子粉末,包含以一次粒子凝集的状态构成的凝集二次粒子,该凝集状态的二次粒子的平均二次粒径(D50)为4μm以上且20μm以下的范围,在所述二次粒子的表面露出的一次粒子的个数的80%以上呈多面体形状,该多面体形状具有至少一个以上与两个(111)面相邻的(110)面。

标签:
加工技术
其他 - 其他 来源:中冶有色网 2023-03-18
电化学电池的厚电极
电化学电池的厚电极 808     
 0

本发明公开了电化学电池的厚电极。本公开涉及用于电化学电池的高容量(例如大于大约4 mAh/cm2至小于或等于大约50 mAh/cm2的面积比容量)电极。一种示例性电极可包括集流体(例如网状集流体)和具有大于大约150µm至小于或等于大约5 mm的厚度的一个或多个电活性材料层。该电活性材料层可各自包含磷酸锂锰铁(LiMnxFe1‑xPO4,其中0≤x≤1)(LMFP)。电极可进一步包括设置在集流体与电活性材料层之间的一个或多个电子导电粘合剂层。该粘合剂层可包含一种或多种聚合物组分和一种或多种导电填料。电活性材料层可为梯度层,其中更靠近集流体的子层的孔隙率比更远离集流体的层更低。

标签:
加工技术
其他 - 其他 来源:中冶有色网 2023-03-18
具有带未氟化的二烷基氨基磺酰基和/或亚磺酰亚氨基和带全氟烷基磺酰基的阴离子的盐

本发明涉及具有带未氟化的二烷基氨基磺酰基和/或亚磺酰亚氨基和带全氟烷基磺酰基的阴离子的盐。具体地,本发明涉及一种盐,特别是锂盐,其可以用于碱金属‑电池和/或‑电池组和/或电解质和/或其添加剂。为了获得好的离子传导能力以及温度‑和高电压稳定性和防止例如导电体的铝的腐蚀,所述盐包含至少一种碱金属离子和/或至少一种铵化合物和至少一种阴离子,该阴离子包含:‑至少一个未氟化的(N,N‑二烷基氨基)磺酰基和/或至少一个未氟化的(N,N‑二烷基氨基)亚磺酰亚氨基,和‑至少一个(全氟烷基)磺酰基。此外,本发明涉及电解质、添加剂、电池、电池组和制备方法。

标签:
加工技术
其他 - 其他 来源:中冶有色网 2023-03-18
用于提高电池性能的稳定的高镍NMC阴极材料

提供了一种改进的阴极材料,该阴极材料特别适用于锂离子电池。该阴极材料包括含有由下式定义的氧化物的颗粒:LiNiaMnbXcGdO2,其中G为任选的掺杂剂;X为Co或Al;a≥0.5;b+c+d≤0.5;和d≤0.1。每个颗粒包括覆盖该颗粒的表面的涂层,其中该涂层包含选自钒、钽和铌的金属的氧化物的盐。一种团聚物包括该颗粒,其中该团聚物包括间隙界面。该间隙界面包括相邻颗粒上的相邻涂层。

标签:
加工技术
其他 - 其他 来源:中冶有色网 2023-03-18
固体电解质材料及使用了该固体电解质材料的电池

本发明的目的在于提供一种具有高锂离子传导率的固体电解质材料。本发明的固体电解质材料包含Li、Y、O及X。X为选自F、Cl、Br及I中的至少2种的元素。O存在于固体电解质材料的表面区域。

标签:
加工技术
其他 - 其他 来源:中冶有色网 2023-03-18
正极活性物质和使用了该正极活性物质的非水电解质二次电池

本发明涉及正极活性物质和使用了该正极活性物质的非水电解质二次电池。根据本公开,提供能够对非水电解质二次电池赋予优异的输出特性和循环特性的正极活性物质。在此所公开的正极活性物质(10)具备:含有锂复合氧化物的核部(12);在上述核部的至少一部分的表面形成、包含钨(W)的第一区域(14);和在上述第一区域的至少一部分的表面形成、包含钛(Ti)的第二区域(16)。TEM‑EDX分析中的上述第一区域的W浓度比上述核部的W浓度高。

标签:
加工技术
其他 - 其他 来源:中冶有色网 2023-03-18
官能化金属氧化物纳米颗粒和包含颗粒的固体电解质

提供了一种官能化金属氧化物纳米颗粒及其制备方法,所述金属氧化物纳米颗粒是具有通过有机硅烷部分锚定到金属氧化物纳米颗粒上的悬挂式聚合物刷的金属氧化物纳米颗粒。还提供了一种固体电解质,所述固体电解质包含所述的官能化金属氧化物纳米颗粒、锂盐和离子导电聚合物基质;以及一种包括离子导电粘合剂的正极,所述离子导电粘合剂包含分散在离子导电聚合物基质中的所述官能化金属氧化物纳米颗粒。

标签:
加工技术
其他 - 其他 来源:中冶有色网 2023-03-18
整体中间相石墨化物的制造方法

本发明提供可以得到单位质量的放电容量高、且连续充放电时的电极膨胀率低的锂离子二次电池用负极材料的整体中间相石墨化物的制造方法。本发明的整体中间相石墨化物的制造方法具有如下工序:热处理工序,对原生QI(喹啉不溶物)的含量为1质量%以下的焦油和/或沥青进行热处理而得到整体中间相;不熔化工序,使所述热处理工序中得到的整体中间相不熔化而得到整体中间相不熔化处理品;烧成工序,将石墨化催化剂添加于所述不熔化工序中得到的整体中间相不熔化处理品,然后进行烧成而得到整体中间相烧成品;以及石墨化工序,将所述烧成工序中得到的整体中间相烧成品进行石墨化而得到整体中间相石墨化物。

标签:
加工技术
其他 - 其他 来源:中冶有色网 2023-03-18
电池模块
电池模块 1138     
 0

本发明涉及一种电池模块,其具有多个电池单元(2)、特别是锂离子电池单元(20),所述电池单元被容纳在所述电池模块(1)的容纳空间(11)中,其中所述电池模块(1)具有构造用于对多个电池单元(2)进行调温的调温板(5),所述调温板此外构成容纳元件(6),该容纳元件如此容纳所述电池模块(1)的壳体元件(10),使得所述容纳空间(11)相对于所述电池模块(1)的环境(12)被封闭,其中所述壳体元件(10)借助于由所述调温板(5)构成的固定元件(8)形状锁合地和/或传力锁合地与所述调温板(5)相连接。

标签:
加工技术
其他 - 其他 来源:中冶有色网 2023-03-18
电化学装置用构件和电化学装置

本发明公开一种电化学装置用构件,其依次具备集电体、设置于集电体上的电极合剂层、和设置于电极合剂层上的电解质层,电极合剂层含有电极活性物质、具有下述通式(1)所表示的结构单元的聚合物、电解质盐、和熔点小于或等于250℃的熔融盐,所述电解质盐为选自由锂盐、钠盐、钙盐、和镁盐组成的组中的至少一种,电解质层含有无机固体电解质。[式(1)中,X表示抗衡阴离子。]

标签:
加工技术
其他 - 其他 来源:中冶有色网 2023-03-18
α-氨基酸的制造方法
α-氨基酸的制造方法 746     
 0

本发明涉及α‑氨基酸的制造方法,是使特定的α‑氨基酸酰胺与水在锆化合物的存在下进行反应,来制造特定的α‑氨基酸的方法,该锆化合物含有选自锂、镍、铜、锌、铯、钡、铪、钽、铈和镝中的至少1种金属元素、和锆。

标签:
加工技术
其他 - 其他 来源:中冶有色网 2023-03-18
包含环状二腈和氟醚的电解质

本发明旨在将二腈杂环添加剂与氟醚添加剂组合用于电解质组合物、包含该添加剂的电解质组合物和包含该添加剂的电化学装置。电解质组合物适用于电化学装置如锂离子电池中。

标签:
加工技术
其他 - 其他 来源:中冶有色网 2023-03-18
用于电池组系统的壳
用于电池组系统的壳 972     
 0

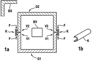
本发明基于电池组系统(BS)、尤其锂离子电池组系统,包含至少一个电池组装置(BV)和至少一个第一壳元件(G1)和至少一个第二壳元件(G2),其中,所述至少一个第一壳元件(G1)和所述至少一个第二壳元件(G2)适用于容纳所述至少一个电池组装置(BV),并且其中,所述至少一个第一壳元件(G1)具有至少一个第一连接件(V1)并且所述至少一个第二壳元件(G2)具有至少一个连接件(V2),其中,所述电池组系统(BS)具有至少一个卡夹装置(K,Kl,K2、K3、K4),其中,所述至少一个卡夹装置(K,Kl,K2、K3、K4)适用于将所述至少一个第一连接件(V1)与所述至少一个第二连接件(V2)进行夹合。

标签:
加工技术
其他 - 其他 来源:中冶有色网 2023-03-18
包含两个含氧官能团的氟化的碳酸盐

披露了包含两个含氧官能团的氟化的碳酸盐、其制备方法、以及其作为用于锂离子电池和超级电容器的溶剂或溶剂添加剂的用途。

标签:
加工技术
其他 - 其他 来源:中冶有色网 2023-03-18
润滑脂组合物和润滑脂组合物的使用方法

提供一种润滑脂组合物,其含有:包含40℃下的运动粘度为10~50mm2/s的低粘度基础油(A1)和40℃下的运动粘度为200~700mm2/s的高粘度基础油(A2)的混合基础油(A)、锂系增稠剂(B)、和100℃下的运动粘度为1000~100000mm2/s的聚合物(C),其中,根据JIS K2220:2013、以10s‑1的剪切速度测定得到的、前述润滑脂组合物的‑10℃下的表观粘度为50~250mPa・s。该润滑脂组合物的加压输送性优异,且在不良润滑条件下的耐磨损性也优异。

标签:
加工技术
其他 - 其他 来源:中冶有色网 2023-03-18
电子照相墨水组合物
电子照相墨水组合物 1221     
 0

在一方面,本公开涉及液体电子照相电极墨水组合物,其包含:包含烯烃与丙烯酸和/或甲基丙烯酸的共聚物的热塑性聚合物;包含锂嵌入材料的电活性材料;电荷辅助剂,和液体载体。

标签:
加工技术
其他 - 其他 来源:中冶有色网 2023-03-18
聚合物电解质、共聚物、电化学装置和制备共聚物的方法

本发明涉及聚合物电解质、共聚物、电化学装置和制备共聚物的方法。聚合物电解质包括由式1表示的共聚物;和锂盐,其中,在式1中,R1、R2、R3、R4、R5、R6、R7、R8、R9、R10、R11、R12、R13、R14、R15、R16、R17、L1、L2、n1、x、y、和z如本文中所公开的。式1

标签:
加工技术
其他 - 其他 来源:中冶有色网 2023-03-18
制造适于高负载的二次电池的电极的方法

本公开内容提供一种通过混合电极活性材料、导电材料、粘合剂以制造常规电极浆料、与无定形硒纳米颗粒混合、涂布电极浆料、在干燥时使硒纳米颗粒蒸发来制备具有通道的电极的方法,以便改善高负载电极中的锂离子的直行性。一种制备二次电池的电极的方法包括:将粘合剂分散或溶解于溶剂中以制备粘合剂溶液;通过将粘合剂溶液与包含电极活性材料、导电材料和无定形硒纳米颗粒的电极材料混合来制备电极浆料;在集流体上涂布电极浆料;以及干燥涂布层以使无定形硒纳米颗粒蒸发并使涂布层起泡。

标签:
加工技术
其他 - 其他 来源:中冶有色网 2023-03-18
电极混合物、其制备方法以及包含其的二次电池

本发明的电极混合物包含:电极活性材料;粘合剂;和导电材料。当对所述电极混合物的横截面成像,使得将在多个分割像素中用所述导电材料100%填充的像素认为是凝聚像素并且将通过对凝聚像素进行计数而得到的值认为是团聚程度时,所述电极混合物中的所述导电材料在所述电极混合物深度方向上的团聚程度具有小于3.0的标准偏差。如上所述的电极混合物包括均匀分布在其中的导电材料,由此具有低的电极电阻。因此,所述电极混合物能够提高已经应用了所述电极混合物的锂二次电池的输出和寿命性能。

标签:
加工技术
其他 - 其他 来源:中冶有色网 2023-03-18
二次电池用正极活性材料和包含其的二次电池

本发明提供一种二次电池用正极活性材料和包含所述正极活性材料的二次电池,所述正极活性材料包含在包含锂复合金属氧化物的核的表面上的含有碱金属氧化物和碱土金属氧化物的非晶态玻璃的表面处理层,由此降低湿气反应性,从而防止由湿气导致的所述正极活性材料的劣化和在驱动电池时气体的产生。

标签:
加工技术
其他 - 其他 来源:中冶有色网 2023-03-18
电池组电池、电池组模块和所述电池组模块的应用

本发明涉及一种电池组电池、尤其锂离子电池组电池,所述电池组电池具有:棱柱形的电池组电池壳体(6),所述电池组电池壳体容纳所述电池组电池(2)的电化学组件,所述电池组电池此外具有被构造用于提高热传导能力的热均衡元件(8),所述热均衡元件如此布置在所述电池组电池壳体(6)的最小侧面(64)上,使得所述最小侧面(64)的未被所述热均衡元件(8)所覆盖的区域(9)至少部分地包围所述热均衡元件(8)。

标签:
加工技术
其他 - 其他 来源:中冶有色网 2023-03-18
化学蓄热造粒体及其制造方法

本发明提供在100~350℃的低温区域引起脱水吸热反应、并且高强度的化学蓄热造粒体。一种化学蓄热造粒体,其特征在于,其是以选自镁的氧化物、镁的氢氧化物、镁的复合氧化物及镁的复合氢氧化物中的至少1种化合物、选自锂化合物、钾化合物及钠化合物中的至少1种化合物、以及碳化合物为主成分而构成的化学蓄热造粒体,化学蓄热造粒体中的碳含量为12~35质量%的情况下,相对于前述化学蓄热造粒体中的Mg在0.1~50mol%的范围包含Li、K、和/或Na,进而前述镁的复合氧化物及镁的复合氢氧化物相对于Mg在1~40mol%的范围包含选自Ni、Co、Cu及Al中的至少1种元素,在100~350℃的低温区域中表现出脱水吸热反应优异的耐久性。

标签:
加工技术
其他 - 其他 来源:中冶有色网 2023-03-18
炔基化16-取代-17-酮基类固醇的方法

本发明涉及一种通过使用甲硅烷基保护的锂乙炔化物处理、然后进一步脱甲硅烷基化而将16‑亚甲基‑17‑酮基类固醇乙炔基化为相应的16‑亚甲基‑17α‑乙炔基‑17β‑羟基类固醇的方法。所获得的产物可用作为制备数种制药学活性试剂的中间体,例如Nestorone®或醋酸美仑孕酮。

标签:
加工技术
其他 - 其他 来源:中冶有色网 2023-03-18
电致变色装置
电致变色装置 1102     
 0

本发明提供了一种电致变色装置。先前的电致变色装置常常存在可靠性差和性能差的问题。一些问题是由装置不恰当的设计和构造引起。为改良装置的可靠性,电致变色装置的两层,即反电极层与电致变色层各自可经制造以包括规定量的锂。此外,电致变色装置可进行多步热化学调整操作以改良性能。另外,谨慎选择电致变色装置的一些组件的材料和形态,以改良性能和可靠性。在一些装置中,装置的所有层都是完全固体和无机的。

标签:
加工技术
其他 - 其他 来源:中冶有色网 2023-03-18
包装电极体及其制造方法

依据本发明一实施方式的包装电极体,其为使用电极叠层方式制造并用于二次电池的电极体,包括:具有可可逆性地吸留及放出锂离子的电极活性物质的覆层及无纹突出部的电极板;仅使所述无纹突出部露出,覆盖所述电极板两面的第一隔离膜及第二隔离膜;及位于所述电极板的周围至少一部分上的所述第一隔离膜或所述第二隔离膜中任意一个的外面,使所述第一隔离膜和所述第二隔离膜贴紧的绝缘性高分子胶片。所述绝缘性高分子胶片的两面无需有粘贴成分。

标签:
加工技术
其他 - 其他 来源:中冶有色网 2023-03-18
上一页 513 514 515 516 517 ... 1471 下一页
共1471页    到第

中冶有色为您提供最新的其他其他有色金属理论与应用信息,涵盖发明专利、权利要求、说明书、技术领域、背景技术、实用新型内容及具体实施方式等有色技术内容。打造最具专业性的有色金属技术理论与应用平台!

全国热门有色金属设备推荐
展开更多 +
全国热门有色金属技术推荐
展开更多 +

 

江西省隆恩特环保设备有限公司
宣传

报名参会
更多+

报告下载

有色专家
更多+

湖南有色金属研究院
教授级高工/原总工程师
中国矿业大学
副院长/教授
长沙有色冶金设计研究院有限公司
正高级工程师/中国铝业首席工程师/全国有色金属行业设计大师/国家注册采矿工程师
中科院过程工程研究所循环经济技术中心
主任
中南大学
教授
赤泥综合利用研究报告2025
推广

热门技术
更多+

推荐企业
更多+

福建省金龙稀土股份有限公司
宣传

发布

在线客服

公众号

电话

顶部
咨询电话:
010-88793500-807