青岛垚鑫智能科技有限公司
宣传

位置:中冶有色 >

有色技术频道 >

分类:
全部
矿山技术
冶金技术
材料制备及加工技术
环境保护技术
分析检测技术
地区:
全部
北京
天津
上海
重庆
河北
山西
辽宁
吉林
黑龙江
江苏
浙江
安徽
福建
江西
山东
河南
湖北
湖南
广东
海南
四川
贵州
云南
陕西
甘肃
青海
内蒙
广西
西藏
宁夏
新疆
其他
其他
展开
 
全部
其他

其他其他有色金属理论与应用

免费发布技术信息>>
导电聚合物-无机纳米粒子(CPIN)纳米列阵及其制备方法和使用CPIN纳米列阵的电池

本发明提供了一种导电聚合物-无机纳米粒子 的纳米列阵。纳米粒子形成并经过封盖,这增强了纳米粒子的 性质且操作更加容易。封盖可以在纳米粒子形成过程中进行, 并可使纳米粒子功能化。然后纳米粒子与导电聚合物相结合以 产生导电矩阵,该导电矩阵接着与一个基质进行电结合以形成 锂电池的阴极或阳极。纳米粒子在矩阵中通过封盖剂和/或导电 聚合物相互电架线。该导电聚合物允许在用作电池阴极或阳极 时反复嵌入Li+。

标签:
加工技术
其他 - 其他 来源:中冶有色网 2023-03-18
非水电解质电池的外壳及其制造方法

一种具有批量生产性、壁薄且抗损伤能力强的非水电解质电池的外壳。该外壳(4)由壳体主体(4a)及盖板(4b)构成,在装入锂离子聚合物二次电池等非水电解质电池之后,通过夹持进行接合成一体。盖板(4b)由合成树脂制的膜状的薄板材(4c)的坯料构成,外壳(4)制作得很薄。壳体主体(4a)和盖板(4b)的壳体主体外周框架(9)、盖板外周框架(10)利用注射模塑成形方法成形,构成台阶部(9a)、(10a)。由于具有此台阶部,成为即使存在冲击等也可以确保机械强度的结构,成为抗损伤能力强的外壳(4)。

标签:
加工技术
其他 - 其他 来源:中冶有色网 2023-03-18
用于充电的磁颗粒和使用它的装置

本发明公开了一种适于充电的磁颗粒。该磁颗粒 包括粒径为5μm或更大的磁颗粒。该粒径为5μm或更大的 磁颗粒的短轴长度/长轴长度的标准差为0.08或更大、体电阻值在104-109Ωcm范围内。另外, 还公开了使用该磁颗粒的充电件、充电装置、和电摄影设备。

标签:
加工技术
其他 - 其他 来源:中冶有色网 2023-03-18
具有降低的固化温度的基于无铬硅酸盐的陶瓷组合物

本发明描述了基于某种基于无铬硅酸盐的粘结剂的组合物。该组合物为锂掺杂的硅酸钾与下列物质组合的水溶液:铝粉末或铝合金粉末、锌粉末或它们的组合。本发明的涂层能够通过包含纳米级氧化铈的胶体溶液来实现在低至350–450℉的温度下的完全固化,因此使得涂层特别适用于施加在温度敏感性基体材料上。

标签:
加工技术
其他 - 其他 来源:中冶有色网 2023-03-18
有价金属的回收方法
有价金属的回收方法 1032     
 0

本发明的方法从对含有锂离子二次电池的正极材料的废弃物实施湿式处理而获得且含有钴离子、镍离子及杂质的酸性溶液,回收作为有价金属的钴及镍中的至少钴,该方法包括:Co回收用第一萃取工序,通过溶剂萃取而从所述酸性溶液萃取并且反萃取钴离子;及Co回收用第二萃取工序,通过溶剂萃取而从Co回收用第一萃取工序所获得的反萃取后液体萃取并且反萃取钴离子,所述Co回收用第一萃取工序具有:溶剂萃取过程,将所述酸性溶液中的钴离子萃取至溶剂;洗涤过程,对萃取有钴离子的所述溶剂进行洗涤;及反萃取过程,将洗涤后的所述溶剂中的钴离子反萃取至溶液。

标签:
加工技术
其他 - 其他 来源:中冶有色网 2023-03-18
发电机
发电机 1051     
 0

一种发电机包括外壳(1),其具有两个符号的导电板的封装,所述封装包括至少一个单元电池,所述单元电池由一层铁电材料(3)和两个相异导电板构成,它们按照下述顺序放置:导电板(2)‑铁电材料(3)‑不同于第一个导电板(2)的导电板。所述封装内的所有层相互紧密配合,并且所述导电板(2)由具有不同自由电子浓度的相异导体构成。被用作铁电材料的铁电半导体可以选自由亚销酸钠、基于钛酸钡、铌酸锂、铌酸钾、钛酸铅的半导体陶瓷等构成的列表。

标签:
加工技术
其他 - 其他 来源:中冶有色网 2023-03-18
经稳定化的多价阴离子聚合引发剂及其制备方法

本发明提供了一种经稳定化的引发剂溶液,其包含含有多价锂化的引发剂和脂族或脂环族溶剂。

标签:
加工技术
其他 - 其他 来源:中冶有色网 2023-03-18
制备电池阳极浆料的方法

本文提供了一种制备锂离子电池阳极浆料的方法。在与阳极浆料的其它组分混合之前,将硅基材料均匀分散。本文所公开的方法可以避免纳米尺寸的硅基材料的凝集,且有效地将纳米尺寸的硅基材料均匀地分散在阳极浆料中。利用本文所公开的阳极浆料涂覆的阳极同样展示出电导性的提高。

标签:
加工技术
其他 - 其他 来源:中冶有色网 2023-03-18
电化学装置用电极及其制造方法、电化学装置、以及聚合物电解质组合物

本发明公开了一种电化学装置用电极,其具备电极集电体和设置于电极集电体的至少一个主面上的电极合剂层,电极合剂层含有电极活性物质、聚合物、电解质盐和熔点小于或等于250℃的熔融盐,所述聚合物具有下述通式(1)所表示的结构单元,所述电解质盐为选自由锂盐、钠盐、钙盐和镁盐组成的组中的至少一种。[式(1)中,X表示抗衡阴离子。]

标签:
加工技术
其他 - 其他 来源:中冶有色网 2023-03-18
利用直接涂覆在纳米孔隔板上的电极的电池

提供了一种制备锂电池的方法,包括:(a)将多孔隔板层涂覆于基板,所述多孔隔板层包括无机氧化物颗粒;(b)将第一阴极层从包含有机溶剂的颜料分散体直接涂覆于所述多孔隔板层的第一部分;(c)将一个或多个阴极集流器层直接涂覆于所述第一阴极层;(d)将第二阴极层直接涂覆于所述一个或多个阴极集流器层;(e)将第一阳极层直接涂覆于所述多孔隔板层的第二部分;(f)将一个或多个阳极集流器层直接涂覆于所述第一阳极层;以及(g)将第二阳极层直接涂覆于所述一个或多个阳极集流器层。

标签:
加工技术
其他 - 其他 来源:中冶有色网 2023-03-18
极耳区域增加的电池单元及其制造方法和设备

提供了一种锂离子电池电极、电池单元或模块,及其制造方法和设备。电池包括具有第一主体和第一极耳的第一电极箔片。第一主体具有限定长度的长边缘和限定宽度的短边缘。第一主体的长宽比至少为二,但可以至少为五。第一极耳从第一主体的一个长边缘延伸并且完全位于第一主体的一个短边缘与长边缘的中点之间。第一涂层由阳极材料和阴极材料中的一种形成,并且大致上覆盖第一电极箔片的第一主体的至少一侧。

标签:
加工技术
其他 - 其他 来源:中冶有色网 2023-03-18
有机无机复合水凝胶前体组合物及有机无机复合水凝胶

提供一种有机无机复合水凝胶前体组合物,其特征在于,含有水溶性有机单体(A)、膦酸改性锂蒙脱石(B)、纤维素纳米纤维(C)、水(D)和溶剂(E),所述溶剂(E)的挥发性在60℃、1个大气压的开放体系中每1cm2·1小时为0.1g以下(0.1g/cm2·小时·60℃·1atm以下)。该有机无机复合水凝胶前体组合物能够容易地得到保存稳定性和水中硬化性优异、即使在大气开放条件下质量变化也小、具有优异的力学物性的水凝胶,因此能够应用于土木工程现场等各种工业用途。

标签:
加工技术
其他 - 其他 来源:中冶有色网 2023-03-18
正极活性物质和使用该正极活性物质的非水电解质二次电池

本发明提供一种能够对非水电解质二次电池赋予优异的输出特性、抑制循环充放电后的电阻增加的正极活物质。这里公开的正极活性物质具备包含锂过渡金属复合氧化物的核部(10)、以及被覆该核部的表面的至少一部分的涂覆部(12)。上述涂覆部(12)包含板钛矿型TiO2和金红石型TiO2。

标签:
加工技术
其他 - 其他 来源:中冶有色网 2023-03-18
三嗪烷类及其制备方法

本发明涉及下式所表示的化合物:式(i)其中R1包括氢原子或具有1‑2个碳原子的烷基;其中R2包括亚烷基、亚芳基或杂环基团;和其中M包括单价金属阳离子,例如钠、锂或钾;或多价金属阳离子,例如锌、镍、铁、钛或钴;或通过将一个或多个质子加成到含氮碱得到的铵或烷基铵阳离子。

标签:
加工技术
其他 - 其他 来源:中冶有色网 2023-03-18
具有板形分立元件的电存储系统、板形分立元件、其制造方法及其应用

本发明涉及一种厚度小于2mm的电存储系统,其包括至少一个板形分立元件,其中,所述板形分立元件具有高的对碱金属或碱金属的离子、尤其锂的侵蚀的耐受性,其中,所述板形分立元件具有较低的TiO2含量,其中,优选小于2重量%的TiO2含量、优选小于0.5重量%的TiO2含量、以及优选无TiO2。

标签:
加工技术
其他 - 其他 来源:中冶有色网 2023-03-18
液流电池
液流电池 1055     
 0

本公开的一技术方案涉及的液流电池,具备:包含锂离子和第1氧化还原物质的第1液体;与所述第1液体接触的第1电极;作为所述第1电极的对电极发挥作用的第2电极;将所述第1电极和所述第2电极彼此隔离的隔离部;第1收纳部;以及使所述第1液体在所述第1电极与所述第1收纳部之间循环的第1循环机构,所述第1液体为非水性,并且所述第1循环机构具备磁驱动型泵。

标签:
加工技术
其他 - 其他 来源:中冶有色网 2023-03-18
形成能量存储器的方法

在各种实施方案中,可提供一种形成能量存储器(200、300、400、500、600)的方法,所述能量存储器(200、300、400、500、600)具有:阳极(1012)和阴极(1022),所述阳极(1012)具有:具有第一化学势的活性阳极材料(1012a);所述阴极(1022)具有:包括铝的箔(302);包括锂的活性阴极材料,其中所述活性阴极材料具有不同于第一化学势的第二电化学势;保护材料(304),其由气相形成并以流体密封的方式将活性阴极材料与箔(302)隔离,所述方法包含:用包括活性阴极材料和质子性溶剂的混合物涂覆箔(302);从已涂覆箔(302)的混合物提取溶剂以形成包括活性阴极材料的固体层。

标签:
加工技术
其他 - 其他 来源:中冶有色网 2023-03-18
非水电解质二次电池用负极板及非水电解质二次电池

本发明的一个实施方式的非水电解质二次电池用负极板具有配置于负极芯体上的包含能够吸藏、放出锂离子的负极活性物质的负极合剂层,所述负极芯体是厚度为5.9~8.1μm、表面粗糙度Rz为0.8~1.5μm的铜箔,所述负极合剂层包含由石墨材料与SiOx(0.5≤x<1.6)表示的氧化硅的混合物构成的负极活性物质、粘结剂、以及羧甲基纤维素‑铵盐,所述氧化硅的含有比例为全部负极活性物质中的0.5~20质量%。

标签:
加工技术
其他 - 其他 来源:中冶有色网 2023-03-18
牙科用粘合剂组合物,其制备和用途

本发明涉及牙科用粘合剂组合物,其包含具有酸性部分的烯键式不饱和组分、不具有酸性部分的烯键式不饱和组分、水、敏化剂、还原剂、包含(甲基)丙烯酸酯官能化硅烷和氨基官能化硅烷的硅烷组合物。该组合物尤其可用于将基于二硅酸锂和其它玻璃陶瓷材料的牙科修复体粘接性地固定到牙齿表面。

标签:
加工技术
其他 - 其他 来源:中冶有色网 2023-03-18
混合动力车辆
混合动力车辆 738     
 0

提供能防止由于向电动机的电力供给的不足导致违背驾驶员的意愿而停车的混合动力车辆。混合动力车辆具备检测ISG的旋转速度的曲柄角传感器。切换部形成从铅电池向ISG提供电力的第1状态和从锂电池向ISG提供电力的第2状态。ECU在切换部为第2状态的状态下,停止发动机的运转且进行由ISG的动力行驶的EV行驶。当在EV行驶时,ISG的旋转速度下降到预先设定的阈值以下的情况下(步骤S1中为“是”),ECU使切换部从第2状态转移到第1状态,且通过燃料喷射启动发动机且实施由发动机的动力行驶的发动机行驶(步骤S2)。阈值的旋转速度高于停止状态的旋转速度。

标签:
加工技术
其他 - 其他 来源:中冶有色网 2023-03-18
二氧化硅混合用改性溶液聚合二烯类橡胶的制造方法及其橡胶组合物

本发明涉及改性溶液聚合二烯类橡胶的制造方法,研究了兼顾用烷氧基硅烷化合物改性的溶液聚合二烯类橡胶的储存稳定性和二氧化硅混合物中的物性改良,将在改性溶液聚合二烯类橡胶用锡化合物偶联的3支链或4支链结构成分引入几十%,接着通过将烷氧基硅烷改性二烯类橡胶进行蒸汽凝结、干燥,从而开发储存稳定性良好,与二氧化硅的反应性高且改性溶液聚合二烯类橡胶的制造方法,进一步,通过将烷基锂用作聚合引发剂的橡胶的聚合起始末端上引入易反映的结构,从而实现了进一步的物性改良。

标签:
加工技术
其他 - 其他 来源:中冶有色网 2023-03-18
成形性、焊接性优良的电池壳体用铝合金板

本发明提供具有能应用于大型锂离子电池容器的高强度,且成形性优异、激光焊接性也优异的1000系铝合金板。该板是由DC铸造平板制造的铝合金板,该铝合金板具备含有0.01~0.4质量%的Si、0.01~0.5质量%的Fe、0.002~0.3质量%的Co,还包括余分的Al和杂质,作为杂质的Cu被限制为低于0.2质量%的成分组成;以及圆当量径3μm以上的第二相粒子数大于等于110个/mm2且低于1000个/mm2的金相。该冷轧退火板呈现30%以上的伸长率的值。

标签:
加工技术
其他 - 其他 来源:中冶有色网 2023-03-18
汽轮机乏汽潜热综合利用的方法与系统

本发明属于热能综合利用技术领域,具体涉及一种汽轮机乏汽潜热综合利用的方法与系统。本发明方法包括:汽轮机排出乏汽;将汽轮机排出的乏汽传输至余热利用冷凝系统,余热利用冷凝系统利用乏汽潜热,并将乏汽冷凝为水,完成郎肯循环。本发明系统包括:汽轮机;余热利用冷凝系统,与所述汽轮机连接,以利用汽轮机的乏汽潜热,并将乏汽冷凝,完成郎肯循环。利用余热的凝汽器既可以是特别设计的低温多效蒸发海水淡化装置,也可以是单效溴化锂吸收式空调机组。本方法和系统在保证汽轮机组的发电效率较高的条件下还能够高效利用低压乏汽的潜热。

标签:
加工技术
其他 - 其他 来源:中冶有色网 2023-03-18
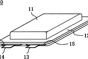
密封型电池的电流中断装置

本发明涉及密封型电池的电流中断装置。锂离子二次电池(10)的电流中断装置(100)包括电连接到电池外壳(15)的正极端子(11)的铆钉(140)、设置在所述电池外壳(15)内部的正极集电板(31)、以及置于所述铆钉(140)与所述正极集电板(31)之间的回动板(150)。该电流中断装置(100)通过所述回动板(150)响应于所述电池外壳(15)内部压力增加而变形,将所述铆钉(140)与所述正极板(31)电气地切断。所述铆钉(140)的内周面接合到所述回动板(150)的外周面,并且无论是否激活所述电流中断装置(100),所述回动板(150)的上表面都不与所述铆钉(140)接触。

标签:
加工技术
其他 - 其他 来源:中冶有色网 2023-03-18
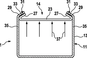
储能电芯和用于制造储能电芯的方法

本发明涉及一种特别是构造为锂离子蓄电池的储能电芯(1),其包括壳体(2)、密封地闭合壳体(2)的盖(3)、至少一个设置在壳体(2)中的具有正的集流器(5)和负的集流器(6)的电化学元件(4),其中,壳体(2)包括与盖(3)对置的底部(9)和将盖(3)与底部(9)连接的罩面(10),其中,盖(3)装入壳体(2)中,使得盖(3)的一圈侧面(11)被壳体(2)的罩面(10)覆盖,其中,盖(3)与罩面(10)焊接,并且其中,在罩面(10)处构造有至少一个用于支撑盖(3)的隆起部(13),和/或其中,盖(3)与罩面(10)夹紧。

标签:
加工技术
其他 - 其他 来源:中冶有色网 2023-03-18
非水电解质二次电池和非水电解质二次电池的制造方法

本发明的课题在于提供一种非水电解质二次电池,其在反复充放电后的直流电阻比较低。而且,本发明提供一种非水电解质二次电池作为课题解决手段,该非水电解质二次电池具备:具有正极活性物质的正极、以及电解质,充电时的正极电位相对于锂金属电位为3.7V以下,上述电解质含有具有特定结构的环状硫酸酯化合物。

标签:
加工技术
其他 - 其他 来源:中冶有色网 2023-03-18
具有壳体中的形状锁合地固定的盖板的电池单元

电池单元(1),尤其锂离子电池单元,在壳体(11)中接收卷绕元件、两个集电器和电解质。棱柱形成形的壳体(11)具有向外敞开的容器(13)和带有盖板(23)的封闭容器的开口(14)的盖组件。盖板(23)和容器(13)的壁部构造在开口(14)的区域中,使得壁部通过形状锁合阻止盖板(23)从开口(14)中出来的运动。在壁部和盖板(23)的外边缘(27)的向该壁部去地指向的壁表面之间设置弹性能压缩的密封元件(31),以便密闭地相对于容器(13)密封盖板(23)。基于盖板(23)与容器(13)的边缘之间的形状锁合可以在壳体(11)中的内压增加的情况下同样增加密封作用。在所提出的电池单元(1)中可避免盖板(23)必须被焊接在容器(13)上。

标签:
加工技术
其他 - 其他 来源:中冶有色网 2023-03-18
镀硅金属板的制造方法

一种镀硅金属板的制造方法,其包含:在由氯化锂、氯化钾和碱金属氟化物构成的熔融盐中,溶解含硅的碱金属盐和含硅的铵盐的至少一者而调制熔融盐电解浴;在将作为阴极的金属板浸渍于上述熔融盐电解浴中的状态下,进行作为脉冲宽度的通电时间为0.1秒~3.0秒、占空比为0.5~0.94的条件的恒流脉冲电解或恒电位脉冲电解,从而在上述金属板上形成硅层。

标签:
加工技术
其他 - 其他 来源:中冶有色网 2023-03-18
用于电池系统的壳体
用于电池系统的壳体 1046     
 0

本发明涉及一种电池系统(BS),特别是锂离子电池系统,具有至少一个电池装置(BV)和至少一个控制装置(SV),所述控制装置适合于控制和监视至少一个电池装置(BV),其中,至少一个电池装置(BV)和至少一个控制装置(SV)分别具有至少一个壳体部件(G)和至少一个插塞装置(S),其中,至少一个电池装置(BV)和至少一个控制装置(SV)可以分别通过至少一个插塞装置(S)插塞在一起,从而所述壳体部件(G)形成一个共同的壳体,在该壳体的内腔中设置着至少一个电池装置(BV)和至少一个控制装置(SV)。

标签:
加工技术
其他 - 其他 来源:中冶有色网 2023-03-18
用于在使用电池系统时提高安全性的装置和方法

本发明涉及一种电池系统(B),尤其是锂离子电池系统,具有用于在使用电池系统(B)的至少一个部件(KP)时提高安全性的至少一个装置(V),其中,至少一个装置(V)适合用于至少一个部件(KP)的除气和至少一个部件(KP)具有除气口(BO),其中,至少一个装置(V)通过结合被安置到至少一个部件(KP)上并且覆盖除气口(BO)。

标签:
加工技术
其他 - 其他 来源:中冶有色网 2023-03-18
上一页 515 516 517 518 519 ... 1471 下一页
共1471页    到第

中冶有色为您提供最新的其他其他有色金属理论与应用信息,涵盖发明专利、权利要求、说明书、技术领域、背景技术、实用新型内容及具体实施方式等有色技术内容。打造最具专业性的有色金属技术理论与应用平台!

全国热门有色金属设备推荐
展开更多 +
全国热门有色金属技术推荐
展开更多 +

 

江西省隆恩特环保设备有限公司
宣传

报名参会
更多+

报告下载

有色专家
更多+

有研科技集团有限公司
中国工程院 院士
北京科技大学
教授
江西理工大学
副校长/教授
江西理工大学
教授
长沙矿冶院检测技术有限责任公司
总经理
赤泥综合利用研究报告2025
推广

热门技术
更多+

推荐企业
更多+

福建省金龙稀土股份有限公司
宣传

发布

在线客服

公众号

电话

顶部
咨询电话:
010-88793500-807