青岛垚鑫智能科技有限公司
宣传

位置:中冶有色 >

有色技术频道 >

> 电冶金技术

分类:
全部
矿山技术
冶金技术
材料制备及加工技术
环境保护技术
分析检测技术
 
全部
火法冶金技术
湿法冶金技术
电冶金技术
真空冶金技术
地区:
全部
北京
天津
上海
重庆
河北
山西
辽宁
吉林
黑龙江
江苏
浙江
安徽
福建
江西
山东
河南
湖北
湖南
广东
海南
四川
贵州
云南
陕西
甘肃
青海
内蒙
广西
西藏
宁夏
新疆
其他
其他
展开
 
全部
沈阳
大连
鞍山
抚顺
本溪
丹东
锦州
营口
阜新
辽阳
盘锦
铁岭
朝阳
葫芦岛

辽宁沈阳有色金属电冶金技术理论与应用

免费发布技术信息>>
组织稳定性好、易加工的镍钴基高温合金

本发明属于镍基高温合金领域,具体为一种组织稳定性好(无Ni3Ti相析出)、易加工的镍钴基高温合金,该合金可以用铸造+锻造(C&W)工艺和粉末冶金工艺进行加工,主要适用于高温下(750℃)承受高应力的零部件,如航空发动机中的涡轮盘和叶片材料。按重量百分比计,其化学成分为:Ru?0.1~10%,Co?22~35%,Cr?10~20%,Ta?0.10~5%,W?0.10~5%,Mo?0.10~5%,Ti?3~10%,Al0.2~5%,Zr0.01~0.10%,V?0.10~1%,Nb?0.10~5%,Hf?0.1~2%,C?0.005~0.15%,Fe?0~2%,Mg0.01~0.1%,Mn?0.05~0.50%,B?0.005~0.1%,余量为Ni。本发明合金是在含高Co和Ti的TMW合金基础上加入Ru元素,在保证合金高承温能力的情况下,使合金的组织稳定性(无Ni3Ti相析出)和可加工性有明显提高。

标签:
电冶金技术
辽宁 - 沈阳 来源:中冶有色网 2023-03-18
提高埋弧堆焊层硬度的装置及方法

本发明属于埋弧堆焊技术领域,特别是涉及一种通过外加复合脉冲交变纵向磁场作用下改善埋弧堆焊层冶金质量,提高其硬度的装置及方法。其特征在于:所述方法是首先将用铜管绕制而成的磁头装在埋弧焊焊枪上,将外加磁场电源与磁头通过导线相连;然后将磁头置于工件的正上方,磁头距工件距离在30mm~50mm;启动磁场电源,选取与焊接工艺参数相对应的激磁电流、磁场频率;使磁头产生复合脉冲交变纵向磁场;最后让埋弧焊焊枪与工件接触,然后覆上焊剂进行起弧焊接,使埋弧焊在磁头产生的复合脉冲交变纵向磁场内进行焊接。本发明在纵向磁场的作用下,熔池深宽比下降,堆焊层焊缝成形良好。磁场强度为96mT时,堆焊层焊缝的微观组织得到明显细化,出现硬质相碳化物改善组织,硬度提高了5.09HRC。

标签:
电冶金技术
辽宁 - 沈阳 来源:中冶有色网 2023-03-18
远红外辐射涂料的制造方法

本发明涉及一种远红外辐射涂料的制造方法。本发明的涂料采用冶金工业矿渣-铜渣为辐射材料,及氧化物,硅酸盐和磷酸盐无机粘结剂组成。能大幅度地提高加热效率,节约能源。具有材料来源广泛,制造成本低,可广泛应用于远红外加热技术领域的特点。

标签:
电冶金技术
辽宁 - 沈阳 来源:中冶有色网 2023-03-18
利用钢渣制备介孔硅铝材料的方法

本发明属于冶金资源综合利用技术领域,特别涉及一种利用钢渣制备介孔硅铝材料的方法。首先在钢铁冶炼出渣过程中对钢渣进行改质,随后钢渣经过酸浸,无需进一步碱浸,即可得到含有硅铝元素的溶液,作为合成介孔材料的母液。将母液pH调节为0~3,加入表面活性剂作为模板剂,将混合溶液在20~140℃温度条件下合成3~72h,合成后进行固液分离得到介孔硅铝材料前驱体和富Ca/Mg溶液,将前驱体在500~600℃煅烧4~10h去除表面活性剂,得到有序介孔材料。富Ca/Mg溶液用于间接碳捕集,得到固体碳酸盐。本发明以冶金行业产生的钢渣作为廉价的原材料,无需额外加入硅铝源,既可制得有序介孔材料,并且合成后经固液分离后的滤液含有大量钙镁元素可用于捕集CO2,提高了钢渣的利用率。

标签:
电冶金技术
辽宁 - 沈阳 来源:中冶有色网 2023-03-18
超声波法制备三氯一氨合铂酸钾的方法

本发明属于贵金属冶金领域,具体涉及一种超声波法制备三氯一氨合铂酸钾的方法。所述三氯一氨合铂酸钾的制备方法,包括以下步骤:将氯亚铂酸钾球磨,用适量HCl浸泡,过滤,将预处理氯亚铂酸钾溶于水中备用;将得到的氯亚铂酸钾水溶液,置于超声场中震荡,震荡期间加热,加入醋酸铵水溶液,将体系温度升高,继续震荡20~30 min;过滤得直收三氯一氨合铂酸钾,将滤液备用;滤液中加入Pt(NH3)4Cl2,生成[Pt(NH3)4][PtCl4]沉淀,过滤,干燥;干燥后与氯亚铂酸钾混合,研磨至绿色,冷水溶解,再磨碎。本发明提供的制备方法将氯铂酸钾粒径细化、酸化预处理,将整个反应体系置于超声场中合成,提高了三氯一氨合铂酸钾直收率、总产率和含量,适合工业化生产。

标签:
电冶金技术
辽宁 - 沈阳 来源:中冶有色网 2023-03-18
五氧化二钒生产过程中除磷渣回收提钒工艺

五氧化二钒生产过程中除磷渣回收提钒工艺涉及有色金属冶金特别是钒冶金技术领域。本发明解决了钒厂在生产五氧化二钒过程中,造成了大量的钒资源损失,现有技术钒的回收效果差,达不到有效回收利用的问题。本发明步骤一:取除磷渣。步骤二:将除磷渣经由泥浆泵打入沉淀罐中,按比例加水,搅拌。步骤三:搅拌后,蒸汽加热,继续加热、搅拌。步骤四:沸腾时,保持沸腾状态,停止搅拌,静止后固液分离。步骤五:混合罐混合均匀再送至储液罐,静止后送沉淀罐。步骤六:加入硫酸铵,用蒸汽加热至沸腾,得多钒酸铵。步骤七:将上清液与多钒酸铵固液分离,多钒酸铵用橡胶带式真空过滤机洗涤。步骤八:送入熔片工序,制取片钒。步骤九:包装。

标签:
电冶金技术
辽宁 - 沈阳 来源:中冶有色网 2023-03-18
燃气轮机叶片微弧沉积涂层修复工艺方法

本发明涉及燃气轮机维修领域,具体为一种燃气轮机叶片微弧沉积涂层修复工艺方法,尤其是重型燃气轮机的压气机叶片、涡轮转子叶片与导向器叶片/喷嘴件经服役使用过程所引起的几何构形与表面涂层的局部损伤区,采用微弧沉积涂层修复之一种工艺方法,对燃气轮机叶片进行微弧沉积涂层修复,微弧沉积涂层过程是指:以电极棒为正极、工件为负极,在电极棒与工件表面之间高频率直流脉冲微弧放电,并发生电极棒材料自耗转移到工件表面接触区域的冶金过程,材料转移沉积过程的环境为惰性气体或真空或绝缘油。本发明可以解决现有技术中存在的修复工艺复杂、易变形、成本高,不能及时可靠修复等问题。

标签:
电冶金技术
辽宁 - 沈阳 来源:中冶有色网 2023-03-18
汽车减速箱壳体激光修复再制造的方法

本发明涉及一种汽车减速箱壳体激光修复再制造的方法,其特征包括以下工艺过程:首先对汽车减速箱壳体预处理:在室温下对汽车减速箱壳体进行除油、除锈,并用酒精清洗干净,然后合金粉末的选择和自动送粉装置的调节:选用具有优良耐磨性能且与基体冶金相容性良好的铁基合金粉末,调节自动送粉装置,使自动送粉头出来的合金粉末正好落在激光熔池内,调节送粉量,使合金粉末涂层的厚度达到0.2—1.0mm。本发明合金涂层均匀、致密,具有优良的耐磨抗蚀性能,与基材为冶金结合,结合强度高,采用本发明修复制造的汽车减速箱壳体耐磨性能和使用寿命均得到很大的提高。

标签:
电冶金技术
辽宁 - 沈阳 来源:中冶有色网 2023-03-18
高强高导耐氧化的低银铜基合金及其制备

一种高强高导耐氧化的低银铜基合金,其特征在于:所述高强高导耐氧化的低银铜基合金由低银铜基合金粉与0.2~1.0%的金刚石粉和0.05~0.1%的石墨化的纳米碳纤维通过粉末冶金工艺方法制备;所述的低银铜合金粉含有0.08~0.12%的AG,0.05~0.5%的Y、LA、CE或者混合稀土的一种或者它们几种的混合。本发明合金具有较高的强度、硬度,较强的抗裂纹和气孔的扩展性,同时也具有一定的抗熔焊能力,较好的导电性能。

标签:
电冶金技术
辽宁 - 沈阳 来源:中冶有色网 2023-03-18
从月壤月岩型混合氧化物提取金属并制备氧气的方法

本发明属于冶金领域,特别涉及一种从月壤月岩型混合氧化物提取金属并制备氧气的方法。本发明方法是以金属铝为还原剂,于940-2200℃对月壤月岩型混合氧化物进行铝热还原2~6h,然后进行渣金分离,得到Al-Si-Fe合金和富Al2O3的混合氧化物,将富Al2O3混合氧化物溶解在冰晶石基熔盐电解质Na3AlF6-AlF3中,以Fe-Ni合金、Fe-Ni-Al2O3金属基复合材料为阳极,于930-985℃进行电解,控制电解过程中电流密度在0.4-1.2A/cm2,在阳极析出氧气,在阴极得到金属铝。本发明是将含有SiO2、Al2O3、Fe2O3、MgO、CaO、Na2O的混合氧化物在高温下铝热还原,然后采用惰性阳极进行电解制备金属铝和氧气,不仅能够应用到工业实际中,实现零碳耗、零温室气体排放的绿色冶金和洁净生产,还对未来建立月球基地、前沿基站具有重要意义。

标签:
电冶金技术
辽宁 - 沈阳 来源:中冶有色网 2023-03-18
提高钢水洁净度的引流方法及其装置

一种提高钢水洁净度的引流方法及其装置,属于冶金技术领域,方法包括将引流物质填充到引流装置的注流孔中;填充方式为:在钢包空包时,向注流孔处填充下段引流物质,再填入引流砂作为上段引流物质;其中下段引流物质的填充方式为:将棒状物质和/或颗粒状物质填入上水口砖内孔中,然后在上水口砖内孔中填入碳质粉末或不填入碳质粉末。装置包括上水口砖,其内孔为直筒式。本发明方法简单、材料易得,采用本发明的方法及装置,可使产生的6价CR化合物减少50%以上,并且钢液中的杂质也有明显减少。本发明具有良好的应用前景。

标签:
电冶金技术
辽宁 - 沈阳 来源:中冶有色网 2023-03-18
废料中钨和钴的回收方法及产品

一种从硬质合金废料中再生回收金属钨、钴的方 法及其产品。已知的硝石煅烧法、氯化法和浸出研磨 等回收方法,工艺复杂,且需要机械破碎设备,因此需 大量的设备投资。本发明应用热处理-湿法冶金的 综合工艺,即利用热处理原理对硬质合金废料进行氧 化制粉,得到钨钴混合氧化物粉料;利用湿法冶金原 理,对钨钴混合氧化物粉料进行还原分离、提取,获得 粉状纯金属钨和钴。这种方法工艺简单、成本低廉、 能耗省、无公害。

标签:
电冶金技术
辽宁 - 沈阳 来源:中冶有色网 2023-03-18
金属骨架复合软管的生产方法

一种金属骨架复合软管的生产方法涉及一种金属骨架复合软管的生产方法,此金属骨架复合软管广泛应用在油港码头、江海船舶、石油炼化、医药化工、冶金焦化、仓储运输等领域,满足输送各种液体和气体的需要。本发明提供一种可提高生产质量,还可生产长金属骨架复合软管的生产方法。本发明采用如下生产步骤:第一步、在管芯外涂润滑油,再在润滑油外缠绕有垫布;第二步、在垫布外依次缠绕包裹钢丝、塑料布、钢丝形成金属骨架复合软管;第三步、固定金属骨架复合软管,然后拉拔管芯,管芯从垫布内脱出,再将垫布取出。

标签:
电冶金技术
辽宁 - 沈阳 来源:中冶有色网 2023-03-18
镍基高温合金K3030返回料的合金熔炼方法

一种镍基高温合金K3030返回料的合金熔炼方法,属于冶金技术领域,按以下步骤进行:对返回料和/或废铸件进行吹砂处理,在真空条件下精炼,然后浇注成一次料锭;准备镍、铬、钛和/或碳作为调节成分用料,并在真空条件下进行二次精炼后浇注,或者经结膜后再熔化结膜加入调节元素成分用料中的钛和/或碳,进行合金化后再浇注。本发明的方法通过将返回料或废铸件进行重新熔炼;该方法有效利用了K3030的返回料、废铸件,节省了昂贵元素,对环境保护起到了积极作用,由该方法制备的合金铸件与由新原料制备的铸件性能相当,满足发动机结构件的性能要求。

标签:
电冶金技术
辽宁 - 沈阳 来源:中冶有色网 2023-03-18
采用含氯化物的包芯线对钢液脱氢的方法

一种采用含氯化物的包芯线对钢液脱氢的方法,属于冶金技术领域,该方法步骤为:通过喂线机向LE炉精炼后的钢水中喂入氯化物包芯线,喂线速度为1~3M/S,包芯线的喂入量按每吨钢水加入0.4~1KG的氯化物;喂线后软吹5~20MIN。本发明材料制备方法简单,使用时操作方便,不需要复杂的设备和步骤,反应时间短,处理成本低,且不使钢液产生明显的温差,具有良好的应用前景。

标签:
电冶金技术
辽宁 - 沈阳 来源:中冶有色网 2023-03-18
真空泵用电机
真空泵用电机 1137     
 0

本发明涉及一种真空泵用电机,属于电机领域。它具有泵体、电机定子、转子,电机采用屏蔽套筒结构,在电机转子与电机定子之间设有屏蔽套筒,主动轴与泵体之间的动密封转化为静密封。本发明彻底解决轴封泄露及起动冲击问题,改泵轴动密封为屏蔽套静密封,无须润滑液,彻底解决了轴封泄露及介质污染问题,同时使刚性联轴器引起的高频振动与起动冲击噪声问题也得以解决,电机整体可随意拆卸,随意打开电机的定子腔,方便维修,安装容易、维修工期短,省时省力,降低成本。本发明在抽气过程中可保持真空环境不受污染,适用于半导体、石化、冶金、食品、医药、电子、包装、印刷等行业。

标签:
电冶金技术
辽宁 - 沈阳 来源:中冶有色网 2023-03-18
钛钽复合管的制备方法

本发明提供了一种钛钽复合管的制备方法,包括:获取钛管、钽管和工装套筒;将所述钽管置于所述钛管内部,并将所述工装套筒套设于所述钛管外侧,所述钛管、所述钽管和所述工装套筒均为间隙设置;在所述钽管内部以及所述钛管与所述工装套筒之间的间隙填充炸药;引爆炸药,使得所述钛管与所述钽管爆炸复合;将制备得到的钛钽复合管进行去应力退火。本发明综合利用了钛合金材料密度低,强度高的特性,以及金属钽耐高温,耐腐蚀等优异性能,通过爆炸复合的方法,两者实现冶金结合,满足结构件轻量化的要求;通过爆炸复合生产方式,钛管和钽管间形成冶金结合,界面结合强度高,可显著增强其耐高温,耐冲蚀性能,具有广阔的应用前景。

标签:
电冶金技术
辽宁 - 沈阳 来源:中冶有色网 2023-03-18
高锰高碳可焊金属陶瓷块及其增强的辊套和制备方法

一种高锰高碳可焊金属陶瓷块及其增强的辊套和制备方法,该高锰高碳可焊金属陶瓷块包括合金化后的增强颗粒、基体材料和复合添加颗粒;合金化后的增强颗粒为高锰粉末包覆的陶瓷颗粒,基体材料为高锰高碳的铬铁耐磨材料,由于Mn为弱碳化物形成元素,基体中的Mn少部分同Cr形成M7C3型碳化物,大部分的Mn分布于基体中形成奥氏体相区,使其具有可焊性;因为Mn的加入使得陶瓷颗粒与基体发生有效的冶金结合。将合金化后的增强颗粒、复合添加颗粒与基体材料进行液相烧结,将得到的高锰高碳可焊金属陶瓷块焊接于辊套的指定位置;最后浇铸成辊套设备。此方法制备的辊套具有高强度、操作方法简单、增强块体完全固定于指定位置和方便修复等优点。

标签:
电冶金技术
辽宁 - 沈阳 来源:中冶有色网 2023-03-18
从脱磷钢渣中分离磷和制备磷肥的方法

本发明属于冶金资源再利用技术领域,具体涉及一种从脱磷钢渣中分离磷和制备磷肥的方法,首先将脱磷钢渣在熔融状态下进行氧化处理,冷却后对其进行破碎研磨。然后将脱磷钢渣在水溶液中进行选择性浸出,控制矿浆的pH值为3.0~4.5,使脱磷钢渣中富磷的固溶体相溶解并分离,反应后得到低磷残渣和含磷浸出液。再通过向含磷浸出液中添加碱性物质,升高浸出液的pH值,使浸出液中的磷形成磷酸钙盐沉淀。分离后的磷酸钙盐沉淀可直接作为磷肥使用,低磷残渣则在烧结或炼钢中使用。本发明能高效低成本地分离脱磷钢渣中的磷,进而制备了磷肥。脱磷钢渣中超过92%的磷以磷肥的形式被回收,同时残渣在钢铁冶金中再利用,实现了脱磷钢渣的资源化利用。

标签:
电冶金技术
辽宁 - 沈阳 来源:中冶有色网 2023-03-18
基于薄带连铸制备旋转立方双取向硅钢的方法

本发明属于冶金领域,特别涉及一种基于薄带连铸制备旋转立方双取向硅钢的方法。按以下步骤进行:(1)按设定成分冶炼钢水,其成分按重量百分比为:C 0.01~0.05%,Si 1.6~3.3%,Mn≤0.003%,V 0.03~0.05%,Al≤0.005%,P≤0.008%,S 0.002~0.005%,N≤0.002%,O≤0.002%,Nb≤0.002%,Ti≤0.002%,余量为Fe及不可避免杂质;(2)薄带连铸过程后形成铸带;(3)在惰性气氛条件下进行一道次热轧;(4)将热卷带酸洗后涂Al2O3隔离剂后进行重新卷取;(5)热卷进罩式炉进行长时间热处理,结束后控制冷却速率,并卷取保温;(6)清理氧化铁皮后进行冷轧;(7)冷轧卷进行两次再结晶退火;(8)涂覆隔离剂后退火,获得旋转立方双取向硅钢成品。本发明基于铸轧‑铸带热处理‑冷轧‑两次退火制度,获得{100}< 011> 取向晶粒异常长大的双取向硅钢。

标签:
电冶金技术
辽宁 - 沈阳 来源:中冶有色网 2023-03-18
机床主轴内孔的修复装置和修复方法

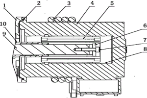
本发明是一种机床主轴内孔的修复装置和修复方法,基于激光熔覆技术,通过送粉装置在废旧主轴内孔磨损表面上熔覆粉末,并同时经激光熔化使之和主轴内孔待修复面的薄层冶金结合,快速凝固后形成稀释度极低且与内孔薄层材料冶金结合的表面涂层,从而修复机床主轴内孔并达到基体原本具有的性能。该装置由激光器、激光熔覆头、送粉系统和冷却系统等部分组成。 1

标签:
电冶金技术
辽宁 - 沈阳 来源:中冶有色网 2023-03-18
高磁感取向硅钢极薄带的减量化制备方法

一种高磁感取向硅钢极薄带的减量化制备方法,属于冶金技术领域,按以下步骤进行:(1)按设计成分冶炼钢水:其化学成分按质量百分数为C≤0.005%,Si?2.0~3.6%,Mn?0.1~0.3%,Als?0.02~0.08%,V?0~0.05%,Nb?0~0.06%,S?0.02~0.04%,N?0.0080~0.02%,余量为Fe;(2)将钢水通过中间包浇入双辊薄带连铸装置进行连铸,获得厚度1.2~3.0mm的铸带;(3)二次冷却与常化处理;(4)轧制变形;(5)初次再结晶退火后经涂覆MgO,然后高温退火。本发明的方法与常规流程制备取向硅钢极薄带相比,生产简单、节约成本、成材率高。

标签:
电冶金技术
辽宁 - 沈阳 来源:中冶有色网 2023-03-18
选取含铬型钒钛混合料中配加的铁矿粉的方法

一种选取含铬型钒钛混合料中配加的铁矿粉的方法,属于冶金技术领域,按以下步骤进行:(1)将准备配矿的各种铁矿粉和生石灰分别磨细到0.074mm以下,分别将磨细后的铁矿粉与生石灰粉混合;(2)分别将混合粉料制成试样,然后分别进行熔化特性测定;(3)收缩测定有效液相的开始形成温度ts和有效液相形成终止的温度tf以及温度区间t;(4)测定两次急剧收缩时的试样高度差值G,以及收缩时间差τG=τ2-τ1;安全液相量的生成速度v;(5)获得熔化区间τm;(6)选择指标最优的铁矿粉作为优选铁矿粉。采用本发明的方法可以快速有效分析不同铁矿粉中最佳适合配矿的种类,通过将最优铁矿粉在含铬型钒钛混合料中的配矿进行烧结矿试验检测,能够获得较佳性能的烧结矿。

标签:
电冶金技术
辽宁 - 沈阳 来源:中冶有色网 2023-03-18
消除热轧带钢表面色差缺陷的控制轧制方法

为了解决热轧带钢表面色差缺陷的问题,本发明提供了一种消除带钢表面色差缺陷的控制轧制方法,属于冶金技术领域。该方法为将连铸成形的板坯置于加热炉中进行加热处理,出炉后对板坯进行高压水除鳞,将一次氧化铁皮除净;再将板坯进行3-5道次粗轧,采用奇数道次除鳞;然后将进入精轧机的板坯除磷1次后进行7机架的精轧,并且在第二至第六机架根据带钢厚度和速度要求投入热轧润滑;精轧后的带钢采用前段式层流冷却模式冷却后卷取。应用本发明,可使热轧带钢的氧化铁皮横向均匀性较传统工艺明显提高,氧化铁皮结构更加合理,有效地消除了热轧带钢表面色差缺陷,保证了热轧带钢表面质量。

标签:
电冶金技术
辽宁 - 沈阳 来源:中冶有色网 2023-03-18
钢水控氧降氮的方法
钢水控氧降氮的方法 953     
 0

本发明涉及钢铁冶金领域,具体涉及一种钢水控氧降氮的方法。本发明通过配料、吹氧、造渣等步骤进行低拉碳操作,出钢时通过加碳脱氧的方式实现钢水增碳,以降低钢水的氧含量而不生成夹杂物,增碳后加入合金进行合金化,并继续加入精炼渣,待渣完全熔化且均匀覆盖时喂入铝线对钢水进行强脱氧。本发明相比高碳出钢消耗的氧气和增碳剂较多,但考虑到温度、脱磷、脱氮和生产节奏等成本,本发明仍然具有一定的成本优势。相比原来的低拉碳操作方法,本发明的优势更明显,可以较大地提升企业的经济效益。并且对操作工的要求相对较低,在原有操作方法稍作改进即可,因此更易被企业接受采纳。

标签:
电冶金技术
辽宁 - 沈阳 来源:中冶有色网 2023-03-18
基于动态碳配分原理的QDP马氏体钢

本发明属于冶金材料领域,具体涉及一种基于动态碳配分原理的QDP马氏体钢。本发明的基于动态碳配分原理的QDP马氏体钢,其特征在于化学成分按重量百分比是:0.15-0.3%C,0.3-0.5%Mn,0.5-1%Cr,0.2-0.6%Mo,0.2-1.5%Si,0.02-1.0%Al,(Si+Al)>1.0%,0.002-0.004%B,0.02-0.05%Ti,S350℃,在对其进行淬火处理时,需要控制其在马氏体转变开始温度以下的温度区间的平均冷却速度<40℃/s。与现有Q&P钢相比,本发明的基于动态碳配分原理的QDP马氏体钢在保持现有Q&P钢优点的基础上,克服了其需要等温碳配分的缺点,从而在大大简化其热处理工艺的同时大大扩展了其应用范围。

标签:
电冶金技术
辽宁 - 沈阳 来源:中冶有色网 2023-03-18
基于模糊神经网络的连铸漏钢时序空间组合诊断预报方法

一种基于模糊神经网络的连铸漏钢时序空间组合诊断预报方法,属于冶金连铸过程的生产与控制领域,包括以下步骤:(1)采集数据;采集连铸现场热电偶的温度数据;(2)建立模糊ART神经网络;(3)单列热电偶时序网络判别,输入上排热电偶和下排热电偶的数据,如果单列热电偶贴近度大于0.95则报警;如果单列热电偶贴近度在0.85~0.95进入步骤(4);(4)组偶空间网络判别;计算该单列热电偶相邻列热电偶贴近度,如果贴近度在0.85~0.95,计算此时组偶的阈值P,满足阈值P大于0.8,报警。本发明通过对单偶和组偶的组合判断,提高了网络模型对连铸粘结漏钢过程中典型温度模式的辨识效果和模型的预报精度。

标签:
电冶金技术
辽宁 - 沈阳 来源:中冶有色网 2023-03-18
处理废水中砷的方法
处理废水中砷的方法 815     
 0

本发明属于湿法冶金及环保技术领域,具体的说是一种处理废水中砷的方法。向含砷溶液中加入含铁离子的溶液,在15-75℃下,使Fe离子与As离子的摩尔比为1-5,搅拌均匀后,用碱调节反应体系的pH值为2-12,并使反应体系在此pH值下继续反应0.17-72小时,形成第一步的含砷共沉淀物;向第一步已经形成的含砷共沉淀物中继续投加金属离子溶液,在15-75℃下,使金属离子与As离子的摩尔比为0.1-5,而后用碱调节反应体系的pH值为2-12,形成最终的含砷共沉淀物,使废水中As离子形成高稳定性的含砷固体废弃物。本发明两步共沉淀方法的使用在保证了废水除砷效果的同时提高了含砷固体废弃物的稳定性,大大降低了含砷废渣二次污染的风险。

标签:
电冶金技术
辽宁 - 沈阳 来源:中冶有色网 2023-03-18
氧化镁泡沫陶瓷过滤器及其制备方法

本发明属于冶金领域,具体涉及到一种泡沫陶瓷过滤器及其制备方法,其适用于镁和镁合金熔体的过滤净化。其特征在于:本发明提出了以含有单体丙烯酰胺,引发剂偶氮二异丁腈和交联剂N,N′-亚甲基双丙烯酰胺的无水乙醇溶液来分散制得MgO浆料,将浆料粘附到经过油酸预处理的聚氨酯泡沫模板上之后,单体,引发剂,交联剂会在高温下发生交联反应,生成的聚合物就转变成MgO粉体的粘合剂,最后进行烧结可得制品。本发明在镁和镁合金熔体中具有化学稳定性,不污染镁和镁合金熔体,并对其中的非金属杂质有良好的吸附和过滤作用。

标签:
电冶金技术
辽宁 - 沈阳 来源:中冶有色网 2023-03-18
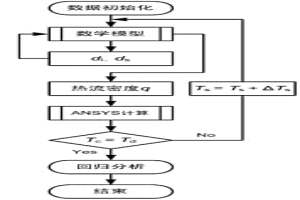
基于质量平衡和热平衡连铸结晶器铜板热流密度确定方法

一种基于质量平衡和热平衡连铸结晶器铜板热流密度确定方法,属于钢铁冶金连铸过程数值计算应用领域,包括如下步骤:步骤1、获取原始数据;步骤2、获取保护渣消耗率;步骤3、利用质量平衡方程模型和热平衡方程模型获取液渣层厚度dl和固渣层厚度ds;步骤4、获取热流密度q;步骤5、建立的结晶器实体模型,计算热电偶处温度Tc,并比较计算值Tc与热电偶实测温度值Td。本发明的优点:耦合保护渣消耗的质量平衡与钢水热量传递的能量平衡,提出的连铸结晶器铜板热流密度的确定方法,不必严格依赖具体的传热边界方程形式,而是通过确定具体位置的温度值和热流值,利用回归的方法得到具体的边界条件方程。?

标签:
电冶金技术
辽宁 - 沈阳 来源:中冶有色网 2023-03-18
上一页 45 46 47 48 49 ... 63 下一页
共63页    到第

中冶有色为您提供最新的辽宁沈阳有色金属电冶金技术理论与应用信息,涵盖发明专利、权利要求、说明书、技术领域、背景技术、实用新型内容及具体实施方式等有色技术内容。打造最具专业性的有色金属技术理论与应用平台!

全国热门有色金属设备推荐
展开更多 +
全国热门有色金属技术推荐
展开更多 +

 

江西省隆恩特环保设备有限公司
宣传

报名参会
更多+

报告下载

有色专家
更多+

矿冶科技集团有限公司
中国工程院院士
赣州江钨钨合金有限公司
工程师
赣州有色冶金研究所有限公司
副主任/高级工程师
中南大学
教授、博士生导师
中南大学
教授
赤泥综合利用研究报告2025
推广

热门技术
更多+

推荐企业
更多+

福建省金龙稀土股份有限公司
宣传

发布

在线客服

公众号

电话

顶部
咨询电话:
010-88793500-807