青岛垚鑫智能科技有限公司
宣传

位置:中冶有色 >

有色技术频道 >

分类:
全部
矿山技术
冶金技术
材料制备及加工技术
环境保护技术
分析检测技术
地区:
全部
北京
天津
上海
重庆
河北
山西
辽宁
吉林
黑龙江
江苏
浙江
安徽
福建
江西
山东
河南
湖北
湖南
广东
海南
四川
贵州
云南
陕西
甘肃
青海
内蒙
广西
西藏
宁夏
新疆
其他
其他
展开
 
全部

有色金属技术理论与应用

免费发布技术信息>>
纸片拉拔力检测装置
纸片拉拔力检测装置 1060     
 0

一种纸片拉拔力检测装置,包括桌面,所述桌面上设有固定片模组和滑动片模组,且所述固定片模组和所述滑动片模组相接处,所述滑动片模组包括移动拉力组件,所述移动拉力组件与所述固定片模组连接,所述移动拉力组件与一用于检测所述移动拉力组件拉力的拉力传感器连接,所述拉力传感器与一带动所述拉力传感器运动的直线拉力组件连接,所述移动拉力组件包括用于滑动片,所述滑动片下侧垂直设有一滑片安装板,所述滑片安装板下侧固定设有一滑片连接板,所述滑片连接板下端设有滑片导轨,所述滑片导轨固定在所述桌面上。该装置实现了对焊接后纸片的性能的测试,测试过程简单快速,测试效果好,且对产品无损伤。

标签:
无损检测
江苏 - 苏州 来源:中冶有色网 2023-03-19
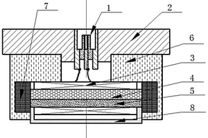
用于低频电磁检测的交流饱和磁化装置

本实用新型公开了一种用于低频电磁检测的交流饱和磁化装置,其特征在于,包括磁轭(1),套筒(2),线圈(3)和交流信号发生器(4);交流信号发生器(4)与线圈(3)相连,线圈(3)缠绕于套筒(2)之上,套筒(2)套于磁轭(1)的两极;交流信号发生器(4)产生一个交流信号,交流信号在线圈(3)中产生交变的磁场,在磁轭(1)作用下磁场被加强,达到饱和磁化被检试件的目的。所述的磁轭(1)由层状的铁基纳米晶合金带材通过耐高温环氧粘接胶叠装粘合而成,叠装厚度为15毫米,形状为C形,内圈弧度为270度,具有磁化性能好,能够有效降低激励功率,结构简单,灵活性高和成本低的优点,可以应用于不同的电磁无损检测场景。

标签:
无损检测
浙江 - 杭州 来源:中冶有色网 2023-03-19
管道检测复合振子结构导波激励换能器

本发明属于无损检测技术领域,尤其是一种管道检测复合振子结构导波激励换能器,针对现有技术中存在磁致伸缩换能器的输出振子幅值低,与管道任意表面的耦合程度较低,结构较大,且换能器磁致伸缩材料与管道长期接触容易造成线圈漏电以及在外力作用下容易断裂,降低换能器使用寿命的问题,现提出如下方案,其包括换能器,换能器包括连接器、外壳顶盖、外壳底座、振子元件、弹性基底、螺线管线圈、永磁铁、背衬单元,由于本发明振子元件与弹性基底组成的特殊复合结构,能实现换能器在管道任意表面检测,同时也避免了现有磁致伸缩换能器振子材料直接与管道接触造成换能器的损耗和失效,延长了使用寿命。

标签:
无损检测
江苏 - 南京 来源:中冶有色网 2023-03-19
用于检测探头推进器与探头定位器同步的装置及方法

本发明涉及核电站无损检测技术领域,具体公开了一种用于检测探头推进器与探头定位器同步的装置及方法。该装置包括定位器、探头导管、探头推拔器、定位器控制器以及运载小车,其中,探头盘上的探头从探头导管一端穿过另一端后固定在定位器上,探头盘固定在探头推拔器上;定位器通过电缆A安装在运载小车上,通过定位器的位移量来确定运载小车的位移量,使探头导管不弯曲。该装置及方法可实现探头导管位置的自动调整,保证了探头顺滑运动,降低了探头阻力,消除了对探头的损坏;同时可省去人工更换探头导管的步骤,减少检测周期,节约成本,以及减少人员进入高辐射环境的次数,降低人员照射剂量,保证人员安全。

标签:
无损检测
湖北 - 武汉 来源:中冶有色网 2023-03-19
利用声波传输进行液体液位检测的方法

本发明公开了利用声波传输进行液体液位检测的方法,包括以下具体步骤:硬件平台搭载,将用于实现改方法的硬件进行搭载,并将用于发射和反射声波的电极置于液体内;在反射电极放置时,采用梯度放置原则,即代表上刻度值的反射电极短于代表下刻度值的反射电极;产生声呐信号;发射声呐信号;接收声呐信号;信号处理;液位确认,经信号处理步骤后,液位确认电路将对点信号进一步进行解码及运算处理,确定反射电极的编码信息,而后通够比对,确定该反射电极所在液位值的区间值信息,利用声波在液体中无损耗传输特性,而设计的一种液体液位检测方法,方能方便快捷的对液体液位进行检测。

标签:
无损检测
四川 - 成都 来源:中冶有色网 2023-03-19
粉状物的非接触成分检测系统和方法

本发明提供一种粉状物的非接触成分检测系统和方法,包括:遮光罩,以保证检测暗环境;激光线光源,用于发射线状激光;二维平移台,用于放置样品并在二维方向移动样品,使样品的整个表面接受激光的动态线扫描;分束滤光片,用于反射线状激光至样品表面,并将自样品表面得到的信号光传递至镜头;镜头,用于收集自所述样品表面得到的经动态线扫描的信号光;高通滤光片,用于将所述信号光进行高通滤光;拉曼光谱仪,用于接收经高通滤光后的信号光,得到光信号;CCD,与所述拉曼光谱仪相连,用于将所述光信号转换为电信号,并传送至处理器;处理器,用于根据所述整个样品的图谱信息分析样品成分。本发明能够实现对于粉状物的快速无损检测。

标签:
无损检测
北京 - 北京 来源:中冶有色网 2023-03-19
便携式厚皮类水果内部品质光学检测探头

本发明公开了一种便携式厚皮类水果内部品质光学检测探头。包括同轴安装的光谱发射装置和光谱接收装置;通风罩内装有散热灯罩,散热灯罩与外筒之间贴合装有卤钨灯,外筒内装有平面镜和光谱接收装置;平面镜粘在内筒盖顶部正对卤钨灯中心,内筒内镜座与内筒盖连接,椭圆平面镜粘在镜座斜面上;内筒中部外侧圆柱上的三个内固定圆柱孔与外筒中部外侧圆柱上的三个外固定通孔各自相对安装使得内筒和外筒同轴固定,内筒的光纤接口与外筒的光纤通孔相对接安装有光纤。本发明将卤钨灯光源集成到探头上,能对尤其是厚皮类水果内部品质进行光学检测,能够获取有效的水果内部品质信息,为厚皮类水果内部品质无损检测提供光谱基础。

标签:
无损检测
浙江 - 杭州 来源:中冶有色网 2023-03-19
检测大白菜中芸苔根肿菌的方法

本发明公开了一种检测大白菜中芸苔根肿菌的方法,包括:取大白菜的根或叶,制成压片;采集所述压片的红外光谱图;对红外光谱图进行分析;若由根制成压片在1748.16±0.75cm-1、2851.24±0.05cm-1和3013.23±0.28cm-1范围中至少一处出现特征峰,则大白菜的根感染芸苔根肿菌;若由叶制成压片在1252.54±0.50cm-1和1051.98±4.23cm-1范围中至少一处出现特征峰,则大白菜的叶感染芸苔根肿菌。本发明检测大白菜中芸苔根肿菌的方法,应用傅里叶变换红外光谱技术,可快速、无损、准确的检测大白菜中芸苔根肿菌,操作方便,不依赖于人的经验,且安全性、重复性高。

标签:
无损检测
浙江 - 杭州 来源:中冶有色网 2023-03-19
沥青路面的密度检测系统与方法

本发明涉及一种沥青路面的密度检测系统与方法,包括车架、探地雷达、标定铜板和计算设备;所述车架包括移动部件、雷达容纳部件和计算设备容纳部件;所述移动部件用于实现所述车架在所述沥青路面上的平稳移动;所述探地雷达设置在所述雷达容纳部件中,接收经过所述标定铜板反射的第一电磁波信号和经过所述沥青路面反射的第二电磁波信号;所述计算设备与所述探地雷达电连接并接收所述第一电磁波信号和所述第二电磁波信号并执行:根据第一电磁波信号和第二电磁波信号计算沥青路面的路面介电常数;根据路面介电常数以及与沥青路面对应的原材料参数,通过密度检测模型确定沥青路面的密度。本发明能够安全快速地对沥青路面密度进行高精度无损检测。

标签:
无损检测
北京 - 北京 来源:中冶有色网 2023-03-19
脉冲电流作用下金属埋藏裂纹尖端瞬态电磁热效应的延迟检测方法

本发明涉及一种脉冲电流作用下金属埋藏裂纹尖端瞬态电磁热效应的延迟检测方法,包括以下步骤:步骤S1:在被检测金属试件不含裂缝的一面使用粘贴剂贴上不同于金属材料的贴件;步骤S2:红外热像仪连接好计算机,调整红外热像仪位置,使得贴件表面正好处于红外热像仪图像的中央,然后调整红外热像仪焦距,使计算机获取最清楚的图像;步骤S3:电脉冲开始放电,在金属试件内部,有损区域和无损区域在脉冲电流作用下形成温差,最终传至贴件表面,贴件表面的温度变化被红外热像仪获取,并传输到计算机被计算机记录;步骤S4:通过红外热像仪和计算机实时判断缺陷的存在及其位置。本发明给被检测金属表面增加贴件,达到延迟热传播的效果。

标签:
无损检测
福建 - 福州 来源:中冶有色网 2023-03-19
原油流动性检测方法及装置

本发明提供一种原油流动性检测方法及装置,方法包括:根据处于液体状态的各类原油的表观粘度与原油温度之间的对应关系,以及,各类所述原油的质子自旋弛豫信号量与原油温度之间的对应关系,建立原油表观粘度数据库,其中,所述表观粘度数据库用于存储各类原油的表观粘度与质子自旋弛豫信号量之间的对应关系;检测目标原油在不同温度条件下的质子自旋弛豫信号量,其中,目标原油处于液体、固体或胶体状态;根据目标原油在不同温度条件下的质子自旋弛豫信号量,在所述原油表观粘度数据库中确定目标原油在不同温度条件下的表观粘度。本发明能够有效提高原油流动性检测的便捷性和准确性,实现对原油流动性的无损定性/定量分析。

标签:
无损检测
北京 - 北京 来源:中冶有色网 2023-03-19
基于高光谱的植物病害快速检测方法

本发明公开了一种基于高光谱的植物病害检测模型的构建方法,包括以下步骤:1)对植物样本进行反射率光谱数据采集;2)采用光谱标准化对采集的数据进行校准处理,采用Savitzky‑Golay滤波对光谱进行平滑处理;3)对步骤2)处理后的反射率光谱数据采用光谱指数计算、光谱一阶导数计算和连续小波变换等三种方式进行光谱增强处理;4)采用RELIEF‑F算法和叠置策略,确定特异性光谱特征;5)基于序列浮动前向选择算法确定不同光谱增强处理下最优的光谱特征组合;6)多种类型光谱增强结合,对多种光谱增强特征进行优化;7)利用支持向量机算法构建植物病害检测模型。本发明还提供了一种快速无损的植物病害检测方法。

标签:
无损检测
湖北 - 武汉 来源:中冶有色网 2023-03-19
基于高光谱的种植物成熟度检测系统及方法

本发明公开了一种基于高光谱的种植物成熟度检测系统,包括高光谱图像数据采集模块、数据预处理模块及光谱分析模块;高光谱图像数据采集模块包括设有阵列滤光片的快照式高光谱成像仪;高光谱成像仪用于采集种植物的高光谱图像数据;数据预处理模块用于对采集的种植物的高光谱图像数据进行预处理;光谱分析模块用于对预处理后的种植物的高光谱图像数据进行分析处理,其内设有卷积神经网络模型,卷积神经网络模型输入种植物的高光谱图像数据,输出种植物的成熟度数据。本发明还公开了一种基于高光谱的种植物成熟度检测方法。本发明能够对种植物成熟度进行大范围、快速实时的无损检测,可实现对农产品的自动化采摘作业。

标签:
无损检测
天津 - 天津 来源:中冶有色网 2023-03-19
基于机器视觉的雪茄烟支外观质量检测分选装置和方法

一种基于机器视觉的雪茄烟支外观质量检测分选装置及方法,特征是:该装置包括雪茄进样系统、滚筒落料系统、雪茄采样平台、雪茄贮存系统、图像采集检测系统以及控制系统。其方法是利用采样平台中的两个转辊的同向转动带动雪茄样品旋转,通过CCD工业相机拍摄雪茄烟表面图像并通过计算机图像处理系统进行图像处理拼接获得雪茄表面全景图像,对雪茄图像进行杂点杂色检测判别、计算雪茄长度宽度信息,识别出缺陷雪茄和合格雪茄,最后通过控制系统控制两转辊的转向及转速,将缺陷雪茄和合格雪茄推送至不同的存放箱中。本发明的最大特点是可以利用机器视觉技术对雪茄工业中生产出的缺陷雪茄和正常雪茄进行快速准确的无损识别与分装,全程自动化。

标签:
无损检测
河南 - 郑州 来源:中冶有色网 2023-03-19
粉体材料中金属可磁化颗粒的检测方法

本发明提供了一种粉体材料中金属可磁化颗粒的检测方法。上述粉体材料中金属可磁化颗粒的检测方法包括:步骤S1,将粉体材料与吸附工具搅拌后,收集吸附工具上的吸附物;步骤S2,对吸附有吸附物的吸附工具进行冲洗,得到第一冲洗液;步骤S3,对第一冲洗液进行第一超声分散得到超声分散液,并利用磁吸附对超声分散液中的金属进行富集,最终得到金属富集液;步骤S4,将金属富集液中的金属颗粒进行分散处理后过滤,得到金属颗粒;步骤S5,对金属颗粒的形貌、尺寸、数量进行检测。本申请从粉体材料分离提取金属杂质,并且不引入其它物质,保留金属杂质原有的特征形貌,金属异物无损伤,准确性高。

标签:
无损检测
广东 - 深圳 来源:中冶有色网 2023-03-19
电子科技产品生产检测用夹具

本发明公开了一种电子科技产品生产检测用夹具,本发明涉及夹具技术领域,包括罐体,所述罐体的表面固定连接有滑动壁,所述滑动壁的内侧面固定连接有稳固机构,所述罐体内侧面的底部固定连接有模拟机构,所述稳固机构包括滑杆和限位组件,所述滑杆的表面滑动连接有滑缸,所述滑缸的表面固定连接有气缸,所述气缸的顶部固定连接有拉杆,所述气缸输出端的转轴固定连接有侧边条。该电子科技产品生产检测用夹具,通过稳固机构、限位组件、模拟机构以及随机组件等机构的配合使用,解决了PCB板厚度小、板面重要部件多,如何实现板材的无损紧固夹持,以及如何检测PCB板在物流运输的环境中是否容易损坏的问题。

标签:
无损检测
浙江 - 杭州 来源:中冶有色网 2023-03-19
基于光声成像的钢丝绳芯检测方法和装置

本发明公开了一种基于光声成像的钢丝绳芯检测方法和装置,采用的光声成像技术对输送带无损耗,同时具备了纯光学成像和纯声学成像的优点,且对人体无辐射;装置工艺相对简化,可以广泛应用于输送带的检测,不会因为长时间工作而产生误判并且降低了维护要求;可靠性更高,采用光声效应不需要与输送带直接接触,减少了磨损问题,而且成像深度更高,分辨率也更高;不会因出现输送带裂口不宽不能使物料外露而不能检测的情况;能够避免重大安全事故的发生,减少运输物料的损耗和经济损失,提高生产效率。

标签:
无损检测
山西 - 太原 来源:中冶有色网 2023-03-19
基于三维微位移移动平台的通电导体缺陷检测装置

本实用新型公开一种基于三维微位移移动平台的通电导体缺陷检测装置,包括由下滑台、中滑台、上滑台以及探头连接板构成的三维微位移移动平台。其中,中滑台与下滑台间滑动连接,上滑台与中滑台间滑动连接;下、中、上滑台的轴线分别位于三个正交方向上;上滑台一侧滑动连接有探头安装板,探头安装板上安装有霍尔探头,由此通过控制中滑台、上滑台与探头连接板的移动,从而带动霍尔探头对通电导体的不同区域进行磁场的检测,将检测到的磁场数据通过数据采集模块传送给上位机,上位机对磁场数据进行存储,并进行成像处理进行图形绘制。本实用新型通电导体缺陷检测装置结构简单、搭建方便、易操作,适用于各种导电材料的快速无损精确缺陷检测。

标签:
无损检测
北京 - 北京 来源:中冶有色网 2023-03-19
基于频率-波数域滤波的超声导波检测方法

本发明属于材料无损检测技术领域,涉及一种基于频率‑波数域滤波的超声导波检测方法。本发明通过布置在被测物表面的超声发射传感器激发超声波,在接收区域通过布置线性排列的超声探测传感器接收超声波,根据接收到的时间‑空间域信号经过二维傅里叶变换处理,将变换后的结果通过带通滤波器进行滤波,将滤波后的结果通过傅里叶逆变换后得到时间‑空间域信号,将得到时间‑空间域信号转换为时域信号,依据时域信号对材料损伤进行分析。本发明方法具有可以去除干扰模态、信号处理效果好、灵活准确等优势。

标签:
无损检测
辽宁 - 大连 来源:中冶有色网 2023-03-19
射线检测用贴片安装辅助装置

本实用新型提供了一种射线检测用贴片安装辅助装置,属于无损检测技术领域,包括承载台、定位件、支撑腿及行走轮,承载台的上端具有用于安装暗袋的安装面,安装面上开设有用于与暗袋上开口相对应的连接孔;定位件具有挤压部和安装于挤压部下侧的连接部;连接部与连接孔相适配;支撑腿的数量为多个,分别安装于承载台的下端面两侧,用于支撑起承载台和暗袋;行走轮安装于支撑腿上,用于带动承载台移动。本实用新型提供的射线检测用贴片安装辅助装置,将暗袋平稳地安装在承载台的安装面上,且使用定位件进行定位,并通过行走轮将承载台和暗袋一同推进腔体内而完成贴片工作,操作简便快捷,使探伤检测高效地进行。

标签:
无损检测
河北 - 唐山 来源:中冶有色网 2023-03-19
双金属复合管环焊缝超声波检测用对比试块

本实用新型涉及无损检测领域,尤其涉及一种双金属复合管环焊缝超声波检测用对比试块。该对比试块包括由基层和衬层构成的试块本体、设置在试块本体上的环焊缝以及开设在试块本体和环焊缝上的人工缺陷;人工缺陷包括设置在基层外表面和衬层内表面焊趾部位、基层外表面和衬层内表面环焊缝中间部位、环焊缝内异金属界面处、环焊缝内基层壁厚1/2位置处、基层内模拟分层、管体上模拟基层与衬层结合不良的人工缺陷;在试块本体的环焊缝两端位置处分别开设有半圆形凹槽。利用本实用新型的对比试块可以对超声波检测系统的灵敏度进行调节,并且可以确定其有效检测范围。

标签:
无损检测
陕西 - 西安 来源:中冶有色网 2023-03-19
固体蛋白质热稳定性太赫兹谱检测仪

本实用新型公开了一种固体蛋白质热稳定性太赫兹谱检测仪。它包括铝制散热器、半导体致冷片、ITO玻璃加热片、固体蛋白质样品压片、贴片式铂热电阻、高阻硅片、飞秒激光器、斩波器、分束器、光电导天线、第一抛面镜、分束硅片、聚四氟乙烯透镜、延迟线、反射镜、薄膜分束镜、ZnTe晶体、四分之一波片、沃拉斯顿棱镜、光电平衡探测器、锁相放大器、温度采集模块、可调电源、计算机、第二抛面镜。本实用新型可以充分利用太赫兹无损检测的优势,在不破坏蛋白质活性的情况下测量其热稳定性。

标签:
无损检测
浙江 - 杭州 来源:中冶有色网 2023-03-19
基于电生理节律的植物健康活力的检测方法

本发明公开了一种基于电生理节律的植物健康活力的检测方法,属于植物生物物理信息检测领域。本发明利用两电极板将待测植物叶片夹住,连续监测待测植物叶片生理电容和生理电阻,以正弦函数来拟合植物电生理信号随时间的变化关系,建立植物叶片电生理信号随时间周期性变化动态模型,通过模型中的各参数值表征待测植物基于不同电生理信号的活化效率,耦合待测植物生理电容和生理电阻的活化效率表征植物的健康活力。本发明能便捷、无损、精确在线测定不同植物在不同的环境下的健康活力,测定结果可量化,不同批次具有可比性,为揭示植物的环境适应性、优化植物生长环境提供科学依据。

标签:
无损检测
贵州 - 贵阳 来源:中冶有色网 2023-03-19
更换体外膜肺氧合装置时的组合套包

本实用新型提供了一种更换体外膜肺氧合装置时的组合套包,包括无损伤钳、转移连接管、冲洗连接管和收集装置。更换设备包括两套ECMO装置和组合套包。本实用新型所述组合套包不仅使患者留存在原有ECMO管路中的血液也被充分利用起来,而且有效维持了患者血流动力学的稳定性,还可避免新换ECMO管路中留存的大量生理盐水所带来了不利影响。将本实用新型应用于抢救患有新冠等疾病的重症患者上具有极高的急救临床意义。

标签:
无损检测
浙江 - 金华 来源:中冶有色网 2023-03-19
多孔石墨片检测快速固定工装

本实用新型公开了一种多孔石墨片检测快速固定工装,包括负压源,所述负压源的其中一端面形成多孔石墨片固定面,所述多孔石墨片固定面上设置有若干与所述负压源连通的负压孔,所述若干负压孔的下方至少设置有一用于承托多孔石墨片的承托条。本实用新型通过负压孔和承托条的共同作用将多孔石墨片固定在多孔石墨片固定面上,以便移至检测工位进行检测,在固定过程中无需夹持,实现对多孔石墨片无损固定。

标签:
无损检测
上海 - 上海 来源:中冶有色网 2023-03-19
电解铜箔生产的在线检测装置

一种电解铜箔在线检测装置,在所检测的电解铜箔的一面安装有激光器,另一面相应位置安装有接受激光的光电转换器件,可以实时无损伤检测出电解铜箔上针孔和气隙的数量、位置和大小。取样面积可达100%。?

标签:
无损检测
安徽 - 合肥 来源:中冶有色网 2023-03-19
真空荧光显示器件显示质量在线检测装置

本实用新型涉及一种真空荧光显示器件显示质量在线检测装置。该装置包括成像物镜、面阵光电传感器、图像采集传输器件、中央处理控制单元和标记筛选执行器件,所述的面阵光电传感器感光平面位于真空荧光显示器件显示平面经过平场成像物镜的像平面上,面阵光电传感器和中央处理控制单元相连,所述的图像采集传输器件分别与面阵光电传感器、中央处理控制单元相连,所述的标记筛选执行器件与中央处理控制单元相连。本实用新型具有在线检测、通用性强、自动化程度高、非接触光学检测、对器件无损伤、便于质量控制管理等优点。

标签:
无损检测
浙江 - 杭州 来源:中冶有色网 2023-03-19
横推式烟用接装纸孔洞检测装置

本发明属于检测装置技术领域,具体涉及一种横推式烟用接装纸孔洞检测装置,包括用于输入将待检的完整烟支的进样机构、用于旋转烟支的旋转机构、用于输出烟支的卸料机构;进样机构包括烟支料斗,烟支料斗内安装有旋转柱,旋转柱上开设有若干条形凹槽,烟支料斗下部一侧设有落料通道,旋转机构包括定位槽和位于定位板槽上方的两个安装架,安装架上安装有转动辊,安装架上还传动连接有压紧气缸,定位槽板内的烟支下方设有光源和摄像头。其目的是:克服现有装置无法无损测量在线接装纸打孔烟支孔洞尺寸问题,满足对在线接装纸打孔烟支打孔质量有效监控的需要,进而达到控制滤嘴通风率稳定性和在线激光打孔设备运行状况的目的。

标签:
无损检测
重庆 - 重庆 来源:中冶有色网 2023-03-19
手持式红外激光检测仪
手持式红外激光检测仪 1092     
 0

本实用新型公开了一种手持式红外激光检测仪,包括平板电脑和手持式红外激光摄像仪,二者通过连接线缆或无线通信信号连接,平板电脑包括平板外壳、视屏设备、扩展接口、内部的处理系统和扬声器;手持式红外激光摄像仪包括手持式红外激光照射头和手持式红外摄像机。本实用新型结构简单、体积小巧,使用和携带方便,可实现远程控制和诊断;检测过程中受检者无损伤、无痛苦,快速定位准确,检查方便,早期癌检测准确率高。

标签:
无损检测
江西 - 抚州 来源:中冶有色网 2023-03-19
填筑工程填筑施工三维模型构建、密实度检测方法

本发明首先公开一种填筑工程填筑施工三维模型构建方法。该方法以填筑施工过程不同阶段填筑区真实地面点云数据为基础,建立三维立体模型。所得三维模型是填筑料随施工过程体积变化的实景复制,包含信息准确丰富,可应用于填筑施工后的多种检测、设计工程。本发明还公开一种填筑工程碾压密实度检测方法。该方法在已构建的不同施工阶段三维模型上划分出立体单元,再利用三维模型构建方法所提供的填筑材料体积变化的精确数据结合填筑材料质量数据,测算填筑区每立体单元填筑碾压的密实度值。进一步将测算密实度与控制标准比较,可检测每立体单元碾压密实度达标情况。该方法能够实时、直接、精确、快速、无损毁地获取每一局部的碾压密实度,指导施工。

标签:
无损检测
四川 - 成都 来源:中冶有色网 2023-03-19
上一页 1979 1980 1981 1982 1983 ... 2000 ... 5000 ... 10000 ... 20000 ... 30000 ... 32465 下一页
共32465页    到第

中冶有色为您提供最新的有色金属技术理论与应用信息,包括矿山技术、冶金技术、材料制备及加工技术、环境保护技术和分析检测技术等有色技术信息。打造最具专业性的有色金属技术理论与应用平台!

全国热门有色金属设备推荐
展开更多 +
全国热门有色金属技术推荐
展开更多 +

 

江西省隆恩特环保设备有限公司
宣传

报名参会
更多+

2025年10月15日 ~ 17日
2025年10月17日 ~ 19日
2025年10月31日 ~ 11月02日
2025年11月07日 ~ 09日

报告下载

有色专家
更多+

昆明理工大学
教授
矿冶科技集团
副所长/研究员
任灵宝金源矿业股份有限公司
技术发展部经理
中国有色金属工业协会
副会长兼秘书长
北京科技大学、中国科学院
院士
赤泥综合利用研究报告2025
推广

热门技术
更多+

推荐企业
更多+

福建省金龙稀土股份有限公司
宣传

发布

在线客服

公众号

电话

顶部
咨询电话:
010-88793500-807