青岛垚鑫智能科技有限公司
宣传

位置:中冶有色 >

有色技术频道 >

分类:
全部
矿山技术
冶金技术
材料制备及加工技术
环境保护技术
分析检测技术
地区:
全部
北京
天津
上海
重庆
河北
山西
辽宁
吉林
黑龙江
江苏
浙江
安徽
福建
江西
山东
河南
湖北
湖南
广东
海南
四川
贵州
云南
陕西
甘肃
青海
内蒙
广西
西藏
宁夏
新疆
其他
其他
展开
 
全部
其他

其他其他有色金属理论与应用

免费发布技术信息>>
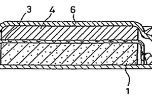
卷绕型电极组、电极组及非水电解质电池

根据1个实施方式,提供一种电极组。该电极组包含层叠体。层叠体具备正极、一层或多层负极、及隔膜。负极包含负极集电体和形成于负极集电体上的负极层。负极层含有锂钛复合氧化物。该电极组满足下述关系式(I)~(III):10≤a1/b1≤16(1)、0.7≤D1/E1≤1.4(2)、E1≤85(3)。这里,a1[mm]为层叠体的厚度。b1[mm]为负极集电体的厚度或厚度的合计。D1[μm]为正极的厚度。E1[μm]为负极的厚度。

标签:
加工技术
其他 - 其他 来源:中冶有色网 2023-03-18
用于金属-空气电池的空气自呼吸阴极

公开了空气自呼吸阴极,包括(i)导电集电器;和(ii)金属-离子导电介质;其特征在于所述阴极进一步包括式(AA’)a(BB’)bOc的金属氧化物,其中:A和A’相同或不同且选自RE(其中RE选自钇、镧、铈、镨、钕、钷、钐、铕、钆、铽、镝、钬、铒、铥、镱、镥)、镁、钙、锶、钡、锂、钠、钾、铟、铊、锡、铅、锑和铋;B选自Ru、Ir、Os、Rh、Ti、Sn、Ge、Mn、Ta、Nb、Mo、W、Zr和Pb;B’不存在或选自Ru、Ir、Os、Rh、Ca、Mg、In、Tl、Sn、Pb、Sb、Bi、Ge、Ta、Nb、Mo、W、Zr或RE(其中RE如前述定义);c是3-11;(a+b) : c的原子比是1 : 1-1 : 2;a : b的原子比是1 : 1.5-1.5 : 1;其中A和A’的至少一个选自碱金属、碱土金属和RE。

标签:
加工技术
其他 - 其他 来源:中冶有色网 2023-03-18
非水溶剂、非水电解质及蓄电装置

提供一种包含离子液体的非水溶剂,该非水溶剂满足如下特性中的至少一个:锂离子导电性高;在低温环境下呈现高锂离子导电性;耐热性高;能够使用的温度范围广;凝固点(熔点)低;以及粘度低等特性。非水溶剂包括离子液体以及氟化溶剂,其中,该离子液体包括具有取代基的脂环季铵阳离子以及该具有取代基的脂环季铵阳离子的对应阴离子。

标签:
加工技术
其他 - 其他 来源:中冶有色网 2023-03-18
固体电解质、固体电解质的制造方法和电化学设备

通过利用脉冲激光沉淀法等在诸如单晶体SrTiO3基板的单晶体基板(20)上外延生成至少包含锂的电解质,例如La2/3-xLi3xTiO3(O< x< 2/3),来制造外延薄膜晶体(10),并且该外延薄膜晶体(10)被用作固体电解质。外延薄膜晶体(10)由在原子层面上平坦的阶面与台阶构成,并且具有在2μm2区域中测量的均方平面粗糙度为1nm以下的平坦平面。固体电解质被用于制造全固体锂离子电池。

标签:
加工技术
其他 - 其他 来源:中冶有色网 2023-03-18
弹性表面波元件及电子零件

一种弹性表面波元件以及电子零件。在为了利用包含泄漏弹性表面波的弹性表面波,而在钽酸锂制的压电基板上配置叉指换能器电极的弹性表面波元件中,即便所述弹性表面波元件的频带为2GHz以上的高频带,也将传播损耗抑制得较小。使用包含旋转45°~46°的Y-X板的钽酸锂,作为压电基板(10),并且将叉指换能器电极(2)的膜厚(h)设定为7.5%λ~8%λ,同时针对叉指换能器电极(2)的电极指(6)群,将线占有率(r)设定为0.55~0.65。

标签:
加工技术
其他 - 其他 来源:中冶有色网 2023-03-18
二次电池用阴极材料的制备方法和二次电池

本发明公开一种制备二次电池用阴极材料的方 法,其特征在于,包括混合在溶液中释放磷酸根离子的化合物 (磷酸 H3PO4,五氧化二磷 P2O5,磷酸二氢铵 NH4H2PO4等)与水和金属铁,向 得到的混合物中加入碳酸锂、氢氧化锂或其水合物,及煅烧得 到的反应产物,从而合成 LiFePO4。

标签:
加工技术
其他 - 其他 来源:中冶有色网 2023-03-18
控制有机金属化合物稀释的方法与装置

使有机金属混合物如烷基锂高浓度给料能工业应用的装置和方法,其流程要求通过混合有机金属给料与碳氢化合物溶剂给料将低浓度有机金属混合物注入,用分光镜分析法测定该混合物中有机金属浓度,来确定有机金属的浓度,把该浓度值传送至将此实际浓度值同以前确定之希望浓度值比较的控制仪器,并调节有机金属给料的速率、碳氢化合物溶剂给料的速率或该有机金属和溶剂给料的速率,以获得所希望浓度的混合有机金属流。

标签:
加工技术
其他 - 其他 来源:中冶有色网 2023-03-18
滚动轴承
滚动轴承 759     
 0

本发明提供一种耐腐蚀性优良的并且适合环境保护的滚动轴承。该滚动轴承通过在外圆周内具有内圈滚道的内圈和内圆周内具有外圈滚道的外圈之间可转动地保持多个滚动构件,并且采用橡胶覆盖的密封剂或密封元件进行密封,其中,密封剂或密封元件的芯金属是用0.2~50μm厚的膜所覆盖的钢板,所述膜包含氧化-还原电位低于铁的金属或合金,并且所述钢板形成了含锂和硅酸盐无机物质的膜作为最上层。

标签:
加工技术
其他 - 其他 来源:中冶有色网 2023-03-18
储能器件
储能器件 1069     
 0

本发明的目的在于解决上述那样的课题,提供对于充放电状态的依存性小的、低温下的输入输出特性良好的、因脉冲循环导致的容量下降小的储能器件。本发明的储能器件是具有正极板和负极板的储能器件,上述的正极板通过在锂二次电池的正极活性物质层上构成具有通过主要在活性物质的表面上以物理的方式吸附、脱离离子来蓄积、放出电荷的非法拉第式反应的层,利用两者的反应机构来储藏、放出电能,上述的负极板由以在使锂离子化了的状态下能吸附、脱离的碳材料为主体的负极构成,制作在2.7V至4.2V的范围内使用了该储能器件的情况下将正极板、负极板组合成负极板的工作电位相对于Li/Li+电位为小于等于0.5V的储能器件。

标签:
加工技术
其他 - 其他 来源:中冶有色网 2023-03-18
非水电解质及非水电解质电池

有机溶剂和溶于前述有机溶剂的溶质组成的非水电解质中,前述溶质为包含至少1种选自酞酰亚胺、酞酰亚胺衍生物、酞酰亚胺啶及酞酰亚胺啶衍生物的有机阴离子的锂盐。前述非水电解质很难和高温条件下长期保存时的一次电池及二次电池的负极发生反应。因此,使用该非水电解质能够获得保存性能优异的非水电解质电池,并可使二次电池的充放电循环特性有所提高。

标签:
加工技术
其他 - 其他 来源:中冶有色网 2023-03-18
用于人造卫星的无水电解质电池组件

一种装备了太阳能电池和一种用于人造卫星的无水电解质电池组件(即一种锂电池)的人造卫星。该无水电解质电池组件装备了一种无水电解质电池、一个温度传感器、一个充电状态传感器、和一台用于接受从传感器输出信号的计算机。无水电解质电池在日照期间的使用温度被设定使其转为等于或低于当人造卫星处于日照期间的电池的使用温度。计算机控制着温度控制器,从而使电池的使用温度保持在所给定的范围内。

标签:
加工技术
其他 - 其他 来源:中冶有色网 2023-03-18
采用有机电解液的电池所使用的隔离板及其制造方法

一种采用有机电解液的电池用的隔离板,其特点是由具有特定分子量分布的聚乙烯及具有特定重量平均分子量的聚丙烯,以及有机液体和无机微粉末的混合物,经挤压成型加工形成薄膜状,然后由此薄膜中提取出有机液体及无机粉末以制成所需的隔离板。本发明的隔离板不仅安全性能好,而且具有优良的耐药性、机械强度及离子透过性能。不仅对锂电池,而且对其它采用有机电解液的一次电池及二次电池的隔离板均极适宜。

标签:
加工技术
其他 - 其他 来源:中冶有色网 2023-03-18
非水二次电池
非水二次电池 789     
 0

本发明的非水二次电池中,负极含有负极合剂层,该负极合剂层含有构成元素中含有Si的材料以及石墨质碳材料作为负极活性物质,正极含有正极合剂层,该正极合剂层含有以下述组成通式(1)表示且在0.01质量%以上0.5质量%以下的范围内含有硫的含锂复合氧化物作为正极活性物质,Li1+yMO2????(1)y为-0.3≤y<0.3,且M表示含有Ni、Co、Mn和Mg、以及Al、Ba、Sr、Ti和Zr中的至少一种的5种以上的元素组,当相对于构成M的元素整体,将Ni、Co、Mn和Mg分别以mol%为单位设为a、b、c和d,将Al、Ba、Sr、Ti和Zr的合计比例以mol%为单位设为e时,为70≤a≤97、0.5<b<30、0.5<c<30、0.5<d<30、-10<c-d<10、-8≤(c-d)/d≤8以及e<10。

标签:
加工技术
其他 - 其他 来源:中冶有色网 2023-03-18
二次电池用多孔膜及二次电池

本发明提供一种锂离子二次电池等二次电池用多孔膜,所述多孔膜维持锂离子传导性,并且提高强度,不易产生裂纹。一种二次电池用多孔膜,其含有多孔膜用粘合剂及非导电性粒子,其中,所述多孔膜用粘合剂是具有异相结构的聚合物粒子,所述异相结构以由乙烯基单体成分聚合而成的聚合物为内层、以由具有亲水性官能团的单体成分聚合而成的聚合物为外层。所述亲水性官能团优选为选自由磺酸基、羧基、羟基及环氧基构成的族中的至少一种。

标签:
加工技术
其他 - 其他 来源:中冶有色网 2023-03-18
二次电池电极用粘合剂、二次电池电极用浆料及二次电池电极

本发明涉及二次电池电极用粘合剂、二次电池电极用浆料及二次电池电极。近年来,二次电池越来越普及。其中,研究了锂离子二次电池在汽车领域的应用。锂离子二次电池的电极的制作中,作为聚合物粘合剂,一直使用氟类聚合物,但必须使其溶于有机溶剂,另外,为了获得粘合力必须大量添加,因此存在有机溶剂挥发及电极的导电性受到影响等问题。本发明通过形成包含将以各自的特定量含有不饱和羧酸烷基酯单体、乙烯类不饱和羧酸单体、选自脂肪族共轭二烯类单体和烯基芳香族单体的至少一种单体、可与这些单体共聚的其它单体(含氰基的乙烯基类单体除外)的单体组合物进行乳液聚合而得的共聚物胶乳的二次电池电极用粘合剂,解决了上述问题。

标签:
加工技术
其他 - 其他 来源:中冶有色网 2023-03-18
铝材制热交换器的耐腐蚀处理方法

本发明提供对于利用NB法钎剂钎焊而得的铝材制热交换器、特别是汽车用空调所用的铝材制热交换器,即使不预先实施化学转化处理,也能够在不损害亲水性的情况下使耐腐蚀性大幅提高并且防臭性也提高的热交换器的耐腐蚀处理方法。本发明的铝材制热交换器的耐腐蚀处理方法是使利用Nocolok钎焊法钎剂钎焊而得的铝材制热交换器与亲水化处理液接触后,进行烧结处理,在上述铝材制热交换器的表面形成亲水化皮膜的耐腐蚀处理方法,其中,上述亲水化处理液包含亲水性树脂和锂离子,并且上述亲水化皮膜中的锂浓度为0.05~25质量%。

标签:
加工技术
其他 - 其他 来源:中冶有色网 2023-03-18
正极活性物质
正极活性物质 699     
 0

本发明提供正极活性物质,在锂离子二次电池中具有高循环保持率,并且增加电池容量。使用正极活性物质,其包含粉末粒子,该粉末粒子包含具有集合多个微晶(101)而形成的结构的结晶相、形成于微晶(101)彼此之间的非晶质相(103a、103b),非晶质相(103a、103b)包含选自氧化钒、氧化铁、氧化锰、氧化镍及氧化钴构成的组中的一种以上的金属氧化物,结晶相及非晶质相(103a、103b)能进行锂离子的插入及脱离。

标签:
加工技术
其他 - 其他 来源:中冶有色网 2023-03-18
软质聚氨酯泡沫体的制造方法、导电性软质聚氨酯泡沫体的制造方法、导电辊及其制造方法

本发明涉及:韧性强、机械强度优良的软质聚氨酯泡沫体的制造方法,其在机械起泡法软质聚氨酯泡沫体中,含有50质量%以上聚(氧化四亚甲基)多元醇,且使用相对于该聚氨酯泡沫体为0.1~5质量%的脱水山梨糖醇脂肪酸酯类表面活性剂作为表面活性剂;低硬度·低密度的软质聚氨酯泡沫体的制造方法,其使用二甲基聚硅氧烷-聚醚多元醇嵌段共聚物作为整泡剂;导电性聚氨酯泡沫体的制造方法,导电剂含气相法碳纤维及碳黑,导电性的温度依赖性小;导电辊及其制造方法,作为赋予导电性物质,包含二(三氟甲磺酰)亚胺钾或二(三氟甲磺酰)亚胺锂中的任一种或两种,相对环境变化具有稳定的导电性、良好的ASCAR硬度·阻抗值·密度。

标签:
加工技术
其他 - 其他 来源:中冶有色网 2023-03-18
用于非水二次电池的隔板、制备方法和非水电解质二次电池

一种隔板,在其表面上承载锂粉。使用该隔板,可以获得具有高的初始效率和改善的循环保持率的非水电解质二次电池。

标签:
加工技术
其他 - 其他 来源:中冶有色网 2023-03-18
釉药组成物
釉药组成物 835     
 0

本发明提供一种有效在含有较多含玻璃质材料的无机质烧成体用基材的表面上涂釉的釉药组成物。其是至少含有可塑性材料、非可塑性材料和助熔性材料釉药组成物,其特征在于,所述可塑性材料是从高塑性粘土、木节粘土、高岭土、云母中选择的一种以上的材料,所述非可塑性材料是从硅石、煅烧高岭土、陶石、寿山石、陶瓷砂、熟耐火土、锆石中选择的一种以上的材料,所述助熔性材料是从长石、石灰石、白云石、锌白、碳酸锂中选择的一种以上的材料。

标签:
加工技术
其他 - 其他 来源:中冶有色网 2023-03-18
电池单元
电池单元 1025     
 0

本发明的课题在于将多个非水电解质二次电池串联连接而成的电池单元的输出功率维持在高的状态,同时容易地抑制串联连接的非水电解质二次电池变成过充电状态,以获得高的安全性。多个非水电解质二次电池串联连接而成的电池单元,其中,使充电时从正极活性物质中释放锂而电阻上升的电位不同的至少两种非水电解质二次电池A1、B1A串联连接。

标签:
加工技术
其他 - 其他 来源:中冶有色网 2023-03-18
匹配蓄电池和燃料电池的无DC/DC连接

一种燃料电池系统,其采用使得蓄电池电压与燃料电池电源总线电压相匹配的匹配蓄电池,从而不需要DC/DC变换器。该匹配蓄电池的内部特性和参数使其可以在燃料电池的大载控电压摆幅下工作,并防止蓄电池的充电状态降到危害值以下。选择该蓄电池的类型、蓄电池单元的数量和蓄电池内阻抗以获得理想的匹配。在一实施方案中,该蓄电池为锂离子蓄电池。该系统还包括电连接至该电源总线的二极管和与该二极管并联连接至该电源总线的旁路开关。该旁路开关被选择性地打开或闭合以使得燃料电池堆对蓄电池再充电并防止蓄电池过充电。

标签:
加工技术
其他 - 其他 来源:中冶有色网 2023-03-18
电源系统和电动车
电源系统和电动车 828     
 0

本发明提供一种快速充电下的循环性能优异的电源系统、和具有该电源系统的电动车。本发明的电源系统,其特征在于:具备第一电池组A和第二电池组B,第一电池组A是由具备正极和含有碳物质的负极的第一非水电解质电池构成、并向外部供给电能的电池组;第二电池组B是由具备负极和正极的第二非水电解质电池构成,在充电深度为20%~80%的范围内充电以使得所述第二非水电解质电池的充电电流密度(A/kg)比所述第一非水电解质电池的充电电流密度(A/kg)大,并向所述第一电池组A供给电能的电池组,其中所述负极含有相对于Li+/Li,锂嵌入电位为0.4V以上、平均粒径为1μm以下的负极活性物质,所述正极含有由LixCoyM1-yO2表示的锂金属氧化物,M为选自Ni、Mn、Al和Sn之中的至少一种以上的元素,0<x≤1.1、0<1<y。

标签:
加工技术
其他 - 其他 来源:中冶有色网 2023-03-18
SF6气体泄漏检测方法和材料

本发明提供一种可以检测SF6气体泄漏的方法和材料,通过使用一种涂料涂在充有SF6气体的装置的外表面,该涂料中掺杂温度敏感变色物质和锂基组分。当发生SF6气体泄漏时,泄漏的SF6气体与涂料中的锂基组分会发生强烈的放热反应,使涂料升温,并引起温敏物质变色,借此判断泄漏及其部位。

标签:
加工技术
其他 - 其他 来源:中冶有色网 2023-03-18
手持清洁器
手持清洁器 845     
 0

本发明的一方面包括一种手持清洁器,包括:清洁器本体,其包括在手持清洁器的使用过程中能够由使用者抓握的把手;以及电池组,其用作电源并且包括锂离子电池。电池组具有接合装置和释放装置。当电池组相对于清洁器本体定位在安装位置时,接合装置能够接合清洁器本体;并且释放装置耦联至接合装置并且能够操作以释放接合装置与清洁器本体的接合。电池组能够安装至清洁器本体和从清洁器本体拆下而无需操作安装于清洁器本体的盖等。

标签:
加工技术
其他 - 其他 来源:中冶有色网 2023-03-18
负极基材
负极基材 785     
 0

本发明利用与以往技术不同的构成,能够实现一种具有高输出电压及高能量密度、且充放电循环特性优异的电池。本发明使用以下负极基材来作为用于锂离子二次电池的负极基材:特征在于在具备有机膜的支撑体上形成金属膜的负极基材;特征在于所述有机膜的表层由金属氧化物膜被覆的所述负极基材;特征在于在具备由包含有机成分及无机成分的复合膜形成材料所形成的复合膜的支撑体上,形成金属膜的负极基材;或者特征在于在形成了光阻图案的支撑体上,形成由二氧化硅系被覆膜形成用涂布液所形成的二氧化硅系被覆膜,并在除去了所述光阻图案的支撑体上形成金属膜的负极基材。

标签:
加工技术
其他 - 其他 来源:中冶有色网 2023-03-18
正极活性物质、使用其的正极以及非水电解质二次电池

本发明提供了一种正极活性物质、使用该正极活性物质的正极以及非水电解质二次电池。该正极活性物质包括:复合氧化物颗粒,其至少包含锂和一种或多种过渡金属;以及涂覆层,设置在所述复合氧化物颗粒的至少一部分上,其中所述涂覆层包含至少一种元素M,所述元素M不同于构成所述复合氧化物颗粒的主要过渡金属并且选自属于第2~第13族的元素,以及选自磷(P)、硅(Si)和锗(Ge)中的至少一种元素X,并且元素M和元素X在涂覆层中显示出彼此不同的分布。

标签:
加工技术
其他 - 其他 来源:中冶有色网 2023-03-18
聚芳硫醚树脂的制造方法

本发明提供一种反应性非常优异、在工业性规模下的生产率高、且可将所得PAS树脂显著高分子量化的聚芳硫醚树脂的制造方法。如权利要求2所述的聚芳硫醚树脂的制造方法,其中以下述工序1及工序2为必需的制造工序,工序1:使含水碱金属硫化物、或者含水碱金属氢硫化物及碱金属氢氧化物、可通过水解而开环的脂肪族系环状化合物(C1)、以及非水解性有机溶剂,一面脱水一面反应,来制造浆料(I)的工序;工序2:接着,在所述浆料(I)中,使多卤芳香族化合物(A)、所述碱金属氢硫化物(B)、所述化合物(C1)的水解物的碱金属盐(C2),在锂离子的存在下反应,来进行聚合的工序。

标签:
加工技术
其他 - 其他 来源:中冶有色网 2023-03-18
可再充电的电化学电池的正极金属及其制造方法

一种制备用于电化学电池的含锂的过渡金属氧化物电化学电荷存储材料的方法。此电池(10)包括阴极(20)、阳极(30)和置于两电极之间的电解质(40)。该方法包括在惰性气氛中制备含锂的过渡金属氧化物材料。此材料的特征在于其改进的电化学性能,这是一种x射线衍射可识别的物质。

标签:
加工技术
其他 - 其他 来源:中冶有色网 2023-03-18
电动车辆的控制装置
电动车辆的控制装置 820     
 0

本发明的目的在于,防止使用锂离子电池或具有与其类似的性能恶化特性的高压电池的车辆,在搁置时高压电池的性能恶化。高压电池电子控制装置的ROM中,存储有成为判断高压二次电池的恶化倾向的大小时的判断基准的数据。在检测到点火开关的断开时,根据数据从高压二次电池的温度与充电状态的值判断恶化倾向的大小。在判断为恶化倾向较大的情况下,起动电池风扇与空调装置,降低充电状态的值与温度。接下来,重复判断恶化倾向大小的动作,在该过程中判断恶化倾向较小的情况下,停止电池风扇与空调装置的动作,防止充电状态的值的降低超出必要限度。

标签:
加工技术
其他 - 其他 来源:中冶有色网 2023-03-18
上一页 519 520 521 522 523 ... 1471 下一页
共1471页    到第

中冶有色为您提供最新的其他其他有色金属理论与应用信息,涵盖发明专利、权利要求、说明书、技术领域、背景技术、实用新型内容及具体实施方式等有色技术内容。打造最具专业性的有色金属技术理论与应用平台!

全国热门有色金属设备推荐
展开更多 +
全国热门有色金属技术推荐
展开更多 +

 

江西省隆恩特环保设备有限公司
宣传

报名参会
更多+

报告下载

有色专家
更多+

昆明理工大学
副校长
中南大学
中国工程院院士
矿冶科技集团有限公司工程公司
副总经理
湖南科技大学
所长/教授
辽宁忠旺集团
教授级高工
赤泥综合利用研究报告2025
推广

热门技术
更多+

推荐企业
更多+

福建省金龙稀土股份有限公司
宣传

发布

在线客服

公众号

电话

顶部
咨询电话:
010-88793500-807